|
|
(21), (22) Заявка: 2005133922/12, 03.11.2005
(24) Дата начала отсчета срока действия патента:
03.11.2005
(30) Конвенционный приоритет:
18.04.2005 (пп.1-17) KR 10-2005-0032073
(43) Дата публикации заявки: 10.05.2007
(46) Опубликовано: 10.11.2007
(56) Список документов, цитированных в отчете о поиске:
WO 2004/049890 A1, 17.06.2004. EP 1488729 A2, 22.12.2004. RU 2240716 С2, 27.11.2004.
Адрес для переписки:
191036, Санкт-Петербург, а/я 24, “НЕВИНПАТ”, пат.пов. А.В.Поликарпову
|
(72) Автор(ы):
ХАН Джунг-гьюн (KR), О Джанг-кьюн (KR)
(73) Патентообладатель(и):
Самсунг Гуангджу Электроникс Ко., Лтд. (KR)
|
(54) ЦИКЛОННЫЙ ПЫЛЕОТДЕЛИТЕЛЬ (ВАРИАНТЫ) И ПЫЛЕСОС, СОДЕРЖАЩИЙ ЦИКЛОННЫЙ ПЫЛЕОТДЕЛИТЕЛЬ
(57) Реферат:
Данное изобретение относится к пылесосу, а именно к циклонному пылеотделителю для пылесоса. Техническим результатом данного изобретения является создание циклонного пылеотделителя для пылесоса, в котором могут быть достигнуты большие всасывающее усилие и эффективность осаждения пыли, а также создание пылеотделителя с длительным циклом работы фильтра до его замены и продолжительным поддержанием всасывающего усилия. Технический результат достигается циклонным пылеотделителем для пылесоса, содержащим обводной канал, который направляет запыленный воздух непосредственно к двигателю и имеет первую сетку, отфильтровывающую пыль. Циклонный пылеотделитель также содержит первый циклон, расположенный на одной стороне обводного канала и предназначенный для отделения пыли от запыленного воздуха и выпуска очищенного воздуха к двигателю. И второй циклон, расположенный параллельно первому циклону и предназначенный для отделения пыли от запыленного воздуха и выпуска очищенного воздуха к двигателю. Причем отделение пыли осуществляется последовательным включением в работу первой сетки, первого циклона и второго циклона, таким образом, что запыленный воздух, втянутый через всасывающее отверстие, проходит в первый циклон, когда первая сетка забита пылью, а во второй циклон, когда забиты пылью первая и вторая сетки. 3 н. и 14 з.п. ф-лы, 11 ил.
ПЕРЕКРЕСТНАЯ ССЫЛКА НА РОДСТВЕННЫЕ ЗАЯВКИ
В соответствии с §119(а) раздела 35 свода законов США приоритет данной заявки заявляется по заявке на патент Кореи №2005-32073, поданной 23 февраля 2005 года, содержание которой целиком включено в данную заявку посредством ссылки.
ОБЛАСТЬ ТЕХНИКИ
Данное изобретение относится к пылесосу. Более конкретно, данное изобретение относится к циклонному пылеотделителю для пылесоса.
ПРЕДПОСЫЛКИ ИЗОБРЕТЕНИЯ
Как правило, уборка пылесосами осуществляется путем запуска двигателя, создающего всасывающее усилие для втягивания, отделения, осаждения пыли и грязи (которые далее упоминаются как “пыль”) из запыленного воздуха с использованием пылеотделителя и выпуска очищенного воздуха.
Несмотря на то, что для отделения пыли могут применяться различные способы, в настоящее время широко используется циклонный пылеотделитель из-за того, что он является почти неизменным.
Циклонный пылеотделитель создает вихревой поток запыленного воздуха таким образом, что пыль, содержащаяся в воздухе, отделяется центробежной силой, создаваемой вихревым потоком. Очищенный воздух выпускается из пылесоса наружу через двигатель, а отделенная пыль осаждается в пылеприемнике, выполненном в нижней части циклонного пылеотделителя. При заполнении пылеприемника пылью пользователь опорожняет пылеприемник, при этом пылесос снова готов к работе.
В последнее время для повышения эффективности осаждения пыли использовались пылеотделитель с двойным циклоном, в котором последовательно соединена пара циклонов, и мультициклонный пылеотделитель, в котором по периферии основного циклона установлен ряд дополнительных циклонов. Однако, несмотря на повышение эффективности осаждения, пылеотделитель с двойным циклоном и мультициклонный пылеотделитель с точки зрения всасывающего усилия являются неудовлетворительными из-за потери давления.
СУЩНОСТЬ ИЗОБРЕТЕНИЯ
Один аспект данного изобретения заключается в решении по меньшей мере указанных выше проблем и/или устранении недостатков и получении по меньшей мере приведенных ниже преимуществ. Следовательно, одним аспектом данного изобретения является создание циклонного пылеотделителя для пылесоса, в котором могут быть достигнуты большие всасывающее усилие и эффективность осаждения пыли.
В другом аспекте данного изобретения предлагается удобный циклонный пылеотделитель для пылесоса с длительным циклом работы фильтра до его замены и продолжительным поддержанием всасывающего усилия.
Для осуществления указанных выше аспектов данного изобретения предлагается циклонный пылеотделитель для пылесоса, который содержит обводной канал, направляющий запыленный воздух, втянутый через всасывающее отверстие, непосредственно к двигателю и имеющий первую сетку, которая отфильтровывает пыль, содержащуюся во втянутом воздухе, первый циклон, который расположен на одной стороне обводного канала и предназначен для отделения пыли от запыленного воздуха, втянутого через всасывающее отверстие, и выпуска очищенного воздуха к двигателю, и второй циклон, который расположен параллельно первому циклону и предназначен для отделения пыли от запыленного воздуха, втянутого через всасывающее отверстие, и выпуска очищенного воздух к двигателю, причем отделение пыли, содержащейся в воздухе, осуществляется последовательно первой сеткой, первым циклоном и вторым циклоном.
Первое входное отверстие для воздуха первого циклона выполнено рядом с первой сеткой. Второе входное отверстие для воздуха второго циклона выполнено рядом с всасывающим отверстием.
Циклонный пылеотделитель дополнительно содержит направляющий элемент, который расположен между всасывающим отверстием и вторым входным отверстием для воздуха второго циклона и предназначен для направления запыленного воздуха, втянутого через всасывающее отверстие, в первую очередь к первой сетке.
Выходные отверстия первого и второго циклонов снабжены, соответственно, второй сеткой и третьей сеткой. В данном случае сетки, соответственно, с первой по третью, имеют разные размеры ячеек.
Диаметр первого циклона превышает диаметр второго циклона.
У выходных отверстий для воздуха обводного канала, первого циклона и второго циклона установлен фильтр,
В соответствии с другим аспектом данного изобретения предложен циклонный пылеотделитель для пылесоса, который содержит обводной канал, направляющий запыленный воздух, втянутый через всасывающее отверстие, непосредственно к двигателю и имеющий первую сетку, отфильтровывающую пыль, содержащуюся во втянутом воздухе, первый циклон, который расположен на одной стороне обводного канала, имеет первое входное отверстие, выполненное рядом с первой сеткой и предназначенное для втягивания запыленного воздуха, втянутого через всасывающее отверстие, и предназначен для отделения втянутой пыли и выпуска очищенного воздуха к двигателю, а также второй циклон, который расположен параллельно первому циклону, содержит второе входное отверстие для воздуха, выполненное рядом с всасывающим отверстием и предназначенное для втягивания запыленного воздуха, втянутого через всасывающее отверстие, и предназначен для отделения втянутой пыли и выпуска очищенного воздуха к двигателю, причем отделение пыли, содержащейся в воздухе, осуществляется последовательно первой сеткой, первым циклоном и вторым циклоном.
Циклонный пылеотделитель дополнительно содержит направляющий элемент, расположенный между всасывающим отверстием и вторым входным отверстием для воздуха второго циклона и предназначенный для направления запыленного воздуха, втянутого через всасывающее отверстие, в первую очередь к первой сетке.
Выходные отверстия первого и второго циклонов снабжены, соответственно, второй сеткой и третьей сеткой. В данном случае сетки, соответственно, с первой по третью, имеют разные размеры ячеек.
Второй циклон расположен симметрично первому циклону относительно обводного канала.
В соответствии с еще одни аспектом данного изобретения предлагается пылесос, содержащий всасывающую щетку, двигатель, установленный в основном корпусе пылесоса и предназначенный для создания всасывающего усилия для втягивания запыленного воздуха через всасывающую щетку, и циклонный пылеотделитель, установленный в основном корпусе и предназначенный для отделения и осаждения пыли из запыленного воздуха, причем циклонный пылеотделитель содержит обводной канал, который направляет запыленный воздух, втянутый через всасывающее отверстие, непосредственно к двигателю, и имеет первую сетку, отфильтровывающую пыль, содержащуюся во втянутом воздухе, первый циклон, который расположен на одной стороне обводного канала, имеет первое входное отверстие, выполненное рядом с первой сеткой и предназначенное для втягивания запыленного воздуха, втянутого через всасывающее отверстие, и предназначен для отделения втянутой пыли и выпуска очищенного воздуха к двигателю, и второй циклон, который расположен параллельно первому циклону, имеет второе входное отверстие для воздуха, выполненное рядом с всасывающим отверстием и предназначенное для втягивания запыленного воздуха, втянутого через всасывающее отверстие, и предназначен для отделения втянутой пыли и выпуска очищенного воздуха к двигателю, причем отделение пыли, содержащейся в воздухе, осуществляется последовательно первой сеткой, первым циклоном и вторым циклоном.
Пылесос дополнительно содержит направляющий элемент, расположенный между всасывающим отверстием и вторым входным отверстием для воздуха второго циклона и предназначенный для направления запыленного воздуха, втянутого через всасывающее отверстие, в первую очередь к первой сетке.
Как можно понять из приведенного выше описания циклонного пылеотделителя, для пылесоса, выполненного в соответствии с вариантом выполнения данного изобретения, создаваемое всасывающее усилие прикладывается одновременно к обводному каналу, первому циклону и второму циклону. Следовательно, возможно увеличение всасывающего усилия по сравнению с обычными устройствами, в которых циклоны расположены последовательно. Таким образом, пользователь может осуществлять уборку при достаточно большом исходном всасывающем усилии.
Кроме того, так как первая сетка, первый циклон и второй циклон работают последовательно, повышается всасывающее усилие при снижении потери давления.
Помимо этого, вследствие последовательной работы первой сетки, первого циклона и второго циклона возможно увеличение эксплуатационного периода пылесоса. Кроме того, вследствие того, что забивание сеток происходит последовательно, цикл замены сеток может быть увеличен, а всасывающее усилие может поддерживаться в течение длительного времени.
КРАТКОЕ ОПИСАНИЕ ЧЕРТЕЖЕЙ
Указанный выше аспект и другие признаки данного изобретения станут более очевидными из последующего подробного описания примеров выполнения изобретения со ссылкой на прилагаемые чертежи, на которых:
фиг.1 является аксонометрическим видом циклонного пылеотделителя для пылесоса в соответствии с одним вариантом выполнения данного изобретения;
фиг.2 является видом сверху циклонного пылеотделителя, показанного на фиг.1;
фиг.3 является аксонометрическим видом циклонного пылеотделителя с удаленным фильтром;
фиг.4 представляет собой вид в разрезе для иллюстрации расположения первого входного отверстия для воздуха, второго входного отверстия для воздуха и направляющего элемента в циклонном пылеотделителе, показанном на фиг.3;
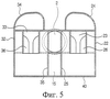
фиг.5 представляет собой разрез по линии А-А вида, показанного на фиг.2;
фиг.6 представляет собой вид сверху циклонного пылеотделителя, показанного на фиг.1 с открытыми первой и второй выпускными крышками для воздуха;
фиг.7 является аксонометрическим видом, демонстрирующим операцию удаления осажденной пыли в циклонном пылеотделителе, показанном на фиг.1;
фиг.8 представляет собой вид, показывающий выпуск воздуха в начале уборки в циклонном пылеотделителе, показанном на фиг.1;
фиг.9 представляет собой вид циклонного пылеотделителя, показанного на фиг.1, в процессе осаждения пыли первым циклоном при забитой первой сетке;
фиг.10 представляет собой вид циклонного пылеотделителя, показанного на фиг.1, в процессе осаждения пыли вторым циклоном при забитых первой сетке и первом циклоне;
фиг.11 представляет собой вид пылесоса, содержащего циклонный пылеотделитель в соответствии с вариантом выполнения данного изобретения.
ПОДРОБНОЕ ОПИСАНИЕ ВАРИАНТОВ ВЫПОЛНЕНИЯ
Ниже более подробно описаны некоторые варианты выполнения данного изобретения со ссылкой на прилагаемые чертежи.
В последующем описании для одних и тех же элементов используются одни и те же позиции элементов даже на разных чертежах. Понятия, определенные в данном описании, например, детальная конструкция и элементы, являются ничем иным, как понятиями, способствующими всестороннему пониманию данного изобретения. Таким образом, очевидно, что данное изобретение может быть выполнено без этих определенных понятий. Кроме того, не приведено подробного описания известных функций или конструкций, поскольку они сделали бы изобретение непонятным из-за излишней детализации.
Обратимся к фиг.1-6. Циклонный пылеотделитель 1 для пылесоса в соответствии с одним вариантом выполнения данного изобретения содержит обводной канал 10, первый циклон 20 и второй циклон 30.
Обводной канал 10 направляет запыленный воздух, втянутый через всасывающее отверстие 2, непосредственно к двигателю 133 (фиг.11). Один конец обводного канала 10 сообщается с всасывающим отверстием 2, а второй конец сообщается с выпускным отверстием 11. Всасывающее отверстие 2 сообщается с всасывающей щеткой 110 (фиг.11), а выпускное отверстие 11 сообщается с двигателем 133. У выпускного отверстия 11 установлена первая сетка 12, которая предназначена для фильтрации пыли, содержащейся во втянутом воздухе, и выполнена в виде пористой сетчатой структуры. При забивании первой сетки 12 пылью через нее не может пройти даже чистый воздух. В обводном канале 10 перед сеткой 12 выполнено сквозное отверстие 13, предназначенное для сбрасывания через него пыли, отфильтрованной первой сеткой 12. Пылеприемник 15, выполненный под обводным каналом 10, предназначен для сбора пыли, отфильтрованной первой сеткой 12. Обводной канала 10 может иметь различные конструктивные исполнения, поскольку воздух, втянутый через всасывающее отверстие 2, может быть выпущен к двигателю 133 непосредственным пропусканием через первую сетку 12 без прохождения через первый и второй циклоны 20 и 30. Однако, как показано на фиг.4, предпочтительнее, чтобы всасывающее отверстие 2 и выпускное отверстие 11 располагались соосно другом с другом, а первый и второй циклоны 20 и 30 образовывали боковые стенки обводного канала 10.
Первый циклон 20 выполнен на одной стороне обводного канала 10 и предназначен для отделения и осаждения пыли из воздуха, втянутого через обводной канал 10, и выпуска очищенного воздуха, из которого удалена пыль, к двигателю 133. Первый циклон 20 содержит первое входное отверстие 21 для воздуха, первый корпус 22 циклона, первое выходное отверстие 23 для воздуха, первую выпускную крышку 24 и первый пылеприемник 25.
Первое входное отверстие 21 для воздуха выполнено на первом корпусе 22 циклона рядом с первой сеткой 12 таким образом, что запыленный воздух, втянутый через всасывающее отверстие 2, проходит в первый циклон 20, когда первая сетка 12 забита пылью. Первый корпус 22 циклона имеет по существу цилиндрическую форму и предназначен для создания вихревого потока запыленного воздуха, втянутого через первое входное отверстие 21 для воздуха. Воздух, очищенный за счет центробежной силы, может выходить через первое выходное отверстие 23 для воздуха, расположенное в центре первого корпуса 22 циклона. Первое выходное отверстие 23 для воздуха имеет по существу цилиндрическую форму. Внутри первого выходного отверстия 23 для воздуха выполнен ряд первых верхних элементов 26, препятствующих прохождению пыли и предназначенных для удаления пыли, остающейся в выпускаемом воздухе, и создания препятствия для прохождения пыли обратно с выпускаемым воздухом. Первые верхние элементы 26, препятствующие прохождению пыли, в предпочтительном случае выполнены в виде спиральных откосов. У первого выходного отверстия 23 для воздуха может быть установлена пористая решетка, которая не показана на чертежах. Первая выпускная крышка 24 конструктивно выполнена так, что направляет воздух, прошедший через первое выходное отверстие 23 для воздуха, к двигателю 133.
Вторая сетка 27 выполнена на одном конце первой выпускной крышки 24. Вторая сетка 27, выполненная в виде пористой сетчатой структуры, отфильтровывает пыль, которая осталась в воздухе, вышедшем из первого выходного отверстия 23 для воздуха, и выпускает дополнительно очищенный воздух к двигателю 133. Хотя вторая сетка 27 может быть выполнена из того же материала, что и первая сетка 12, предпочтительнее, чтобы размер ячейки второй сетки 27 был больше, чем у первой сетки 12, с тем, чтобы через вторую сетку могла проходить более крупная пыль. Более конкретно, вторая сетка 27 в предпочтительном случае на единицу площади содержит меньшее количество отверстий, чем первая сетка 12. Следовательно, при забивании первой сетки 12 воздух может проходить через вторую сетку 27. Кроме того, первая выпускная крышка 24 может быть выполнена съемной относительно первого корпуса 22 циклона для облегчения замены второй сетки 27 в случае, если произошло забивание также и второй сетки 27.
Первый пылеприемник 25 расположен под первым циклоном 20 и предназначен для осаждения пыли, отделенной первым циклоном 20. В этом варианте выполнения первый пылеприемник 25 выполнен за одно целое с первым корпусом 22 циклона.
Второй циклон 30 расположен параллельно с первым циклоном 20. Второй циклон 30 отделяет пыль от воздуха, втянутого через всасывающее отверстие 2, и выпускает к двигателю 133 только очищенный воздух. В этом случае, как показано на фиг.3 и 4, второй циклон 30 расположен симметрично с первым циклоном 10 относительно обводного канала 10. Второй циклон 30 имеет второе входное отверстие 31 для воздуха, второй корпус 32 циклона, второе выходное отверстие 33 для воздуха, вторую выпускную крышку 34 и второй пылеприемник 35.
Второе входное отверстие 31 для воздуха выполнено на первом корпусе 32 циклона рядом с всасывающим отверстием 2 так, чтобы запыленный воздух, втянутый через всасывающее отверстие 2, проходил во второй циклон 30, когда втянутый воздух и пыль не могут пройти к первой сетке 12 и первому циклону 20 из-за забивания первой сетки 12 и первого циклона 20. В этом случае на заданном расстоянии от второго корпуса 32 циклона, между вторым входным отверстием 31 для воздуха и всасывающим отверстием 2 может быть установлен направляющий элемент 39. Как показано на фиг.4, направляющий элемент 39 препятствует прохождению пыли, содержащейся во втянутом воздухе, непосредственно во второй циклон 30, когда первый циклон 20 не забит, но позволяет запыленному воздуху, втянутому через всасывающее отверстие 2, поступать во второй циклон 30 через второе входное отверстие 31 для воздуха при забивании первой сетки 12 и первого циклона 20.
Второй циклон 32, имеющий по существу цилиндрическую форму, предназначен для создания вихревого потока запыленного воздуха, втянутого через второе входное отверстие 31 для воздуха. Воздух, очищенный за счет центробежной силы, может выходить через второе выходное отверстие 33 для воздуха, расположенное в центре второго корпуса 32 циклона. Второе выходное отверстие 33 для воздуха имеет по существу цилиндрическую форму. Внутри второго выходного отверстия 33 для воздуха выполнен ряд вторых верхних элементов 36, препятствующих прохождению пыли и предназначенных для удаления пыли, остающейся в выпускаемом воздухе, и предотвращения прохождения пыли обратно с выпускаемым воздухом. Вторые верхние элементы 36, препятствующие прохождению пыли, в предпочтительном случае выполнены в виде спиральных откосов. У второго выходного отверстия 33 для воздуха может быть установлена пористая решетка, которая не показана на чертежах. Вторая выпускная крышка 34 конструктивно выполнена так, что направляет воздух, прошедший через второе выходное отверстие 33 для воздуха, к двигателю 133.
Третья сетка 37 выполнена на одном конце второй выпускной крышки 34. Третья сетка 37 выполнена в виде пористой сетчатой структуры, отфильтровывает пыль, еще оставшуюся в воздухе, вышедшем из второго выходного отверстия 33 для воздуха, и выпускает дополнительно очищенный воздух к двигателю 133. Хотя третья сетка 37 может быть выполнена из того же материала, что и вторая сетка 27, предпочтительнее, чтобы размер ячейки третьей сетки 37 был больше, чем у второй сетки 27, с тем, чтобы через третью сетку могла проходить более крупная пыль. Более конкретно, третья сетка 37 в предпочтительном случае на единицу площади содержит меньшее количество отверстий, чем вторая сетка 27. Следовательно, несмотря на забивание второй сетки 27 воздух может проходить через третью сетку 37. Таким образом, если третья сетка 37 выполнена так, что пропускает пыль, более крупную, чем пыль, пропускаемая через вторую сетку 27, а вторая сетка пропускает пыль, более крупную, чем пыль, пропускаемая через первую сетку 12, то, несмотря на последовательное забивание пылью первой и второй сеток 12 и 27, воздух может быть выпущен к двигателю 133 через третью сетку 37. Кроме того, для легкой замены третьей сетки 37 вторая выпускная крышка 34 может быть выполнена съемной относительно второго корпуса 32 циклона. Помимо этого, вторая выпускная крышка 34 может быть установлена отдельно от первой выпускной крышки 24, однако, первая и вторая крышки 24 и 34 могут быть выполнены за одно целое и шарнирно установлены, соответственно, на первом и втором корпусах 22 и 32 циклонов с помощью первого шарнира 28 для обеспечения возможности поворота на заданный угол (см. фиг.3 и 4).
В предпочтительном случае диаметр второго циклона 30 меньше диаметра первого циклона 20. То есть второй корпус 32 циклона и второе выходное отверстие 33 для воздуха конструктивно выполнены с меньшими диаметрами, чем, соответственно, у первого корпуса 22 циклона и первого выходного отверстия 23 для воздуха, так как циклон с меньшим диаметром может улавливать пыль меньшего размера.
Второй пылеприемник 35 расположен под вторым циклоном 30 и предназначен для осаждения пыли, отделенной вторым циклоном 30. В этом варианте выполнения второй пылеприемник 35 выполнен за одно целое со вторым корпусом 32 циклона. Кроме того, в соответствии с данным вариантом выполнения, днища первого и второго пылеприемников 25 и 35, а также пылеприемник 15, выполненный в нижней части обводного канала 10, выполнены за одно целое. Другими словами, нижняя пластина, 40, показанная на фиг.3, представляет собой днища первого пылеприемника 25, второго пылеприемника 35 и пылеприемника 15 обводного канала 10. Нижняя пластина 40 закреплена вторым шарниром 42 на передней стенке 41, где установлена первая сетка 12. Следовательно, днища первого и второго пылеприемников 25 и 35, а также пылеприемника 15 отвода 10, могут быть открыты поворотом нижней пластины 40 на шарнире 42 на заданный угол так, что может быть удалена пыль, осажденная в пылеприемниках 25, 35 и 15. Подобная шарнирная конструкция нижней пластины 40 приведена только в качестве примера, следовательно, нижнюю пластину можно открывать и закрывать, осуществляя ее скольжение относительно первого и второго пылеприемников 25 и 35, а также пылеприемника 15 обводного канала 10.
Кроме того, между первой, второй и третьей сетками 12, 27 и 37 и двигателем 133 может быть расположен фильтрующий узел 50. Фильтрующий узел 50 содержит микрофильтр 51, предназначенный для отделения тонкодисперсной пыли, содержащейся в воздухе, прошедшем через первую, вторую и третью сетки 12, 27 и 37, а также корпус 52 фильтра, предназначенный для крепления микрофильтра 51.
Далее со ссылкой на фиг.8-10 приведено описание работы циклонного пылеотделителя 1 для пылесоса, в соответствии с вариантом выполнения данного изобретения.
Всасывающее усилие создается за счет вращения двигателя 133 и прикладывается к всасывающему отверстию 2 одновременно через первую сетку 12, первый циклон 20 и второй циклон 30 циклонного пылеотделителя 1. Следовательно, запыленный воздух втягивается в циклонный пылеотделитель 1 через всасывающую щетку 110, сообщающуюся с всасывающим отверстием 2. В данном случае, поскольку всасывающее усилие двигателя 133 одновременно прикладывается через первую сетку 12, первый и второй циклоны 20 и 30, то эффективность всасывания пылесоса может быть увеличена.
При поступлении запыленного воздуха во всасывающее отверстие 2, пыль, содержащаяся в воздухе, проходит через обводной канал 10 к первой сетке 12, где всасывающее усилие наиболее велико. Это проиллюстрировано стрелкой А на фиг.8. Пыль, перемещенная к первой сетке 12, отфильтровывается первой сеткой 12. Отфильтрованная пыль проходит через сквозное отверстие 13 и падает вниз в пылеприемник 15. Воздух, втянутый вместе с пылью, проходит к двигателю 133 через первую сетку 12, первый циклон 20 и второй циклон 30. Это проиллюстрировано стрелкой В на фиг.8. Если втягивание пыли осуществляется непрерывно, то происходит забивание пылью первой сетки 12. Вследствие того, что первая сетка 12 имеет отверстия, более мелкие, чем отверстия второй и третьей сеток 27 и 37, первая сетка забивается легче, чем вторая и третья сетки 27 и 37.
При забивании первой сетки 12 обводного канала 10 всасывающее усилие двигателя 133 прикладывается, как показано на фиг.9, в основном через первый циклон 20, поскольку забивания второй сетки еще не произошло. Следовательно, пыль, втянутая с воздухом через всасывающее отверстие 2, поступает в первый корпус 22 циклона через первое входное отверстие 21 для воздуха, выполненное на первом корпусе 22 циклона рядом с первой сеткой 12. Пыль и воздух, которые попали в первый корпус 22 циклона, образуют вихревой поток, проиллюстрированный стрелкой С, а пыль, содержащаяся в воздухе, втянутом в первый циклон 20, отделяется за счет центробежной силы и осаждается. Осаждающаяся пыль накапливается в первом пылеприемнике 25. Воздух, который в основном очищен, поднимается через первое выходное отверстие 23 для воздуха и, как проиллюстрировано стрелкой D, перемещается к первой выпускной крышке 24. Пыль, еще остающаяся в воздухе после центробежного отделения, и пыль, поступающая обратно с выпускаемым воздухом, удаляется первыми верхними элементами 26, препятствующими прохождению пыли. Воздух, прошедший через первое выходное отверстие 23 для воздуха, пропускается через первую выпускную крышку 24 и выпускается ко второй сетке 27. Как показано стрелкой Е, пыль, остающаяся даже после прохождения через первое выходное отверстие 23 для воздуха, отделяется второй сеткой 27.
При забивании пылью второй сетки 27 первого циклона 20 по мере продолжения уборки всасывающее усилие двигателя 133 прикладывается, как показано на фиг.10, через второй циклон 30. Следовательно, пыль, втянутая вместе с воздухом через всасывающее отверстие 2, поступает по проходу 38 (фиг.4), выполненному между направляющим элементом 39 и вторым корпусом 32 циклона и, как показано стрелкой F, направляется во второй корпус 32 циклона через второе входное отверстие 31 для воздуха. Как показано стрелкой G, пыль и воздух, проходящие во второй корпус 32 циклона, образуют вихревой поток. Пыль, содержащаяся в воздухе, втянутом во второй корпус 32 циклона, отделяется за счет центробежной силы и осаждается во втором пылеприемнике 35. Поскольку диаметр второго циклона меньше диаметра первого циклона 20, то относительно тонкодисперсная пыль, которая не была отделена первым циклоном 20, может быть отделена во втором циклоне 30. Воздух, который прошел дополнительную очистку, поднимается через второе выходное отверстие 33 для воздуха и, как проиллюстрировано стрелкой Н, перемещается ко второй выпускной крышке 34. Пыль, еще остающаяся в воздухе после центробежного отделения, и пыль, поступающая обратно с выпускаемым воздухом, удаляется вторыми верхними элементами 36, препятствующими прохождению пыли. Воздух, прошедший через второе выходное отверстие 33 для воздуха, пропускается через вторую выпускную крышку 34 и выпускается ко второй сетке 37. Как показано стрелкой I, пыль, остающаяся даже после прохождения через второе выходное отверстие 33 для воздуха, отделяется третьей сеткой 37.
Как описано выше, в циклонном пылеотделителе 1 в соответствии с вариантом выполнения данного изобретения втянутая пыль последовательно отделяется и осаждается первой сеткой 12, первым циклоном 20 и вторым циклоном 30. В начале уборки, наоборот, воздух, втянутый вместе с пылью, выпускается через первую сетку 12, первый циклон 20 и второй циклон 30. При забивании первой сетки 12 по истечении заданного времени, втянутый воздух выпускается через первый и второй циклоны 20 и 30. При забивании первого циклона 20 воздух выпускается только через второй циклон 30.
Таким образом, в циклонном пылеотделителе 1, в котором первая сетка 12, первый циклон 20 и второй циклон 30 работают последовательно, потеря всасывающего усилия (потеря давления) может быть уменьшена по сравнению с обычными известными устройствами. Например, в то время как в циклонном пылеотделителе 1, в соответствии с вариантом выполнения данного изобретения, потери давления в начале уборки составляют около 1,9 дюймов Н2O (5 миллибар, 47 мм Н2O), потери давления в обычном циклонном пылеотделителе составляют около 2,3 дюймов Н2O (6 миллибар, 58 мм Н2O). Кроме того, в то время как потери давления в варианте выполнения данного изобретения при забитой первой сетке 12 составляют около 7 дюймов Н2O (18 миллибар, 180 мм Н2O), потери давления в обычном циклонном пылеотделителе в этом же случае составляют около 25 дюймов Н2O (62 миллибар, 635 мм Н2O).
Воздух, прошедший через первую сетку 12, первый циклон 20 и второй циклон 30, направляется к двигателю 133 через микрофильтр 51 и выпускается наружу.
Описанный выше циклонный пылеотделитель 1, в соответствии с вариантом выполнения данного изобретения, может быть использован для любых типов пылесосов, например, контейнерного или вертикального типа. На фиг.11 в качестве примера пылесоса с предлагаемым циклонным пылеотделителем 1 показан пылесос 100 контейнерного типа.
Обратимся к фиг.11. Пылесос 100 содержит всасывающую щетку 110, узел 120 удлинительных трубок, осуществляющий сообщение всасывающей щетки 110 с циклонным пылеотделителем 1, и основной корпус 130, в котором установлен циклонный пылеотделитель 1.
Всасывающая щетка 110 непосредственно контактирует с очищаемой поверхностью и имеет всасывающее отверстие 111, выполненное у ее нижней части и предназначенное для втягивания запыленного воздуха, и всасывающий проход 112, по которому проходит запыленный воздух.
Узел 120 удлинительных трубок содержит удлинительную трубку 121, соединенную с всасывающей щеткой 110, и гибкий шланг 122, одним концом соединенный с удлинительной трубкой 121, а другим концом – с циклонным пылеотделителем 1 в основном корпусе 130.
Основной корпус 130 разделен на пылеулавливающую камеру 131, в которой установлен циклонный пылеотделитель 1, и камеру 132 двигателя, в которой установлен двигатель 133, создающий всасывающее усилие. Циклонный пылеотделитель 1, установленный в пылеулавливающей камере 131, содержит обводной канал 10, в котором установлена первая сетка 12, а также первый и второй циклоны 20 и 30, расположенные параллельно друг другу и работающие последовательно. Конструкция и работа обводного канала 10, первого циклона 20 и второго циклона 30 аналогичны описанным выше при рассмотрении предыдущего варианта выполнения.
Пыль и воздух, втянутые через всасывающее окно 111 всасывающей щетки 110, пропускаются через удлинительную трубку 121 и гибкий шланг 122 и втягиваются во всасывающее отверстие 2 циклонного пылеотделителя 1. Втянутая пыль последовательно отделяется первой сеткой 12, первым циклоном 20 и вторым циклоном 30. Поскольку работа по отделению пыли первой сеткой 12, первым циклоном 20 и вторым циклоном 30 уже была описана выше, то подробное описание работы не приводится. Воздух, прошедший через первую сетку 12, первый циклон 20 и второй циклон 30, поступает в камеру 132 двигателя, пройдя через микрофильтр 51, и выпускается наружу из основного корпуса 130 через выпускное окно 135.
Хотя изобретение показано и описано со ссылкой на некоторые варианты выполнения, специалистам в данной области техники очевидно, что могут быть осуществлены различные изменения в форме и деталях, не выходящие за пределы сущности и объема изобретения, охарактеризованного в прилагаемой формуле изобретения.
Формула изобретения
1. Циклонный пылеотделитель для пылесоса, содержащий:
обводной канал, который направляет запыленный воздух, втянутый через всасывающее отверстие, непосредственно к двигателю и имеет первую сетку, отфильтровывающую пыль, содержащуюся во втянутом воздухе,
первый циклон, расположенный на одной стороне обводного канала и предназначенный для отделения пыли от запыленного воздуха, втянутого через всасывающее отверстие, и выпуска очищенного воздуха к двигателю, и
второй циклон, расположенный параллельно первому циклону и предназначенный для отделения пыли от запыленного воздуха, втянутого через всасывающее отверстие, и выпуска очищенного воздуха к двигателю,
причем отделение пыли, содержащейся в воздухе, осуществляется последовательно включением в работу первой сетки, первого циклона и второго циклона таким образом, что запыленный воздух, втянутый через всасывающее отверстие, проходит в первый циклон, когда первая сетка забита пылью, а во второй циклон, когда забиты пылью первая и вторая сетки.
2. Циклонный пылеотделитель по п.1, в котором первый циклон содержит первое входное отверстие для воздуха, выполненное рядом с первой сеткой.
3. Циклонный пылеотделитель по п.1, в котором второй циклон содержит второе входное отверстие для воздуха, выполненное рядом с всасывающим отверстием.
4. Циклонный пылеотделитель по п.3, дополнительно содержащий направляющий элемент, расположенный между всасывающим отверстием и вторым входным отверстием для воздуха и предназначенный для направления запыленного воздуха, втянутого через всасывающее отверстие, в первую очередь к первой сетке.
5. Циклонный пылеотделитель по п.1, в котором первый и второй циклоны содержат выходные отверстия для воздуха, снабженные соответственно второй и третьей сетками.
6. Циклонный пылеотделитель по п.5, в котором сетки, соответственно, с первой по третью имеют различные размеры ячеек.
7. Циклонный пылеотделитель по п.1, в котором диаметр первого циклона превышает диаметр второго циклона.
8. Циклонный пылеотделитель по п.1, дополнительно содержащий фильтр, установленный у выходных отверстий для воздуха обводного канала, первого циклона и второго циклона.
9. Циклонный пылеотделитель для пылесоса, содержащий:
обводной канал, который направляет запыленный воздух, втянутый через всасывающее отверстие, непосредственно к двигателю и имеет первую сетку, отфильтровывающую пыль, содержащуюся во втянутом воздухе,
первый циклон, который расположен на одной стороне обводного канала, содержит первое входное отверстие, выполненное рядом с первой сеткой и предназначенное для втягивания запыленного воздуха, втянутого через всасывающее отверстие, и предназначен для отделения втянутой пыли и выпуска очищенного воздуха к двигателю, и
второй циклон, который расположен параллельно первому циклону и содержит второе входное отверстие для воздуха, выполненное рядом с всасывающим отверстием и предназначенное для втягивания запыленного воздуха, втянутого через всасывающее отверстие, и предназначен для отделения втянутой пыли и выпуска очищенного воздуха к двигателю,
причем отделение пыли, содержащейся в воздухе, осуществляется последовательно включением в работу первой сетки, первого циклона и второго циклона таким образом, что запыленный воздух, втянутый через всасывающее отверстие, проходит в первый циклон, когда первая сетка забита пылью, а во второй циклон, когда забиты пылью первая и вторая сетки.
10. Циклонный пылеотделитель по п.9, дополнительно содержащий направляющий элемент, расположенный между всасывающим отверстием и вторым входным отверстием для воздуха второго циклона и предназначенный для направления запыленного воздуха, втянутого через всасывающее отверстие, в первую очередь к первой сетке.
11. Циклонный пылеотделитель по п.10, в котором первый и второй циклоны содержат выходные отверстия снабженные соответственно второй и третьей сетками.
12. Циклонный пылеотделитель по п.11, в котором сетки, соответственно, с первой по третью имеют различные размеры ячеек.
13. Циклонный пылеотделитель по п.9, в котором второй циклон расположен симметрично первому циклону относительно обводного канала.
14. Циклонный пылеотделитель по п.9, в котором диаметр первого циклона превышает диаметр второго циклона.
15. Циклонный пылеотделитель по п.9, дополнительно содержащий фильтр, установленный у выходных отверстий для воздуха обводного канала, первого циклона и второго циклона.
16. Пылесос, содержащий:
всасывающую щетку,
двигатель, установленный в основном корпусе пылесоса и предназначенный для создания всасывающего усилия для втягивания запыленного воздуха через всасывающую щетку, и
циклонный пылеотделитель, установленный в основном корпусе и предназначенный для отделения и осаждения пыли из запыленного воздуха,
причем циклонный пылеотделитель содержит:
обводной канал, который направляет запыленный воздух, втянутый через всасывающее отверстие, непосредственно к двигателю и имеет первую сетку, отфильтровывающую пыль, содержащуюся во втянутом воздухе,
первый циклон, который расположен на одной стороне обводного канала, имеет первое входное отверстие для воздуха, выполненное рядом с первой сеткой и предназначенное для втягивания запыленного воздуха, втянутого через всасывающее отверстие, и предназначен для отделения втянутой пыли и выпуска очищенного воздуха к двигателю, и
второй циклон, который расположен параллельно первому циклону, имеет второе входное отверстие для воздуха, выполненное рядом с всасывающим отверстием и предназначенное для втягивания запыленного воздуха, втянутого через всасывающее отверстие, и предназначен для отделения втянутой пыли и выпуска очищенного воздуха к двигателю,
причем отделение пыли, содержащейся в воздухе, осуществляется последовательно включением в работу первой сетки, первого циклона и второго циклона таким образом, что запыленный воздух, втянутый через всасывающее отверстие, проходит в первый циклон, когда первая сетка забита пылью, а во второй циклон, когда забиты пылью первая и вторая сетки.
17. Пылесос по п.16, дополнительно содержащий направляющий элемент, расположенный между всасывающим отверстием и вторым входным отверстием для воздуха второго циклона и предназначенный для направления запыленного воздуха, втянутого через всасывающее отверстие, в первую очередь к первой сетке.
РИСУНКИ
|
|