|
(21), (22) Заявка: 2004129302/11, 26.02.2003
(24) Дата начала отсчета срока действия патента:
26.02.2003
(30) Конвенционный приоритет:
01.03.2002 FR 02/02733 03.06.2002 FR 02/06765 04.10.2002 FR 02/12295
(43) Дата публикации заявки: 10.06.2005
(46) Опубликовано: 10.11.2007
(56) Список документов, цитированных в отчете о поиске:
US 5520093 А, 28.05.1996. ЕР 1153561 A1, 14.11.2001. RU 2141214 C1, 20.11.1999. RU 2129830 C1, 10.05.1999. FR 2713905 A, 23.06.1995. EP 0662298 A1, 12.07.1995. RU 2022186 C1, 30.10.1994.
(85) Дата перевода заявки PCT на национальную фазу:
01.10.2004
(86) Заявка PCT:
FR 03/00612 (26.02.2003)
(87) Публикация PCT:
WO 03/073897 (12.09.2003)
Адрес для переписки:
129010, Москва, ул. Б.Спасская, 25, стр.3, ООО “Юридическая фирма Городисский и Партнеры”, пат.пов. Е.И.Емельянову
|
(72) Автор(ы):
БЛАН Жан-Пьер (FR), ФЕРРЬЕ Кристиан (FR)
(73) Патентообладатель(и):
КОМПАНИ МЕДИТЕРАНЕЭН ДЕ КАФЕ С.А. (FR)
|
(54) УСТРОЙСТВО ДЛЯ ПРОИЗВОДСТВА НАПИТКОВ НАСТАИВАНИЕМ
(57) Реферат:
Изобретение относится к устройству для приготовления напитков, например кофе, настаиванием продукта, содержащегося в контейнере. Устройство имеет камеру настаивания из двух частей, выполненных с возможностью схождения и расхождения. Для открывания или закрывания камеры и прижатия контейнера к невращающейся части (4) другая часть камеры выполнена вращающейся и с возможностью продольного перемещения. При этом устройство содержит дополнительные средства запирания при закрытии двух частей камеры настаивания. Эти средства могут быть выполнены в виде гидроцилиндра, который запитывается из бойлера, питающего камеру настаивания. Камера (39) гидроцилиндра образована между поверхностью (40) бойлера и подвижным органом (41), жестко связанным с невращающейся частью (4) камеры настаивания, причем поверхность (40) содержит отвод (42) подачи горячей воды. Эластичная непроницаемая мембрана (43) между поверхностью (40) бройлера и подвижным органом (41) обеспечивает герметичность при запирании камеры (39) гидроцилиндра. Достигается упрощение конструкции привода открывания/закрывания камеры настаивания, снижение мощности привода и повышение герметичности камеры настаивания, а также повышение удобства приема/удаления контейнера с продуктом. 17 з.п. ф-лы, 26 ил.
Данное изобретение относится к устройству для производства напитков путем настаивания или экстракции продукта, содержащегося в контейнере.
В частности, оно может быть использовано для приготовления кофе из молотых кофейных зерен, упакованных в контейнер.
Такие контейнеры, как правило, изготовляют путем соединения двух листов фильтровальной бумаги, образующих внутреннее пространство упаковки для молотого кофе.
Известны различные машины для получения горячих напитков из молотых продуктов.
В частности, документ WO-A-00/38558 описывает камеру экстракции автоматической машины для приготовления горячих напитков, предназначенную для приема контейнеров или предварительно дозированных таблеток из молотого кофе.
Камера состоит из двух подвижных в горизонтальной плоскости частей, выполненных с возможностью отодвигаться или приближаться друг к другу, причем движение обеих частей взаимосвязано.
Машина, оборудованная таким образом, в общем, удовлетворяет поставленным требованиям, но делает необходимым перемещение двух составляющих частей камеры.
Поэтому в данной машине необходимо предусмотреть достаточно мощный привод и относительно сложную систему передачи мощности, необходимую для синхронизации движений.
В то же время, из документа FR-A2.745.995 известна установка для производства напитков, в которой камера настаивания состоит из двух полуформ, одну несет поверхность корпуса установки, другая закреплена на поверхности бойлера, причем эти две поверхности обращены друг к другу.
Камера настаивания формируется, когда две половинки находятся рядом.
Соединение камеры осуществляется посредством перемещения одной из полуформ.
Представленная установка делает необходимой согласованную работу различных запирающих элементов, обеспечивающих удержание контейнера в момент загрузки, и во время его входа в камеру настаивания.
Подвижность запирающих элементов в той же мере необходима, чтобы гарантировать удаление использованных порций.
Внутреннее устройство, описанное выше, требует использования различных запирающих элементов и устройства для удаления контейнеров.
Из документа US 5520093 известна кофеварка с контейнерами в виде ленты, в которой камера настаивания содержит часть, имеющую возможность вращения и перемещения посредством приводного вала. Помимо слишком сложной системы загрузки и удаления контейнеров, данное устройство является излишне сложным как с точки зрения конструкции, так и в плане приведения в действие, предполагающее герметизацию камеры при помощи системы кулачков.
В патенте EP 1153561 описана кофеварка с капсулой с подвижной крышкой, служащей для открывания или закрывания камеры настаивания. Также предусмотрена сложная система прижатия капсулы.
Для приведения в действие камеры настаивания средства перемещения частей камеры должны быть массивными и иметь сложную конструкцию, в частности, для обеспечения герметичности в закрытом положении. При этом необходимо учитывать, что машина типа «эспрессо» производит горячую воду часто под давлением порядка 15 бар.
В основу данного изобретения поставлена задача разработки устройства, позволяющего устранить недостатки вышерассмотренных устройств.
Оно представляет собой усовершенствованное устройство для приготовления напитков.
Первое преимущество изобретения заключается в том, что оно позволяет осуществлять открытие и запирание камеры настаивания, а также осуществлять загрузку и выгрузку контейнеров посредством меньшего числа движений и, в частности, комбинированным вращательным и поступательным движением только одной из составных частей камеры.
Другое преимущество изобретения согласно предпочтительному варианту его осуществления состоит в использовании только одного приводного устройства для обеспечения вращательного и поступательного движений, обеспечивающего надежную синхронизацию с наименьшими затратами.
В соответствии с предпочтительным вариантом осуществления изобретения устройство приводится в действие пользователем поворотом рычага.
Таким образом, заявленное устройство является близким стандартной кофеварке, представляющей собой фильтродержатель с ручкой, обеспечивающей фазы экстракции напитка автоматически.
Дополнительное запирающее устройство призвано обеспечить или улучшить герметичность камеры в положении экстрагирования.
Данное изобретение относится к устройству для приготовления напитков настаиванием из продукта, содержащегося в контейнере, включающему в себя камеру настаивания, предназначенную для приема контейнера и состоящую из двух частей, выполненных с возможностью взаимного сближения и отдаления для закрывания или открывания камеры настаивания, причем одна из частей выполнена вращающейся, для прижатия контейнера в вышеупомянутой части, и с возможностью поступательного движения, для открывания или закрывания камеры настаивания, и отличающееся тем, что оно содержит дополнительные средства запирания при закрытии двух частей камеры настаивания.
В соответствии с предпочтительным вариантом осуществления изобретения заявленное устройство характеризуется следующими признаками.
Дополнительные средства запирания в устройстве являются средствами продольного перемещения части, не имеющей возможности вращения.
Средства перемещения образованы гидроцилиндром.
Гидроцилиндр запитывается от бойлера, питающего камеру настаивания.
Камера гидроцилиндра образована между поверхностью бойлера, содержащей подвод питания с горячей водой, и подвижным элементом, жестко связанным с невращающейся частью камеры настаивания.
Устройство содержит эластичную, непроницаемую мембрану между вышеупомянутой поверхностью и вышеупомянутым подвижным элементом, для герметичного закрытия камеры гидроцилиндра.
Подвижный элемент содержит канал питания камеры настаивания, образованный между камерой гидроцилиндра и разбрызгивателем, предусмотренным на невращающейся части камеры настаивания.
Канал питания имеет клапан, выполненный для открывания канала питания при давлении, превосходящем рабочее давление гидроцилиндра.
Устройство содержит пружину обратного хода подвижного элемента гидроцилиндра.
Устройство содержит одно средство привода, общее для приведения во вращение и для поступательного движения подвижной части камеры настаивания.
Средство приведения в движение выполнено в виде кулачка, имеющего первую внешнюю опорную поверхность, действующую на ползун, присоединенный к подвижной части камеры настаивания, и вторую внешнюю опорную поверхность, воздействующую на конец коромысла, соединенного с подвижной частью камеры настаивания.
Кулачок приводится во вращение при помощи рычага.
Общее средство приведения в движение содержит вращающийся приводной вал, соединенный с подвижной частью камеры настаивания, по меньшей мере, одним шатуном, установленным с возможностью вращения между вышеупомянутым приводным валом и вышеупомянутой подвижной частью.
Устройство содержит ползун, жестко связанный с подвижной частью камеры при ее поступательном движении и по отношению к которому она может вращаться.
Устройство имеет направляющие для ползуна.
Вал приводится во вращение рычагом.
Устройство содержит направляющие средства для контейнера.
Направляющие средства для контейнера включают в себя направляющую с, по меньшей мере, одной канавкой, предназначенной для приема периферийной части контейнера.
Направляющие установлены подвижно, с возможностью следовать за движением схождения или расхождения частей камеры настаивания.
Подвижная часть камеры настаивания обеспечивает параллельность ее лицевой поверхности лицевой поверхности неподвижной части, перед их соединением, в течение фазы закрытия камеры настаивания.
В дальнейшем изобретение поясняется описанием вариантов его осуществления со ссылками на сопровождающие фигуры чертежей, приводимых в качестве примеров и не ограничивающих варианты выполнения изобретения.
Фиг.1 изображает вид устройства в разрезе в соответствии с первым вариантом осуществления изобретения.
Фиг.2 – другой вид в разрезе с другой конфигурацией камеры настаивания.
Фиг.3 – вид сбоку устройства в соответствии с изобретением.
Фиг.4 и 5 – соответственно виды сверху и спереди устройства.
Фиг.6 – вид устройства в перспективе во время фазы экстракции кофе.
Фиг.7 – вид устройства в перспективе в положении загрузки контейнера.
Фиг.8 – схему фаз движения устройства в соответствии с изобретением.
Фиг.9-12 и фиг.9bis, фиг.10bis изображают четыре последовательных этапа функционирования устройства.
Фиг.13 и 14 изображают сбоку перемещение направляющих.
Фиг.15 изображает общий вид в перспективе устройства в соответствии с изобретением.
Фиг.16 – вид сверху устройства.
Фиг.17 и 18 изображают соответственно вид сбоку и продольный разрез устройства согласно изобретению в положении загрузки контейнера.
Фиг.19 и 20 изображают соответственно виды устройства согласно изобретению сбоку и в разрезе в положении приема контейнеров в камеру настаивания.
Фиг.21 и 22 изображают соответственно вид сбоку и продольный разрез устройства согласно изобретению в положении экстракции.
Фиг.23 изображает частично вид в разрезе устройства с дополнительными средствами запирания в состоянии покоя согласно предпочтительному варианту осуществления изобретения.
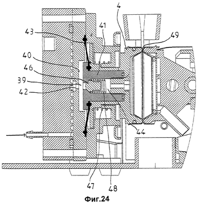
Фиг.24 показывает активное положение средств запирания.
Устройство согласно изобретению, в частности приведенное на фиг.6 и 7, обычно содержит бойлер 9, снабжающий горячей водой камеру 1 настаивания, для экстракции из вещества, содержащегося в контейнере, в частности из молотого кофе.
Как показано на фиг.2, система 10 циркуляции воды проходит сбоку устройства и содержит часть 11 подвода горячей воды в камеру 1 настаивания и часть 12 отвода с выходом в лоток 13, сливающий напиток в воронку 14, направляющую напиток в сосуд пользователя.
Как показано на фиг.1-14, оконечная часть системы может быть выполнена в виде традиционного фильтродержателя, содержащего рукоятку, выполненную в виде рычага 15, и часть, образующую воронку 14.
В качестве контейнеров с продуктом могут быть использованы контейнеры известных на рынке типов.
Желательно, но необязательно, использовать контейнеры 2, имеющие строго плоскую и твердую периферию, обеспечивающую сохранение формы контейнера.
Камера 1 настаивания состоит из двух частей 3,4, которые могут сходиться для закрывания камеры 1, как показано на фиг.2, или расходиться для ее открывания, как показано на фиг.1.
Как будет показано ниже, часть 3 камеры выполнена с возможностью перемещения для приближения или отдаления от другой части 4.
В то же время, часть 3 камеры выполнена с возможностью поворота с ограниченным ходом, для перехода между различными положениями в рабочем режиме.
Предпочтительно использовать один и тот же привод для обеспечения перемещения и вращения подвижной части 3 камеры.
В дальнейшем будут описаны два варианта выполнения привода.
Первый вариант выполнения будет описан со ссылками на фиг.1-14.
На фиг.2 в качестве примера приведено положение оси 8 вращения подвижной части 3 камеры настаивания и оси 7 ее перемещения.
Ниже будет рассмотрен пример горизонтальной машины экстракции (в которой контейнер расположен строго вертикально и получает горячую воду по строго горизонтальной линии).
Однако возможны и другие варианты ориентации, не выходящие за рамки изобретения.
Единый привод может состоять из вращающегося кулачка 16, имеющего внешнюю поверхность, состоящую из двух участков.
Первый участок внешней поверхности 17 кулачка 16 обеспечивает действие кулачка на ползун, способный передавать поступательное движение подвижной части 3 камеры настаивания.
Вторая внешняя поверхность кулачка 16, обозначенная на фиг.1 как поверхность 18, обеспечивает действие кулачка на выступ коромысла 19, вращение которого передается подвижной части 3, части настаивания, обеспечивая ее поворот.
Связь между коромыслом 19 и подвижной частью 3 может быть осуществлена посредством пальца 22, вставляемого в вилку 23 подвижной части, так, как показано на фиг.1.
Ось вращения коромысла 19 расположена в ползуне 21, показанном на фиг.1 и обозначенном на фиг.2.
Указанная соединительная деталь перемещает подвижную часть 3 под нажимом кулачка 16.
Ниже будут описаны другие средства передачи движений вращения и перемещения подвижной части 3 камеры 1 настаивания.
В предпочтительном варианте коромысло 19 содержит удлинение, образующее ограничитель хода 20 и выполненное с возможностью упора в опорную поверхность, при достижении определенного углового положения подвижной части 3 камеры настаивания в положении открытия верхней части камеры 1 настаивания.
В соответствии с первым вариантом выполнения вал 13 приводится во вращение механическим приводом.
В соответствии со вторым вариантом выполнения приведение во вращение вала осуществляется поворотом рычага 15, который может быть приведен в движение пользователем.
Фиг.6 и 7 изображают два положения рычага 15.
В варианте осуществления согласно фиг.7 положение рычага 15 определяет положение кулачка 16, в точности соответствующее рабочей фазе, изображенной на фиг.1.
В этом случае подвижная часть 3 наклонена вниз, для образования опорной поверхности 6 в своей верхней части, для взаимодействия с нижней внешней поверхностью контейнера 2.
Согласно положению рычага 15 согласно фиг.6 кулачок 16 совершил поворот и достиг положения, изображенного на фиг.2, в котором камера 1 настаивания закрыта в положении экстракции.
Поворот рычага 15 может быть ограничен при помощи подвижного упора 28, выполненного, например, в виде пальца, передвигаемого в овальном отверстии рамы устройства.
Чтобы обеспечить или улучшить герметичность камеры настаивания 1 в закрытом положении, выгодно увеличить усилие закрытия, производимое пользователем при помощи рычага 15, дополнительным усилием.
С этой целью средство запирания при закрытии двух частей 3,4 камеры 1 настаивания может быть выполнено, как будет показано ниже.
Предпочтительно, чтобы устройство также содержало средства направления контейнера 2 во время его перемещения в рабочих фазах.
Для этого средства направления могут быть выполнены в виде направляющей 25, образованной двумя канавками 26, предназначенными для того, чтобы окружать периферию контейнера 2.
Периферия вышеупомянутого контейнера 2 может вставляться в каждую из предусмотренных для этого канавок 26.
Направляющие средства выгодно устанавливать подвижно для синхронизации с движениями сближения и удаления двух частей камеры настаивания.
С этой целью эти средства совместно перемещаются с ползуном 21 посредством толкателей 31, представленных, в частности, на фиг.7.
Толкатель 31 содержит часть с пазом 32, формирующим два участка нажима толкателя 31 на соответствующую поверхность направляющих средств.
Таким образом, движение направляющих средств соответствует движению ползуна 21 в рабочих фазах.
С другой стороны, промежуток, образованный между двумя нажимными поверхностями, образованными пазом 32, обеспечивает сначала продвижение только подвижной части 3, а затем совместное продвижение направляющих средств и подвижной части 3 по направлению к неподвижной части 4 камеры 1 настаивания.
Система толкателя, выполненная таким образом, может быть реализована вокруг двух боковых направляющих 30a, 30b, обеспечивающих направление при перемещении подвижных элементов и сцепление составных частей устройства.
Рабочие фазы данного устройства более подробно изображены на фиг.8-14.
Фиг.8 схематически представляет различные фазы движения части 3 камеры 1 настаивания.
Стрелками схематично показано перемещение подвижной части 3, осуществляемое посредством поворота кулачка 16.
В то же время сечения А-А и B-B на фиг.8 схематично изображают выполнение кулачка 16 и, в частности, выполнение двух внешних опорных поверхностей 17 и 18.
Поверхность 18 воздействует на конец коромысла 19.
На фиг.9-12 и 9bis, 10bis, изображены четыре последовательных этапа функционирования заявленного устройства.
На фиг.9 кулачок 16 приведен в движение и вызывает вращение подвижной части 3, имеющей тенденцию к открыванию для приема контейнера 2.
Верхняя часть подвижной части 3 камеры настаивания наклоняется, опорная поверхность загрузки 6, образованная на ее уровне, отодвигается и вызывает падение контейнера 2 под действием силы тяжести.
Подвижная часть 3 камеры принимает контейнер, который ложится на поверхность 5, образующую опорную поверхность приема.
В результате последующего вращения кулачка 16 подвижная часть 3 камеры перемещается, как показано на фиг.10.
Одновременно подвижная часть 3 также продолжает свое вращение, чтобы достичь положения, строго параллельного положению неподвижной части 4, до их полного смыкания в результате поступательного движения, как показано на фиг.9bis и 10bis. Таким образом, подведение подвижной части 3 к неподвижной части 4 производится по оптимальной траектории, что обеспечивает контакт поверхностей двух частей 3,4 в закрытом положении.
После закрытия камеры настаивания горячая вода поступает в камеру настаивания, как показано стрелками на фиг.10.
Напиток поступает вначале в лоток, а затем в воронку.
Как только экстрагирование произведено, обратное движение кулачка 16 приводит к отходу подвижной части 3 и ее дальнейшему повороту.
Подвижная часть наклоняется, контейнер 2 освобождается и падает под действием силы тяжести в зону извлечения.
Подвижная часть 3, таким образом, повернутая вниз, снова обеспечивает образование опорной поверхности 6 загрузки на верхней части подвижной части 3.
Фиг.13 и 14 показывают на виде сбоку выполнение перемещения направляющих при их наличии.
Для этого используется толкатель 31, выполненный с возможностью обеспечения продвижения направляющих 25 по мере продвижения подвижной части 3.
Паз 32, предусмотренный на толкателе 31, обеспечивает запаздывание в перемещении направляющих 25.
Фиг.14 показывает завершение извлечения контейнера 2, которое осуществляется, как только подвижная часть 3 отодвинута и в то время как направляющие 25 все еще находятся на месте.
Когда контейнер извлечен, направляющие 25 в свою очередь подвергаются перемещению в направлении, указанном полыми стрелками.
Запаздывание при перемещении направляющих 25 обеспечивает необходимое отставание контейнера 2 перед возвращением устройства в исходное положение.
Другой вариант выполнения привода представлен ниже со ссылками на фиг.15-22.
На фиг.18 в качестве примера обозначено положение оси 8 вращения подвижной части 3 камеры настаивания и оси 7 перемещения.
Единый привод состоит из приводного вала 33 с горизонтальной осью вращения и выполнен с возможностью перемещения подвижной части 3.
С этой целью вал 33 взаимодействует с, по меньшей мере, одним шатуном 34a, 34b, предпочтительно с двумя шатунами. Согласно фиг.18 шатун 34a, 34b установлен с подвижной связью 37, 36 одной стороной на валу 33 и другой стороной – на заднем конце подвижной части 3 камеры настаивания.
Движение ползуна 21 также синхронизировано с перемещением подвижной части 3 камеры и обеспечивает подвижное по оси 8 соединение вышеупомянутой подвижной части 3 камеры.
Перемещение ползуна 21, кроме того, управляется средствами направления, которые могут состоять из двух боковых направляющих 30а, 30b, как это следует из фиг.16.
В соответствии с первым вариантом выполнения вал 33 приведен во вращение механическим приводом.
В соответствии со вторым вариантом выполнения приведение во вращение осуществляется поворотом рычага 15 пользователем.
Соответственно, подвижная часть 3 наклонена вниз, для образования опорной поверхности 6 в своей верхней части, для взаимодействия с нижней внешней поверхностью контейнера 2.
Поверхность 6 образует, таким образом, опору во время фазы загрузки контейнера 2.
Чтобы улучшить герметичность камеры 1 настаивания в закрытом положении, требуется увеличить усилие закрытия, производимое пользователем при помощи рычага 15, дополнительным усилием.
Средство запирания при закрытии двух частей 3,4 камеры 1 настаивания может быть выполнено, как будет показано ниже.
Предпочтительно, чтобы устройство также содержало направляющие средства контейнера 2 во время его перемещения в разных рабочих фазах.
С этой целью направляющие средства могут быть выполнены в виде направляющей 25, образованной двумя канавками 26, окружающими периферию контейнера 2.
Периферийная область вышеупомянутого контейнера 2 может вставляться в каждую из канавок 26.
Направляющие средства выгодно устанавливать с возможностью их перемещения для отслеживания движения сближения и удаления двух частей камеры.
С этой целью направляющие средства перемещаются вместе с ползуном 21 посредством толкателей 31, представленных на фиг.17.
Толкатель 31 содержит часть с пазом 32, составляющим два участка нажима толкателя 31 на соответствующую поверхность направляющих средств.
Таким образом, движение направляющих средств соответствует движению ползуна 21 в рабочем режиме.
С другой стороны, промежуток, образованный между двумя нажимными поверхностями, образованными пазом 32, обеспечивает сначала продвижение только подвижной части 3 камеры настаивания, а затем совместное продвижение направляющих средств и подвижной части 3 по направлению к неподвижной части 4 камеры 1.
Система толкателя, выполненная таким образом, может быть реализована вокруг двух боковых направляющих 30a, 30b, обеспечивающих направление при перемещении подвижных элементов и сцепление составных частей устройства.
Рабочие фазы данного устройства более подробно проиллюстрированы на фиг.17-22 и позволяют реализовать этапы изготовления напитка с теми же изменениями конфигурации камеры 1 настаивания, что и в первом варианте выполнения.
Фиг.17 и 18 показывают первое положение функционирования устройства, в котором контейнер 2 находится в положении упора в верхнюю стенку подвижной части 3.
Рычаг 15 находится в предварительно заданном угловом положении, в данном случае – вертикальном.
Приведение в движение рычага 15 позволяет достичь положения, изображенного на фиг.19 и 20, на которых контейнер 2 установлен в подвижную часть 3 камеры настаивания.
Между этими двумя фазами движения приводной вал 33 обеспечивает нажим шатуна 14а на заднюю часть подвижной части 3 камеры и, в частности, вращение подвижной части в направлении по часовой стрелке.
Продолжая вращение рычага 15, вал 33 производит дополнительное давление на подвижную часть 3 посредством шатунов 34а, 34b, вызывающее перемещение подвижной части 3 камеры и ее закрытие, для формирования камеры 1 экстракции.
Можно предусмотреть упорные поверхности, в частности на ползуне 21, для ограничения угловой подвижности подвижной части 3 камеры.
Таким образом, в положении, представленном на фиг.21 и 22, подвижная часть 3 закрывает камеру 1 экстракции.
Когда камера настаивания закрыта, горячая вода подается в камеру настаивания.
Напиток поступает в лоток 13.
Как только экстрагирование произведено, обратное движение вала 33 сопровождается отходом подвижной части 3 и ее поворотом.
В дальнейшем подвижная часть 3 камеры наклоняется, контейнер 2 освобождается и падает под действием силы тяжести в зону извлечения.
Подвижная часть 3 камеры 1, таким образом, повернутая вниз, снова обеспечивает образование опорной поверхности 6 загрузки на верхней части подвижной части 3.
На фиг.17, 19 и 21 изображены на виде сбоку перемещаемые направляющие средства.
В частности, приведен толкатель 31, вызывающий продвижение направляющих 25 по мере продвижения подвижной части 3 камеры 1.
Паз 32, предусмотренный на толкателе 31, обеспечивает запаздывание при перемещении направляющих 25.
Извлечение контейнера 2 завершается, как только подвижная часть 3 оказывается отодвинутой, тогда как направляющие 25 все еще находятся на месте.
В двух приведенных вариантах выполнения привод может осуществляться вручную поворотом рукоятки или рычага. Герметичность обеспечивается или улучшается поворотом дополнительных средств запирания. Таким образом, получают машину упрощенной конструкции, сохраняя ее эффективность, и, в частности, ее герметичность.
Далее будет описан предпочтительный вариант выполнения дополнительных средств запирания со ссылками на фиг.23 и 24.
В случае, представленном на фиг.23 и 24, дополнительные средства запирания обеспечивают продольное перемещение небольшого хода неподвижной части 4. Таким образом, как только подвижная часть 3 доходит до положения закрытия камеры 1 настаивания, это продольное перемещение небольшого хода позволяет обеспечить или усилить относительный нажим двух частей 3, 4 на периферийную зону контейнера 2. Таким образом, создается зона на периферийной герметичности, показанная на фиг.24.
В соответствии с приведенным вариантом выполнения, средства продольного перемещения образованы гидроцилиндром 38. Гидроцилиндр 38 запитывается от того же источника, что и камера 1 настаивания, а именно – от бойлера 9. Таким образом, дополнительные средства запирания не требуют образования другой гидравлической системы.
Как показано на фиг.23 и 24, поршень гидроцилиндра 38 образован подвижным органом 41, жестко связанным с вращающейся частью 4 камеры, с возможностью обеспечения ее продвижения или отвода в соответствии с рабочим положением гидроцилиндра 38. Жидкость под давлением (в частности, горячая вода из бойлера 9) поступает в камеру 39 для осуществления давления на подвижный орган 41. Камера 39 образована между подвижным органом 41 и поверхностью 40 бойлера 9, при этом поверхность 40 предпочтительно имеет небольшую полость, обеспечивающую образование достаточного объема для камеры 39.
В области поверхности 40 бойлер 39 содержит отвод 42, обеспечивающий подачу горячей воды в камеру 39.
Для обеспечения герметичного закрытия камеры 39 гидроцилиндра 38 предусмотрены средства герметизации. Могут быть, в частности, использованы прокладки либо эластичная непроницаемая мембрана 43, показанная на фиг.23 и 24.
Эластичная непроницаемая мембрана образована из элемента, жестко и герметично по периметру присоединенного своим внешним краем к поверхности 40 бойлера и своим внутренним краем к подвижному органу 41. Эластичная непроницаемая мембрана 43 деформируется в соответствии с рабочим положением гидроцилиндра 38.
Очевидно, что при поступлении горячей воды в камеру 39 из бойлера 9 объем камеры 39 стремится к увеличению, и давление прикладывается на соответствующую поверхность подвижного органа 41. Это давление вызывает перемещение подвижного органа 41 и, следовательно, продвижение невращающейся части 4 камеры, как показано на фиг.24. Согласно фиг.24 запирание произведено.
На этой стадии горячая вода может быть подана в часть 4 камеры, для произведения форсированной экстракции в камере 1 настаивания. Впрыскивание воды производится разбрызгивателем 45 подвижной конструкции, выполненным в виде внутреннего покрытия части 4 камеры.
Подача горячей воды в камеру 1 настаивания производится через канал 44 питания, связывающий камеру 39 гидроцилиндра 38 и разбрызгиватель 45. Чтобы избежать движения воды в направлении разбрызгивателя 45 в нерабочем положении средств уплотнения и в положении открытия камеры 1 настаивания, предусмотрено дополнительное устройство.
В самом деле, так как показано на фиг.23 и 24, канал питания 44 содержит клапан 46, выполненный с возможностью открывания канала 44 питания только за порогом давления, значение которого превосходит рабочее давление гидроцилиндра 38.
Таким образом, подача горячей воды в камеру 39 через отвод 42 бойлера 9 производит вначале активацию гидроцилиндра 38 и продвижение части 4 камеры, что обеспечивает дополнительное запирание.
После достижения запирания давление в камере 39 продолжает расти до достижения уровня, обеспечивающего перемещение клапана 46 для открывания канала 44 питания и подачи горячей воды в камеру 1 настаивания.
В качестве примера возможно регулировать порог давления срабатывания клапана 46 на уровне порядка 2 бар. Это регулирование может быть осуществлено выбором пружины 48, обеспечивающей возврат в положение покоя клапана 46.
После завершения подачи воды в камеру 1 настаивания прекращают подачу горячей воды в камеру 39, чтобы произвести возврат гидроцилиндра 38 в положение покоя. Такой возврат может быть вызван упругими свойствами мембраны 43 и пружины обратного хода 47.
Таким образом, пользователь может вручную, с ограниченным усилием, закрыть или открыть камеру 1 настаивания. Когда закрытие осуществляется вручную, дополнительные средства запирания обеспечивают полную герметичность камеры настаивания 1 в зоне периферийной герметичности. В этом случае может производиться полная экстракция с давлениями, соответствующими давлениям машин типа «эспрессо», и, в частности, порядка 15 бар.
Без использования дополнительных средств запирания пользователю особенно сложно обеспечить вручную достаточно герметичное закрытие камеры настаивания 1 при работе с высокими уровнями давления.
Формула изобретения
1. Устройство для производства напитков настаиванием продукта, содержащегося в контейнере (2), содержащее камеру (1) настаивания, предназначенную для приема контейнера (2) и состоящую из двух частей (3, 4), выполненных с возможностью сближения или расхождения для закрывания или открывания камеры (1) настаивания, причем часть (3) камеры выполнена с возможностью вращения и прижатия контейнера (2) к вышеупомянутой части, а также с возможностью продольного перемещения для открывания или закрывания камеры (1) настаивания, отличающееся тем, что оно содержит дополнительные средства запирания при закрытии двух частей камеры (1) настаивания, которые являются средствами продольного перемещения невращающейся части (4) камеры (1).
2. Устройство по п.1, отличающееся тем, что средства перемещения образованы гидроцилиндром (38).
3. Устройство по п.2, отличающееся тем, что гидроцилиндр (38) запитывается из бойлера (9), питающего камеру (1) настаивания.
4. Устройство по п.3, отличающееся тем, что камера (39) гидроцилиндра (38) образована между поверхностью (40) бойлера (9) и подвижным органом (41), жестко связанным с невращающейся частью (4) камеры (1) настаивания, причем поверхность (40) содержит отвод (42) подачи горячей воды.
5. Устройство по п.4, отличающееся тем, что оно содержит эластичную непроницаемую мембрану (43) между поверхностью (40) бойлера и подвижным органом (41), для обеспечения герметичности при запирании камеры (39) гидроцилиндра (38).
6. Устройство по одному из пп.4 и 5, отличающееся тем, что
подвижный орган (41) содержит канал питания (44) камеры (1) настаивания, образованный между камерой (39) гидроцилиндра (38) и разбрызгивателем (45), предусмотренным на невращающейся части (4) камеры (1) настаивания,
причем канал питания (44) имеет клапан (46), открывающий канал (44) питания при давлении, превышающем рабочее давление гидроцилиндра (38).
7. Устройство по п.4, отличающееся тем, что оно содержит пружину (47) обратного хода подвижного органа (41) гидроцилиндра (38).
8. Устройство по п.1, отличающееся тем, что оно содержит привод, общий для вращения и перемещения подвижной части (3) камеры (1) настаивания.
9. Устройство по п.8, отличающееся тем, что средство приведения в движение выполнено в виде кулачка (16), имеющего первую внешнюю поверхность (17), действующую на ползун (21), соединенный с подвижной частью (3) камеры настаивания, и вторую внешнюю поверхность (18), действующую на край коромысла (19), соединенного с подвижной частью (3) камеры настаивания.
10. Устройство по п.9, отличающееся тем, что кулачок (16) приводится во вращение при помощи рычага (15).
11. Устройство по п.8, отличающееся тем, что общий привод содержит приводной вал (33), подвижно соединенный с подвижной частью (3) камеры настаивания, при помощи, по меньшей мере, одного шатуна (34а, 34b), установленного подвижно между приводным валом (33) и подвижной частью (3) камеры настаивания.
12. Устройство по п.11, отличающееся тем, что оно содержит ползун (21), жестко соединенный с подвижной частью (3) камеры настаивания при ее перемещении, относительно которого последняя имеет возможность вращаться.
13. Устройство по п.12, отличающееся тем, что оно имеет направляющие (30а, 30b) для перемещения ползуна (21).
14. Устройство по любому из пп.11-13, отличающееся тем, что вал (33) приводится во вращение при помощи рычага (15).
15. Устройство по п.1, отличающееся тем, что оно содержит направляющие средства для контейнера (2).
16. Устройство по п.15, отличающееся тем, что направляющие средства содержат направляющую (25) с, по меньшей мере, одной канавкой (26), предназначенной для приема периферийной части (27) контейнера.
17. Устройство по одному из пп.15 и 16, отличающееся тем, что направляющие установлены подвижно для синхронизации с движением сближения или расхождения частей камеры настаивания.
18. Устройство по п.1, отличающееся тем, что подвижная часть (3) камеры настаивания выполнена с возможностью ориентирования ее лицевой поверхности параллельно лицевой поверхности неподвижной части (4) камеры настаивания перед их соединением в фазе закрытия камеры настаивания (1).
Приоритет по пунктам:
01.03.2002 по пп.1-5, 7-10, 15-17;
03.06.2002 по пп.11-14;
04.10.2002 по п.18;
26.02.2003 по п.6.
РИСУНКИ
|