|
|
(21), (22) Заявка: 2006109809/13, 29.03.2006
(24) Дата начала отсчета срока действия патента:
29.03.2006
(46) Опубликовано: 10.11.2007
(56) Список документов, цитированных в отчете о поиске:
Адрес для переписки:
394000, г.Воронеж, пр-кт Революции, 19, ВГТА, кафедра МАПП, С.Т.Антипову
|
(72) Автор(ы):
Антипов Сергей Тихонович (RU), Китаев Сергей Юрьевич (RU)
(73) Патентообладатель(и):
Государственное образовательное учреждение высшего профессионального образования Воронежская государственная технологическая академия (RU)
|
(54) СПОСОБ КОПЧЕНИЯ КУРИНЫХ ЯИЦ В ЭЛЕКТРОСТАТИЧЕСКОМ ПОЛЕ И УСТАНОВКА ДЛЯ ЕГО ОСУЩЕСТВЛЕНИЯ
(57) Реферат:
Изобретение относится к производству оригинальных копченых деликатесов. Способ копчения куриных яиц в электростатическом поле предусматривает мойку яиц, их термическую обработку, очистку от скорлупы, выдерживание в растворе пищевой поваренной соли и последующее копчение. Яйца после выдерживания в растворе пищевой поваренной соли подсушивают воздухом с температурой 50…60°С в течение 2…3 минут, а затем коптят 30…40 минут в электростатическом поле, помещают в герметичную вакуумную упаковку и перед отправкой на реализацию выдерживают при температуре хранения 5…10°С в течение 12…14 часов. Установка для копчения куриных яиц в электростатическом поле содержит дымогенератор, коптильную камеру и расположенные в ней коронирующие электроды в виде игл, держатели для яиц с изоляторами, дымораспределительные перегородки. Коронирующие электроды выполнены съемными в виде игл, расположенных на металлической пластине, и укреплены на боковых стенках коптильной камеры. Коптильная камера снабжена дополнительным электродом, содержащим коронирующие иглы с обеих сторон и закрепленным в верхней части камеры. Держатели для яиц выполнены в виде контейнеров с дном, крышкой и поперечными перегородками из коррозионно-стойкой металлической сетки, дымораспределительные перегородки размещены в нижней части коптильной камеры под держателями для яиц. Это позволяет улучшить качество готовой продукции, интенсифицировать процесс копчения и повысить производительность оборудования, снизить энергозатраты. 2 н.п. ф-лы, 7 ил.
Изобретение относится к пищевой промышленности, а именно к способам копчения куриных яиц, и может быть использовано в пищевой промышленности при производстве оригинальных копченых деликатесов.
Известен способ кулинарной обработки яиц (заявка №2002116453/13, опубл. 27.11.2004, автор Цечоев Магомет Саадович (KZ)), включающий термическую обработку, очистку яиц от скорлупы, их последующее засаливание в водном растворе поваренной соли и холодное копчение путем окуривания коптильным дымом в течение 3…5 часов.
Известен также способ копчения куриных яиц (Белов Н. «250 свежих рецептов из новых продуктов». – Минск: Харвест, 2004), предусматривающий варку яиц в воде со специями и последующее копчение на коптильной подставке в металлическом котле. При этом для получения коптильного дыма используется чайный лист и сахар.
Также известен способ производства копченых яиц (JP 61285946 A (KANEKO KIHACHIRO), 16.12.1986: PRODUCTION OF SMOKED EGG), предусматривающий подсушивание яиц теплым воздухом и последующее их копчение в течение длительного времени.
Известен также метод производства соленых неочищенных копченых яиц (JP 2003265145 A2 (NAKAGAWA TAKAYOSHI), 24.09.2003, METHOD FOR PRODUSING SMOKED SALTED UNSHELLED EGG), предусматривающий копчение яиц в низковольтной электрокоптильной установке при нормальном атмосферном давлении.
Недостатками указанных способов являются: большая продолжительность копчения путем окуривания дымом в течение 2…4 часов, приводящее к потере яйцами влаги, что вызывает ухудшение их качества, внешнего вида и потерю массы, а также приводит к повышению энергозатрат на дымообразование и работу дымососов.
Технический результат от использования изобретения заключается в улучшении качества и внешнего вида готовой продукции, интенсификации процесса копчения яиц, повышении производительности оборудования, снижение энергозатрат.
Это достигается тем, что в способе копчения куриных яиц в электростатическом поле, включающем мойку яиц, их термическую обработку, очистку от скорлупы, выдерживание в растворе пищевой поваренной соли и последующее копчение, новым является то, что яйца после засаливания предварительно подсушивают теплым воздухом с температурой 50…60°С в течение 2…3 минут, а затем их коптят 30…40 минут в электростатическом поле при нормальном атмосферном давлении. При этом желательно устанавливать расстояние между коронирующими электродами и поверхностью продукта порядка 0,15…0,25 м и поддерживать приложенное к продукту высокое напряжение в диапазоне 27…35 кВ. После окончания процесса копчения продукция фасуется в герметичную вакуумную упаковку. Готовый продукт после упаковки следует хранить в холодильниках при температуре 5…10°С (допускается использовать стандартный для серийно выпускаемого холодильного оборудования температурный диапазон 2…8°С) и относительной влажности воздуха 80…95%, при этом срок годности составляет 30 суток со дня изготовления, причем продукцию следует отправлять на реализацию не ранее чем через 12…14 часов после изготовления, что необходимо для завершения процесса диффузии коптильных веществ в толщу продукта.
Это также достигается тем, что в установке для копчения куриных яиц в электростатическом поле, содержащей дымогенератор, коптильную камеру и расположенные в ней коронирующие электроды в виде игл, держатели для обрабатываемых продуктов, дымораспределительную перегородку, новым является то, что коронирующие электроды выполнены съемными и укреплены на боковых стенках коптильной камеры, кроме того, коптильная камера снабжена дополнительным электродом, содержащим коронирующие иглы с обеих сторон и закрепленным в верхней части камеры, держатели для яиц выполнены в виде контейнеров, имеющих дно, крышку и поперечные перегородки, выполненные из коррозионно-стойкой металлической сетки, в нижней части коптильной камеры под держателями для яиц установлены дымораспределительные перегородки, изоляторы держателей заключены в защитные корпуса с внутренним избыточным давлением воздуха, создаваемым подачей в них через дроссель воздуха с малым расходом.
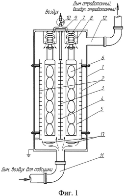
На фиг.1 изображена схема установки для копчения куриных яиц в электростатическом поле.
На фиг.2 изображен коронирующий электрод.
На фиг.3 показана часть коронирующего электрода в увеличенном масштабе и изображено взаимное расположение игл.
На фиг.4 показана конструкция и способ крепления держателя для яиц.
На фиг.5 изображен вид держателя для яиц снизу.
На фиг.6 представлена фотография коптильной камеры.
На фиг.7 представлена фотография общего вида всей электрокоптильной установки вместе с дымогенератором, а также трубопроводами подачи и отвода коптильного дыма.
Установка для копчения куриных яиц в электростатическом поле (фиг.1) содержит коптильную камеру 1 с укрепленными на боковых стенках съемными коронирующими электродами 2, 3 в виде игл 4, расположенных на металлической пластине, держатели 5 для яиц с размещаемыми в них яйцами 6, изоляторы 7, заключенные в защитные корпуса 8 с избыточным давлением воздуха, подающегося по трубкам 9 с малым расходом, величина которого устанавливается дросселем 10, входной трубопровод 11 подачи коптильного дыма в камеру, выходной трубопровод 12 отвода отработанного дыма из камеры, две дымораспределительные перегородки 13, выполняющие также функцию поддонов для сбора жидкости, стекающей с поверхности продукта.
При этом средний электрод (фиг.1) содержит коронирующие иглы с обеих сторон, а боковые электроды выполнены съемными, укреплены на боковых стенках коптильной камеры и содержат иглы лишь с одной стороны. Электроды представляют собой металлические пластины (фиг.2) с укрепленными на них коронирующими иглами. Иглы установлены параллельно друг другу и перпендикулярно металлической пластине.
На фиг.3 показана часть электрода в увеличенном масштабе, где изображено взаимное расположение игл – каждая игла равноудалена от соседних игл на расстояние 25…30 мм, поскольку располагается в вершинах смежных треугольников с углом при вершине 60°, при этом достигается наиболее полное и равномерное распределение зон экранирования, показанных на фиг.3 в виде касающихся друг друга окружностей. Число игл для каждого электрода составляет порядка 190…200 шт. в зависимости от производительности установки.
На фиг.4 показан держатель для яиц. Он представляет собой контейнер 14, имеющий поперечные перегородки 15 и укрепленный на изоляторе.
На фиг.5 показан держатель для яиц, вид снизу: поперечные перегородки укреплены на днище 16, сверху держатель закрывается крышкой 17, причем днище, крышка и поперечные перегородки выполнены из коррозионно-стойкой металлической сетки.
В процессе копчения возможно осаждение коптильных веществ на поверхности изоляторов, что является негативным явлением, т.к. может приводить к утечкам тока высокого напряжения на корпус установки, а следовательно, увеличению нагрузки на высоковольтный генератор (на схеме не показан) и возрастанию его энергопотребления.
Для устранения данного явления в предложенном способе изоляторы заключены в защитные корпуса, в которых поддерживается избыточное давление путем подачи воздуха с малым расходом, по трубкам, причем величина расхода воздуха ограничивается дросселем. Выходя через зазор между изолятором и его защитным корпусом, воздух препятствует проникновению коптильного дыма внутрь корпуса и осаждению коптильных веществ на поверхности изолятора.
Способ копчения куриных яиц в электростатическом поле осуществляется следующем образом.
Куриные яйца моют, подвергают термической обработке, для чего их помещают в кипящую воду и варят при температуре 100°С в течение 15…20 мин для завершения денатурации белка («вкрутую»), после чего яйца охлаждают, очищают от скорлупы, затем помещают в 5…7%-ный раствор пищевой поваренной соли на 3…4 часа при температуре 10…15°С. Затем яйца укладывают в держатели, закрывают крышку и держатели помещают в коптильную камеру, прикрепляя их к изоляторам, и осуществляют предварительное подсушивание поверхности яиц воздухом с температурой 50…60°С в течение 2…3 минут, причем теплый воздух подают в коптильную камеру по входному трубопроводу 11, а отработанный воздух удаляют по трубопроводу 12.
После чего держатели (фиг.1) подключают к высоковольтному генератору (на схеме не показан). При этом желательно устанавливать расстояние между коронирующими электродами и поверхностью продукта порядка 0,15…0,25 м и поддерживать приложенное к продукту высокое напряжение в диапазоне 27…35 кВ.
Коптильный дым подают по трубопроводу 11 со скоростью 20…30 м/мин (5,55·10-3…8,33·10-3 м/с), при этом он проходит через дымораспределительные перегородки 13 и поступает в пространство между электродами 2, 3 и держателями 5, где под действием электростатического поля происходит его интенсивное осаждение на поверхность продукта. Время процесса копчения составляет 30…40 минут, при температуре 20…25°С. Отработанный дым удаляют из камеры по трубопроводу 12.
После окончания процесса копчения куриные яйца извлекают из держателей и помещают в герметичную вакуумную упаковку. Готовый продукт следует хранить в холодильниках при температуре 5…10°С (допускается использовать стандартный для серийно выпускаемого холодильного оборудования температурный диапазон 2…8°С) и относительной влажности воздуха 80…95%. При этом срок годности составляет 30 суток со дня изготовления, причем продукцию следует отправлять на реализацию не ранее чем через 12…14 часов после изготовления, что необходимо для завершения процесса диффузии коптильных веществ в толщу продукта, после чего он приобретает требуемые органолептические свойства – вкус приятный, слегка солоноватый, с выраженным ароматом копчения.
Авторами разработан опытный образец установки для копчения куриных яиц в электростатическом поле. Установка была создана и размещена в научно-исследовательской лаборатории электрофизических методов обработки пищевых продуктов кафедры «Машины и аппараты пищевых производств» (МАПП) Воронежской государственной технологической академии (ВГТА). Фотография коптильной камеры представлена на фиг.6, а общий вид всей электрокоптильной установки вместе с дымогенератором, а также трубопроводами подачи и отвода коптильного дыма показан на фиг 7. Также разработана нормативно-техническая документация, включающая в себя рецептуру производства копченых куриных яиц. При проведении проектно-конструкторских работ руководствовались требованиями безопасности и директивами Европейского Союза. Все работы выполнены с учетом возможности сертификации по ISO 9000.
Предложенный способ копчения куриных яиц в электростатическом поле и установка для его осуществления позволяют:
– за счет использования электростатического поля существенно интенсифицировать процесс копчения куриных яиц и сократить время копчения до 30…40 минут,
– улучшить качество и внешний вид готовой продукции за счет снижения потерь влаги продуктом благодаря сокращению времени копчения,
– за счет установки дополнительного среднего электрода, имеющего коронирующие иглы с обеих сторон, добиться более рационального использования рабочего объема коптильной камеры, увеличить массу обрабатываемых за один цикл копчения куриных яиц и таким образом повысить производительность оборудования,
– за счет того, что изоляторы заключены в защитные корпуса с избыточным давлением воздуха, предотвращающим осаждение коптильных веществ на поверхности изолятора, значительно уменьшить утечки тока высокого напряжения на корпус установки, таким образом снизить энергозатраты.
Формула изобретения
1. Способ копчения куриных яиц в электростатическом поле, характеризующийся тем, что предусматривает мойку яиц, их термическую обработку, очистку от скорлупы, выдерживание в растворе пищевой поваренной соли и последующее копчение, при этом яйца после выдерживания в растворе пищевой поваренной соли подсушивают воздухом с температурой 50…60°С в течение 2…3 мин, а затем коптят 30…40 мин в электростатическом поле, помещают в герметичную вакуумную упаковку и выдерживают при температуре хранения 5…10°С в течение 12…14 ч.
2. Установка для копчения куриных яиц в электростатическом поле, характеризующаяся тем, что содержит дымогенератор, коптильную камеру и расположенные в ней коронирующие электроды в виде игл, держатели для яиц с изоляторами, дымораспределительные перегородки, причем коронирующие электроды выполнены съемными в виде игл, расположенных на металлической пластине, и укреплены на боковых стенках коптильной камеры, при этом коптильная камера снабжена дополнительным электродом, содержащим коронирующие иглы с обеих сторон и закрепленным в верхней части камеры, держатели для яиц выполнены в виде контейнеров с дном, крышкой и поперечными перегородками из коррозионно-стойкой металлической сетки, дымораспределительные перегородки размещены в нижней части коптильной камеры под держателями для яиц, изоляторы последних заключены в защитные корпуса с внутренним избыточным давлением воздуха, создаваемым подачей в них через дроссель воздуха с малым расходом.
РИСУНКИ
MM4A – Досрочное прекращение действия патента СССР или патента Российской Федерации на изобретение из-за неуплаты в установленный срок пошлины за поддержание патента в силе
Дата прекращения действия патента: 30.03.2008
Извещение опубликовано: 10.11.2009 БИ: 31/2009
|
|