|
|
(21), (22) Заявка: 2005131096/13, 10.10.2005
(24) Дата начала отсчета срока действия патента:
10.10.2005
(43) Дата публикации заявки: 20.04.2007
(46) Опубликовано: 10.11.2007
(56) Список документов, цитированных в отчете о поиске:
RU 2186495 C1, 10.08.2001. RU 2138951 C1, 10.10.1999. RU 2128438 C1, 10.04.1999.
Адрес для переписки:
127566, Москва, Алтуфьевское ш., 40Г, кв.158, В.А. Брязуну
|
(72) Автор(ы):
Брязун Владимир Анатольевич (RU), Медведев Геннадий Петрович (RU), Маклюков Владимир Ильич (RU), Аднодворцев Михаил Федорович (RU)
(73) Патентообладатель(и):
Брязун Владимир Анатольевич (RU), ЗАО “Оргтехстрой 1” (RU)
|
(54) ХЛЕБОПЕКАРНАЯ ПЕЧЬ
(57) Реферат:
Изобретение относится к хлебопекарной отрасли пищевой промышленности. Конструкция хлебопекарной печи предусматривает выполнение распределительной камеры в виде короба с тремя отводами, расположенными с трех вертикальных ее сторон и сообщенными с подводящими газоходами. Отводы имеют в сечении прямоугольную форму, а два из них, расположенные с противоположных сторон распределительной камеры, изогнуты под углом и размещены горизонтально. Отводящие газоходы печи сообщены с коробчатой собирающей камерой, которая посредством конфузора и прямого патрубка связана с рециркуляционным вентилятором. Изобретение позволяет снизить энергетические затраты на выпечку хлебобулочных изделий. 2 ил.
Изобретение относится к хлебопекарной отрасли пищевой промышленности, а именно к тоннельным хлебопекарным печам, основанным на рециркуляции продуктов сгорания, и может быть использовано для выработки широкого ассортимента хлебобулочных изделий.
Известна хлебопекарная печь, которая содержит тоннельную пекарную камеру, конвейерный под, состоящий из рабочей и холостой ветвей, систему обогрева, включающую топочное устройство, соединительные газоходы, верхние передний и задний, а также нижние передний и задний U-образные каналы, состоящие из пучков обогревательных труб, подключенные своими входными участками к распределительным коллекторам (1).
Недостатком известной печи является невысокая точность подвода тепла в зоны пекарной камеры из-за отсутствия гибкого многоканального распределения продуктов сгорания, поступающих в обогревательные трубы печи. Это приводит к нерациональному тепловому воздействию на выпекаемые тестовые заготовки и перерасходу топлива.
Наиболее близким аналогом к заявленной печи является хлебопекарная печь, содержащая тоннельную пекарную камеру, состоящую из трех зон с размещенными в ней рабочей и холостой ветвями сетчатого конвейера. Система обогрева печи включает топочное устройство, распределительную камеру цилиндрической формы с подводящими газоходами верхнего и нижнего обогрева, которые снабжены распределительными коллекторами с перфорированными шиберами, U-образные трубчатые каналы, подключенные входными участками к распределительным коллекторам, отводящие газоходы, сообщенные с рециркуляционным вентилятором (2).
Недостатком известной печи является перерасход топлива и электрической энергии на привод рециркуляционного вентилятора, связанный с тем, что система обогрева известной печи обладает большим аэродинамическим сопротивлением
Технический результат, на достижение которого направлено заявленное изобретение, заключается в снижении энергетических затрат на выпечку хлебобулочных изделий, что обеспечивается уменьшением аэродинамического сопротивления отдельных элементов системы обогрева.
Указанный технический результат достигается за счет того, что в хлебопекарной печи, содержащей тоннельную пекарную камеру, состоящую из трех зон с размещенными в ней рабочей и холостой ветвями сетчатого конвейера, и систему обогрева, включающую топочное устройство, распределительную камеру с тремя отводами, сообщенными с подводящими газоходами, распределительные коллекторы с перфорированными шиберами, U-образные трубчатые каналы и отводящие газоходы, распределительная камера выполнена в виде короба, ее отводы имеют в сечении прямоугольную форму и расположены с трех ее вертикальных сторон, причем два отвода распределительной камеры, расположенные с противоположных ее сторон, изогнуты под углом и размещены горизонтально, отводящие газоходы сообщены с коробчатой собирающей камерой, которая связана с рециркуляционным вентилятором посредством конфузора и прямого патрубка, а теплопередающие стенки распределительных коллекторов, параллельные рабочей ветви конвейера, снабжены экранами.
Описанная конструкция хлебопекарной печи, которая предусматривает выполнение распределительной и собирающей камер в виде коробов, выполнение отводов распределительной камеры таким образом, что их сечение имеет прямоугольную форму, выполнение двух из них, расположенных с двух противоположных сторон распределительной камеры изогнутыми под углом и горизонтальное их размещение, а также выполнение связи собирающей камеры с всасывающим патрубком рециркуляционного вентилятора посредством конфузора и прямого патрубка, позволяет обеспечить большую пропускную способность продуктов сгорания за счет снижения аэродинамического сопротивления отдельных элементов системы обогрева, при этом снижаются не только затраты элктрической энергии на привод рециркуляционного вентилятора, но и расход сжигаемого топлива, что позволяет в конечном счете снизить себестоимость выпекаемой хлебобулочной продукции.
Изобретение поясняется чертежами:
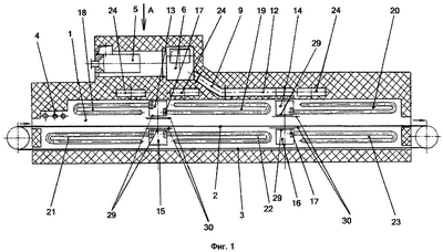
на фиг.1 изображен продольный разрез хлебопекарной печи;
на фиг.2 – вид на печь сверху (вид по стрелке А на фиг.1 с частичным горизонтальным разрезом).
Хлебопекарная печь содержит тоннельную пекарную камеру 1, состоящую из трех зон с регулируемым подводом тепла: передней, средней и задней, каждая из которых имеет раздельное регулирование верхнего и нижнего подводов теплоты. В пекарной камере размещены рабочая ветвь 2 и холостая ветвь 3 сетчатого конвейера, пароувлажнительное устройство 4 и система обогрева. Система обогрева печи включает топочное устройство 5, распределительную камеру 6, выполненную в виде короба с тремя отводами 7, 8 и 9, расположенными с трех ее вертикальных сторон, имеющими в сечении прямоугольную форму и сообщенными с подводящими газоходами 10, 11, и 12. Два отвода 7 и 8, распределительной камеры 6, расположенные с двух ее противоположных сторон, выполнены изогнутыми под углом и размещены горизонтально. Система обогрева печи также содержит верхние передний и задний и нижние передний и задний распределительные коллекторы 13, 14, 15 и 16 соответственно с перфорированными шиберами 17. Шиберы 17 предназначены для регулирования проходного сечения каждого входного участка обогревательных труб U-образных верхних переднего, среднего и заднего и нижних переднего, среднего и заднего трубчатых каналов 18, 19, 20, 21, 22 и 23 соответственно. Для удаления отработавших продуктов сгорания из U-образных каналов предусмотрены отводящие газоходы 24, сообщенные с коробчатой собирающей камерой 25. Камера 25 связана с всасывающим патрубком рециркуляционного вентилятора 26 посредством конфузора 27 и прямого патрубка 28. Для смягчения теплового удара, направленного на выпекаемые изделия, теплопередающие стенки 29 распределительных коллекторов, параллельные рабочей ветви 2 конвейера, снабжены экранами 30.
Хлебопекарная печь работает следующим образом.
При сжигании топлива в топочном устройстве 5 продукты сгорания, имеющие высокую температуру, смешиваются с частью отработавших продуктов сгорания. Далее смесь продуктов сгорания в выполненной в виде короба распределительной камере 6 разделяется на три потока, которые направляются через расположенные с трех ее вертикальных сторон отводы 7, 8 и 9, имеющие в сечении прямоугольную форму, в подводящие газоходы 10, 11 и 12. При этом форма поперечного сечения отводов 7, 8 и 9, а также выполнение распределительной камеры 6 в виде короба обеспечивают большую пропускную способность продуктов сгорания. Потоки, направляемые из распределительной камеры 6 в подводящие газоходы 10, 11 через отводы 7 и 8, расположенные горизонтально с двух противоположных сторон камеры 6 и выполненные изогнутыми под углом, попадают в передние верхний и нижний распределительные коллекторы 13 и 15 соответственно. Выполнение отводов 7 и 8 изогнутыми под углом и именно горизонтальное их расположение обеспечивает меньшее сопротивление движущемуся потоку продуктов сгорания. Поток, направляющийся через отвод 9 и подводящий газоход 12, попадает в задние верхний и нижний распределительные коллекторы 14 и 16 соответственно. В распределительных коллекторах происходит вторичное разделение продуктов сгорания за счет изменения положения перфорированных шиберов 17. При перемещении продуктов сгорания в обогревательных трубах U-образных каналов 18, 19, 20, 21, 22 и 23 осуществляется передача теплоты в соответствующие зоны пекарной камеры 1 печи. При этом за счет изменения количества продуктов сгорания, направляемых в отдельные каналы системы обогрева, обеспечивается регулирование подвода тепла в различные зоны выпечки. Отработавшие продукты сгорания отводятся из каналов 18-23 по отводящим газоходам 24. Далее продукты сгорания попадают в коробчатую собирающую камеру 25 и засасываются из нее рециркуляционным вентилятором 26, с всасывающим патрубком которого собирающая камера 25 сообщена посредством конфузора 27 и прямого патрубка 28. Осуществление связи собирающей камеры с рециркуляционным вентилятором посредством конфузора и прямого патрубка обеспечивает плавное повышение скорости потока отработавших газов, поступающих во всасывающий патрубок вентилятора 26, и способствует снижению расхода электроэнергии на привод вентилятора. Затем рециркуляционный вентилятор 26 часть продуктов сгорания направляет в топочное устройство 5, а другую их часть – в дымовую трубу 31.
Таким образом изобретение позволяет снизить энергетические затраты на выпечку хлебобулочных изделий. Оно достигается за счет уменьшения аэродинамического сопротивления отдельных элементов системы обогрева печи: распределительной камеры, ее отводов и собирающей камеры с конфузором и прямым патрубком. При этом снижаются не только затраты электрической энергии на привод рециркуляционного вентилятора, но и расход сжигаемого топлива.
Источники информации
1. Патент Российской Федерации №2138951, 10.10.1999.
2. Патент Российской Федерации №2186495, 10.08.2001.
Формула изобретения
Хлебопекарная печь, характеризующаяся тем, что содержит тоннельную пекарную камеру, состоящую из трех зон с размещенными в ней рабочей и холостой ветвями сетчатого конвейера и систему обогрева, включающую топочное устройство, сообщенное с распределительной камерой, выполненной в виде короба с тремя отводами, расположенными с трех ее вертикальных сторон, сообщенными с подводящими газоходами и имеющими в сечении прямоугольную форму, распределительные коллекторы с перфорированными шиберами, U-образные трубчатые каналы и отводящие газоходы, сообщенные с коробчатой собирающей камерой, которая связана с рециркуляционным вентилятором посредством конфузора и прямого патрубка, причем два отвода распределительной камеры, расположенные с противоположных сторон, выполнены изогнутыми под углом и размещены горизонтально, при этом теплопередающие стенки распределительных коллекторов, параллельные рабочей ветви конвейера, снабжены экранами.
РИСУНКИ
MM4A – Досрочное прекращение действия патента СССР или патента Российской Федерации на изобретение из-за неуплаты в установленный срок пошлины за поддержание патента в силе
Дата прекращения действия патента: 11.10.2007
Извещение опубликовано: 27.06.2009 БИ: 18/2009
|
|