|
|
(21), (22) Заявка: 2006108166/12, 15.03.2006
(24) Дата начала отсчета срока действия патента:
15.03.2006
(46) Опубликовано: 10.11.2007
(56) Список документов, цитированных в отчете о поиске:
SU 865227 А, 25.09.1981. RU 2259036 C1, 27.08.2005. SU 521828 A, 14.12.1976. DE 3611232 A, 08.10.1987. JP 55053660 A, 19.04.1980.
Адрес для переписки:
350044, г.Краснодар, ул. Калинина, 13, КубГАУ, ПИО
|
(72) Автор(ы):
Цаценко Людмила Владимировна (RU), Гарькавый Константин Алексеевич (RU)
(73) Патентообладатель(и):
Федеральное государственное образовательное учреждение высшего профессионального образования Кубанский государственный аграрный университет (RU)
|
(54) УСТРОЙСТВО ДЛЯ ВЫРАЩИВАНИЯ РАСТЕНИЙ
(57) Реферат:
Изобретение относится к устройствам для выращивания растений на питательной среде в отапливаемых помещениях. Для обеспечения оптимальных параметров микроклимата при выращивании растений за счет возможности регулирования притока воздуха в объем камеры выращивания и поддержании заданной температуры питательной среды, стенка, установленная с зазором относительно основания, выполнена из жесткого материала и имеет приспособление для регулирования величины зазора, выполненное из металлических полосок, закрепленных на ней, и магнитов, установленных на стенках, соединенных с крышкой. Растильни расположены на основании, выполненном монолитным из цементной смеси с теплопроводностью от 0,87 до 0,9 Вт/(м·°С). Основание внутри имеет экранированный двужильный нагревательный кабель мощностью от 165 до 170 Вт, уложенный зигзагом с шагом от 60 до 90 мм. 2 ил.
Изобретение относится к устройствам для выращивания растений на питательной среде в отапливаемых помещениях.
Известны устройства для выращивания растений (Мошков Б.С. Роль лучистой энергии в выявлении потенциальной продуктивности растений. – М.: Наука, 1973. – С.7), содержащие каркас с установленным на нем поддоном с сосудами и систему облучения.
Однако известное устройство характеризуется недостаточно приемлемыми условиями для выращивания растений.
В качестве прототипа авторами взято изобретение (см. авт. свид. СССР №865227 МКИ3 А01G 31/02, 1981. Устройство для выращивания растений), содержащее основание, в котором расположена растильня, крышку с системой облучения и камеру выращивания, образованную стенками, закрепленными по периметру основания и соединенными с крышкой, одна из которых установлена с зазором относительно крышки, а расположенная с противоположной стороны стенка выполнена с возможностью вертикального перемещения и образования фиксированного зазора между ней и основанием.
Известное изобретение имеет существенный недостаток, заключающийся в том, что низкая эффективность регулирования вентиляцией объема камеры выращивания, связанная с фиксированием стенки на стойках посредством выступов и невозможностью плавного изменения зазора между ней и основанием, а также отсутствием в нем системы, обеспечивающей поддержание заданной температуры питательной среде.
Техническим решением задачи является обеспечение оптимальных параметров микроклимата для выращивания растений за счет возможности регулирования притока воздуха в объем камеры выращивания и поддержании заданной температуры питательной среды.
Поставленная задача достигается тем, что в устройстве для выращивания растений, содержащие основание, растильни, крышку с системой облучения и камеру выращивания, образованную стенками, закрепленными по периметру основания и соединенными с крышкой, одна из которых установлена с зазором относительно крышки, а другая – с противоположной стороны с возможностью вертикального перемещения и с фиксированным зазором между ней и основанием, согласно изобретению, стенка, установленная с зазором относительно основания, выполнена из жесткого материала, например из поликарбоната, и имеет приспособление для регулирования величины зазора, выполненное из металлических полосок, закрепленных на ней, и магнитов, установленных на стенках, соединенных с крышкой, при этом растильни расположены на основании выполненным монолитным из цементной смеси с теплопроводностью от 0,87 до 0,9 Вт/(м·°С), причем основание внутри имеет экранированный двужильный нагревательный кабель мощностью от 165 до 170 Вт, уложенный зигзагом с шагом от 60 до 90 мм.
Для того, чтобы теплота подводилась преимущественно к питательной среде, основание помещено в теплоизоляционный кожух из высокоэффективной теплоизоляции, например из пенопласта с теплопроводностью от 0,06 до 0,64 Вт/(м·°С).
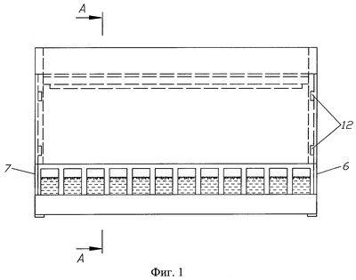
На фиг.1 изображено устройство для выращивания растений, общий вид; на фиг.2 – разрез А-А на фиг.1.
Устройство для выращивания растений состоит из основания 1 и электрической кабельной нагревательной системы, состоящей из экранированного двужильного нагревательного кабеля 2 (нагревательный элемент) с оболочкой из ПХВ изоляции мощностью от 165 до 170 Вт уложенного зигзагом в внутри основания с шагом от 60 до 90 мм, что обеспечивает равномерное распределение температуры, датчика температуры 3, электронного терморегулятора (не показан), растильни 4, расположенных на основании 1 и теплоизоляционного кожуха 5. По периметру основания 1 установлены стенки 6 и 7, соединенные в верхней части с крышкой 8. Стенка 9 установлена с зазором относительно крышки 7. Передняя стенка 10 выполнена из жесткого материала, например из поликарбоната, и имеет приспособление для регулирования величины зазора, выполненное из металлических полосок 11, закрепленных на ней, и магнитов 12, установленных на стенках 6 и 7, соединенных с крышкой 8.
В крышке 8 установлена система облучения, состоящая из люминесцентных ламп 13 и пускорегулирующая аппаратура с системой автоматики (не показана).
Устройство работает следующим образом.
При выращивании растений передняя стенка 10 опущена в нижнее положение и зафиксирована так, что между нижней ее стороной и основанием 1 образован зазор, через который в камеру выращивания растений поступает окружающий воздух с большим удельным объемным весом, а воздух в объеме камеры выращивания поднимается вверх и выходит из нее через зазор, образованный стенкой 9 и крышкой 8, так как он легче окружающего воздуха вследствие того, что часть теплоты передается ему от работающих люминесцентных ламп 13 и их пускорегулирующей аппаратуры, а также от электрической кабельной нагревательной системы, в результате чего удельный объемный вес становится меньше, таким образом устанавливается естественная вентиляция. Регулирование притока холодного воздуха в объеме камеры выращивания осуществляется путем уменьшения или увеличения величины зазора между стенкой 10 и основанием 1. Фиксация стенки 10 после выбора необходимой величины зазора производится при помощи металлических полосок 11, закрепленных на ней, и магнитов 12, установленных на стенках 6 и 7, соединенных с крышкой 8.
Включение и отключение системы облучения осуществляется пускорегулирующей аппаратурой с системой автоматики (не показана), обеспечивающей необходимую продолжительность освещения растений за счет люминесцентных ламп 13.
При этом работающая в автоматическом режиме электрическая кабельная нагревательная система поддерживает запрограммированную температуру питательной среды в растильнях 4, контроль и управление обеспечивается электронным терморегулятором (не показан), а текущее измерение функционального параметра производится датчиком температуры 3. При снижении или повышении температуры происходит автоматическое включение или отключение нагревательного элемента 2 соответственно. При этом основная часть выделенной теплоты нагревательным элементом 2 подводилась к питательной среде, за счет того, что основание 1 защищено теплоизоляционным кожухом 5.
При высадки растений или при их обслуживании стенку 10 убирают, в результате образуется свободный доступ к растильне 4 и растениям. После проведения операций по посадке или обслуживанию растений стенка 10 устанавливается в прежнее положение и фиксируется при помощи металлических полосок 11, закрепленных на ней, и магнитов 12, установленных на стенках 6 и 7, соединенных с крышкой 8.
Выполнение стенка 10 из жесткого материала и закрепленных на ней металлических полосок 11, а также магнитов 12, установленных на стенках 6 и 7, позволяет упростить конструкцию подъемного механизма устройства и элементов ее фиксации, обеспечить регулирование естественной вентиляции за счет плавного изменения величины зазора между стенкой 10 и основанием 1. Стенки 6, 7, 9, 10 и крышка 8 покрыты изнутри светоотражающим материалом.
Предлагаемое устройство позволяет регулировать приток воздуха в камеру выращивания растений и поддерживать заданную температуру питательной среды автоматической электрической кабельной нагревательной системой, что способствует обеспечению оптимальных параметров для выращивания растений.
Формула изобретения
Устройство для выращивания растений, содержащее основание, растильни, крышку с системой облучения и камеру выращивания, образованную стенками, закрепленными по периметру основания и соединенными с крышкой, одна из которых установлена с зазором относительно крышки, а другая – с противоположной стороны с возможностью вертикального перемещения и с фиксированным зазором между ней и основанием, отличающееся тем, что стенка, установленная с зазором относительно основания, выполнена из жесткого материала и имеет приспособление для регулирования величины зазора, выполненное из металлических полосок, закрепленных на ней, и магнитов, установленных на стенках, соединенных с крышкой, при этом растильни расположены на основании, выполненном монолитным из цементной смеси с теплопроводностью от 0,87 до 0,9 Вт/(м·°С), причем основание внутри имеет экранированный двужильный нагревательный кабель мощностью от 165 до 170 Вт, уложенный зигзагом с шагом от 60 до 90 мм.
РИСУНКИ
MM4A – Досрочное прекращение действия патента СССР или патента Российской Федерации на изобретение из-за неуплаты в установленный срок пошлины за поддержание патента в силе
Дата прекращения действия патента: 16.03.2008
Извещение опубликовано: 20.11.2009 БИ: 32/2009
|
|