|
|
(21), (22) Заявка: 2006101342/12, 17.01.2006
(24) Дата начала отсчета срока действия патента:
17.01.2006
(46) Опубликовано: 10.11.2007
(56) Список документов, цитированных в отчете о поиске:
SU 1662384 A1, 15.07.1991. SU 1269758 A1, 15.11.1986. SU 1463156 A1, 07.03.1989. FR 2513482 A1, 01.04.1983. CH 669708 A5, 14.04.1989.
Адрес для переписки:
347740, Ростовская обл., г. Зерноград, ул. Ленина, 21, ФГОУ ВПО АЧГАА
|
(72) Автор(ы):
Бондаренко Анатолий Михайлович (RU), Волгин Юрий Николаевич (RU), Петренко Павел Николаевич (RU)
(73) Патентообладатель(и):
Федеральное государственное образовательное учреждение высшего профессионального образования “Азово-Черноморская государственная агроинженерная академия” (ФГОУ ВПО АЧГАА) (RU)
|
(54) ПОГРУЗЧИК ПОЛУЖИДКОГО НАВОЗА
(57) Реферат:
Погрузчик полужидкого навоза содержит смонтированную в задней части рамы мобильного средства с возможностью поворота в вертикальной плоскости полую штангу. Штанга состоит из несущей и поворотной относительно нее в перпендикулярной плоскости секций. На свободном конце полой штанги закреплен насос. Участок нагнетательного трубопровода, расположенный между отводящим трубопроводом и частью поворотной секции штанги, выполнен в виде гибкого рукава. Отводящий трубопровод и несущая секция штанги выполнены из шарнирно соединенных между собой нижней и верхней частей, последние из которых установлены с возможностью поворота вокруг своих осей. Передняя часть рамы мобильного средства выполнена с вертикальной поддерживающей стойкой для поворотной секции штанги и горизонтального участка отводящего трубопровода. Погрузчик снабжен перемешивающим устройством, которое выполнено в виде скобы с насадками, которые расположены под углом по касательным к горловине насоса. Корпус насоса имеет технологические отверстия по периметру и пазы для установки в них с возможностью перемещения посредством гидроцилиндра с кронштейнами скобы с насадками, и совмещения насадок с технологическими отверстиями. Предложенная конструкция позволит повысить производительность погрузчика полужидкого навоза. 2 з.п. ф-лы, 2 ил.
Изобретение относится к сельскохозяйственному машиностроению и может быть использовано для погрузки полужидких органических удобрений.
Известен погрузчик жидкого навоза [1], включающий шарнирно смонтированные на раме самоходного шасси напорный трубопровод с насосом и загрузочно-гомогенизирующий узел, сообщенные между собой, снабженные механизмом привода и установленные в одной вертикальной плоскости с возможностью поворота вокруг общей геометрической оси, и снабженные фиксатором, который выполнен в виде упругих захватов, установленных на загрузочно-гомогенизирующем узле и соединенных с рамой посредством гибкого элемента переменой длины и защелки, закрепленной на напорном трубопроводе и взаимодействующей с упругими захватами, причем механизм привода связан с напорным трубопроводом.
Недостатком данного погрузчика является низкая производительность при погрузке полужидкого навоза.
Известен мобильный погрузчик жидкого навоза [2], включающий на самоходном шасси раму, поворотную напорную магистраль с насосом, загрузочно-гомогенизирующее устройство с приводами, установленное на неподвижной магистрали, закрепленной на раме и соединенной одним концом с поворотной магистралью, а другим – с жестким поворотным трубопроводом. Загрузочно-гомогенизирующее устройство на свободном конце имеет гибкий загрузочный шланг с узлом принудительного поворота, выполненным из жестко закрепленного на неподвижной магистрали направляющего диска и установленного на конце жесткого поворотного трубопровода вращающегося ролика, кинематически связанных тросом, концы которого закреплены в направляющем диске посредством натяжных барабанов с храповыми механизмами, причем вращающийся ролик соединен со свободным концом гибкого загрузочного шланга посредством шарнирно закрепленного к последнему кронштейна.
Недостатком данного погрузчика является низкая производительность, так как перемешивание полужидкого навоза производится не в зоне его забора насосом.
Наиболее близким по технической сущности к предлагаемому погрузчику полужидкого навоза является погрузчик жидкого навоза [3], содержащий смонтированную в задней части рамы мобильного средства с возможностью поворота в вертикальной плоскости полую штангу, которая состоит из несущей и поворотной относительно нее в перпендикулярной плоскости секций, приводной вал в сочленении которых выполнен с конической зубчатой передачей. Участок нагнетательного трубопровода, расположенный между отводящим трубопроводом и концевой частью поворотной секции штанги, выполнен в виде гибкого рукава, а отводящий трубопровод и несущая секция штанги выполнены из шарнирно соединенных между собой нижней и верхней частей, последние из которых установлены с возможностью поворота вокруг своих осей. На свободном конце полой штанги закреплен насос, рабочий орган которого через размещенный внутри штанги приводной вал связан с валом отбора мощности мобильного средства посредством конической зубчатой передачи. Передняя часть рамы мобильного средства выполнена с вертикальной поддерживающей стойкой для поворотной секции штанги и горизонтального участка отводящего трубопровода.
Недостатком данного погрузчика является низкая производительность, так как перемешивание полужидкого навоза производится не в зоне его забора насосом.
Технический результат – повышение производительности погрузчика полужидкого навоза.
Достигается это тем, что погрузчик полужидкого навоза, содержащий смонтированную в задней части рамы мобильного средства с возможностью поворота в вертикальной плоскости полую штангу, которая состоит из несущей и поворотной относительно нее в перпендикулярной плоскости секций, на свободном конце полой штанги закреплен насос, при этом участок нагнетательного трубопровода, расположенный между отводящим трубопроводом и частью поворотной секции штанги, выполнен в виде гибкого рукава, а отводящий трубопровод и несущая секция штанги выполнены из шарнирно соединенных между собой нижней и верхней частей, последние из которых установлены с возможностью поворота вокруг своих осей, передняя часть рамы мобильного средства выполнена с вертикальной поддерживающей стойкой для поворотной секции штанги и горизонтального участка отводящего трубопровода, согласно изобретению погрузчик снабжен перемешивающим устройством, которое выполнено в виде скобы с насадками, которые расположены под углом по касательным к горловине насоса, причем корпус насоса имеет технологические отверстия по периметру и пазы для установки в них с возможностью перемещения посредством гидроцилиндра с кронштейнами скобы с насадками и совмещения насадок с технологическими отверстиями, при этом поворотная секция полой штанги является напорной, а привод рабочего органа насоса осуществлен посредством гидромотора.
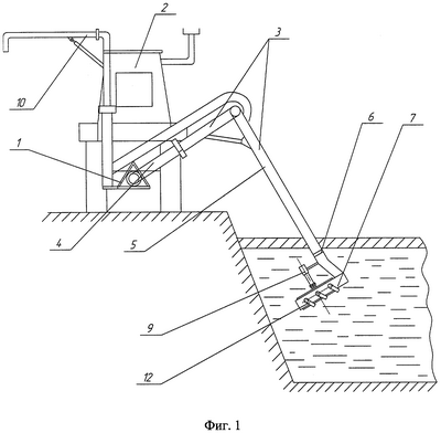
На фиг.1 представлена общая схема погрузчика полужидкого навоза; на фиг.2 схематично изображен насос с перемешивающим устройством.
Погрузчик полужидкого навоза (фиг.1) содержит смонтированную в задней части рамы 1 мобильного средства 2 с возможностью поворота в вертикальной плоскости полую штангу 3, которая состоит из несущей 4 и поворотной напорной 5 относительно нее в перпендикулярной плоскости секций. В поворотной напорной секции 5 располагается задвижка 6.
На свободном конце полой штанги 3 закреплен насос 7 с лопатками 8, привод насоса осуществляется гидромотором 9. Участок нагнетательного трубопровода, расположенный между отводящим трубопроводом 10 и частью поворотной напорной секции 5 полой штанги 3, выполнен в виде гибкого рукава, а отводящий трубопровод 10 и несущая секция 4 полой штанги 3 выполнены из шарнирно соединенных между собой нижней и верхней частей, последние из которых установлены с возможностью поворота вокруг своих осей. Передняя часть рамы мобильного средства выполнена с вертикальной поддерживающей стойкой для поворотной напорной секции 5 полой штанги 3 и горизонтального участка отводящего трубопровода 10. Погрузчик снабжен перемешивающим устройством (фиг.2), которое выполнено в виде скобы 11 с насадками 12, которые расположены под углом по касательным к горловине насоса, причем корпус насоса 7 имеет технологические отверстия по периметру и пазы для установки в них с возможностью перемещения посредством гидроцилиндра 13 с кронштейнами скобы 11 с насадками 12 и совмещения насадок с технологическими отверстиями.
Погрузчик полужидкого навоза работает следующим образом. Мобильное средство 2 подъезжает к краю навозохранилища, опускает на полой штанге 3 насос 7 с гидромотором 9 и перемешивающим устройством, состоящим из скобы 11 с насадками 12. Загрузочный отводящий трубопровод 10 направляют в емкость технологической машины. Погрузчик полужидкого навоза переводят в режим гомогенизации навоза, для этого посредством гидроцилиндра 13 и кронштейнов перемещают скобу 11, при этом насадки 12 совмещаются с технологическими отверстиями в корпусе насоса 7. Задвижку 6, находящуюся в напорной магистрали, закрывают. При работе насоса 7 происходит забор массы из навозохранилища, ее измельчение, перемешивание и подача к насадкам 12. При выходе из насадок 12 частицы навоза сталкиваются, перемешиваются как между собой, так и с новыми поступлениями навоза. По мере гомогенизации навоза в зоне забора с помощью полой штанги 3 производится перемешивание навоза по всей рабочей зоне, которой является участок перемещаемой относительно оси шарнира нижней части стрелы, в вертикальной плоскости на предельные углы отклонения. После завершения процесса гомогенизации погрузчик переводят в режим погрузки, при этом задвижку 6, находящуюся в напорной секции 5, открывают. Посредством гидроцилиндра 13, закрепленного на корпусе насоса 7 и кронштейнов, перемещают скобу 11, при этом насадки 12 перекрывают технологические отверстия. Производится забор однородной навозной массы и погрузка ее в емкость для транспортировки навоза. После выгрузки всего доступного объема навозной массы погрузчик переезжает на новое рабочее место и процесс повторяется.
Источники информации
1. А.с. №1269758, МПК4 А01С 3/04, БИ №42, 1986 г.
2. A.c. №1463156, МПК4 А01С 3/04, БИ №9, 1989 г.
3. A.c. №1662384, МПК5 А01С 3/04, БИ №26, 1991 г. – прототип.
Формула изобретения
1. Погрузчик полужидкого навоза, содержащий смонтированную в задней части рамы мобильного средства с возможностью поворота в вертикальной плоскости полую штангу, которая состоит из несущей и поворотной относительно нее в перпендикулярной плоскости секций, на свободном конце полой штанги закреплен насос, при этом участок нагнетательного трубопровода, расположенный между отводящим трубопроводом и частью поворотной секции штанги, выполнен в виде гибкого рукава, а отводящий трубопровод и несущая секция штанги выполнены из шарнирно соединенных между собой нижней и верхней частей, последние из которых установлены с возможностью поворота вокруг своих осей, передняя часть рамы мобильного средства выполнена с вертикальной поддерживающей стойкой для поворотной секции штанги и горизонтального участка отводящего трубопровода, отличающийся тем, что погрузчик снабжен перемешивающим устройством, которое выполнено в виде скобы с насадками, которые расположены под углом по касательным к горловине насоса, причем корпус насоса имеет технологические отверстия по периметру и пазы для установки в них с возможностью перемещения посредством гидроцилиндра с кронштейнами скобы с насадками и совмещения насадок с технологическими отверстиями.
2. Погрузчик по п.1, отличающийся тем, что поворотная секция полой штанги является напорной.
3. Погрузчик по п.1, отличающийся тем, что привод рабочего органа насоса осуществлен посредством гидромотора.
РИСУНКИ
MM4A – Досрочное прекращение действия патента СССР или патента Российской Федерации на изобретение из-за неуплаты в установленный срок пошлины за поддержание патента в силе
Дата прекращения действия патента: 18.01.2008
Извещение опубликовано: 27.08.2009 БИ: 24/2009
|
|