|
(21), (22) Заявка: 2006109295/12, 23.03.2006
(24) Дата начала отсчета срока действия патента:
23.03.2006
(46) Опубликовано: 10.11.2007
(56) Список документов, цитированных в отчете о поиске:
SU 536768 А, 02.12.1976. SU 358985 А, 07.02.1973. SU 284472 А, 29.12.1970. SU 156369 А, 28.08.1963.
Адрес для переписки:
347740, Ростовская обл., г. Зерноград, ул. Ленина, 14, ВНИПТИМЭСХ
|
(72) Автор(ы):
Беспамятнова Наталья Михайловна (RU), Кравченко Сергей Владимирович (RU)
(73) Патентообладатель(и):
Государственное научное учреждение “Всероссийский научно-исследовательский и проектно-технологический институт механизации и электрификации сельского хозяйства” (ВНИПТИМЭСХ) (RU)
|
(54) РАБОЧИЙ ОРГАН КУЛЬТИВАТОРА С ЭЛЕМЕНТАМИ ВИБРАЦИИ
(57) Реферат:
Изобретение относится к сельскохозяйственному машиностроению и может быть использовано при обработке почвы. Рабочий орган содержит стойку, рыхлительную лапу и расположенный перед стойкой и соединенный с ней с возможностью колебаний посредством кронштейна и пружины гибкий элемент типа струны. Гибкий элемент выполнен с возможностью регулирования угла наклона относительно стойки рабочего органа. Гибкий элемент снабжен резиновой втулкой с шипами на внешней поверхности. Втулка установлена на гибком элементе с возможностью свободного вращения. Кронштейн смонтирован на стойке с возможностью перемещения относительно нее и фиксации для обеспечения различных режимов колебания гибкого элемента. Такое конструктивное выполнение позволит повысить эффективность самоочистки рабочего органа от сорняков и снизить тяговое сопротивление. 5 ил.
Изобретение относится к сельскохозяйственному машиностроению, в частности к рабочим органам культиваторов.
Известно устройство (а.с. СССР №358985, А01В 33/06, 1971), содержащее стойку с рыхлительной лапой и расположенный перед стойкой и закрепленный на ней гибкий элемент типа струны.
Недостатком известного устройства является низкая эффективность самоочистки рабочего органа от сорняков.
Известно устройство (а.с. СССР №536768, А01В 35/26, 1976), состоящее из стойки, рыхлительной лапы и расположенного перед стойкой гибкого элемента типа струны. Один конец гибкого элемента присоединен к лапе, а другой – к расположенному на стойке кронштейну через пружину и регулировочный винт с гайкой.
Недостатком известного устройства является возможность чрезмерного скопления растительных остатков на гибком элементе типа струны, вследствие чего следует ожидать возрастания тягового сопротивления рабочего органа культиватора.
Задачей предлагаемого изобретения является устранение вышеуказанных недостатков.
Технический результат – повышение эффективности самоочистки от сорняков и снижение тягового сопротивления рабочего органа культиватора.
Это достигается тем, что гибкий элемент выполнен с возможностью регулирования угла наклона относительно стойки рабочего органа и снабжен резиновой втулкой с шипами на внешней поверхности, установленной с возможностью свободного вращения, а кронштейн смонтирован на стойке с возможностью перемещения относительно нее и фиксации для обеспечения различных режимов колебания гибкого элемента.
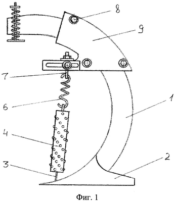
На фиг.1 – рабочий орган, вид сбоку.
На фиг.2 – резиновая втулка в разрезе.
На фиг.3 – рабочий орган, вид спереди.
На фиг.4 – пластина, вид сверху.
На фиг.5 – разрез А-А на фиг.4.
Рабочий орган культиватора состоит из стойки 1, рыхлительной лапы 2 и расположенного перед стойкой гибкого элемента 3 типа струны. Один конец гибкого элемента 3 жестко присоединен к рыхлительной лапе 2, а другой – к расположенной в пазах кронштейна 9 пластине 12 через пружину 6 и регулировочный винт 7 с гайкой 13, опирающейся на пластинчатую пружину 15. На гибкий элемент 3 установлена резиновая втулка 11 с возможностью свободного вращения, имеющая на внешней поверхности шипы 4 произвольной формы. Резиновая втулка 11 внутренней поверхностью опирается на шайбу 10, жестко закрепленную на теле гибкого элемента 3. Пластина 12 фиксируется в пазах кронштейна 9 регулировочным болтом 14. Кронштейн 9 состоит из двух частей, закрепленных жестко на стойке 1 тремя стяжными болтами 8.
Рабочий орган культиватора работает следующим образом.
При обработке почвенного пласта культиватором под воздействием сил сопротивления прогибается гибкий элемент 3, растягивая пружину 6 и сжимая пластинчатую пружину 15, а резиновая втулка 11 совершает вращательное движение. При переменных нагрузках гибкий элемент 3 совершает колебательное движение и сбрасывает нависшие сорняки. Резиновая втулка 11, совершая вращательное движение, шипами 4 взаимодействует с сорной растительностью и предотвращает чрезмерное скопление сорняков на стойке 1, способствуя снижению тягового сопротивления.
Регулировка натяжения гибкого элемента 3 производится гайкой 13 регулировочного винта 7. Изменение угла наклона гибкого элемента 3 достигается перемещением пластины 12 по пазам кронштейна 9 с фиксацией регулировочным болтом 14 и кронштейна 9 относительно стойки 1. Перемещение кронштейна 9 позволяет получить различные режимы колебаний рабочего органа культиватора.
Применение предлагаемого рабочего органа культиватора не влияет отрицательно на окружающую среду т.к. в процессе работы формируется ветроводоустойчивая поверхность обрабатываемого поля, что положительно влияет на воспроизводство плодородия.
Формула изобретения
Рабочий орган культиватора с элементами вибрации, содержащий стойку, рыхлительную лапу и расположенный перед стойкой и соединенный с ней с возможностью колебаний посредством кронштейна и пружины гибкий элемент типа струны, отличающийся тем, что гибкий элемент выполнен с возможностью регулирования угла наклона относительно стойки рабочего органа и снабжен резиновой втулкой с шипами на внешней поверхности, установленной с возможностью свободного вращения, а кронштейн смонтирован на стойке с возможностью перемещения относительно нее и фиксации для обеспечения различных режимов колебания гибкого элемента.
РИСУНКИ
MM4A – Досрочное прекращение действия патента СССР или патента Российской Федерации на изобретение из-за неуплаты в установленный срок пошлины за поддержание патента в силе
Дата прекращения действия патента: 24.03.2008
Извещение опубликовано: 20.11.2009 БИ: 32/2009
|