|
|
(21), (22) Заявка: 2005137423/06, 01.12.2005
(24) Дата начала отсчета срока действия патента:
01.12.2005
(46) Опубликовано: 27.10.2007
(56) Список документов, цитированных в отчете о поиске:
SU 1765866 A1, 30.09.1992. SU 317351, 15.15.1992. SU 1494154 A1, 15.07.1989. KR 20000028709, 25.05.2000. KR 20020076639, 11.10.2002.
Адрес для переписки:
117218, Москва, Б. Черемушкинская, 25, ФГУП ГНЦ РФ ИТЭФ им. А.И. Алиханова, Патентный отдел Ю.П. Быкову
|
(72) Автор(ы):
Иосселиани Дмитрий Дмитриевич (RU)
(73) Патентообладатель(и):
Федеральное государственное унитарное предприятие “Государственный научный центр Российской Федерации Институт теоретической и экспериментальной физики им. А.И. Алиханова” (RU)
|
(54) ЭЛЕКТРОСТАТИЧЕСКИЙ УСКОРИТЕЛЬ ИОНОВ
(57) Реферат:
Изобретение относится к электрофизическим установкам, а именно к ускорителям заряженных частиц. В предлагаемом ускорителе заряд кондуктора обеспечивается электронным резонансным высокочастотным линейным ускорителем /ЭРВЧУ/, размещенным в полости кондуктора. Ускоренный в ЭРВЧУ пучок электронов тормозится в вакуумированной трубке торможения ТТЭП, соединяющей выход ЭРВЧУ с основанием колонны, находящимся под потенциалом земли. Кинетическая энергия электронного пучка, полученная им в ЭРВЧУ, расходуется на ускорение ионного пучка в электростатическом поле, создаваемом электронным пучком при его торможении в ТТЭП. Энергия, необходимая для на ускорения электронного пучка в ЭРВЧУ, обеспечивается электродвигателем, размещенным в основании колонны и передающим вращательный момент валу электрогенератора, укрепленному в кондукторе посредством вала из диэлектрика /ВД/. На ВД равномерно по длине размещены охватывающие его металлические кольца, на каждое из которых от высоковольтного делителя подается электропотенциал, значения которого увеличиваются по мере удаления кольца от основания колонны и приближения к кондуктору. Потенциал подается посредством скользящего по кольцу контакта, укрепленного на металлической полке и электрически с нею связанного. На полках колонны размещено оборудование для импульсного электропитания соленоидов, размещенных на ТТЭП для фокусировки электронного пучка. Техническим результатом заявленного изобретения является повышение интенсивности ионного тока. 2 ил.
Изобретение относится к электрофизическим установкам, а именно к ускорителям заряженных частиц, и может быть использовано в ряде приложений, в частности, как генератор нейтронов.
Известен ускоритель на основе трансформатора с изолированным сердечником, снабженного выпрямителем (А.Н.Лебедев, А.В.Шальнов. Основы физики и техники ускорителей, т.1, с.122). Ускоритель обеспечивает большие средние мощности (10 – 20 кВт), однако напряжение, которое удается получить на таком ускорителе, не превышает одного мегавольта.
Известен (А.Н.Лебедев, А.В.Шальнов. Основы физики и техники ускорителей, т.1, с.124 рис.2.13) электростатический ускоритель ионов, содержащий выполненную из электроизоляционного материала полую колонну, на которой укреплен полый металлический кондуктор, размещенное в кондукторе зарядное устройство, электродвигатель зарядного устройства /ЭДЗУ/, размещенный в основании колонны, ускорительную трубку, размещенную в колонне, один конец которой укреплен в основании колонны, а высоковольтный конец снабжен ионным источником.
В этом устройстве, принятом за прототип, удается получать существенно более высокие ускоряющие потенциалы, чем в вышеописанном ускорителе с трансформатором. Однако ускоряемые токи составляют единицы миллиампер. Величина токов ограничивается электрической прочностью зарядной ленты.
Задача изобретения состоит в том, чтобы увеличить интенсивность ускоряемых токов.
Технический результат достигается тем, что ускорительная трубка снабжена К идентичными каналами транспортировки пучка и К идентичными источниками ионов, зарядное устройство содержит электронный резонансный высокочастотный ускоритель /ЭНВЧУ/, источник его электропитания, в состав которого входит электрогенератор /ГЭРВЧУ/, колонна выполнена из Н секций, между которыми размещены Н-2 металлические полки /ПК/, колонна снабжена высоковольтным делителем напряжения /ВД/, соединяющим основание колонны с кондуктором, снабженным Н-2 электрическими контактами, размещенными по длине ВД, каждый из которых связан электрически с соответствующей ПК, валом /В/, передающим механический момент от ЭДЗУ к ГЭРВЧУ, выполненным из диэлектрического материала, снабженным Н-2 равномерно размещенными по длине металлическими кольцами, каждое из которых электрически связано с соответствующей ПК посредством укрепленного на ПК упругого, скользящего по кольцу контакта, выполненной из диэлектрического материала, например вакуумной керамики, вакуумированной трубкой торможения электронного пучка ЭРВЧУ /ТТЭП/, один конец которой соединен с выходом РВЧУ, а второй, снабженный мишенью, укреплен в основании колонны (с обеспечением единого электропотенциала мишени и основания) на внешней и на внутренней стороне ТТЭП выполнены по Н-2 кольца из немагнитного металла /КНМ/, попарно /наружное кольцо с внутренним/ электрически связанные как между собой, так и с соответствующей ПК, и на поверхности каждого из КНМ, размещенных внутри ТТЭП, укреплен своим основанием с обеспечением электрического контакта выполненный из немагнитного металла в виде усеченного конуса кожух, вершина которого размещена в объеме кожуха соседнего КНМ, а на поверхности каждого из КНМ, размещенного снаружи ТТЭП, укреплен электроизолированный от него однорядный соленоид, электрически связанный с источником его импульсного электропитания /ИИП/, в состав которого входит электрогенератор /ГИИП/, и ИИП, и ГИИП размещены на соответствующей ПК с обеспечением электрического контакта между их корпусами и ПК, вал ГИИП механически связан с В, толщина Д материала, из которого выполнены кожухи и КНМ, удовлетворяет неравенству:
,
где М – магнитная проницаемость материала, Р – удельное сопротивление материала /0,01 Ом·м/, Т – длительность импульса ИИП /с/,
а количество каналов транспортировки ионов К в ускорительной трубке определяется неравенством:
, где Iе – амплитуда импульса тока ЭРВЧУ, Iи – амплитуда импульса тока ионов, который обеспечивают фокусирующие элементы одного из К каналов транспортировки.
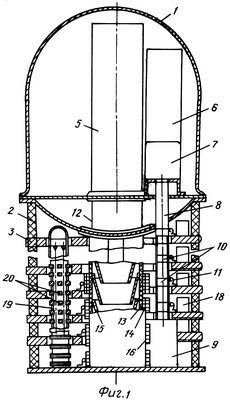
Изобретение иллюстрируется чертежами. На фигуре 1 схематично изображен ускоритель в сборе, а на фигуре 2 – сечение колонны ускорителя плоскостью, перпендикулярной ее оси.
Ускоритель содержит полый металлический кондуктор 1, укрепленный на колонне, состоящей из Н диэлектрических секций 2, между которыми размещены металлические полки /ПК/ 3. Высоковольтный делитель напряжения /ВД/ 4 соединяет основание колонны, имеющее электропотенциал земли, с поверхностью высоковольтного кондуктора. ВД снабжен электрическими контактами, числом Н-2, которые равномерно распределены по его длине. Каждый из контактов электрически связан с соответствующей ПК. /Чем выше от земли размещена ПК, тем выше размещен соответствующий контакт на ВД./
Размещенный в полости кондуктора электронный резонансный высокочастотный ускоритель /ЭРВЧУ/ 5 имеет в своем составе источник электропитания 6, снабжаемый электроэнергией от электрогенератора /ГЭРВЧУ/ 7, вал которого принимает механический момент от вала 8, в свою очередь воспринимающего механический момент от электродвигателя зарядного устройства /ЭДЗУ/ 9, укрепленного в основании колонны. Вал 8 выполнен из диэлектрического материала и снабжен Н-2 охватывающими его металлическими кольцами 10, равномерно распределенными по его длине. Каждое из колец электрически связано с соответствующей ПК посредством скользящего по кольцу, укрепленного на соответствующем ПК упругого металлического контакта 11, чем достигается выравнивание электропотенциала по высоте между валом и ПК. Трубка торможения электронного пучка ЭРВЧУ /ТТЭП/ 12 соединяет выход ЭРВЧУ и основание колонны. ТТЭП выполнена из диэлектрического материала, например вакуумной керамики, она снабжена насосами и оборудованием для поддержания вакуума, которые на чертежах не показаны. Как на внешней, так и на внутренней стороне ТТЭП выполнены по Н-2 кольца из немагнитного материала /КНМ/. КНМ размещены напротив друг друга /каждому внутреннему КНМ 13, соответствует внешнее 14,/ и электрически попарно соединены между собой – внешнее кольцо с внутренним, а также с соответствующей им по высоте ПК. На каждом внутреннем КНМ укреплен своим основанием с обеспечением электрического контакта выполненный из немагнитного металла в виде усеченного конуса кожух 15, вершина которого размещена в объеме соседнего кожуха, укрепленного на соседней КНМ. На поверхности каждого КНМ, размещенного снаружи ТТЭП, укреплен электроизолированный от нее соленоид 16, обмотка которого выполнена однорядной, Источник импульсного электропитания соленоида /ИИП/ 17 получает электроинергию от электрогенератора /ГИИП/ 18. ИИП и ГИИП размещены на соответствующей ПК и их корпуса связаны с нею электрически. Вал ГИИП механически связан с валом В. Толщине Д материала, из которого выполнены кожухи и КНМ, удовлетворяет неравентсву:
,
где М – магнитная проницаемость материала, Р – удельное сопротивление /0,01 Ом·м/, Т – длительность импульса ИИП /с/, позволяет обеспечить проникновение магнитного импульсного поля внутрь ТТЭП и обеспечить фокусировку электронного пучка при его торможении, минимизировав его потери при минимуме затрат энергии на фокусировку. Ускорительная трубка 19 снабжена К каналами транспортировки 20, и К определяется неравенством:
, где Iи – амплитуда импульса электронного тока в ЭРВЧУ, Iи – амплитуда импульсного тока ионов в одном из К каналов, которую обеспечивают фокусирующие элементы канала. Это позволяет поддерживать баланс между положительными и отрицательными зарядами, покидающими кондуктор, обеспечивая стабильность высоковольтного потенциала. Дополнительно эта стабильность поддерживается специальными коронирующими остриями, не показанными на чертежам, традиционными для ускорителя типа Ван де Граафа. Ускоритель размещен в кожухе, не показанном на фигурах, заполненным электропрочным газом, тем же, что и внутри кондуктора и колонны.
Ускоритель работает следующим образом. ЭДЗУ 9 вращает вал В 8, передающий механический момент ГЭРВЧУ 7. Электроэнергия, вырабатываемая 7, преобразуется в источнике питания ЭРВЧУ 6 и поступает в ЭРВЧУ 5, где расходуется на ускорение электронного пучка. Ускоренный электронный пучок покидает кондуктор, на котором образуется положительный заряд, относительно мишени, укрепленной в трубке торможения ТТЭП. Вал 8 в передает вращение также валу ГИИП-18. Электроэнергия, вырабатываемая ГИИП, преобразуется в ИИП 17 и расходуется на питание соленоидов 16, обеспечивающих фокусировку электронного пучка в ТТЭП.
Электростатический заряд кондуктора нарастает до величины, равной половине произведения квадрата скорости электрона на выходе из ЭРВЧУ на массу электрона. Ионы ускоряются под воздействием разности потенциалов между кондуктором и основанием колонны, имеющим тотже потенциал, что и мишень ЭРВЧУ. Из К идентичных источников ионов частицы ускоряются в К каналах 20 ускорительной трубки 19. При этом баланс амплитуд между электронными и ионным пучком поддерживается током с коронирующих острий кондуктора.
В качестве примера конкретной реализации предложенного ускорителя, рассмотрим возможность применения его в борозахватной нейтронной терапии. Для указанной цели необходим пучок протонов с энергией примерно два мегавольта и средним током около десяти миллиампер для взаимодействия с литиевой мищенью. Мощность стандартных магнетронов систем ВЧ-питания серийно выпускаемых промышленных протонных линейных резонансных ускорителей примерно 10 киловатт, КПД около 6%, поэтому для получения необходимой мощности ВЧ-питания потребуется три магнетрона. Мощность и КПД предлагаемого ускорителя можно увеличить в случае применения для ВЧ-питания ЭРВЧУ гирокона, предложенного Г.И.Будкером.
Формула изобретения
Электростатический ускоритель ионов, содержащий выполненную из электроизоляционного материала полую колонну, на которой укреплен полый металлический кондуктор, размещенное в кондукторе зарядное устройство, электродвигатель зарядного устройства (ЭДЗУ), размещенный в основании колонны, ускорительную трубку, размещенную в колонне, один конец которой укреплен в основании колонны, а ее высоковольтный конец снабжен ионным источником,
отличающийся тем, что ускорительная трубка снабжена К идентичными каналами транспортировки пучка и К идентичными источниками ионов, зарядное устройство содержит электронный резонансный высокочастотный ускоритель (ЭРВЧУ), источник его электропитания, в состав которого входит электрогенератор (ГЭРВЧУ),
колонна выполнена из Н секций, между которыми размещены Н-2 металлические полки (ПК), колонна снабжена высоковольтным делителем напряжения (ВД), соединяющим основание колонны с кондуктором, снабженным Н-2 электрическими контактами, размещенными по длине ВД, каждый из которых связан электрически с соответствующей ПК,
валом (В), передающим механический момент от ЭДЗУ к ГЭРВЧУ, выполненным из диэлектрического материала, снабженным Н-2 равномерно размещенными по длине металлическими кольцами, каждое из которых электрически связано с соответствующей ПК посредством укрепленного на ПК упругого скользящего по кольцу контакта,
выполненной из диэлектрического материала, например вакуумной керамики, вакуумированной трубкой торможения электронного пучка ЭРВЧУ (ТТЭП), один конец которой соединен с выходом ЭРВЧУ, а второй, снабженный мишенью, укреплен в основании колонны с обеспечением единого электропотенциала мишени и основания, и на внешней, и на внутренней стороне ТТЭП выполнены по Н-2 кольца из немагнитного металла (КНМ) попарно (наружное кольцо с внутренним), электрически связанные как между собой, так и с соответствующей ПК, и на поверхности каждого из КНМ, размещенных внутри ТТЭП, укреплен своим основанием с обеспечением электрического контакта выполненный из немагнитного металла в виде усеченного конуса кожух, вершина которого размещена в объеме кожуха соседнего КНМ, а на поверхности каждого из КНМ, размещенного снаружи ТТЭП, укреплен электроизолированный от него однорядный соленоид, электрически связанный с источником его импульсного электропитания (ИИП), в состав которого входит электрогенератор (ГИИП), и ИИП и ГИИП размещены на соответствующей ПК с обеспечением электрического контакта между их корпусами и ПК, вал ГИИП механически связан с В,
толщина Д материала, из которого выполнены кожухи и КНМ, удовлетворяет неравенству

где М – магнитная проницаемость материала, Р – удельное сопротивление материала (0,01·Ом·м), Т – длительность импульса ИИП (с),
а количество К каналов транспортировки ионов в ускорительной трубке определяется неравенством

где Ie – амплитуда импульса тока ЭРВЧУ, Iи – амплитуда импульса тока ионов, который обеспечивают фокусирующие элемента одного из К каналов транспортировки.
РИСУНКИ
|
|