|
|
(21), (22) Заявка: 2006100772/09, 16.01.2006
(24) Дата начала отсчета срока действия патента:
16.01.2006
(46) Опубликовано: 27.10.2007
(56) Список документов, цитированных в отчете о поиске:
SU 1136328 А, 23.01.1985. SU 1217558, 15.03.1986. RU 2182407 С1, 10.05.2002. US 5136142, 04.08.1992.
Адрес для переписки:
121165, Москва, Г-165, а/я 15, ООО “ППФ-ЮСТИС”
|
(72) Автор(ы):
Шатилов Сергей Александрович (RU), Асташкин Игорь Ильич (RU)
(73) Патентообладатель(и):
Общество с ограниченной ответственностью “КРИПОМП” (RU)
|
(54) ЭЛЕКТРИЧЕСКАЯ КОНФОРКА
(57) Реферат:
Изобретение относится к электротермии, в частности к нагревательным устройствам для профессиональных электроплит. Электрическая конфорка содержит чугунную плиту, установленную на ней внутреннюю крышку с выложенным на ней слоем тепловой изоляции, наружную крышку, размещенные между плитой и внутренней крышкой трубчатые электронагреватели и наполнительный элемент для рассеяния тепла, выполненный в виде чугунной дроби диаметром не более 2 мм. Техническим результатом изобретения является снижение расхода электроэнергии при одновременном обеспечении равномерности расселения тепла, обеспечение ремонтопригодности и увеличение срока службы конфорки из чугуна, что достигается применением трубчатых электронагревателей (ТЭН) и засыпкой чугунной дроби между оболочкой ТЭНа и чугунной плитой. 1 з.п. ф-лы, 4 ил.
Изобретение относится к электротермии, в частности к нагревательным устройствам для профессиональных электроплит.
Известна электрическая конфорка, содержащая основание со сплошной рабочей поверхностью из композиционного материала на основе железа с добавками других металлов, установленные под ним беззазорно электрический нагреватель, теплоизолятор и корпус из листовой стали (RU 2020771, кл. Н05В 3/68, 30.09.1994).
Недостатком известной электрической конфорки является неравномерность рассеяния тепла, образование зон с различной температурой нагрева.
Наиболее близким аналогом предлагаемого устройства является электрическая конфорка, содержащая основание – рабочую плиту, установленную на ней и плотно к ней прижатую внутреннюю крышку – опорную плиту с каналами, в которых расположены трубчатые электронагреватели (ТЭН), слой тепловой изоляции и наружную крышку (SU 1136328 А, Н05В 3/68, 23.01.1985).
Недостатком данной электрической конфорки является наличие воздушных зазоров между боковой поверхностью верхней части ТЭНов и рабочей плитой, в которых вследствие плохого отвода тепла может происходить перегрев ТЭНов и, тем самым, снижается срок их службы.
Техническим результатом изобретения является повышение равномерности отвода тепла со всей поверхности трубчатых электронагревателей и увеличение тем самым срока службы конфорки из чугуна.
Технический результат достигается за счет того, что электрическая конфорка содержит плиту, установленную на ней внутреннюю крышку со слоем тепловой изоляции, наружную крышку и электронагреватели, при этом электронагреватели являются трубчатыми электронагревателями (ТЭН), которые плотно контактируют с плитой, а пространство между оболочкой ТЭН, плитой и внутренней крышкой заполнено чугунной дробью.
Кроме того, чугунная плита может быть выполнена с ребрами жесткости на внутренней поверхности, образующими перегородки, между которыми расположены ТЭНы и засыпана чугунная дробь.
Кроме того, чугунная дробь предпочтительно выполнена диаметром не более 2 мм.
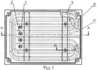
На фиг.1 изображена электрическая конфорка в сборе; на фиг.2 – то же, разрез А-А на фиг.1; на фиг.3 – внутренняя поверхность плиты; на фиг.4 – разрез Б-Б на фиг.1.
Электрическая конфорка содержит трубчатые электронагреватели (ТЭНы) 1 и 2 мощностью 1,3 кВт и 1,6 кВт соответственно, установленные на внутренней поверхности литой чугунной плиты 3 и прижимаемые с помощью прижимных швеллеров 4. Прижимные швеллеры 4 надеты на шпильки 5, ввернутые в крепежные отверстия на нижней поверхности плиты 3. В пазы между ТЭНами 1, 2 и четырьмя ребрами жесткости 6, образующими перегородки, насыпана чугунная дробь 7 диаметром до 2 мм. На шпильки 5 установлена внутренняя крышка 8, прижатая гайкой 9. На внутренней крышке 8 выложен утеплитель 10, образующий слой тепловой изоляции, задерживающий поток тепла внутрь плиты. Поверх внутренней крышки 8 с утеплителем 10 установлена наружная крышка 11, прижатая гайкой 9.
При подаче электроэнергии происходит нагрев ТЭНов 1, 2, тем самым происходит интенсивный теплообмен как в точке контакта ТЭНа 1, 2 и плиты 3, так и через чугунную дробь в точках ее контакта с ТЭН и плитой. Нижняя сторона плиты 3 теплоизолируется с помощью утеплителя 10 и экранируется с целью снижения температуры внутри корпуса электрической плиты и для повышения срока службы электрических проводов плиты. Благодаря чугунной дроби 7, засыпанной в полость между ребрами жесткости 6, выполненными на внутренней поверхности плиты 3 и оболочкой установленного на нее ТЭНа 1, 2, происходит равномерное рассеяние тепла с оболочки ТЭНа 1, 2. Это приводит к значительному увеличению срока службы ТЭНа 1, 2, сохраняется возможность замены его при выходе из стоя. Таким образом, ремонтопригодность электрической конфорки улучшается и увеличивается срок ее службы.
Выпускаются профессиональные электроплиты с квадратными и прямоугольными чугунными конфорками. Конфорки сборные. Нагрев чугунной поверхности осуществляется двумя ТЭНами мощностью 1,3 и 1,6 кВт, которые плотно прижимаются к внутренней поверхности чугунной плиты.
Для увеличения срока службы конфорки и увеличения наработки ТЭНов разработана и испытана модель конфорки с засыпкой вложенных ТЭНов чугунной дробью диметром 2 мм.
Сборка конфорки:
1. На нижнюю поверхность плиты 3 между ребрами жесткости 6 выкладываются ТЭНы 1, 2.
2. В крепежные отверстия на нижней поверхности плиты 3 вворачиваются шпильки 5 М6×40.
3. На шпильки 5 надеваются прижимные швеллера 4.
4. В пазы между ТЭНами 1, 2 и ребрами жесткости 6 насыпается чугунная дробь 7 диаметром 2 мм.
5. На шпильки 5 надевается внутренняя крышка 8 и плотно притягивается гайкой 9 М6 к плите 3 с ТЭНами 1, 2.
6. На внутреннюю крышку 8 выкладывается утеплитель 10 (который будет задерживать поток тепла внутрь плиты) – два слоя базальтового картона (толщина слоя – 5 мм.)
7. Надевается наружная крышка 11 (выполнена в виде коробочки) и притягивается гайкой 9 М6.
Формула изобретения
1. Электрическая конфорка, содержащая плиту, установленную на ней внутреннюю крышку, слой тепловой изоляции, наружную крышку и трубчатые электронагреватели (ТЭН), плотно контактирующие с плитой, отличающаяся тем, что пространство между оболочкой ТЭН, плитой и внутренней крышкой заполнено чугунной дробью диаметром не более 2 мм.
2. Конфорка по п.1, отличающаяся тем, что плита выполнена с ребрами жесткости на внутренней поверхности, образующими перегородки, между которыми расположены ТЭНы и засыпана чугунная дробь.
РИСУНКИ
|
|