|
|
(21), (22) Заявка: 2006114704/09, 01.11.2004
(24) Дата начала отсчета срока действия патента:
01.11.2004
(30) Конвенционный приоритет:
31.10.2003 KR 10-2003-0077081
(43) Дата публикации заявки: 27.08.2006
(46) Опубликовано: 27.10.2007
(56) Список документов, цитированных в отчете о поиске:
RU 2188516 C1, 27.08.2002. RU 2108673 С1, 10.04.1998. RU 2103822 C1, 27.01.1998. US 2002147017 А, 10.10.2002. ЕР 0400234 А, 05.12.1990.
(85) Дата перевода заявки PCT на национальную фазу:
28.04.2006
(86) Заявка PCT:
KR 2004/002783 (01.11.2004)
(87) Публикация PCT:
WO 2005/043854 (12.05.2005)
Адрес для переписки:
129010, Москва, ул. Б. Спасская, 25, стр.3, ООО “Юридическая фирма Городисский и Партнеры”, пат.пов. Ю.Д.Кузнецову, рег.№ 595
|
(72) Автор(ы):
ХВАНГ Ин-Сеок (KR), ЙООН Соон-Йоунг (KR), СУНГ Санг-Хоон (KR), ЧО Дзае-Хее (KR), ХУХ Хоон (KR)
(73) Патентообладатель(и):
САМСУНГ ЭЛЕКТРОНИКС КО., ЛТД. (KR)
|
(54) СПОСОБ И УСТРОЙСТВО ДЛЯ ВЫДЕЛЕНИЯ ПОДКАНАЛОВ В СИСТЕМЕ СВЯЗИ МНОЖЕСТВЕННОГО ДОСТУПА С ОРТОГОНАЛЬНЫМ РАЗДЕЛЕНИЕМ ЧАСТОТ (OFDMA)
(57) Реферат:
Изобретение относится к системе связи, поддерживающей схему множественного доступа с ортогональным разделением частот, в частности к устройству и способу адаптивного выделения подканалов. Система беспроводной связи делит всю полосу частот на множество полос поднесущих и включает в себя множество подканалов, каждый из которых включает в себя количество полос поднесущих. Количество групп поднесущих равно количеству базовых станций, включенных в систему, и они формируются посредством классификации полос поднесущих. Для конкретной базовой станции соответствующие полосы поднесущих обнаруживаются из каждой из групп, в соответствии с последовательностью. Полосы поднесущих, обнаруженные из каждой из групп, выделяются в качестве подканала конкретной базовой станции. Далее, индексы групп поднесущих, которым принадлежит каждая из поднесущих, составляющих подканал, изменяются всякий раз при выделении подканала для достижения требуемого выигрыша от разнесения. Техническим результатом является обеспечение частотно-временного двумерного выделения поднесущих в системе связи OFDMA. 8 н. и 38 з.п. ф-лы, 5 ил., 2 табл.
Предшествующий уровень техники
1. Область техники, к которой относится изобретение
Данное изобретение относится, в целом, к системе связи, поддерживающей схему множественного доступа с ортогональным разделением частот (OFDMA) (в дальнейшем называемую как «система связи OFDMA»), а в частности к устройству и способу адаптивного выделения подканалов.
2. Описание предшествующего уровня техники
Система мобильной связи четвертого поколения (4G) находится в процессе стандартизации для обеспечения эффективной организации межсетевого взаимодействия и интегрированной службы между проводной сетью связи и беспроводной сетью связи, в дополнение к простой службе беспроводной связи, которую обеспечивают системы мобильной связи предшествующего поколения. Соответственно, для передачи большого объема данных на таком же уровне, доступном в проводной сети связи, требуется разработка технологии для новой сети беспроводной связи.
В этом контексте проводится множество исследований при использовании схемы мультиплексирования с ортогональным частотным разделением сигналов (OFDM) в качестве схемы для высокоскоростной передачи данных по проводным/беспроводным каналам в системе мобильной связи четвертого поколения (4G). Схема мультиплексирования с ортогональным частотным разделением сигналов (OFDM), которая передает данные, используя множество несущих, является специальным типом схемы модуляции с множеством несущих (MCM), в которой последовательности последовательных символов преобразовываются в последовательности параллельных символов, а последовательности параллельных символов модулируются с множеством взаимно ортогональных поднесущих (или каналов поднесущих) перед передачей.
Первые системы модуляции с множеством несущих (MCM) появились в конце 1950-ых для военной высокочастотной (HF) радиосвязи, а схема OFDM была первоначально разработана в 1970-ых для наложения ортогональных поднесущих. Ввиду ортогональной модуляции между множеством несущих, схема OFDM имеет ограничения в ее фактическом выполнении. В 1971 Weinstein и др. предположил, что модуляция/демодуляция OFDM может быть эффективно выполнена, используя дискретное преобразование Фурье (DFT), которое было движущей силой до развития схемы OFDM. Кроме того, использование защитного интервала и циклического префикса в качестве защитного интервала дополнительно смягчает неблагоприятные эффекты многолучевого распространения и задержки распространения в системах. В результате схема OFDM широко использовалась в технологиях цифровой связи, таких как цифровое радиовещание (DAB), цифровое телевидение (телевизионное вещание), беспроводная локальная вычислительная сеть (WLAN) и режим асинхронной беспроводной передачи данных (WATM).
Несмотря на то, что сложность аппаратных средств была препятствием для широко распространенной реализации схемы OFDM, недавние усовершенствования в технологии цифровой обработки сигналов, включая быстрое преобразование Фурье (FFT) и обратное быстрое преобразование Фурье (IFFT), дали возможность схеме OFDM быть реализованной менее сложным способом.
Схема OFDM, подобная существующей схеме мультиплексирования с частотным разделением (FDM), отличается оптимальной эффективностью передачи в высокоскоростной передаче данных, в связи с тем, что она может передавать данные по поднесущим, поддерживая среди них ортогональность. Кроме того, оптимальная эффективность передачи является характерным признаком хорошей эффективности использования частоты и устойчивости к замираниям вследствие многолучевого распространения в схеме OFDM. Более определенно, наложение частотных спектров приводит к эффективному использованию частоты и устойчивости к частотно-избирательным замираниям и к замираниям вследствие многолучевого распространения. Схема OFDM сокращает эффекты межсимвольной интерференции (ISI) при помощи защитных интервалов и допускает проектирование простой структуры аппаратных средств корректора. Кроме того, в связи с тем, что схема OFDM устойчива к импульсному шуму, она все больше и больше популярна в системах связи.
Схема множественного доступа с ортогональным разделением частот (OFDMA) является схемой множественного доступа, основанной на схеме мультиплексирования с ортогональным частотным разделением сигналов (OFDM). В схеме OFDMA поднесущие в одном символе OFDM распределяются множеству пользователей или терминалов абонента. Система связи, использующая схему OFDMA, включает в себя систему связи IEEE 802.16a и систему связи IEEE 802.16e. Система связи IEEE 802.16a является неподвижной системой связи беспроводного широкополосного доступа (BWA), использующей схему OFDMA. Система связи IEEE 802.16e является системой, которая обеспечивает мобильность терминалов абонента в системе связи IEEE 802.16a. В настоящее время и система связи IEEE 802.16a и система связи IEEE 802.16e используют обратное быстрое преобразование Фурье (IFFT) 2048 точек и 1702 поднесущих. Система связи IEEE 802.16a и система связи IEEE 802.16e используют 166 поднесущих из 1702 поднесущих в качестве поднесущих пилот-сигналов, и используют оставшиеся 1536 поднесущих, за исключением этих 166 поднесущих, в качестве поднесущих данных.
1536 поднесущих данных разделены на 32 подканала, каждый из которых включает в себя 48 поднесущих данных. Подканалы выделяются множеству пользователей, в соответствии с системными условиями. Термин «подканал» относится к каналу, включающему в себя множество поднесущих. Здесь каждый подканал включает в себя 48 поднесущих. Система связи OFDMA распределяет все поднесущие, в частности поднесущие данных, используемые по всей полосе частот, таким образом, достигая увеличения частотного разнесения.
Схема скачкообразного изменения частоты (в дальнейшем называемая «FH») представляет собой схему изменения поднесущих, выделенных конкретному терминалу абонента, а схема FH-OFDM представляет собой схему, которая комбинирует схему FH и схему OFDM. Система, использующая схему FH-OFDM (в дальнейшем называемая «система FH-OFDM»), использует схему FH в полосах частот с перескоком частоты поднесущих, выделенных терминалу абонента. Следовательно, система FH-OFDM также распределяет все поднесущие, в частности поднесущие данных, используемые по всей полосе частот, таким образом, достигая увеличения частотного разнесения.
Система связи IEEE 802.16a и система связи IEEE 802.16e делит широкополосный канал, например 10 МГц, на подканалы только в частотной области. Как указано выше, система связи IEEE 802.16a и система связи IEEE 802.16e используют обратное быстрое преобразование Фурье (IFFT) 2048 точек и используют 1702 поднесущие на символ OFDM. При выделении подканалов с использованием последовательностей Рида-Соломона (RS), которые обеспечивают превосходную характеристику коллизий между подканалами в среде множества сот, возможна идентификация приблизительно 40 сот (например, 41×40=1640). Например, если используется последовательность Рида-Соломона, определенная в Поле Галуа (конечном поле) Q, то количество доступных поднесущих определяется как Q(Q-1). В тех случаях, когда используется приблизительно 1600 поднесущих, как в системе 802.16a/e, число 41 выбирается из чисел 37, 41 и 43, которые являются простыми числами, близкими к числу 40, для того, чтобы была сформирована система, использующая 1640 поднесущих. Однако система 802.16a/e использует число 48 для количества поднесущих на подканал и, таким образом, имеет худшее свойство в коллизии между подканалами. Поле Галуа будет подробно описано позже.
Однако для облегчения проектирования сети наряду с развитием систем связи, необходимо увеличить количество идентифицируемых сот до 100. Схема OFDMA имеет ограничения в формировании подканалов только в частотной области в виду количества идентифицируемых сот.
Кроме того, схема Flash-OFDM, использующая узкополосный канал 1,25 МГц, использует обратное быстрое преобразование Фурье (IFFT) 128 точек и определяет 113 последовательностей скачкообразного изменения, которые скачкообразно сдвигают разные поднесущие для одного периода, состоящего из 113 символов OFDM в качестве основного блока выделения ресурса. Система связи, поддерживающая схему Flash-OFDM (в дальнейшем называемая «система связи Flash-OFDM»), определяет разные скачкообразные изменения частоты для 113 сот в проектировании сетей, таким образом, позволяя идентифицировать 113 разных сот. Однако схема Flash-OFDM, будучи только узкополосной схемой, не может внести свой вклад в требуемое увеличение пропускной способности.
Краткое описание изобретения
Поэтому, цель данного изобретения заключается в том, чтобы обеспечить устройство и способ выделения поднесущих в системе связи OFDMA.
Другая цель данного изобретения заключается в том, чтобы обеспечить способ и устройство частотно-временного двумерного выделения поднесущих в системе связи OFDMA.
Другая цель данного изобретения заключается в том, чтобы обеспечить устройство выделения поднесущих и способ идентификации базовых станций в системе связи OFDMA.
Еще одна цель данного изобретения заключается в том, чтобы обеспечить устройство выделения поднесущих и способ уменьшения коллизий между подканалами, использующимися в соседних базовых станциях в системе связи OFDMA.
Еще одна цель данного изобретения заключается в том, чтобы обеспечить устройство выделения поднесущей и способ достижения выигрыша от разнесения в системе связи OFDMA.
В соответствии с одним аспектом данного изобретения, обеспечивается способ выделения подканалов для каждой из множества базовых станций, включенных в систему беспроводной связи, которая делит целую полосу частот на множество полос поднесущих и включает в себя множество подканалов, каждый из которых является набором предопределенного количества полос поднесущих. Способ включает в себя этапы классификации полос поднесущих за период и формирования количества групп поднесущих, равного количеству идентифицируемых базовых станций; обнаружения соответствующих полос поднесущих в первый момент времени, для конкретной базовой станции, из каждой из групп поднесущих, в соответствии с последовательностью; выделения полос поднесущей, обнаруженных из каждой группы, в качестве подканала для конкретной базовой станции; и выделения других полос поднесущих в качестве другого подканала для конкретной базовой станции в момент времени, следующий за первым моментом времени, причем упомянутые другие полосы поднесущих, составляющие упомянутый другой подканал, обнаруживаются из других групп поднесущих, отличных от групп поднесущих, которым принадлежат полосы поднесущей, выделенные в качестве подканала для конкретной базовой станции в первый момент времени.
В соответствии с другим аспектом данного изобретения, обеспечивается способ выделения подканалов для каждой из множества базовых станций, включенных в систему беспроводной связи, которая делит целую полосу частот на Q(Q-1) полос поднесущих и включает в себя Q подканалов, каждый из которых является набором (Q-1) полос поднесущих. Способ включает в себя этапы: (1) классификации Q(Q-1) полос поднесущих за предопределенный период и формирования (Q-1) групп поднесущих, количество которых равно количеству идентифицируемых базовых станций; (2) обнаружения полос поднесущих, расположенных в соответствии с последовательностью, для конкретной базовой станции, из Q полос поднесущих каждой из (Q-1) групп поднесущих посредством последовательного анализа от первой группы поднесущих до (Q-1)-ой группы поднесущих; (3) выделения полос поднесущих, обнаруженных из каждой из (Q-1) групп поднесущих в качестве подканала для конкретной базовой станции; (4) беспорядочного перемежения (Q-1) групп поднесущих и обнаружения полос поднесущих, расположенных в соответствии с беспорядочно перемеженной последовательностью, для конкретной базовой станции, из Q полос поднесущих каждой из (Q-1) групп поднесущих; и (5) выделения полос поднесущих, обнаруженных из каждой из перемеженных (Q-1) групп поднесущих в качестве нового подканала для конкретной базовой станции.
В соответствии с другим аспектом данного изобретения, обеспечивается способ выделения подканалов для каждой из множества базовых станций, включенных в систему беспроводной связи, которая делит целую полосу частот на множество полос поднесущих и включает в себя множество подканалов, каждый из которых является набором предопределенного количества полос поднесущих. Способ включает в себя этапы: классификации полос поднесущих за период, формирования количества групп поднесущих, равного количеству идентифицируемых базовых станций, и выделения (назначения) индекса каждой из сформированных групп поднесущих; обнаружения соответствующих полос поднесущих, для конкретной базовой станции, из каждой из групп поднесущих, в соответствии с последовательностью, и выделения обнаруженных полос поднесущих в качестве подканала для конкретной базовой станции; перемежения индексов группы, выделенных группам поднесущих; обнаружения соответствующих полос поднесущих, для конкретной базовой станции, из каждой из групп поднесущих, в соответствии с последовательностью; и выделения обнаруженных полос поднесущих в качестве нового подканала для конкретной базовой станции.
В соответствии с другим аспектом данного изобретения, обеспечивается способ выделения подканалов для каждой из множества базовых станций, включенных в систему беспроводной связи, которая делит целую полосу частот на множество групп подканалов и создает каналы нисходящей линии связи посредством выбора поднесущих из каждой из групп подканалов каждой из базовых станций, передающих кодовую комбинацию, равную предварительно переданной кодовой комбинации. Способ включает в себя этапы перемежения индексов групп поднесущих из условия, чтобы индексы группы поднесущих, которой принадлежит каждая из поднесущих, составляющих подканал, были повторно переданы конкретной базовой станции и отличались от индексов групп поднесущих, которым принадлежит каждая из поднесущих, составляющих подканал, предварительно переданный конкретной базовой станции; и обнаружения соответствующих полос поднесущих из каждой из перемеженных групп и выделения обнаруженных полос поднесущих в качестве нового подканала для конкретной базовой станции.
В соответствии с еще одним аспектом данного изобретения, обеспечивается устройство для выделения подканалов для каждой из множества базовых станций, включенных в систему беспроводной связи, которая делит целую полосу частот на множество полос поднесущих и включает в себя множество подканалов, каждый из которых является набором предопределенного количества полос поднесущих. Устройство включает в себя средство выделения подканала для классификации полос поднесущих за период, формирования количества групп поднесущих, равного количеству идентифицируемых базовых станций, обнаружения соответствующих полос поднесущих в конкретный момент времени, для конкретной базовой станции, из каждой из групп поднесущих, в соответствии с последовательностью, выделения полос поднесущих, обнаруженных из каждой из групп, в качестве подканала для конкретной базовой станции, и выделения других полос поднесущих в качестве другого подканала, для конкретной базовой станции, в момент времени, следующий за конкретным моментом времени, причем упомянутые другие полосы поднесущих, составляющие другой подканал, обнаруживаются из других групп поднесущих, отличных от групп поднесущих, которым принадлежат полосы поднесущих, выделенные в качестве подканала для конкретной базовой станции в конкретный момент времени; и средство передачи для передачи данных по подканалу, выделенному средством выделения подканала.
В соответствии с дальнейшим другим аспектом данного изобретения, обеспечивается устройство для выделения подканалов для каждой из множества базовых станций, включенных в систему беспроводной связи, которая делит целую полосу частот на Q(Q-1) полос поднесущих и включает в себя Q подканалов, каждый из которых является набором (Q-1) полос поднесущих. Устройство включает в себя средство выделения подканала для классификации Q(Q-1) полос поднесущих за предопределенный период, формирования (Q-1) групп поднесущих, количество которых равно количеству идентифицируемых базовых станций, обнаружения полос поднесущих, расположенных в соответствии с предопределенной последовательностью, для конкретной базовой станции, из Q полос поднесущих каждой из (Q-1) групп поднесущих посредством последовательного анализа от первой группы поднесущих до (Q-1)-ой группы поднесущих, выделения полос поднесущих, обнаруженных из каждой из (Q-1) групп поднесущих, в качестве подканала для конкретной базовой станции, беспорядочного (случайного) перемежения (Q-1) групп поднесущих и обнаружения полос поднесущих расположенных в соответствии с беспорядочно перемеженной последовательностью, для конкретной базовой станции, из Q полос поднесущих каждой из (Q-1) групп поднесущих, и выделения полос поднесущих, беспорядочно обнаруженных из каждой из (Q-1) групп поднесущих, в качестве нового подканала для конкретной базовой станции; и средство передачи для передачи данных по подканалу, выделенному средством выделения подканала.
В соответствии с дальнейшим другим аспектом данного изобретения, обеспечивается устройство для выделения подканалов для каждой из множества базовых станций, включенных в систему беспроводной связи, которая делит целую полосу частот на множество полос поднесущих и включает в себя множество подканалов, каждый из которых является набором предопределенного количества полос поднесущих. Устройство включает в себя средство выделения подканала для классификации полос поднесущих за период, формирования количества групп поднесущих, равного количеству идентифицируемых базовых станций, выделения индекса для каждой из сформированных групп поднесущих, обнаружения соответствующих полос поднесущих, для конкретной базовой станции, из каждой из групп поднесущих, в соответствии с последовательностью, выделения обнаруженных полос поднесущих в качестве подканала для конкретной базовой станции, перемежения индексов групп, выделенных группам поднесущих, обнаружения соответствующих полос поднесущих, для конкретной базовой станции, из каждой из групп поднесущих, в соответствии с последовательностью, и выделения обнаруженных полос поднесущих в качестве нового подканала для конкретной базовой станции; и средство передачи для передачи данных по подканалу, выделенному средством выделения подканала.
В соответствии с другим аспектом данного изобретения, обеспечивается устройство для выделения подканалов для каждой из множества базовых станций, включенных в систему беспроводной связи, которая делит целую полосу частот на множество групп подканалов и создает каналы нисходящей линии связи посредством выбора поднесущих из каждой из групп подканалов каждой из базовых станций, передающих кодовую комбинацию, равную предварительно переданной кодовой комбинации. Устройство включает средство выделения подканала для выделения подканала из условия, чтобы индексы групп поднесущих, которым принадлежит каждая из поднесущих, составляющих подканал, были повторно переданы конкретной базовой станции, и отличались от индексов групп поднесущих, которым принадлежит каждая из поднесущих, составляющих подканал, предварительно переданный конкретной базовой станции; и средство перемежения для перемежения индексов групп поднесущих, которым принадлежит каждая из поднесущих, составляющих выделенный подканал.
Краткое описание чертежей
Вышеупомянутые и другие цели, особенности и преимущества данного изобретения станут более очевидными из следующего подробного описания, взятого совместно с сопроводительными чертежами, на которых изображено следующее:
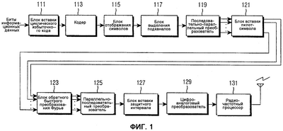
Фиг.1 – блок-схема, иллюстрирующая первый передатчик в системе связи OFDMA, согласно варианту осуществления данного изобретения;
Фиг.2 иллюстрирует процесс выделения подканалов в частотно-временной двумерной области согласно варианту осуществления данного изобретения;
Фиг.3 иллюстрирует процесс выделения подканалов для передачи данных согласно варианту осуществления данного изобретения;
Фиг.4 – блок-схема, иллюстрирующая процедуру выделения поднесущих, согласно варианту осуществления данного изобретения; и
Фиг.5 – блок-схема, иллюстрирующая второй передатчик в системе связи OFDMA, согласно другому варианту осуществления данного изобретения.
Подробное описание предпочтительного варианта осуществления
Далее, со ссылкой на приложенные чертежи, будут подробно описаны предпочтительные варианты осуществления данного изобретения. В нижеследующем описании подробное описание включенных в данный документ известных функций и конфигураций было опущено для краткости.
Данное изобретение выделяет подканалы в частотно-временной двумерной области в системе связи, использующей схему множественного доступа с ортогональным разделением частот (OFDMA) (в дальнейшем называемая «система связи OFDMA»). Соответственно, данное изобретение увеличивает количество идентифицируемых сот или базовых станций в системе связи OFDMA и минимизирует коллизии между подканалами, используемыми в соседних базовых станциях. Каждая базовая станция может управлять одной сотой или множеством сот. Однако, для простоты описания, в данном документе предполагается, что каждая базовая станция управляет только одной сотой.
Фиг.1 – блок-схема, иллюстрирующая первый передатчик в системе связи OFDMA, согласно варианту осуществления данного изобретения. На Фиг.1 первый передатчик системы связи OFDMA включает в себя блок 111 вставки циклического избыточного кода (CRC), кодер 113, блок 115 отображения символов, блок 117 выделения (назначения) подканалов, последовательно-параллельный (S/P) преобразователь 119, блок 121 вставки пилот-символа, блок 123 обратного быстрого преобразования Фурье (IFFT), параллельно-последовательный (P/S) преобразователь 125, блок 127 вставки защитного интервала, цифроаналоговый (D/A) преобразователь 129 и радиочастотный (RF) процессор 131.
Для передачи битов пользовательских данных и битов управляющих данных биты пользовательских данных и биты управляющих данных вводятся на блок 111 вставки циклического избыточного кода. В данном документе биты пользовательских данных и биты управляющих данных будут называться «биты информационных данных». Блок 111 вставки циклического избыточного кода (CRC) вставляет биты циклического избыточного кода (CRC) в биты информационных данных и выводит биты информационных данных со вставленным циклическим избыточным кодом (CRC) на кодер 113. Кодер 113 кодирует сигнал, выходящий от блока 111 вставки циклического избыточного кода, используя предопределенные способы кодирования, и выводит закодированный сигнал на блок 115 отображения символов. Предпочтительно, в качестве способа кодирования используется турбо (ускоренное) кодирование или сверточное кодирование.
Блок 115 отображения символов модулирует закодированные биты, выходящие из кодера 113, в символы модуляции, используя предопределенный способ модуляции, и выводит символы модуляции к блоку 117 выделения подканалов. Предпочтительно, в качестве способа модуляции используется квадратурная фазовая манипуляция (QPSK) или шестнадцатеричная квадратурная амплитудная модуляция (16QAM). Блок 117 выделения подканалов выделяет подканалы посредством приема символов модуляции, выходящих из блока 115 отображения символов, и выводит символы модуляции выделенного подканала на последовательно-параллельный преобразователь 119. Операция выделения подканалов в блоке 117 выделения подканалов выполняется согласно способу выделения подканала, предложенному данным изобретением, которое будет более подробно описано ниже.
Последовательно-параллельный преобразователь 119 выполняет параллельное преобразование последовательных символов модуляции выделенного подканала, выходящих из блока 117 выделения подканалов, и выводит преобразованные в параллельную форму символы модуляции на блок 121 вставки пилот-символа. Блок 121 вставки пилот-символа (символа пилот-сигнала) выполняет вставку пилот-символов (символов пилот-сигнала) в преобразованные в параллельную форму символы модуляции, выходящие из последовательно-параллельного преобразователя 119, и выводит символы модуляции со вставленными пилот-символами на блок 123 обратного быстрого преобразования Фурье (IFFT).
Блок 123 обратного быстрого преобразования Фурье (IFFT) выполняет обратное быстрое преобразование Фурье (IFFT) N точек символов модуляции со вставленными пилот-символами, выходящих из блока 121 вставки пилот-символа, и выводит обработанные обратным быстрым преобразованием Фурье (IFFT) символы модуляции на параллельно-последовательный преобразователь 125. Параллельно-последовательный преобразователь 125 выполняет последовательное преобразование обработанных обратным быстрым преобразованием Фурье (IFFT) параллельных символов модуляции и выводит преобразованные в последовательную форму символы модуляции на блок 127 вставки защитного интервала. Блок 127 вставки защитного интервала вставляет сигнал защитного интервала в преобразованные в последовательную форму символы модуляции, и выводит символы модуляции со вставленным защитным интервалом на цифроаналоговый преобразователь 129. Защитный интервал вставляется для устранения интерференции между предыдущим символом OFDM, переданным в предыдущее время символа OFDM, и текущим символом OFDM, подлежащим передачи в текущее время символа OFDM, в системе связи OFDM. В целом, в защитный интервал вставляются нулевые данные. Однако в этом случае, если приемник неправильно оценивает начальную точку символа OFDM, то происходит интерференция между поднесущими, вызывая увеличение частоты неправильных оценок для принятого символа OFDM. В связи с этим, используется способ циклического префикса или способ циклического постфикса. В способе циклического префикса предопределенное количество последних выборок символа OFDM во временной области копируется и вставляется в применимый символ OFDM, а в способе циклического постфикса предопределенное количество первых выборок символа OFDM во временной области копируется и вставляется в применимый символ OFDM.
Цифроаналоговый преобразователь 129 выполняет аналоговое преобразование сигнала, выходящего из блока 127 вставки защитного интервала, и выводит преобразованный в аналоговую форму сигнал на радиочастотный процессор 131. Радиочастотный процессор 131, включающий в себя фильтр и препроцессор, выполняет РЧ-обработку сигнала, выходящего из цифроаналогового преобразователя 129, и передает РЧ-обработанный сигнал по эфиру через передающую антенну.
(1) Выделение подканала в частотно-временной двумерной области
Индексы включенных в подканал поднесущих выделяются (назначаются), используя последовательность Рида-Соломона (RS), а подканал формируется, используя поднесущие, соответствующие выделенным индексам поднесущих. Все поднесущие, включенные в систему связи OFDMA, делятся на (Q-1) группы, и каждая из (Q-1) групп имеет Q последовательных поднесущих.
Последовательность Рида-Соломона определяется в поле Галуа. Поле Галуа (Q) включает в себя Q элементов {0,1,2,…,Q-1}. Здесь Q обозначает длину поля Галуа, а когда Q является простым числом, операция сложения и операция умножения в поле Галуа (Q) определяются, как показано ниже в Уравнении (1).
a+b=(a+b) mod Q, для a,b 0,1,2,…, Q-1 |
a×b=(a×b) mod Q, для a,b 0,1,2,…, Q-1 |
(1) |
Последовательность S, определенная в поле Галуа (Q), является последовательностью подканала, выделенной для каждой из (Q-1) групп, указывающей позиции включенных в подканал поднесущих. Индексы включенных в подканал поднесущих выражаются в Уравнении (2).
| Subcarrier_index(i)=Q×i+S(i) |
(2) |
В Уравнении (2) «i» обозначает индекс группы, указывающий конкретную группу из числа всех (Q-1) групп системы связи OFDMA. Индекс группы «i» имеет любое из значений 0,1,…,Q-2. Далее, S(i) обозначает (i+1)-ый элемент в последовательности S и представляет позиции поднесущих в соответствующей группе.
Если последовательность Уравнения (2), то есть последовательность, представляющая индексы включенных в подканал поднесущих, определена, то подканал, соответствующий последовательности, может также быть определен. Например, если предполагается, что количество всех поднесущих системы связи OFDMA равно 42 из {0,1,2…, 41}, то эти 42 поднесущие могут быть разделены на 6 групп. Кроме того, 6 поднесущих, включенных в конкретный подканал, могут быть выделены (назначены), используя длину 6 последовательности. Таким образом, если индексы {3,2,6,4,5,1} предоставлены для последовательности S подканала, то формируется соответствующий подканал, используя последовательности, имеющие индексы {3,9,20,25,33,36} поднесущих.
Кроме того, для идентификации конкретной базовой станции и подканалов в базовой станции используются перестановка и смещение для основной последовательности. Здесь, основная последовательность определена как S0 и выражена, как показано в Уравнении (3).
S0= , 2, 3,…, Q-2, Q-1 |
(3) |
В Уравнении (3) -обозначение примитивного (базисного) элемента поля Галуа (Q) ( m 1 для mQ-1=1). Если размер Q поля Галуа равен 7 (Q=7), то примитивный (базисный) элемент становится равным 3, и S0={3,32,33,…,35,36} mod 7={3,2,6,4,5,1}. Здесь основная последовательность S0 представляет последовательность, выделенную подканалу #0 для упомянутой базовой станции из множества базовых станций, включенных в систему связи OFDMA. Здесь предполагается, что образцовая базовая станция является базовой станцией #0 и базовая станция #0 становится первой базовой станцией из числа базовых станций, составляющих систему связи OFDMA. Кроме того, подканал #0 становится первым подканалом из числа Q подканалов.,>
Последовательность Sm, выделенная соте #m, является последовательностью, определенной посредством перестановки основной последовательности S0 m раз. Последовательность Sm выражается, как показано в Уравнении (4).
Sm= mS0= Q-m, Q-m+1,…, Q-2, Q-1, , 2,…, Q-m-1 |
(4) |
В Уравнении (4) Sm обозначает последовательность, выделенную подканалу #0 базовой станции #m.
Кроме того, последовательность Sm, для определения подканалов в базовой станции #m соответствует последовательности, определенной посредством добавления смещения к последовательности Sm, выделенной подканалу #0 соты #m. Последовательность Sm, для определения подканалов в базовой станции #m выражена ниже в Уравнении (5).
В Уравнении (5), GF(Q) обозначает поле Галуа (Q).
Соответственно, возможно выделить (назначить) подканалы для всех (Q-1) из базовых станций системы связи OFDMA. Поэтому возможно получить последовательности Q подканалов для каждой из (Q-1) базовых станций. Полученные последовательности подканалов выгодны тем, что максимально только один подканал возможно может перекрываться между соседними базовыми станциями, таким образом, предотвращая ухудшение в производительности системы из-за коллизии подканала.
Далее, ссылаясь на Таблицу 1 и Таблицу 2, будет сделано описание последовательностей базовой станции для подканала #0 и последовательностей для определения подканалов в базовой станции #0, когда длина Q поля Галуа равна 7 (поле Галуа (Q)=7), примитивный (базисный) элемент поля Галуа равен 3 ( =3) и основная последовательность S0={3,2,6,4,5,1}.
| Таблица 1 |
| S0 |
3 |
2 |
6 |
4 |
5 |
1 |
| S1 |
1 |
3 |
2 |
6 |
4 |
5 |
| S2 |
5 |
1 |
3 |
2 |
6 |
4 |
| S3 |
4 |
5 |
1 |
3 |
2 |
6 |
| S4 |
6 |
4 |
5 |
1 |
3 |
2 |
| S5 |
2 |
6 |
4 |
5 |
1 |
3 |
| Таблица 2 |
| S0,0 |
3 |
2 |
6 |
4 |
5 |
1 |
| S0,1 |
4 |
3 |
0 |
5 |
6 |
2 |
| S0,2 |
5 |
4 |
1 |
6 |
0 |
3 |
| S0,3 |
6 |
5 |
2 |
0 |
1 |
4 |
| S0,4 |
0 |
6 |
3 |
1 |
2 |
5 |
| S0,5 |
1 |
0 |
4 |
2 |
3 |
6 |
| S0,6 |
2 |
1 |
5 |
3 |
4 |
0 |
Таблица 1 иллюстрирует последовательности для выделения подканала #0 разных сот с использованием перестановки, а Таблица 2 иллюстрирует последовательности для выделения подканалов в базовой станции #0 посредством добавления смещения к индексам подканалов в базовой станции. Как иллюстрировано в Таблице 1, максимально только один подканал, возможно, может перекрываться, таким образом, предотвращая ухудшение в производительности системы из-за коллизии подканала. Однако, в отличие от этого, возможно идентифицировать подканалы в базовой станции посредством перестановки основной последовательности, как иллюстрировано в Таблице 1, а также возможно формировать разные последовательности для идентификации базовых станций посредством добавления смещения в основную последовательность, как иллюстрировано в Таблице 2.
В системе сотовой связи, в которой коэффициент повторного использования частоты равен 1, необходимо увеличить общее количество идентифицируемых базовых станций в системе для облегчения установки базовых станций при проектировании сетей. Для того чтобы увеличить количество идентифицируемых базовых станций, необходимо увеличить значение Q поля Галуа (Q). Для того, чтобы увеличить количество идентифицируемых базовых станций данное изобретение предлагает способ двумерного выделения подканала, учитывая не только частотную область, а также и временную область. Например, предполагая, что 97×16=1552 поднесущих передаются на символ OFDM, если используются шесть символов OFDM в качестве одного блока выделения поднесущих, то может быть определено, что используются 97×16×6=97×96 поднесущих данных. В этом случае, если последовательность подканалов определена в поле Галуа (97), то 97 подканалов могут быть выделены (назначены) в каждой из 96 сот. Основная последовательность S0, использующая примитивный (базисный) элемент 5 в поле Галуа (97), может быть вычислена посредством подстановки Q=97 и =5 в Уравнение (3), а основная последовательность S0 выражается, как показано ниже в Уравнении (6).
| S0={5, 25, 28, 43, 21, 8, 40, 6. 30, 53, 71, 64, 29, 48, 46, 36, 83. 27, 38, 93, 77, 94, 82, 22, 13, 65, 34, 73, 74. 79, 7, 35, 78. 2, 10, 50, 56, 86, 42, 16, 80, 12, 60, 9, 45. 31, 58, 96, 92, 72, 69, 54, 76, 89, 57, 91, 67, 44, 26, 33, 68, 49, 51, 61, 14, 70, 59, 4, 20, 3, 15, 75, 84, 32, 63, 24, 23, 18, 90, 62, 19, 95, 87, 47, 41. 11, 55, 81, 17, 85, 37, 88, 52, 66, 39, 1} |
(6) |
Фиг.2 – график, иллюстрирующий процесс выделения подканалов в частотно-временной двумерной области, согласно варианту осуществления данного изобретения. Прежде чем будет дано описание Фиг.2, здесь для примера предполагается, что 96 базовых станций могут быть идентифицированы в системе связи OFDMA, а поднесущие выделяются таким образом, что могут быть идентифицированы 97 подканалов для каждой из этих 96 базовых станций. Таким образом, как иллюстрировано в Фиг.2, 97×96 поднесущих разделены на 96 групп для 6 периодов символа OFDM в частотно-временной области, а 97 последовательных поднесущих размещены в каждой из этих 96 групп. На Фиг.2 строки обозначают индексы поднесущих, а столбцы обозначают индексы символа символов OFDM во временной области.
На Фиг.2, в связи с тем, что длина Q поля Галуа равна 97 (Q=97), последовательность ({Sm, } для 0 m 95 и 0  96) для определения подканалов в базовой станции #m может быть сформирована посредством использования Уравнения (4) и (5) и основной последовательности S0 Уравнения (6). В результате чего 97 подканалов могут быть выделены для каждой из 96 базовых станций.
В системе связи OFDMA, если используются Q(Q-1) поднесущих в множестве периодов символа OFDM, то N групп формируются посредством использования Q×N поднесущих в символе OFDM, а если используются (Q-1)/N символы OFDM, то индексы поднесущих, составляющих каждый из подканалов, выражаются, как показано в Уравнении (7)
Subcarrier_index (n;i)=Q×(i-N×[i/N])+Sm, (i);n=[i/N] |
(7) |
В Уравнении (7) [x] представляет максимальное целое число, которое является меньше или равным значению «х». На Фиг.2, в связи с тем, что Q=97 и N=16, индекс «i» группы имеет любое из значений от 0 до Q-2, то есть от 0 до 95, а индекс «n» символа имеет любое из значений от 0 до 5. Например, индексы поднесущих для подканала #0 базовой станции #0 являются
Символ 0: 5, 122, 222, 334, 409, 493, 622, 685, 806, 926, 1041, 1131, 1193,1309,1404,1491
Символ 1: 83, 124, 232, 384, 465, 579, 664, 701, 789, 938, 1004, 1140, 1238, 1340, 1365, 1490
Символ 2: 78, 99, 204, 341, 444, 571, 624, 695, 856, 885, 1030, 1076, 1209, 1292, 1416, 1551
Символ 3: 92, 169, 263, 345, 464, 574, 639, 770, 843, 917, 996, 1100, 1232, 1310, 1409, 1516
Символ 4: 14, 167, 253, 295, 408, 488, 597, 754, 860, 905, 1033, 1091, 1187, 1279,1448,1517
Символ 5: 19, 192, 281, 338, 429, 496, 637, 760, 793, 958, 1007, 1155, 1216, 1327, 1397, 1456
Если поднесущие выделяются этим способом, то коллизии могут возникать максимально только в одном подканале из числа подканалов, принадлежащих разным сотам, как описано выше, а частота коллизий намного ниже, чем в существующих системах связи. Например, система связи IEEE 802.16a может выделить 32 подканала для каждой соты, а подканалы от разных сот подвергаются коллизии в позициях поднесущих от 0 до 5. В случае, когда поднесущие выделены, как описано в данном изобретении, количество коллизий между поднесущими, составляющими подканалы, сокращается до 0 или 1.
Например, при использовании последовательности Рида-Соломона, в связи с тем, что каждый подканал имеет (Q-1) поднесущих и количество коллизий поднесущих, составляющих подканалы, для разных сот равняется максимум 1, коэффициент перекрывающихся поднесущих соответствует максимум 1/(Q-1), и это значение уменьшается по мере увеличения значения Q. Поэтому предложенная в данном изобретении схема частотно-временного двумерного назначения поднесущих может преимущественно увеличить количество идентифицируемых сот и сократить коэффициент перекрывающихся поднесущих.
(2) Выделение подканала для передачи данных
Передатчик или базовая станция системы связи OFDMA передают данные посредством выделения части одного подканала или, по меньшей мере, одного подканала согласно времени задержки декодирования и количеству данных для передачи. Например, для передачи данных может быть сформировано в общей сложности Q блоков выделения (назначения) данных посредством вставки данных для передачи в основу подканала. В данном документе «блок выделения данных» относится к блоку выделения ресурса, использующему ту же самую схему кодирования канала и схему модуляции. Предполагается, что 1/2 турбокодирование используется в качестве схемы кодирования канала, а квадратурная фазовая модуляция (QPSK) используется в качестве схемы модуляции.
В целом, польза от кодирования увеличивается по мере того, как длина кодовой комбинации становится больше. Например, если количество включенных в кодовую комбинацию информационных битов становится больше 1000 битов, то происходит прирост производительности. Поэтому, при использовании 96 поднесущих на подканал и квадратурной фазовой модуляции, а также 1/2 кодирования канала в качестве схемы модуляции и схемы кодирования, кодирование канала должно быть выполнено приблизительно на каждых 10 подканалах для того, чтобы максимизировать выигрыш от кодирования.
Фиг.3 – схема, иллюстрирующая процесс выделения подканалов для передачи данных, согласно варианту осуществления данного изобретения. Однако прежде чем будет дано описание Фиг.3, как упомянуто выше, здесь также предполагается, что в системе связи OFDMA могут быть идентифицированы 96 базовых станций, а поднесущие выделяются из условия, чтобы 97 подканалов могли быть идентифицированы для каждой из этих 96 базовых станций. Фиг.3 иллюстрирует пример, в котором подканалы выделяются должным образом, согласно их объектам, когда количество идентифицируемых подканалов в одной соте равно 97, то есть Q=97.
На Фиг.3 прямоугольник блока включает в себя 16 поднесущих, а также прямоугольники блоков сгруппированы для периода 6-OFDM символов по оси времени, таким образом, формируя один подканал, который представлен посредством Td. В данном документе прямоугольник блока, представляющий 16 поднесущих, которые являются частичными включенными в подканал поднесущими, называется «блоком подканала». Один подканал включает в себя 6 блоков подканала.
При наличии большого количества данных для передачи могут быть сгруппированы два или больше подканалов для передачи данных. На Фиг.3 используемые для передачи данных подканалы представлены как Tb. Таким образом, для передачи данных используются 4 подканала (от подканала 93 (SC 93) до подканала 96 (SC 96)). Максимальное количество коллизий между включенными в блок подканала поднесущими равно количеству индексов подканала, используемых в частотной области. Для подканала, представленного как Td, и частичного подканала (3 блока подканала), представленного как Ts, количество коллизий поднесущих между соседними сотами равно максимально 1, а для блоков подканалов разных подканалов, представленных как Tc, и подканалов, представленных как Tb, максимальное количество коллизий может равняться максимум 3 или 4.
Далее будет сделано описание соотношений между максимальным количеством коллизий для каждого подканала и задержкой декодирования. Подканалы, представленные как Td, и блоки подканала разных подканалов, представленных как Tc, используют ту же самую область, то есть то же самое число поднесущих, и для подканалов, представленных как Td, происходит максимум одна коллизия с подканалами Td соседних сот, а задержка декодирования становится равна 6 символам OFDM. Для блоков разных подканалов, представленных как Tc, происходит максимум три коллизии с блоками разных подканалов Tc соседних сот, а задержка декодирования становятся равной 2 символам OFDM.
Более конкретно, в двумерной области индекса SC подканала и индекса t времени существует компромисс отношения между максимальным количеством коллизий для включенных в блок подканала поднесущих и задержки декодирования. При передаче данных для периода времени, который короче периода 6 символов OFDM, скорость кодирования должна быть увеличена. Когда блоки разных подканалов, представленные как Tc, то есть подканала #3, подканала #4 и подканала #5, используются для 2 символов OFDM, а блок подканала, представленный как Ts, то есть подканал #91, используется для 3 символов OFDM, это эффективно для передачи данных, которые являются сравнительно короткими по длине и нуждаются в короткой задержке декодирования. Например, данные, которые являются сравнительно короткими по длине и нуждаются в короткой задержке декодирования, включают в себя данные канала персонального вызова. Как описано выше, способ использования подканала в двумерной области индекса SC подканала и индекса t времени, то есть то, какой подканал должен быть выделен для передачи конкретных данных, определяется согласно способу формирования канала управления и канала передачи данных в системе связи OFDMA.
(3) Сценарий выделения подканала в сотовой среде
Фиг.4 – блок-схема, иллюстрирующая процедуру выделения поднесущих, согласно варианту осуществления данного изобретения. Что касается Фиг.4, на этапе 411 базовая станция инициализирует необходимые параметры для выделения поднесущих, то есть параметр Q, представляющий размер Поля Галуа, параметр N, представляющий количество групп в одном символе OFDM и параметр , представляющий примитивный (базисный) элемент поля Галуа (Q). Кроме того, базовая станция формирует основную последовательность S0, используя инициализированные параметры Q, N и . Процесс формирования основной последовательности S0 был описан выше со ссылкой на Фиг.3.
На этапе 413 базовая станция формирует последовательность {Sm, } для определения подканалов в базовой станции, для которой должны быть выделены поднесущие, например, базовая станция #m. Процесс формирования последовательности {Sm, } для определения подканалов в базовой станции #m, как описано со ссылкой на Уравнение (4) и Уравнение (5), включает в себя первый этап формирования последовательности Sm, получаемой посредством перестановки основной последовательности S0, сформированной на этапе 411, m раз и второй этап формирования последовательности {Sm, } для определения подканалов в базовой станции #m. Процесс формирования последовательности {Sm, } для определения подканалов в базовой станции #m был описан выше со ссылкой на Уравнение (4) и Уравнение (5). Базовая станция может выполнить операцию этапа 413 каждый раз, когда происходит соответствующая ситуация, или согласно соответствующему чтению данных из таблицы данных, в которой предварительно сохранены данные ситуации.
На этапе 415 базовая станция выделяет подканалы для передачи данных, учитывая данные для передачи. Здесь базовая станция выделяет подканалы, которые будут использоваться для передачи данных, используя правило, описанное со ссылкой на Уравнение (7), его подробное описание будет опущено.
(4) Способ формирования пилот-канала (канала пилот-сигнала) в сотовой среде
В целом, в системе сотовой связи пилот-поднесущие (поднесущие пилот-сигнала) используются для оценки канала и идентификации соты, и данное изобретение предлагает схему для использования части подканалов в качестве пилот-каналов. В системе связи OFDMA для поддержания характеристик коллизии между подканалами, позиции поднесущих, составляющих каждый из подканалов, не должны быть изменены даже после того, как пилот-поднесущие вставлены в подканалы.
Поэтому данное изобретение предлагает схему для использования некоторых из подканалов, определенных в частотно-временной двумерной области в качестве пилот-каналов. При использовании некоторых из подканалов в качестве пилот-каналов, происходит максимум одна коллизия поднесущих между подканалами, выделенными для пилот-каналов, так, что предложенная схема является очень эффективной для системы сотовой связи, в которой коэффициент повторного использования частоты равен 1. Кроме того, терминал абонента может идентифицировать соты в зависимости от представления пилот-поднесущих в течение начального поиска соты или передачи обслуживания.
Кроме того, терминал абонента может определить относительный уровень сигнала соседней соты посредством использования пилот-поднесущих. Таким образом, в связи с тем, что позиции пилот-поднесущих являются разными для каждой соты, терминал абонента может выполнять поиск соты в зависимости от позиций увеличенных по уровню пилот-поднесущих, а не поднесущих данных. Здесь пилот-поднесущие увеличены по уровню на 3-6 [Дб] над поднесущими данных, предоставляя возможность терминалу абонента легко идентифицировать пилот-поднесущие (поднесущие пилот-сигнала). Таким образом, пилот-сигнал становится своего рода опорным сигналом для идентификации базовой станции и оценки канала.
(5) Схема выделения подканала для достижения выигрыша от разнесения
В системе связи OFDMA кодовая комбинация, идентичная предварительно переданной кодовой комбинации, может быть повторно передана в следующий момент времени, то есть кодовая комбинация, идентичная предварительно переданной кодовой комбинации, может быть отделена во временной области и повторно передана в качестве отдельного сигнала или та же самая кодовая комбинация может быть повторно передана в тот же самый момент времени. Например, система связи OFDMA использует последовательность преамбулы для достижения синхронизации между базовой станцией и терминалом абонента, и кодовые комбинации, имеющие одинаковую длину, повторяются в последовательности преамбулы. Поэтому одна и та же кодовая комбинация может быть повторно передана, как описано выше в системе OFDMA. Кроме того, когда предварительно переданная кодовая комбинация была ошибочной, идентичный код может быть передан повторно.
Данное изобретение предлагает схему выделения подканала для достижения выигрыша от разнесения во временной области и частотной области для случаев ретрансляции или повторной передачи одной и той же кодовой комбинации, как описано выше. Определенно, для достижения выигрыша от разнесения данное изобретение использует подканал, имеющий структуру, которая дает возможность битам каждой из повторяющихся одинаковых кодовых комбинаций быть переданными посредством поднесущих разных групп поднесущих. Кроме того, для достижения выигрыша от разнесения данное изобретение использует подканал, имеющий структуру, которая дает возможность битам повторно переданной кодовой комбинации быть переданным посредством поднесущей из группы поднесущих, которая отличается от группы поднесущих, которой принадлежит поднесущая, перенесшая предварительно переданную кодовую комбинацию.
Согласно данному изобретению для достижения выигрыша от разнесения группа поднесущих беспорядочно задается всякий раз при формировании подканала посредством поднесущих, отличным способом от описанного выше со ссылкой на Фиг.2 способа формирования подканала.
Другими словами, в описанном выше со ссылкой на Фиг.2 способе формирования подканала индексы групп поднесущих, которым принадлежит каждая из 96 поднесущих, составляющих подканал , когда подканал выделяется для предопределенного опорного периода времени (например, 6 периодов символа OFDM, как показано на Фиг.2) для предопределенной базовой станции в предопределенный момент времени аналогичны индексам групп поднесущих, которым принадлежит каждая из 96 поднесущих, составляющих подканал , когда подканал выделяется в момент времени, непосредственно следующий за предопределенным моментом времени.
Напротив, согласно данному изобретению индексы групп поднесущих беспорядочно перемежаются из условия, чтобы индексы групп поднесущих, которым принадлежит каждая из этих 96 поднесущих, составляющих подканал , когда подканал выделяется в предопределенный момент времени, стали отличными от индексов групп поднесущих, которым принадлежит каждая из этих 96 поднесущих, составляющих подканал , когда подканал выделяется в момент времени, непосредственно следующий за предопределенным моментом времени.
Например, если индексы групп поднесущих этих 96 поднесущих, составляющих подканал , выделенный в предопределенный момент времени, являются 0,1,2,3,…,93,94 и 95, то индексами групп поднесущих этих 96 поднесущих, составляющих подканал , выделенный в момент времени, непосредственно следующий за предопределенным моментом времени управляют, чтобы они стали 1,2,3,4,…,94,95 и 0. Для другого примера, если индексы групп поднесущих этих 96 поднесущих, составляющих подканал , выделенный в предопределенный момент времени, являются 0,1,2,3,…,93,94 и 95, то индексами групп поднесущих этих 96 поднесущих, составляющих подканал , выделенный в момент времени, непосредственно следующий за предопределенным моментом времени, управляют, чтобы они стали 3,11,1,7,…,90,78 и 36.
В первом примере выделение подканала выполнено посредством циклического смещения индексов групп поднесущих, составляющих подканал, для достижения выигрыша от разнесения. Напротив, во втором примере выделение подканала выполнено посредством беспорядочного формирования индексов групп составляющих подканал поднесущих, для достижения выигрыша от разнесения.
Как описано выше, согласно данному изобретению индексы групп поднесущих, составляющих подканал, изменяются всякий раз при выделении подканала для достижения выигрыша от разнесения.
Вместо того, чтобы изменять индексы групп поднесущих всякий раз при выделении подканала, как описано выше, в рамках данного изобретения может быть использован блок перемежения. То есть подканал может быть выделен согласно способу, описанному со ссылкой на Фиг.2, а индексы групп поднесущих, составляющих подканал, затем могут быть подвергнуты перемежению блоком перемежения (не показан) для достижения выигрыша от разнесения. Определенно, блок перемежения может быть вставлен между блоком 117 выделения подканалов и последовательно-параллельным преобразователем 119, изображенным на Фиг.1, из условия, чтобы блок перемежения выполнял перемежение индексов групп поднесущих, составляющих подканал, выделенный блоком 117 выделения подканалов.
Короче говоря, биты идентичной кодовой комбинации должны быть переданы посредством поднесущих, принадлежащих разным группам поднесущих, для достижения выигрыша от разнесения во временной области и частотной области, когда идентичная кодовая комбинация повторно передается, или периодически передается, как описано выше. В этом случае кодовая комбинация обычно перемежается на битовом уровне для достижения требуемого разнесения. Однако данное изобретение предлагает способ изменения индексов групп, как показано на Фиг.2, для каждого подканала в блоке 117 выделения подканалов. Эту операцию можно объяснить как перемежение индексов групп, а обычный блок перемежения, используемый при кодировании канала, может быть использован для такого перемежения индексов групп.
Например, при использовании дополнительного блока перемежения в качестве блока перемежения, индекс группы поднесущих k-ых поднесущих, включенных в подканал , изменяется на П(к), который может быть выражен Уравнением (8).
П(к)=(a×k+ )mod(Q-1) для =0,…,Q-2 |
П(k)=(b×k+ )mod(Q-1) для =Q-1 |
(8) |
В уравнении (8), каждое из a и b должно быть целым числом (Q-1), то есть целым числом, имеющим наибольший общий делитель 1 относительно (Q-1). Кроме того, аналогичный эффект может быть получен, даже когда подканал и переменная k меняют свои функции в Уравнении (8).
Фиг.5 – блок-схема, иллюстрирующая второй передатчик в системе связи OFDMA, согласно варианту осуществления данного изобретения. На Фиг.5 второй передатчик системы связи OFDMA включает в себя блок 511 вставки циклического избыточного кода (CRC), кодер 513, блок 515 отображения символов, блок 517 выделения подканалов, блок 519 перемежения, последовательно-параллельный преобразователь 521, блок 523 вставки пилот-символа, блок 525 обратного быстрого преобразования Фурье (IFFT), параллельно-последовательный преобразователь 527, блок 529 вставки защитного интервала, цифроаналоговый преобразователь 531 и радиочастотный процессор 533. Блок 511 вставки циклического избыточного кода (CRC), кодер 513, блок 515 отображения символов, последовательно-параллельный преобразователь 521, блок 523 вставки пилот-символа, блок 525 обратного быстрого преобразования Фурье (IFFT), параллельно-последовательный преобразователь 527, блок 529 вставки защитного интервала, цифроаналоговый преобразователь 531 и радиочастотный процессор 533 имеют конструкции, аналогичные блоку 111 вставки циклического избыточного кода (CRC), кодеру 113, блоку 115 отображения символов, последовательно-параллельному преобразователю 119, блоку 121 вставки пилот-символа, блоку 123 обратного быстрого преобразования Фурье (IFFT), параллельно-последовательному преобразователю 125, блоку 127 вставки защитного интервала, цифроаналоговому преобразователю 129 и радиочастотному процессору 131, в связи с этим, их подробное описание будет опущено.
Однако во втором передатчике, изображенном на Фиг.5, блок 517 выделения подканалов может изменять группы поднесущих, составляющих подканал, всякий раз при выделении подканала для достижения желательного выигрыша от разнесения. Другими словами, блок 517 выделения подканалов может выделить (назначить) подканал так же, как это делается блоком 117 выделения подканалов, изображенным на Фиг.1, а блок 519 перемежения может выполнить перемежение индексов групп поднесущих, составляющих подканал, выделенных блоком 517 выделения подканала.
Как следует из предшествующего описания, данное изобретение допускает выделение подканалов для максимизации количества идентифицируемых базовых станций в системе связи OFDMA. Кроме того, выделение подканалов согласно данному изобретению не допускает ухудшения производительности системы из-за коллизий подканалов посредством минимизации соотношения коллизий между подканалами между соседними базовыми станциями. Кроме того, данное изобретение максимизирует эффективность для поиска соты и оценки канала посредством использования некоторых из выделенных подканалов в качестве пилот-каналов. Кроме того, данное изобретение позволяет достичь выигрыша от разнесения посредством изменения групп составляющих подканал поднесущих всякий раз при выделении подканала.
В то время как данное изобретение было показано и описано со ссылкой на определенные предпочтительные варианты осуществления данного изобретения, специалистам в данной области техники будет понято, что могут быть сделаны различные изменения в варианте и деталях, не отступая от сущности и объема изобретения, как определено в соответствии с приложенной формулой изобретения.
Формула изобретения
1. Способ выделения подканалов каждой из множества базовых станций, включенных в систему беспроводной связи, которая делит всю полосу частот на множество полос поднесущих и включает в себя множество подканалов, каждый из которых представляет собой набор предопределенного количества полос поднесущих, включающий в себя этапы, на которых:
классифицируют полосы поднесущих за период и формируют количество групп поднесущих, равное количеству идентифицируемых базовых станций;
обнаруживают соответствующие полосы поднесущих в первый момент времени для конкретной базовой станции из каждой из групп поднесущих в соответствии с последовательностью;
выделяют полосы поднесущих, обнаруженные из каждой из групп, в качестве подканала для конкретной базовой станции и
выделяют другие полосы поднесущих в качестве другого подканала для конкретной базовой станции в момент времени, следующий за упомянутым первым моментом времени, причем упомянутые другие полосы поднесущих, составляющие упомянутый другой подканал, обнаруживаются из других групп поднесущих, отличных от групп поднесущих, которым принадлежат полосы поднесущих, выделенные в качестве подканала для конкретной базовой станции в упомянутый первый момент времени.
2. Способ по п.1, в котором этап формирования количества групп поднесущих включает в себя этап, на котором
делят предопределенный период на предопределенное количество периодов времени и
классифицируют полосы поднесущих на предопределенное количество групп в каждом из упомянутых периодов времени.
3. Способ по п.1, в котором последовательность представляет индексы поднесущих, выделенных в качестве первого подканала для каждой из базовых станций.
4. Способ по п.3, также включающий в себя этапы, на которых
выделяют первый подканал для конкретной базовой станции, а затем формируют новую последовательность посредством добавления в последовательность предопределенного смещения;
обнаруживают полосы поднесущих из каждой из групп в соответствии с новой последовательностью и
выделяют полосы поднесущих, обнаруженные из каждой из групп, в соответствии с новой последовательностью в качестве второго подканала для конкретной базовой станции.
5. Способ по п.1, в котором последовательность определена на поле Галуа.
6. Способ по п.1, в котором последовательность выражена как
S0= , 2, 3,… Q-2, Q-1,
где S0 – последовательность, Q – размер поля Галуа, а – базисный элемент поля Галуа (Q).
7. Способ по п.1, также включающий в себя этап передачи опорных сигналов так, чтобы опорные сигналы имели шаблон для идентификации базовых станций в конкретных полосах поднесущих из числа полос поднесущих, включенных в подканал.
8. Способ выделения подканалов для каждой из множества базовых станций, включенных в систему беспроводной связи, которая делит всю полосу частот на Q(Q-1) полос поднесущих и включает в себя Q подканалов, каждый из которых является набором (Q-1) полос поднесущих, включающий в себя этапы, на которых
(1) классифицируют Q(Q-1) полос поднесущих в предопределенные периоды и формируют (Q-1) групп поднесущих, количество которых равно количеству идентифицируемых базовых станций;
(2) обнаруживают полосы поднесущих, расположенные в соответствии с последовательностью для конкретной базовой станции, из Q полос поднесущих каждой из (Q-1) групп поднесущих посредством последовательного анализа с первой группы поднесущих до (Q-1)-й группы поднесущих;
(3) выделяют полосы поднесущих, обнаруженные из каждой из (Q-1) групп поднесущих, в качестве подканала для конкретной базовой станции;
(4) беспорядочно перемежают (Q-1) групп поднесущих и обнаруживают полосы поднесущих, расположенные в соответствии с беспорядочно перемеженной последовательностью для конкретной базовой станции, из Q полос поднесущих каждой из (Q-1) групп поднесущих; и
(5) выделяют полосы поднесущих, обнаруженные из каждой из перемеженных (Q-1) групп поднесущих, в качестве нового подканала для конкретной базовой станции.
9. Способ по п.8, в котором группа поднесущих, которая является набором полос поднесущих, обнаруженных из каждой из (Q-1) групп поднесущих на этапе (4), отличается от группы поднесущих, которая является набором полос поднесущих, обнаруженных во время организации выделения предыдущего канала.
10. Способ по п.8, в котором полосы поднесущих, обнаруженные из каждой из (Q-1) групп поднесущих на этапе (4), располагаются в последовательности, отличной от последовательности, в которой располагаются полосы поднесущих, обнаруженные во время выделения предыдущего канала, для получения выигрыша от разнесения.
11. Способ по п.8, в котором последовательность представляет индексы поднесущих, выделенных в качестве первого подканала для каждой из базовых станций.
12. Способ по п.11, также включающий в себя этапы, на которых
выделяют первый подканал для конкретной базовой станции, а затем формируют новую последовательность посредством добавления в последовательность предопределенного смещения;
обнаруживают полосы поднесущих из каждой из групп в соответствии с новой последовательностью и
выделяют полосы поднесущих, обнаруженные из каждой из групп, в соответствии с новой последовательностью в качестве второго подканала для конкретной базовой станции.
13. Способ по п.8, в котором последовательность определяется на поле Галуа.
14. Способ по п.8, в котором последовательность выражается как
S0= , 2, 3,…, Q-2, Q-1,
где S0 -последовательность, Q – размер поля Галуа, а – базисный элемент поля Галуа (Q).
15. Способ по п.8, также включающий в себя этап передачи опорных сигналов так, чтобы опорные сигналы имели шаблон для идентифицикации базовых станций в конкретных полосах поднесущих из числа полос поднесущих, включенных в подканал.
16. Способ выделения подканалов каждой из множества базовых станций, включенных в систему беспроводной связи, которая делит всю полосу частот на множество полос поднесущих и включает в себя множество подканалов, каждый из которых является набором предопределенного количества полос поднесущих, включающий в себя этапы, на которых:
классифицируют полосы поднесущих за период, формируют количество групп поднесущих, равное количеству идентифицируемых базовых станций, и выделяют индекс каждой из сформированных групп поднесущих;
обнаруживают соответствующие полосы поднесущих для конкретной базовой станции из каждой из групп поднесущих в соответствии с последовательностью и выделяют обнаруженные полосы поднесущих в качестве подканала для конкретной базовой станции;
перемежают индексы групп, назначенные группам поднесущих;
обнаруживают соответствующие полосы поднесущих для конкретной базовой станции из каждой из групп поднесущих в соответствии с последовательностью и
выделяют обнаруженные полосы поднесущих в качестве нового подканала для конкретной базовой станции.
17. Способ по п.16, в котором индексы групп перемежаются в соответствии с
П(k)=(a·k+ )mod(Q-1) для =0,…,Q-2;
П(k)=(b·k+ )mod(Q-1) для =Q-1,
где П(k) – индексы поднесущих согласно перемежению, каждое из а и b – целое число, имеющее наибольший общий делитель 1, – подканал, k – расположения поднесущих, включенных в подканал , a Q – размер поля Галуа.
18. Способ по п.16, в котором перемежение выполняется посредством циклического смещения индексов групп поднесущих, которым принадлежит каждая из поднесущих.
19. Способ по п.16, в котором перемежение выполняется посредством беспорядочного формирования индексов групп поднесущих, которым принадлежит каждая из поднесущих.
20. Способ выделения подканалов каждой из множества базовых станций, включенных в систему беспроводной связи, которая делит всю полосу частот на множество групп подканалов и создает каналы нисходящей линии связи посредством выбора поднесущих из каждой из групп подканалов каждой из базовых станций, передающих кодовую комбинацию, равную предварительно переданной кодовой комбинации, включающий в себя этапы, на которых перемежают индексы групп поднесущих так, чтобы индексы группы поднесущих, которой принадлежит каждая из поднесущих, составляющих подканал, повторно передаваемые конкретной базовой станции, отличались от индексов групп поднесущих, которым принадлежат каждые из поднесущих, составляющих подканал, ранее передаваемых конкретной базовой станции; и
обнаруживают соответствующие полосы поднесущих из каждой из перемеженных групп и выделяют обнаруженные полосы поднесущих в качестве нового подканала конкретной базовой станции.
21. Способ по п.20, в котором индексы группы перемежаются в соответствии с
П(k)=(a·k+ )mod(Q-1) для =0,…,Q-2;
П(k)=(b·k+ )mod(Q-1) для =Q-1,
где П(k) – индексы поднесущих, согласно перемежению, каждое из а и b – целое число, имеющее наибольший общий делитель 1, – подканал, k – расположения поднесущих, включенных в подканал , a Q – размер поля Галуа.
22. Способ по п.20, в котором перемежение выполняется посредством циклического смещения индексов групп поднесущих, которым принадлежит каждая из поднесущих.
23. Способ по п.20, в котором перемежение выполняется посредством беспорядочного формирования индексов групп поднесущих, которым принадлежит каждая из поднесущих.
24. Устройство для выделения подканалов каждой из множества базовых станций, включенных в систему беспроводной связи, которая делит всю полосу частот на множество полос поднесущих и включает в себя множество подканалов, каждый из которых является набором предопределенного количества полос поднесущих, включающее в себя
средство выделения подканала для классификации полос поднесущих в период, формирования количества групп поднесущих, равного количеству идентифицируемых базовых станций, обнаружения соответствующих полос поднесущих в конкретный момент времени для конкретной базовой станции из каждой из групп поднесущих в соответствии с последовательностью, выделения полос поднесущих, обнаруженных из каждой из групп, в качестве подканала для конкретной базовой станции и выделения других полос поднесущих в качестве другого подканала для конкретной базовой станции в момент времени, непосредственно следующий за упомянутым конкретным моментом времени, причем упомянутые другие полосы поднесущих, составляющие упомянутый другой подканал, обнаруживаются из других групп поднесущих, отличных от групп поднесущих, которым принадлежат полосы поднесущих, выделенные в качестве подканала для упомянутой конкретной базовой станции в упомянутый конкретный момент времени; и
средство передачи для передачи данных по подканалу, выделенному средством выделения подканала.
25. Устройство по п.24, в котором средство выделения подканала делит предопределенный период на предопределенное количество периодов времени и классифицирует полосы поднесущих на предопределенное количество групп в каждом из периодов времени, таким образом формируя количество групп поднесущих, равное количеству базовых станций.
26. Устройство по п.24, в котором последовательность представляет индексы поднесущих, выделенных в качестве первого подканала для каждой из базовых станций.
27. Устройство по п.26, в котором средство выделения подканала выделяет первый подканал конкретной базовой станции, формирует новую последовательность посредством добавления в последовательность предопределенного смещения, обнаруживает полосы поднесущих из каждой из групп в соответствии с новой последовательностью и выделяет полосы поднесущих, обнаруженные из каждой из групп в соответствии с новой последовательностью, в качестве второго подканала для конкретной базовой станции.
28. Устройство по п.24, в котором последовательность определяется на поле Галуа.
29. Устройство по п.24, в котором последовательность выражается как
S0= , 2, 3,…, Q-2, Q-1,
где S0 – последовательность, Q – размер поля Галуа, а – базисный элемент поля Галуа (Q).
30. Устройство по п.24, в котором средство передачи передает опорные сигналы так, чтобы опорные сигналы имели шаблон для идентификации базовой станции по конкретным полосам поднесущих из числа полос поднесущих, включенных в подканал.
31. Устройство для выделения подканалов каждой из множества базовых станций, включенных в систему беспроводной связи, которая делит всю полосу частот на Q(Q-1) полос поднесущих и включает в себя Q подканалов, каждый из которых является набором (Q-1) полос поднесущих, включающее в себя
средство выделения подканала для классификации Q(Q-1) полос поднесущих в предопределенный период, формирования (Q-1) групп поднесущих, количество которых равно количеству идентифицируемых базовых станций, обнаружения полос поднесущих, размещенных в соответствии с предопределенной последовательностью, для конкретной базовой станции из Q полос поднесущих каждой из (Q-1) групп поднесущих посредством последовательного анализа с первой группы поднесущих до (Q-1)-й группы поднесущих, выделения полос поднесущих, обнаруженных из каждой из (Q-1) групп поднесущих, в качестве подканала для конкретной базовой станции, беспорядочного перемежения (Q-1) групп поднесущих и обнаружения полос поднесущих, расположенных в соответствии с беспорядочно перемеженной последовательностью, для конкретной базовой станции из Q полос поднесущих каждой из (Q-1) групп поднесущих и выделения полос поднесущих, беспорядочно обнаруженных из каждой из (Q-1) групп поднесущих, в качестве нового подканала для конкретной базовой станции; и
средство передачи для передачи данных по подканалу, выделенному средством выделения подканала.
32. Устройство по п.31, в котором группа поднесущих, которая является набором полос поднесущих, обнаруженных из каждой из (Q-1) групп поднесущих средством выделения подканала, отличается от группы поднесущих, которая является набором полос поднесущих, обнаруженных во время организации выделения предыдущего канала.
33. Устройство по п.31, в котором полосы поднесущих, обнаруженные из каждой из (Q-1) групп поднесущих средством выделения подканала, располагаются в последовательности, отличной от последовательности, в которой располагаются полосы поднесущих, обнаруженные во время предыдущего выделения канала, для достижения выигрыша от разнесения.
34. Устройство по п.31, в котором последовательность представляет индексы поднесущих, выделенных в качестве первого подканала для каждой из базовых станций.
35. Устройство по п.34, в котором средство выделения подканала выделяет первый подканал для конкретной базовой станции, формирует новую последовательность посредством добавления в последовательность предопределенного смещения, обнаруживает полосы поднесущих из каждой из групп в соответствии с новой последовательностью, а затем выделяет полосы поднесущих, обнаруженные из каждой из групп в соответствии с новой последовательностью, в качестве второго подканала для конкретной базовой станции.
36. Устройство по п.31, в котором последовательность определяется на поле Галуа.
37. Устройство по п.31, в котором последовательность выражается как
S0= , 2, 3,…, Q-2, Q-1,
где S0 – предопределенную последовательность, Q – размер поля Галуа, а – базисный элемент поля Галуа (Q).
38. Устройство по п.31, в котором средство передачи передает опорные сигналы так, чтобы опорные сигналы имели шаблон для идентификации базовой станции, по конкретным полосам поднесущих из числа полос поднесущих, включенных в подканал.
39. Устройство для выделения подканалов каждой из множества базовых станций, включенных в систему беспроводной связи, которая делит всю полосу частот на множество полос поднесущих и включает в себя множество подканалов, каждый из которых является набором предопределенного количества полос поднесущих, включающее в себя
средство выделения подканала для классификации полос поднесущих в период формирования количества групп поднесущих, равного количеству идентифицируемых базовых станций, выделения индекса каждой из сформированных групп поднесущих, обнаружения соответствующих полос поднесущих для конкретной базовой станции из каждой из групп поднесущих в соответствии с последовательностью, выделения обнаруженных полос поднесущих в качестве подканала для конкретной базовой станции, перемежения индексов группы, выделенных группам поднесущих, обнаружения соответствующих полос поднесущих для конкретной базовой станции из каждой из групп поднесущих в соответствии с последовательностью и выделения обнаруженных полос поднесущих в качестве нового подканала для конкретной базовой станции; и
средство передачи для передачи данных по подканалу, выделенному средством выделения подканала.
40. Устройство по п.39, в котором индексы группы перемежаются в соответствии с
П(k)=(a·k+ )mod(Q-1) для =0,…,Q-2;
П(k)=(b·k+ )mod(Q-1) для =Q-1,
где П(k) – индексы поднесущих согласно перемежению, каждая из а и b – целое число, имеющее наибольший общий делитель 1, – подканал, k – расположения поднесущих, включенных в подканал , a Q – размер поля Галуа.
41. Устройство по п.39, в котором перемежение выполняется посредством циклического смещения индексов групп поднесущих, которым принадлежит каждая из поднесущих.
42. Устройство по п.39, в котором перемежение выполняется посредством беспорядочного формирования индексов групп поднесущих, которым принадлежит каждая из поднесущих.
43. Устройство для выделения подканалов каждой из множества базовых станций, включенных в систему беспроводной связи, которая делит всю полосу частот на множество групп подканалов и создает каналы нисходящей линии связи посредством выбора поднесущих из каждой из групп подканалов, каждая из базовых станций передает ключевую комбинацию, равную предварительно переданной ключевой комбинации, включающее в себя
средство выделения подканала для выделения подканала таким способом, чтобы индексы групп поднесущих, которым принадлежит каждая из поднесущих, составляющих подканал, повторно передаваемые конкретной базовой станции, отличались от индексов групп поднесущих, которым принадлежит каждая из поднесущих, составляющих подканал, ранее передаваемых конкретной базовой станции; и
средство перемежения для перемежения индексов групп поднесущих, которым принадлежит каждая из поднесущих, составляющих выделенный подканал.
44. Устройство по п.43, в котором индексы группы перемежаются в соответствии с
П(k)=(a·k+ )mod(Q-1) для =0,…,Q-2;
П(k)=(b·k+ )mod(Q-1) для =Q-1,
где П(k) – индексы поднесущих согласно перемежению, каждое из а и b – целое число, имеющее наибольший общий делитель 1, – подканал, k – расположения поднесущих, включенных в подканал , a Q – размер поля Галуа.
45. Устройство по п.43, в котором перемежение выполняется посредством циклического смещения индексов групп поднесущих, которым принадлежит каждая из поднесущих.
46. Устройство по п.43, в котором перемежение выполняется посредством беспорядочного формирования индексов групп поднесущих, которым принадлежит каждая из поднесущих.
РИСУНКИ
|
|