|
|
(21), (22) Заявка: 2006110045/09, 12.08.2004
(24) Дата начала отсчета срока действия патента:
12.08.2004
(30) Конвенционный приоритет:
29.08.2003 DE 10339844.9
(43) Дата публикации заявки: 10.08.2006
(46) Опубликовано: 27.10.2007
(56) Список документов, цитированных в отчете о поиске:
WO 01/97339 A1, 20.12.2001. RU 2114494 C1, 27.06.1998. RU 2145754 C1, 20.02.2000. DE 20120690 U1, 13.02.2003. ЕР 0671856 А1, 13.09.1995.
(85) Дата перевода заявки PCT на национальную фазу:
29.03.2006
(86) Заявка PCT:
EP 2004/009002 (12.08.2004)
(87) Публикация PCT:
WO 2005/029647 (31.03.2005)
Адрес для переписки:
103735, Москва, ул. Ильинка, 5/2, ООО “Союзпатент”, пат.пов. И.М.Захаровой
|
(72) Автор(ы):
БУССЕ Ральф Дитер (DE), ШТАРК Йоахим (DE), КЛЕЙН Харальд (DE), НЕЙХУИС Антони (DE)
(73) Патентообладатель(и):
АДЦ ГМБХ (DE)
|
(54) РАСПРЕДЕЛИТЕЛЬНО-ПРИСОЕДИНИТЕЛЬНЫЙ МОДУЛЬ
(57) Реферат:
Изобретение относится к телекоммуникационной и технике передачи данных. Распределительно-присоединительный модуль содержит корпус, в котором расположены доступные снаружи входные и выходные контакты для присоединения проводов и жил. Корпус выполнен с полостью, в которой расположена, по меньшей мере, одна печатная плата. Входные и выходные контакты расположены на противоположных торцевых сторонах корпуса и разъемно соединены с печатной платой. Входные контакты выполнены в виде, по меньшей мере, одной присоединительной колодки с зажимно-ножевыми контактами. Несущая входные контакты присоединительная колодка разъемно соединена с корпусом. Зажимно-ножевые контакты соединены с печатной платой, а соединение между передней панелью и корпусом выполнено с возможностью движения соединенной с передней панелью присоединительной колодки с вильчатыми контактами от печатной платы при устранении соединения. Технический результат – упрощение эксплуатации модуля за счет упрощения замены печатных плат. 18 з.п. ф-лы, 12 ил.
Изобретение относится к распределительно-присоединительному модулю согласно ограничительной части пункта 1 формулы изобретения.
Подобные распределительно-присоединительные модули для телекоммуникационной техники и техники передачи данных используются, например, в главных или коллокационных распределителях и служат для присоединения и разводки поступающих и отходящих жил кабелей.
Из DE 10029649 А1 известен распределительно-присоединительный модуль для телекоммуникационной техники и техники передачи данных, содержащий корпус, в котором расположены доступные снаружи входные и выходные контакты для присоединения проводов или жил, причем корпус выполнен с полостью, в которой между входными и выходными контактами расположены функциональные элементы. Входные и выходные контакты расположены на противоположных торцевых сторонах корпуса. Функциональные элементы выполнены в виде зажимно-ножевых контактов, причем выходные контакты также выполнены в виде зажимно-ножевых контактов или электрического вставного соединителя. Зажимно-ножевые контакты выполнены преимущественно с вильчатым контактом, посредством которого может быть создано электрическое соединение с силовым замыканием с функциональными элементами. При этом уже предлагалось заменять дефектные печатные платы, отделяя вильчатые контакты от печатной платы. Недостаток известного решения состоит в том, что этот процесс отделения довольно сложен, поскольку вильчатые контакты соединены с печатной платой с силовым замыканием. Кроме того, жилы при отделении должны быть удалены, а после замены снова присоединены.
В основе изобретения лежит задача создания распределительно-присоединительного модуля для телекоммуникационной техники и техники передачи данных, посредством которого значительно упрощалась бы замена печатных плат.
Эта задача решается посредством объекта с признаками пункта 1 формулы изобретения. Другие предпочтительные варианты осуществления изобретения приведены в зависимых пунктах.
Для решения этой задачи входные и выходные контакты разъемно соединены с печатной платой, причем несущая входные контакты присоединительная колодка разъемно соединена с корпусом посредством передней панели, зажимно-ножевые контакты соединены с печатной платой посредством вильчатых контактов, а соединение между передней панелью и корпусом выполнено с возможностью движения соединенной с передней панелью присоединительной колодки вместе с вильчатыми контактами от печатной платы при устранении соединения. За счет этого необходимое усилие для создания или устранения соединения с силовым замыканием между печатной платой и вильчатыми контактами прикладывается за счет соединения между передней панелью и корпусом. В зависимости от варианта выполнения это соединение может быть, однако, очень легко создано или устранено с помощью инструментов. Другое преимущество заключается в том, что при симметричном соединении между передней панелью и корпусом передача усилия на присоединительную колодку происходит также симметрично и равномерно. Благодаря очень простой возможности замены печатной платы распределительно-присоединительный модуль может иметь универсальное применение и обеспечивать любые замены или расширения. Так, можно использовать модуль в качестве сплиттера для отделения речевой службы и службы передачи данных для ADSL-подключений и, при необходимости, заменять его, в случае если клиент пожелает перейти позже на VDSL-подключение. Точно так же печатная плата за счет соответствующей топологии может быть преобразована для SDSL-подключения или для чисто речевых подключений. Точно также просто путем замены печатной платы можно интегрировать, например, защиту от перенапряжения.
В другом варианте осуществления изобретения соединение между передней панелью и корпусом включает в себя, по меньшей мере, один приданный передней панели винт и выполненную в корпусе резьбу, причем винт фиксирован на передней панели. Преимущественно передней панели при этом приданы два винта для достижения описанной выше симметрии. За счет фиксации винта на передней панели при ввинчивании винта движутся передняя панель и соединенная с ней присоединительная колодка.
В другом предпочтительном варианте осуществления изобретения винт фиксирован на передней панели посредством канавки между головкой винта и резьбой, причем винт соединен с передней панелью преимущественно без выпадения. Для этого винт вставляют в вырез передней панели и смещают канавкой в суженный участок. Затем присоединительную колодку вставляют через вырез и фиксируют с передней панелью.
В другом предпочтительном варианте осуществления изобретения корпус выполнен с упором, причем печатная плата во вставленном состоянии своей предназначенной для входных контактов торцевой стороной находится за упором. Это препятствует выдвиганию печатной платы из корпуса даже при устранении соединения. Она фиксируется упором, причем упор выполнен с возможностью воспринимать необходимые ответные усилия при отделении вильчатых контактов. Печатную плату для ее удаления тогда слегка приподнимают и извлекают.
В другом предпочтительном варианте осуществления изобретения боковые стенки имеют направляющие прорези для опирания печатной платы, причем преимущественно одна кромка направляющей прорези выполнена косой. В варианте выполнения с упором печатная плата должна удерживаться при вдвигании и выдвигании косо, с тем, чтобы ее можно было направлять по упору. В вариантах выполнения без упора направляющие прорези могут быть выполнены также прямыми.
В другом предпочтительном варианте осуществления изобретения корпус выполнен из металла. Помимо экранирования высоких частот это, при необходимости, обеспечивает простое соединение с землей.
В другом предпочтительном варианте дно и крышка корпуса выполнены в виде отдельных деталей с возможностью соединения с боковыми стенками, преимущественно с помощью резьбового соединения.
В другом предпочтительном варианте осуществления изобретения крышка и/или дно выполнены из листа пружинной стали, причем на этом листе расположены профильные вилки, посредством которых распределительно-присоединительный модуль может защелкиваться на профильных штангах. В этом варианте крышка и/или дно, по меньшей мере, в зоне профильных вилок свинчены с боковыми стенками.
В другом предпочтительном варианте осуществления изобретения на корпусе расположены пружинящие контакты, соединенные с печатной платой и создающие контакт с землей.
В другом предпочтительном варианте осуществления изобретения нижние и верхние профильные вилки выполнены из одной отдельной детали из листового металла, свинченной преимущественно с боковыми стенками корпуса.
Преимущественно также пружинящие контакты для создания соединения с землей для печатной платы расположены на детали из листового металла.
В другом предпочтительном варианте осуществления изобретения задняя стенка корпуса разъемно соединена с корпусом. Этот вариант используется преимущественно тогда, когда присоединительные колодки с помощью предварительного электрического монтажа должны быть установлены на обратной стороне. Альтернативная возможность состоит в выполнении задней стенки корпуса с боковыми прорезями, так что присоединительные колодки или вставные соединители могут быть вставлены сбоку и фиксированы. Если требуется несколько таких прорезей, то их выполняют преимущественно попеременно слева и справа на задней стенке корпуса, чтобы как можно меньше нарушить ее механическую стабильность.
В другом предпочтительном варианте осуществления изобретения в боковые стенки корпуса могут быть вставлены кабельные направляющие.
В другом предпочтительном варианте осуществления изобретения каждой передней панели приданы две присоединительные колодки, а на противоположной торцевой стороне расположена присоединительная колодка или вставной соединитель. Этот вариант используется преимущественно для DSL-подключений в главных распределителях. При этом первая присоединительная колодка в передней панели предназначена для абонентских POTS-карт, а вторая присоединительная колодка в передней панели – для абонента, причем присоединительная колодка или вставной соединитель соединен с поставщиком услуг.
В другом предпочтительном варианте осуществления изобретения контактные элементы присоединительной колодки механически оперты в присоединительной колодке с возможностью электрического монтажа присоединительной колодки предварительно жилами вне распределительно-присоединительного модуля. За счет этого можно также отделить присоединительную колодку с полным электрическим монтажом от печатной платы и заменить печатную плату без новой распайки жил.
Благодаря изобретению можно заменять печатные платы, не прерывая телефонную связь. Для этого посредством короткозамыкающей перемычки замыкают накоротко соответственно один контакт первой присоединительной колодки с одним контактом второй присоединительной колодки. Затем за счет отделения передней панели присоединительные колодки с полным электрическим монтажом можно отделить от печатной платы, не прерывая телефонную связь.
Изобретение более подробно поясняется ниже с помощью предпочтительного примера его осуществления. На чертежах изображено:
– фиг.1: в перспективе вид сзади распределительно-присоединительного модуля;
– фиг.2: в перспективе вид спереди распределительно-присоединительного модуля без крышки;
– фиг.3: передняя панель с двумя вставленными присоединительными колодками и винтами;
– фиг.4: передняя панель без присоединительных колодок и винтов;
– фиг.5: винт в перспективе;
– фиг.6: в перспективе корпус без крышки и дна;
– фиг.7: вид сбоку боковой стенки корпуса;
– фиг.8: подробный вид в зоне резьбы для размещения винта;
– фиг.9: в перспективе деталь из листового металла с нижними и верхними профильными вилками и пружинящими контактами;
– фиг.10: в перспективе и в разобранном виде присоединительная колодка для печатных плат;
– фиг.11: сечение составленной присоединительной колодки;
– фиг.12: в перспективе вид сзади присоединительной колодки.
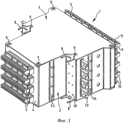
На фиг.1 изображен распределительно-присоединительный модуль 1, содержащий корпус 2 с крышкой 3. На задней стороне 4 корпуса 2 друг над другом расположены четыре присоединительные колодки 5, причем каждая присоединительная колодка 5 выполнена в виде 8-двухжильной присоединительной колодки. Присоединительные колодки 5 оснащены зажимно-ножевыми контактами, которые образуют выходные контакты распределительно-присоединительного модуля 1. На противоположной торцевой стороне расположены четыре ряда по две присоединительные колодки 5, которые образуют входные контакты распределительно-присоединительного модуля 1. При этом следует отметить, что термины «входные и выходные контакты» служат только для определения, поскольку поток сигналов может быть в обоих направлениях. Внутри распределительно-присоединительного модуля 1 имеется полость, в которой расположены печатные платы 6, причем соответственно, по меньшей мере, одна печатная плата 6 расположена между двумя соответствующими присоединительными колодками 5 передней стороны, что видно на фиг.2. Относящиеся к другому ряду присоединительные колодки 5 передней стороны соединены передней панелью 7 с корпусом 2, что более подробно поясняется ниже. Крышка 3 выполнена с двумя профильными вилками 8, посредством которых распределительно-присоединительный модуль 1 может быть защелкнут на профильных штангах (не показаны). Точно так же на дне (не показано) расположены две такие профильные вилки. Для достижения достаточной прочности крышка 3 и дно выполнены из листа пружинной стали, а остальной корпус 2 может быть выполнен из простой нержавеющей стали. Крышка 3 и дно свинчены с корпусом 2 винтами 9, причем соответственно, по меньшей мере, один винт 9 расположен в зоне профильных вилок 8. В корпусе 2 выполнены отверстия 10, посредством которых пружинящие контакты 11 могут быть закреплены на корпусе. Пружинящие контакты 11 состоят преимущественно из двух загнутых друг к другу плоских пружин, как это показано на фиг.9. Плоские пружины в передней части отогнуты друг от друга, к результате чего возникает открытый участок, облегчающий надевание печатной платы 6. К открытому участку примыкает контактный участок, где друг к другу загнуты плоские пружины.
Посредством пружинящих контактов 11 может быть реализовано соединение с землей печатной платы 6 с корпусом 2 на массу. Это представляет интерес, в частности, тогда, когда на печатной плате 6 расположены защитные элементы, такие как разрядник защиты от перенапряжений. Пружинящие контакты 11 контактируют при этом преимущественно с печатной платой 6 с верхней и нижней сторон, причем, в принципе, достаточно одностороннего контактирования. Пружинящие контакты 11 могут быть при этом расположены с обеих сторон корпуса 2, а также с одной стороны. Это зависит от топологии печатной платы и отводимых на массу сил тока. Кроме того, корпус 2 имеет отверстия для кабельных направляющих 13 и направляющие прорези 14 для печатных плат 6.
На фиг.3 изображена передняя панель 7 с двумя вставленными присоединительными колодками 5 и двумя винтами 15. Как видно, в частности, на фиг.4, передняя панель 7 имеет вырезы 12, в которые могут быть вставлены присоединительные колодки 5 и зафиксированы в них. К этим вырезам 12 с боков примыкают шлицеобразные участки 16. Винты 15 выполнены между головкой 17 и резьбовой частью 18 с канавкой 19, причем диаметр резьбовой части 18 больше ширины шлицеобразных участков 16, а диаметр в зоне канавки 19 меньше ширины шлицеобразных участков, что показано на фиг.5. Таким образом, винт 15 можно вставить в вырез 12 для присоединительных колодок 5 и сместить вдоль канавки 19 в шлицеобразный участок 16. Если затем вставить и зафиксировать присоединительные колодки 5, то оба винта 15 будут фиксированы на передней панели 7 без выпадения, однако установлены с возможностью вращения. Вследствие этого при вращении винта 15 в ответной резьбе движение винта 15 приводит к принудительному движению передней панели 7 и присоединительных колодок 5. При ввинчивании, следовательно, винта 15 в ответную резьбу корпуса присоединительная колодка 5 движется к печатной плате 6. Зажимно-ножевые контакты выполнены с вильчатыми контактами, которые надеваются на печатную плату 6 и контактируют с ней.
Прежде чем более подробно описать конструкцию корпуса, следует, прежде всего, с помощью фиг.10-12 более подробно пояснить предпочтительный вариант выполнения присоединительной колодки 5. Посредством этого варианта выполнения присоединительные колодки могут быть предварительно снабжены электрическим монтажом, а затем соединены с печатной платой.
На фиг.10 в перспективе изображена присоединительная колодка 5. Присоединительная колодка 5 содержит первую корпусную деталь 20, вторую корпусную деталь 30 и множество контактных элементов 40. Первая корпусная деталь 20 выполнена с зажимными ребрами 21, направляющими проушинами 22 для проводов и фиксирующими носиками 23. Вторая корпусная деталь 30 выполнена с фиксирующими отверстиями 31 и фиксирующими носиками 32. Обращенная к печатной плате часть второй корпусной детали 30 образует гребенчатый участок, на внутренних сторонах которого вверху и внизу расположены ребра 33, что частично видно на фиг.12, причем ребра 33 в передней части скошены. Благодаря скосу вставной соединитель легче надеть на печатную плату. Контактные элементы 40 содержат зажимно-ножевой контакт 41 и вильчатый контакт 42, причем зажимно-ножевой контакт 41 и вильчатый контакт 42 развернуты по отношению друг к другу примерно на 45°. Вильчатый контакт 42 имеет два скругленных вогнутых контактных участка 43. Зажимно-ножевые контакты 41 контактных элементов 40 вставляют в промежутки между зажимными ребрами 21, где они механически фиксированы. Затем вторую корпусную деталь 30 защелкивают на первой корпусной детали 20, причем фиксирующие носики 23 входят в фиксирующие отверстия 31. Контактные элементы 40 механически опираются нижними кромками 44 и/или нижней кромкой 45 зажимно-ножевых контактов 41 на механически упоры (не показаны) второй корпусной детали 30.
Это составленное состояние показано на фиг.11 и 12. При этом фиг.11 представляет сечение присоединительной колодки, а место разреза лежит между двумя зажимными ребрами. Как видно, в частности, на фиг.11, нижняя кромка 45 опирается на упор второй корпусной детали 30. Контактные элементы 40 механически удерживаются при этом в присоединительной колодке 5 без выпадения, так что в этом состоянии к зажимно-ножевому контакту 41 может быть подключена одна жила без выдавливания контактного элемента 40 усилиями подключения. Механические усилия подключения воспринимаются при этом механическими упорами второй корпусной детали 30. Ребра 33 рассчитаны по высоте так, что контактные участки 43 выступают. Таким образом, возникает достаточное контактное давление между контактным участком 43 и расположенной на печатной плате контактной дорожкой.
На фиг.6 корпус 2 изображен в перспективе без крышки и дна. В передней части корпус 2 выполнен с двумя торцевыми поверхностями 50. В каждой торцевой поверхности 50 выполнены четыре резьбы 51, в которые могут быть ввинчены винты 15. В боковых стенках выполнены отверстия 52, в которые могут быть вставлены кабельные направляющие 13. Через отверстия 52 может отводиться тепло потерь, вырабатываемое функциональными элементами на печатной плате. Видны также отверстия 10 для пружинящих контактов. Боковые стенки выполнены с двумя углублениями 53, в которых выполнены направляющие прорези 14, причем их точная конфигурация лучше видна на фиг.7. При этом видно, что верхняя кромка направляющей прорези 14 проходит наискось вниз, а затем переходит в горизонтальный участок. За счет этого печатную плату можно вставить с передней стороны наискось сверху, пока она не западет за упор 54. Упор 54 изображен на фиг.8 в увеличенном виде. Упор 54 при этом немного выдается за воображаемую среднюю линию резьбы 51. Во вставленном состоянии печатная плата прилегает тогда к нижней кромке упора 54. В средней части корпус выполнен с направленными внутрь лапками 55, имеющими отверстия 56 с резьбой, посредством которых крышка и дно привинчиваются к корпусу 2. Задняя стенка 57 корпуса 2 выполнена с вырезами 58, аналогичными вырезам 12 передней панели 7. В эти вырезы 12 могут быть вставлены и затем фиксированы в них присоединительные колодки 5.
На фиг.9 изображен возможный вариант выполнения детали 60 из листового металла, посредством которой профильные вилки 8 и пружинящие контакты 11 могут быть реализованы в виде одного общего конструктивного элемента. Профильные вилки 8 согнуты на заднем участке U-образно и переходят затем в перемычку 61, от которой отходят пружинящие контакты 11. Этот U-образный участок может воспринимать изгибающие усилия, возникающие при защелкивании на профильных штангах 62, не сгибая пружинящие контакты 11. Деталь 60 из листового металла может быть свинчена затем через отверстия 63 в перемычке 61 с корпусом. В этом варианте выполнения крышка и дно необязательно должны изготавливаться из пружинящего материала, а могут быть выполнены, как и остальной корпус, из простой нержавеющей стали. При этом возможно далее выполнение крышки, дна и остального корпуса за одно целое.
Перечень ссылочных позиций
1 – распределительно-присоединительный модуль,
2 – корпус,
3 – крышка,
4 – обратная сторона,
5 – присоединительная колодка,
6 – печатная плата,
7 – передняя панель
8 – профильные вилки,
9 – винты,
10 – отверстие,
11 – пружинящий контакт,
12 – вырезы,
13 – кабельная направляющая,
14 – направляющая прорезь,
15 – винт,
16 – шлицеобразный участок,
17 – головка винта,
18 – резьбовая часть,
19 – канавка,
20 – первая корпусная деталь,
21 – зажимное ребро,
22 – направляющие проушины для проводов,
23 – фиксирующие носики,
30 – вторая корпусная деталь,
31 – фиксирующие отверстия,
32 – фиксирующие носики,
33 – ребра,
40 – контактный элемент,
41 – зажимно-ножевой контакт,
42 – вильчатый контакт,
43 – контактный участок,
44 – нижняя кромка,
45 – нижняя кромка,
50 – торцевая поверхность,
51 – резьба,
52 – отверстие,
53 – углубление,
54 – упор,
55 – лапка,
56 – отверстие,
57 – задняя стенка,
58 – вырез,
60 – деталь из листового металла,
61 – перемычка,
62 – профильная штанга,
63 – отверстие.
Формула изобретения
1. Распределительно-присоединительный модуль для телекоммуникационной техники и техники передачи данных, содержащий корпус, в котором расположены доступные снаружи входные и выходные контакты для присоединения проводов и жил, причем корпус выполнен с полостью, в которой расположена, по меньшей мере, одна печатная плата, а входные и выходные контакты расположены на противоположных торцевых сторонах корпуса, причем входные контакты выполнены в виде, по меньшей мере, одной присоединительной колодки с зажимно-ножевыми контактами, отличающийся тем, что входные и выходные контакты с возможностью разъема соединены с печатной платой (6), а несущая входные контакты присоединительная колодка (5) с возможностью разъема соединена с корпусом (2) посредством передней панели (7), зажимно-ножевые контакты (41) соединены с печатной платой (6) посредством вильчатых контактов (42), а соединение между передней панелью (7) и корпусом (2) выполнено с возможностью движения соединенной с передней панелью (7) присоединительной колодки (5) с вильчатыми контактами (42) от печатной платы (6) при устранении соединения.
2. Модуль по п.1, отличающийся тем, что соединение между передней панелью (7) и корпусом (2) включает в себя, по меньшей мере, один приданный передней панели (7) винт (15) и выполненную в корпусе (2) резьбу (51), причем винт (15) фиксирован на передней панели (7).
3. Модуль по п.2, отличающийся тем, что винт (15) фиксирован на передней панели (7) посредством канавки (19) между головкой (17) винта и резьбой (18).
4. Модуль по п.2 или 3, отличающийся тем, что винт (15) соединен с передней панелью (7) без выпадения.
5. Модуль по п.1, отличающийся тем, что корпус (2) выполнен с упором (54), причем печатная плата (6) во вставленном состоянии своей предназначенной для входных контактов торцевой стороной находится за упором (54).
6. Модуль по п.5, отличающийся тем, что боковые стенки корпуса имеют направляющие прорези (14) для опирания печатной платы (6), причем одна кромка направляющей прорези (14) выполнена скошенной.
7. Модуль по п.1, отличающийся тем, что корпус (2) выполнен из металла.
8. Модуль по п.7, отличающийся тем, что дно и крышка (3) корпуса (2) выполнены в виде отдельных деталей с возможностью соединения с боковыми стенками.
9. Модуль по п.8, отличающийся тем, что крышка (3) и/или дно выполнены из листа пружинной стали, на котором расположены профильные вилки (8), посредством которых модуль (1) может быть защелкнут на профильных штангах (62).
10. Модуль по п.9, отличающийся тем, что крышка (3) и/или дно свинчены с боковыми стенками в зоне профильных вилок (8).
11. Модуль по одному из пп.7-10, отличающийся тем, что на корпусе (2) расположены пружинящие контакты (11), соединенные с печатной платой (6) и создающие соединение с землей.
12. Модуль по п.9, отличающийся тем, что нижние и верхние профильные вилки (8) сформованы из детали (60), выполненной из листового металла.
13. Модуль по п.12, отличающийся тем, что деталь (60) из листового металла свинчена с корпусом (2).
14. Модуль по п.13, отличающийся тем, что пружинящие контакты (11) соединены с деталью (60) из листового металла.
15. Модуль по п.1, отличающийся тем, что задняя стенка (57) корпуса соединена с возможностью разъема с корпусом (2).
16. Модуль по п.1, отличающийся тем, что задняя стенка (57) корпуса выполнена с боковыми прорезями, в которые сбоку могут быть вставлены и фиксированы в них присоединительные колодки (5).
17. Модуль по п.1, отличающийся тем, что в боковые стенки корпуса (2) могут быть вставлены кабельные направляющие (13).
18. Модуль по п.1, отличающийся тем, что каждой передней панели (7) приданы две присоединительные колодки (5), а на противоположной торцевой стороне расположена одна присоединительная колодка (5) или один вставной соединитель.
19. Модуль по п.18, отличающийся тем, что контактные элементы (40) присоединительных колодок (5) механически оперты в присоединительных колодках (5) с возможностью предварительного электрического монтажа присоединительных колодок (5) с жилами вне модуля.
РИСУНКИ
|
|