|
|
(21), (22) Заявка: 2005138596/09, 12.12.2005
(24) Дата начала отсчета срока действия патента:
12.12.2005
(46) Опубликовано: 27.10.2007
(56) Список документов, цитированных в отчете о поиске:
SU 1548817 A1, 07.03.1990. RU 2187866 С1, 20.08.2002. US 4647877 A, 03.03.1987. EP 0424536 A1, 02.05.1991.
Адрес для переписки:
420111, г.Казань, ул. К. Маркса, 10, КГТУ им. А.Н. Туполева, Отдел интеллектуальной собственности
|
(72) Автор(ы):
Кузнецов Дмитрий Игоревич (RU), Крючатов Владимир Иванович (RU)
(73) Патентообладатель(и):
Казанский Государственный технический университет им. А.Н. Туполева (RU)
|
(54) МИКРОПОЛОСКОВАЯ НАГРУЗКА
(57) Реферат:
Изобретение относится к радиотехнике, а более конкретно – к технике сверхвысоких частот (СВЧ), и может быть использовано в радиолокации, радиосвязи и измерительной технике. Техническим результатом является увеличение рассеиваемой мощности в импульсном режиме, повышение удобства и безопасности регулировки устройства, возможность подстройки согласования устройства. Микрополосковая нагрузка содержит плату в виде пластины из диэлектрического материала с электропроводным экраном, входной микрополосковой линией из электропроводного материала и короткозамыкателем. Поглощающий слой из резистивного материала с подключенными параллельно элементами из электропроводного материала гальванически включен между входной микрополосковой линией и короткозамыкателем. Нагрузка также содержит дополнительный электропроводный экран, причем над платой в виде пластины размещено с зазором друг над другом N, где N – натуральный ряд чисел, дополнительных пластин из диэлектрического материала с коэффициентом теплопроводности больше, чем коэффициент теплопроводности материала платы. Между N дополнительными пластинами размещено также N-1 дополнительных поглощающих слоев из резистивного материала с подключенными параллельно дополнительными элементами из электропроводного материала. Расположенные в зазорах элементы выполнены прерывистыми и примыкающими к боковым кромкам поглощающих слоев, элементы выполнены из электропроводного материала с температурой плавления ниже, чем температуры плавления резистивного материала и электропроводного материала микрополосковой линии и короткозамыкателя. Дополнительный электропроводный экран выполнен нанесенным на верхнюю поверхность N-й дополнительной пластины из диэлектрического материала и имеет толщину и теплоемкость более толщины и теплоемкости N-й дополнительной пластины из диэлектрического материала. Электропроводный экран и плата могут быть выполнены с отверстием под поглощающим слоем, содержащим регулировочный вкладыш из электропроводного материала, у которого фазовые превращения наступают при температуре ниже температур плавления резистивного материала и электропроводного материала микрополосковой линии и короткозамыкателя. Толщина зазоров между пластинами может уменьшаться в направлении от входной микрополосковой линии к короткозамыкателю. Толщина зазоров между всеми пластинами и толщина всех пластин может уменьшаться в направлении от платы к N-й пластине, а ширина пластин – увеличиваться в направлении от платы к N-й пластине. Элементы могут быть выполнены прерывистыми в виде примыкающих к боковым кромкам поглощающих слоев шлейфов, величина прерываний может увеличиваться по направлению от входной микрополосковой линии к короткозамыкателю. Ширина поглощающих слоев может быть различна, и их боковые кромки могут быть не расположены друг над другом. 5 з.п. ф-лы, 4 ил.
Изобретение относится к радиотехнике, а более конкретно – к технике сверхвысоких частот (СВЧ), и может быть использовано в радиолокации, радиосвязи и измерительной технике.
Известна СВЧ-нагрузка, содержащая диэлектрическую плату в виде регулировочной пластины, на одной стороне которой расположен входной СВЧ-тракт, а на другой стороне – поглощающий СВЧ-энергию слой, на который нанесен электропроводный экран, являющийся короткозамыкателем, причем регулировка осуществляется выбором величины диэлектрической проницаемости пластины, влияющей на выбор толщины поглощающего СВЧ-энергию слоя (А.с. №1483525, МПК H01P 1/26, БИ №20, 1989).
Недостатками указанного устройства являются: во-первых, малая рассеиваемая мощность, т.к. мала площадь поверхности резистивного материала; во-вторых, малая рассеиваемая мощность в импульсном режиме, т.к. отсутствуют аккумуляторы тепла; в-третьих, неудобная и небезопасная регулировка устройства, т.к. регулировочная пластина расположена в середине устройства и к ней нет свободного доступа, а также она соприкасается непосредственно с раскаленным поглощающим СВЧ-энергию слоем.
Известна взятая в качестве прототипа микрополосковая нагрузка в составе аттенюатора, содержащая плату в виде пластины из диэлектрического материала, на нижней стороне которой расположен электропроводный экран, а на верхней стороне – входная и выходная микрополосковые линии из электропроводного материала, причем выходная микрополосковая линия может служить короткозамыкателем, поглощающий слой из резистивного материала с подключенными параллельно элементами из электропроводного материала, поглощающий слой гальванически включен между входной микрополосковой линией и короткозамыкателем, а также содержащая дополнительный электропроводный экран, при этом дополнительный электропроводный экран наносится непосредственно на резистивный слой и является регулятором резистивных потерь, причем выходная микрополосковая линия может работать короткозамыкателем как с электрически разомкнутым концом (при четвертьволновой электрической длине, являясь шлейфом с открытым концом), так и с замкнутым концом (при изготовлении по микрополосковой технологии напыление электропроводного материала происходит не только на верхнюю, но и на боковую часть подложки, т.е. происходит замыкание через край подложки) (А.с. №1548817, МПК Н01Р 1/22, БИ №9, 1990).
Недостатками указанного устройства являются: во-первых, малая рассеиваемая мощность, т.к. мала площадь поверхности резистивного материала; во-вторых, малая рассеиваемая мощность в импульсном режиме, т.к. отсутствуют аккумуляторы тепла; в-третьих, неудобная и небезопасная регулировка устройства, т.к. дополнительный электропроводный экран, выполняющий роль регулятора, соприкасается непосредственно с раскаленным и находящимся под напряжением резистивным слоем; в-четвертых, невозможность подстройки согласования устройства, т.к. дополнительный электропроводный экран регулирует лишь величину резистивных потерь.
Решаемой технической задачей изобретения является, во-первых, увеличение рассеиваемой мощности; во-вторых, увеличение рассеиваемой мощности в импульсном режиме; в-третьих, повышение удобства и безопасности регулировки устройства; в-четвертых, возможность подстройки согласования устройства.
Решаемая техническая задача в микрополосковой нагрузке, содержащей плату в виде пластины из диэлектрического материала, на нижней стороне которой расположен электропроводный экран, а на верхней стороне – входная микрополосковая линия из электропроводного материала и короткозамыкатель из электропроводного материала, поглощающий слой из резистивного материала с подключенными параллельно элементами из электропроводного материала, причем поглощающий слой гальванически включен между входной микрополосковой линией и короткозамыкателем, а также содержащей дополнительный электропроводный экран, достигается тем, что над платой в виде пластины размещено с зазором друг над другом N, где N – натуральный ряд чисел, дополнительных пластин из диэлектрического материала с коэффициентом теплопроводности больше, чем коэффициент теплопроводности материала платы, а также между N дополнительными пластинами N-1 дополнительных поглощающих слоев из резистивного материала с подключенными параллельно дополнительными элементами из электропроводного материала, гальванически включенных между входной микрополосковой линией и короткозамыкателем, причем все поглощающие слои с подключенными параллельно элементами расположены в зазорах между пластинами, причем расположенные в зазорах элементы выполнены прерывистыми и примыкающими к боковым кромкам поглощающих слоев, элементы выполнены из электропроводного материала с температурой плавления ниже, чем температуры плавления резистивного материала и электропроводного материала микрополосковой линии и короткозамыкателя, причем дополнительный электропроводный экран выполнен нанесенным на верхнюю поверхность N-й дополнительной пластины из диэлектрического материала и имеет толщину и теплоемкость более толщины и теплоемкости N-й дополнительной пластины из диэлектрического материала. Электропроводный экран и плата могут быть выполнены с отверстием под поглощающим слоем, содержащим регулировочный вкладыш из электропроводного материала, у которого фазовые превращения наступают при температуре ниже температур плавления резистивного материала и электропроводного материала микрополосковой линии и короткозамыкателя. Толщина зазоров между пластинами может быть выполнена уменьшающейся в направлении от входной микрополосковой линии к короткозамыкателю. Толщина зазоров между всеми пластинами и толщина всех пластин могут быть выполнены уменьшающимися в направлении от платы к N-й пластине, а ширина пластин может быть выполнена увеличивающейся в направлении от платы к N-й пластине. Элементы могут быть выполнены прерывистыми в виде примыкающих к боковым кромкам поглощающих слоев шлейфов, величина прерываний может быть выполнена увеличивающейся по направлению от входной микрополосковой линии к короткозамыкателю. Ширина поглощающих слоев может быть выполнена различной, и их боковые кромки могут быть выполнены не расположенными друг над другом.
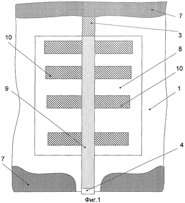
На приведенных Фиг.1 – 4 изображены примеры конкретной реализации предложенного устройства (на Фиг.1, 3 – виды с условно частично удаленной верхней пластиной и дополнительным электропроводным экраном; на Фиг.2, 4 – виды устройства в разрезе (вид со стороны входной микрополосковой линии)).
Пример конкретной реализации предложенного устройства (см. Фиг.1, 2) содержит плату в виде пластины 1 из диэлектрического материала, на нижней стороне которой расположен электропроводный экран 2, а на верхней стороне – входная микрополосковая линия 3 из электропроводного материала и короткозамыкатель 4 из электропроводного материала, поглощающий слой 5 из резистивного материала (например, поглощающего энергию СВЧ-электромагнитных колебаний) с подключенными параллельно элементами 6 из электропроводного материала, причем поглощающий слой 5 гальванически включен между входной микрополосковой линией 3 и короткозамыкателем 4, а также содержит дополнительный электропроводный экран 7, причем над платой в виде пластины 1 5 размещено с зазором друг над другом N, где N – натуральный ряд чисел, дополнительных пластин 8 из диэлектрического материала с коэффициентом теплопроводности больше, чем коэффициент теплопроводности материала платы 1 (например, две пластины (N=2), при этом N ограничено таким образом, чтобы высота всех пластин не превысила ширину устройства), а также между N дополнительными пластинами, N-1 дополнительных поглощающих слоев 9 из резистивного материала (например, один слой (N-1=1)) с подключенными параллельно дополнительными элементами 10 из электропроводного материала, гальванически включенных между входной микрополосковой линией 3 и короткозамыкателем 4, причем все поглощающие слои 5, 9 с подключенными параллельно элементами 6, 10 расположены в зазорах между пластинами 1, 8, причем расположенные в зазорах элементы 6,10 выполнены прерывистыми и примыкающими к боковым кромкам поглощающих слоев 5, 9, элементы 6, 10 выполнены из электропроводного материала с температурой плавления ниже, чем температуры плавления резистивного материала и электропроводного материала микрополосковой линии 3 и короткозамыкателя 4, причем дополнительный электропроводный экран 7 выполнен нанесенным на верхнюю поверхность N-й дополнительной пластины из диэлектрического материала (например, второй пластины) и имеет толщину и теплоемкость более толщины и теплоемкости N-й дополнительной пластины из диэлектрического материала. Электропроводный экран 2 и плата 1 выполнены с отверстием под поглощающим слоем 5 (например, с отверстием, выполненным сквозным для экрана 2 и несквозным для платы 1), содержащим регулировочный вкладыш 11 из электропроводного материала, у которого фазовые превращения наступают при температуре ниже температур плавления резистивного материала и электропроводного материала микрополосковой линии 3 и короткозамыкателя 4. Толщина зазоров между пластинами 1, 8 выполнена уменьшающейся в направлении от входной микрополосковой линии 3 к короткозамыкателю 4. Толщина зазоров между всеми пластинами 1, 8 и толщина всех пластин 1, 8 выполнены уменьшающимися в направлении от платы 1 к N-ой пластине, а ширина пластин 8 выполнена увеличивающейся в направлении от платы 1 к N-й пластине (например, N=2). Элементы 6, 10 выполнены прерывистыми в виде примыкающих к боковым кромкам поглощающих слоев 5, 9 шлейфов (например, шлейфов четвертьволновой длины), величина прерываний выполнена увеличивающейся по направлению от входной микрополосковой линии 3 к короткозамыкателю 4. Ширина поглощающих слоев 5, 9 выполнена различной, и их боковые кромки выполнены не расположенными друг над другом (например, ширина поглощающих слоев 5, 9 выполнена возрастающей по направлению от платы 1 к N-й пластине (например, N=2)).
Другой пример конкретной реализации предложенного устройства (см. Фиг.3, 4) содержит плату в виде пластины 1 из диэлектрического материала, на нижней стороне которой расположен электропроводный экран 2, а на верхней стороне – входная микрополосковая линия 3 из электропроводного материала и короткозамыкатель 4 из электропроводного материала, поглощающий слой 5 из резистивного материала (например, поглощающего энергию СВЧ-электромагнитных колебаний) с подключенными параллельно элементами 6 из электропроводного материала, причем поглощающий слой 5 гальванически включен между входной микрополосковой линией 3 и короткозамыкателем 4, а также содержит дополнительный электропроводный экран 7, причем над платой в виде пластины 1 размещено с зазором друг над другом N, где N – натуральный ряд чисел, дополнительных пластин 8 из диэлектрического материала с коэффициентом теплопроводности больше, чем коэффициент теплопроводности материала платы 1 (например, две пластины (N=2), при этом N ограничено таким образом, чтобы высота всех пластин не превысила ширину устройства), а также между N дополнительными пластинами N-1 дополнительных поглощающих слоев 9 из резистивного материала (например, один слой (N-1=1)) с подключенными параллельно дополнительными элементами 10 из электропроводного материала, гальванически включенных между входной микрополосковой линией 3 и короткозамыкателем 4, причем все поглощающие слои 5, 9 с подключенными параллельно элементами 6, 10 расположены в зазорах между пластинами 1, 8, причем расположенные в зазорах элементы 6, 10 выполнены прерывистыми (например, каждый элемент выполнен в виде прерывистой полосы, величина прерываний и ширина полосы менее ширины микрополосковой линии 3 и уменьшаются в направлении от концов (микрополосковой линии 3, короткозамыкателя 4) к середине устройства) и примыкающими к боковым кромкам поглощающих слоев 5, 9, элементы 6, 10 выполнены из электропроводного материала с температурой плавления ниже, чем температуры плавления резистивного материала и электропроводного материала микрополосковой линии 3 и короткозамыкателя 4, причем дополнительный электропроводный экран 7 выполнен нанесенным на верхнюю поверхность N-й дополнительной пластины из диэлектрического материала (например, второй пластины) и имеет толщину и теплоемкость более толщины и теплоемкости N-й дополнительной пластины из диэлектрического материала.
При работе устройства поступившая на входную микрополосковую линию 3 СВЧ-мощность (например, в виде мощного одиночного короткого импульса) поглощается, преобразуясь в тепло, не только на площади резистивного материала нижнего поглощающего слоя 5, но на дополнительной площади N-1 дополнительных поглощающих слоев 9 из резистивного материала. При этом тепло в момент прохождения короткого импульса (во избежание прожога резистивного слоя в местах максимальной напряженности электрического поля и максимального тепловыделения (в частности, у боковых кромок поглощающих слоев 5, 9)) сначала аккумулируется в аккумуляторах тепла – элементах из электропроводного материала 6 и дополнительных элементах 10, дополнительных пластинах 8, вкладыше 11, а затем отводится и рассеивается с помощью платы 1, пластин 8, элементов 6 и дополнительных элементов 10, экрана 2 и дополнительного экрана 7. Теплоемкость аккумуляторов тепла повышена за счет того, что тепло затрачивается не только на нагрев, но и на фазовые превращения (например, при частичном расплавлении примыкающих к боковым кромкам поглощающих слоев элементов 6 и дополнительных элементов 10, материала вкладыша 11, что позволяет сохранить работоспособность устройства в случае поступления очень мощного СВЧ-импульса). Изменение ширин и толщин пластин 1, 8, величин зазоров и, соответственно, толщин поглощающих слоев 5, 9 и элементов 6, 10 в вертикальном направлении (например, уменьшение толщин снизу вверх) дает возможность оптимизировать теплоотвод в сторону наиболее выгодного теплового стока (например, наверх). Изменение размеров зазоров пластин 1, 8, элементов 6, 10 (в частности, их прерывистости) в горизонтальном направлении дает возможность оптимизировать теплоотвод в сторону наиболее выгодного теплового стока (например, в сторону, удаленную от наиболее нагруженного в тепловом отношении входа устройства). Поскольку ширина поглощающих слоев 5, 9 выполнена различной, и их боковые кромки выполнены не расположенными друг над другом, то зоны наибольшего тепловыделения не расположены друг над другом, что позволило увеличить рассеиваемую мощность.
По сравнению с прототипом в предложенном устройстве увеличена рассеиваемая мощность, поскольку площадь поверхности резистивного материала увеличена в N раз, кроме того, резистивный материал соприкасается с более теплопроводной поверхностью.
По сравнению с прототипом в предложенном устройстве увеличена рассеиваемая мощность в импульсном режиме, поскольку площадь поверхности резистивного материала увеличена в N раз, резистивный материал соприкасается с более теплопроводной поверхностью, а также введены аккумуляторы тепла, в частности, боковые кромки резистивного материала, где наибольшая напряженность электрического поля и выделяемая мощность, соприкасаются с элементами из электропроводного материала, кроме того, в плате под поглощающим слоем – регулировочный вкладыш из теплопроводного материала, на верхней поверхности верхней дополнительной пластины из диэлектрического материала – дополнительный электропроводный экран, толщина и теплоемкость которого более толщины и теплоемкости N-й дополнительной пластины из диэлектрического материала; поскольку температура плавления аккумуляторов тепла ниже, чем у материала резистивных слоев и микрополосковых линий, по при подаче одиночного мощного СВЧ-импульса выделяемое тепло не прожигает резистивный слой, поскольку затрачивается не только на нагрев, но и на фазовый переход (например, из твердого в жидкое состояние).
По сравнению с прототипом в предложенном устройстве повышены удобство и безопасность регулировки устройства, поскольку регулировочный вкладыш не соприкасается непосредственно с раскаленным и находящимся под напряжением резистивным слоем.
По сравнению с прототипом в предложенном устройстве возможна подстройка согласования устройства, в частности, с помощью подбора толщины и диэлектрической проницаемости верхней пластины, габаритов и диэлектрической проницаемости вкладыша, а также с помощью расплавления отдельных частей прерывистых элементов и изменения как их формы, так и величины прерываний между ними (вплоть до смыкания некоторых прерываний). При этом подстройка с помощью расплавления осуществлялось как с помощью инструмента (например, паяльника; преимущественно для верхних элементов (например, сделанных в виде четвертьволновых шлейфов (регулируется частота резонанса шлейфа) при снятой в процессе регулировки верхней пластины), так и непосредственно при подаче мощного одиночного СВЧ-импульса (в местах наибольшей напряженности электрического поля у боковых кромок слоев резистивного материала и, соответственно, наибольшего выделения тепла – участки прерывистых элементов расплавлялись и смыкались, после чего сопротивление резко падало, выделение тепла на данном участке прекращалось, и, таким образом, не только устранялась опасность прожигания резистивного слоя, но и менялись электрические параметры устройства в сторону улучшения согласования).
К достоинствам предложенного устройства следует отнести то, что выполнение частей прерывистых элементов в виде шлейфов повышает возможности подстройки (за счет того, что шлейфы имеют разную длину, форму (например, выполнение шлейфов с отличающимися на 5% длинами расширяет рабочую полосу согласованного устройства на 5%), при этом возможность изменения формы шлейфа по сравнению с формой традиционного микрополоскового шлейфа (например, выполнение шлейфов редуцированными, секторными, треугольными и др.) также расширяет возможности подстройки).
К достоинствам предложенного устройства следует отнести то, что регулировочный вкладыш позволил регулировать не только согласование устройства и величину потерь (например, уменьшая коэффициент стоячей волны (КСВ) и увеличивая потери в децибелах (дБ), например, с помощью подбора габаритов, положения и материала вкладыша (например, с помощью выбора материала с большим погонным затуханием СВЧ-волн)), но и температурный режим (например, позволил уменьшить температуру при работе устройства, например, с помощью подбора материала вкладыша (например, с помощью выбора материала с более низкой температурой фазового перехода, более высокой теплоемкостью и удельной теплотой плавления)).
Кроме того, к достоинствам предложенного устройства следует отнести то, что устройство обладает свойством термостабильности при повышении подаваемой СВЧ-мощности, поскольку тепло затрачивается на фазовые превращения и температура не превышает температуры фазового перехода (например, температуры перехода из твердого в жидкое состояние или из жидкого в газообразное (в этом случае электропроводный экран и плата выполнены с отверстием под поглощающим слоем, содержащим регулировочный вкладыш, верхняя часть которого выполнена из материала, испытывающего фазовые превращения при температуре ниже температуры плавления резистивного материала и электропроводного материала микрополосковой линии и короткозамыкателя, а нижняя часть выполнена с выемкой, выполняющей функции предохранительного клапана)).
Также к достоинствам предложенного устройства следует отнести то, что практически исключена возможность испарения (в том числе путем перехода напрямую из твердого в газообразное состояние, при подаче мощного СВЧ-импульса) резистивного материала за счет помещения его в зазор.
Формула изобретения
1. Микрополосковая нагрузка, содержащая плату в виде пластины из диэлектрического материала, на нижней стороне которой расположен электропроводный экран, а на верхней стороне – входная микрополосковая линия из электропроводного материала и короткозамыкатель из электропроводного материала, поглощающий слой из резистивного материала с подключенными параллельно элементами из электропроводного материала, причем поглощающий слой гальванически включен между входной микрополосковой линией и короткозамыкателем, а также содержит дополнительный электропроводный экран, отличающаяся тем, что над платой в виде пластины размещено с зазором друг над другом N, где N – натуральный ряд чисел, дополнительных пластин из диэлектрического материала с коэффициентом теплопроводности больше, чем коэффициент теплопроводности материала платы, а также между N дополнительными пластинами N-1 дополнительных поглощающих слоев из резистивного материала с подключенными параллельно дополнительными элементами из электропроводного материала, гальванически включенных между входной микрополосковой линией и короткозамыкателем, причем все поглощающие слои с подключенными параллельно элементами расположены в зазорах между пластинами, причем расположенные в зазорах элементы выполнены прерывистыми и примыкающими к боковым кромкам поглощающих слоев, элементы выполнены из электропроводного материала с температурой плавления ниже, чем температуры плавления резистивного материала и электропроводного материала микрополосковой линии и короткозамыкателя, причем дополнительный электропроводный экран выполнен нанесенным на верхнюю поверхность N-й дополнительной пластины из диэлектрического материала и имеет толщину и теплоемкость более толщины и теплоемкости N-й дополнительной пластины из диэлектрического материала.
2. Микрополосковая нагрузка по п.1, отличающаяся тем, что электропроводный экран и плата выполнены с отверстием под поглощающим слоем, содержащим регулировочный вкладыш из электропроводного материала, у которого фазовые превращения наступают при температуре ниже температур плавления резистивного материала и электропроводного материала микрополосковой линии и короткозамыкателя.
3. Микрополосковая нагрузка по п.1, отличающаяся тем, что толщина зазоров между пластинами выполнена уменьшающейся в направлении от входной микрополосковой линии к короткозамыкателю.
4. Микрополосковая нагрузка по п.1, отличающаяся тем, что толщина зазоров между всеми пластинами и толщина всех пластин выполнены уменьшающимися в направлении от платы к N-й пластине, а ширина пластин выполнена увеличивающейся в направлении от платы к N-й пластине.
5. Микрополосковая нагрузка по п.1, отличающаяся тем, что элементы выполнены прерывистыми в виде примыкающих к боковым кромкам поглощающих слоев шлейфов, величина прерываний выполнена увеличивающейся по направлению от входной микрополосковой линии к короткозамыкателю.
6. Микрополосковая нагрузка по п.1, отличающаяся тем, что ширина поглощающих слоев выполнена различной и их боковые кромки выполнены не расположенными друг над другом.
РИСУНКИ
MM4A – Досрочное прекращение действия патента СССР или патента Российской Федерации на изобретение из-за неуплаты в установленный срок пошлины за поддержание патента в силе
Дата прекращения действия патента: 13.12.2007
Извещение опубликовано: 27.07.2009 БИ: 21/2009
|
|