|
|
(21), (22) Заявка: 2004135811/09, 10.04.2003
(24) Дата начала отсчета срока действия патента:
10.04.2003
(30) Конвенционный приоритет:
08.05.2002 DE 10221580.4
(43) Дата публикации заявки: 10.07.2005
(46) Опубликовано: 27.10.2007
(56) Список документов, цитированных в отчете о поиске:
WO 01/33594 A1, 10.05.2001. SU 805436 A1, 15.02.1981. DE 3211272 A1, 07.04.1983. DE 19832709 A1, 27.01.2000. US 4236053 A, 25.11.1980.
(85) Дата перевода заявки PCT на национальную фазу:
08.12.2004
(86) Заявка PCT:
DE 03/01259 (10.04.2003)
(87) Публикация PCT:
WO 03/096365 (20.11.2003)
Адрес для переписки:
129010, Москва, ул. Б.Спасская, 25, стр.3, ООО “Юридическая фирма Городисский и Партнеры”, пат.пов. Ю.Д.Кузнецову, рег.№ 595
|
(72) Автор(ы):
НОВАКОВСКИ Анджей (DE)
(73) Патентообладатель(и):
СИМЕНС АКЦИЕНГЕЗЕЛЛЬШАФТ (DE)
|
(54) РАЗМЫКАЮЩИЙ БЛОК ВЫСОКОВОЛЬТНОГО СИЛОВОГО ВЫКЛЮЧАТЕЛЯ
(57) Реферат:
Изобретение относится к области электротехники, а именно к размыкающему блоку высоковольтного силового выключателя с двумя коаксиально расположенными друг против друга в продольном направлении, образующими коммутационный промежуток, контакт-деталями. Размыкающий блок поддерживается несущим элементом, который радиально окружает размыкающий блок и содержит две секции, причем вторая секция радиально расширена по сравнению с первой секцией и между обеими секциями расположено выходное отверстие для дугогасящего газа, возникающего во время коммутационного процесса. Технический результат – обеспечение такого пути течения дугогасящего газа от коммутационного промежутка до выходного отверстия, который имеет малое сопротивление потоку, при сохранении высокой механической стабильности размыкающего блока, 5 з.п. ф-лы, 1 ил.
Изобретение относится к размыкающему блоку высоковольтного силового выключателя с двумя коаксиально расположенными друг против друга в продольном направлении, образующими коммутационный промежуток контакт-деталями и с проходящим в продольном направлении коаксиально относительно контакт-деталей полым каналом, внутри которого во время коммутационного процесса дугогасящий газ втекает вдоль первого, ведущего от коммутационного промежутка направления, и на внешней стороне канала дугогасящий газ течет вдоль второго направления, направленного противоположно к первому направлению, причем несущий элемент расположен коаксиально к каналу, охватывая его, поддерживая, по крайней мере, часть размыкающего блока, а также радиально заключая текущий во втором направлении дугогасящий газ.
Подобный размыкающий блок является известным, например, из немецкой выложенной заявки на патент DE 3211272 A1. В известном устройстве часть размыкающего блока удерживается действующим в качестве несущего элемента отклоняющим колпаком. Отклоняющий колпак окружает выполненную в виде полого канала контакт-деталь номинального тока. Возникающий во время коммутационного процесса в коммутационном промежутке дугогасящий газ течет через полый канал от коммутационного промежутка. Дугогасящий газ отклоняется на отклоняющем колпаке и выводится из размыкающего блока вне полого канала, противоположно к направлению течения дугогасящего газа внутри контакт-детали номинального тока. Подобная конструкция имеет только относительно короткий путь оттока для дугогасящего газа. Кроме того, обогащенный продуктами разложения дугогасящий газ выводится непосредственно вблизи коммутационного промежутка. Проходящие от отводящего колпака к контакт-детали номинального тока перемычки, которые несут контакт-деталь номинального тока, находятся непосредственно на пути оттока дугогасящего газа и повышают сопротивление потока этого пути. При подобном направлении для дугогасящего газа охлаждение и быстрое удаление дугогасящего газа от коммутационного промежутка является возможным только в ограниченном объеме.
Далее из фигуры 9 патента США №4,236,053 известен размыкающий блок, в котором оттекающий от коммутационного промежутка дугогасящий газ сначала направлен от коммутационного промежутка и за счет расположения различных отводящих колпаков образован подобный лабиринту канал, в котором дугогасящий газ в своем направлении течения дважды отклонен примерно на 180°. За счет этого внутри компактного пространства для дугогасящего газа имеется в распоряжении относительно длинный путь оттока. Подобный путь оттока при этом в основном образован за счет того, что на частично несущих на размыкающий блок контакт-деталях закреплены отклоняющие колпаки. Вследствие конструктивного выполнения контакт-деталей в виде механически несущих элементов, которые окружены отводящими колпаками, внутри отводящих колпаков хотя и получаются оптимированные относительно механического выполнения системы, однако, путь оттока связан с высоким сопротивлением потоку.
В основе настоящего изобретения лежит задача выполнения размыкающего блока названного выше вида так, чтобы при сохранении высокой механической стабильности путь течения дугогасящего газа от коммутационного промежутка до выходного отверстия имел малое сопротивление потоку.
Эта задача в случае размыкающего блока названного выше вида решается согласно изобретению за счет того, что несущий элемент имеет первую секцию и вторую секцию, радиально расширенную относительно первой секции, причем вторая секция поддерживается первой секцией и, по крайней мере, часть размыкающего блока поддерживается второй секцией и в области соединения первой и второй секции между обеими секциями выполнено направленное в первом направлении выходное отверстие для дугогасящего газа.
Для достижения улучшенного с аэрогидродинамической точки зрения пути для дугогасящего газа является необходимым, освободить путь оттока от вдающихся в него деталей. За счет применения несущего элемента, который окружает полый канал и имеет две секции, из которых одна радиально расширена, а в области пристыковки обеих секций образовано выходное отверстие, размыкающий блок поддерживается “внешним корпусом-оболочкой”. За счет выполнения несущего элемента в виде “внешнего корпуса-оболочки” внутри несущего элемента создано пространство, которое является свободным от функциональных групп, которые были бы обязательно предусмотрены для механического крепления. Внутреннее пространство несущего элемента может свободно заниматься или соответственно использоваться согласно заданным потребностям размыкающего блока. За счет этого получается также более выгодное выполнение пути оттока для дугогасящего газа. За счет ориентации отверстия оттока в первом направлении, то есть от коммутационного промежутка, далее обеспечено, что дугогасящий газ также после истечения из выходного отверстия, не может течь обратно непосредственно в область коммутационного промежутка и там ослаблять диэлектрическую прочность.
Предпочтительная форма выполнения далее может предусматривать, чтобы вторая секция в области контакт-детали номинального тока была присоединена к размыкающему блоку.
За счет присоединения второй секции в области контакт-детали номинального тока, исходя от конца размыкающего блока в продольном направлении, очень большой участок конца размыкающего блока перекрыт несущим элементом. В области контакт-детали номинального тока таким образом может быть образована центральная монтажная точка, в которой удерживается вся контактная система с контактом номинального тока, дугогасительным контактом, приводами и т.д. Присоединение при этом может быть выполнено в виде жесткой конструкции или в виде подвижной конструкции. Подвижная конструкция должна предусматриваться, например, для подвижной контакт-детали номинального тока.
Предпочтительным образом далее может быть предусмотрено, что вторая секция является частью цепи тока, прерываемой размыкающим блоком.
Для обеспечения достаточной механической стабильности вторая секция несущего элемента должна быть изготовлена из подходящего материала, который, по крайней мере, частично может поддерживать размыкающий блок. Подобными материалами являются, например, металлы, которые являются также и электропроводными. В частности, при соединении второй секции несущего элемента в области контакт-детали номинального тока электрический ток может через вторую часть транспортироваться непосредственно к коммутационному промежутку. Дополнительные электрические проводники, которые должны служить для подвода электрического тока к контакт-деталям размыкающего блока, таким образом не требуются. Вторая секция несущего элемента в качестве части, подлежащей размыканию цепи тока, должна естественно также иметь электрический потенциал, который вызывает электрический ток. Таким образом, вторая секция также является пригодной для того, чтобы экранировать окруженные ею функциональные группы.
Другая предпочтительная форма выполнения предусматривает, что на несущем элементе, в частности на второй секции, расположен экран для выравнивания электрического поля.
В частности, в концевых областях несущего элемента существует опасность появления высоких напряженностей электрического поля, так как в этих областях происходит переход к последующим, имеющим при известных обстоятельствах другой электрический потенциал функциональным группам или соответственно материалам.
Для управления этими электрическими полями могут использоваться экраны для выравнивания электрического поля. При этом сам несущий элемент может быть сформован таким образом, что он образует экран для выравнивания электрического поля.
Другая предпочтительная форма выполнения предусматривает, что на пути текучего дугогасящего газа перед выходным отверстием расположено охлаждающее устройство.
Для дальнейшего повышения эффективности длинного пути оттока для дугогасящего газа является особенно предпочтительным расположение охлаждающего устройства в потоке дугогасящего газа. За счет охлаждающего устройства уровень температуры дугогасящего газа понижается и за счет этого повышаются изоляционные качества дугогасящего газа.
Особенно предпочтительный вариант охлаждающего устройства может при этом предусматривать, что дугогасящий газ течет через перфорированный лист.
В последующем изобретение показывается на чертеже с помощью примера выполнения и ниже описывается более подробно.
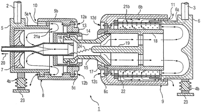
На чертеже показан размыкающий блок 1 высоковольтного силового выключателя. Размыкающий блок 1 расположен внутри только частично представленного на фигуре герметизирующего корпуса 23. Герметизирующий корпус 23 заполнен находящимся под повышенным давлением изолирующим газом, например шестифтористой серой. Размыкающий блок 1 содержит электрический контактный вывод 2, а также второй электрический контактный вывод 3. Первый электрический контактный вывод 2, а также второй электрический контактный вывод 3 служат для введения размыкающего блока 1 в электрическую цепь тока, которая является прерываемой размыкающим блоком 1 или восстанавливаемой. Первый электрический контактный вывод 2, а также второй электрический контактный вывод 3 посредством вводов для наружной установки могут пропускаться через герметизирующий корпус 23 высоковольтного силового выключателя. Размыкающий блок 1 опирается и поддерживается относительно герметизирующего корпуса 23 посредством изоляторов 4а, 4b.
Размыкающий блок 1 содержит первый несущий элемент 5, а также второй несущий элемент 6. Второй несущий элемент 6 содержит на одном конце отклоняющее поток устройство. Первому несущему элементу 5 придано в соответствие отдельное устройство отклонения потока 7. Отдельное устройство отклонения потока 7 выполнено из изолирующего материала. Первый несущий элемент 5, а также второй несущий элемент 6 имеют трубчатую структуру, причем они образованы соответственно из первой секции и второй секции. Кроме того, для выполнения несущих элементов могут использоваться также тела, отличные от круглой трубчатой формы. Первая секция 5а несущего элемента 5 имеет меньший диаметр, чем вторая секция 5b первого несущего элемента 5. Точно также первая секция 6а второго несущего элемента 6 имеет меньший диаметр, чем вторая секция 6b второго несущего элемента 6. Первая секция 5а и вторая секция 5b первого несущего элемента 5 механически связаны друг с другом в области перекрытия (смотри позицию 8). Точно также первая секция 6а, а также вторая секция 6b второго несущего элемента механически соединены друг с другом в области перекрытия (смотри позицию 9). Точки механического крепления 8, 9 расположены, например, в трех симметрично распределенных по периметру несущих элементов 5, 6 местах. Между первой секцией 5а и второй секцией 5b первого несущего элемента 5 предусмотрено первое выходное отверстие 10 для дугогасящего газа. Между первой секцией 6а и второй секцией 6b предусмотрено второе выходное отверстие 11 для дугогасящего газа. Как первое выходное отверстие 10, так и второе выходное отверстие 11 проходят кольцеобразно, прерванно точками крепления 8, 9 вокруг соответствующей первой секции 5а, 6а и ориентированы при этом так, что выходные отверстия 10, 11 направлены от коммутационного промежутка размыкающего блока 1. Соответствующие первые секции 5а, 6а несут соответственно вторые секции 5b, 6b. На конце второй секции 5b первого несущего элемента 5, направленном к коммутационному промежутку, расположены следующие точки крепления 12а, 12b. К другим точкам крепления 12а, 12b прикреплена кольцевая неподвижная контакт-деталь 13 устройства скользящего контакта. В неподвижной контакт-детали 13 устройства скользящего контакта подвижно установлена контакт-деталь номинального тока 14. С подвижной контакт-деталью номинального тока 14 жестко соединено сопло из изоляционного материала 15. Сопло из изоляционного материала 15, а также подвижная контакт-деталь номинального тока 14 коаксиально окружают подвижную дугогасительную контакт-деталь 16. Подвижная дугогасительная контакт-деталь 16 выполнена трубчатой формы и представляет собой полый канал. Подвижная контакт-деталь номинального тока 14, подвижная дугогасительная контакт-деталь 16, а также сопло из изоляционного материала 15 поддерживаются второй секцией 5b первого несущего элемента 5.
На конце второй секции 6b второго несущего элемента 6, обращенном к коммутационному промежутку, расположены следующие точки крепления 12с, 12d. Следующими точками крепления 12с, 12d поддерживается неподвижная контакт-деталь номинального тока 17. Кроме того, на следующих точках крепления 12с, 12d удерживается образующая канал трубчатая деталь 18, внутри которой расположена неподвижная дугогасительная контакт-деталь 19. Неподвижная дугогасительная контакт-деталь 19 вдается в сопло из изоляционного материала 15. Подвижная контакт-деталь номинального тока 14 и подвижная дугогасительная контакт-деталь 16 расположены коаксиально противоположно к неподвижной контакт-детали номинального тока 17 и к неподвижной дугогасительной контакт-детали 19. Неподвижная контакт-деталь номинального тока 17, неподвижная дугогасительная контакт-деталь 19, а также трубчатая деталь 18 поддерживаются второй секцией 6b второго несущего элемента 6.
На обращенных к коммутационному промежутку концах вторых секций 5b, 6b несущих элементов 5, 6 скругленно сформованы вторые секции 5b, 6b и образуют там соответственно экран для выравнивания электрического поля 5с, 6с.
При движении выключения подвижной дугогасительной контакт-детали 16, подвижной контакт-детали номинального тока 14 и сопла из изоляционного материала 15 в направлении снабженной ссылочной позицией 20 стрелки, между обеими дугогасительными контакт-деталями 16, 19 зажигается электрическая дуга 24. Вследствие термического действия электрической дуги 24 в области коммутационного промежутка, образованного дугогасительными контакт-деталями 16, 19, возникает дугогасящий газ, который в результате обусловленного электрической дугой 24 повышения давления, с одной стороны, оттекает через подвижную дугогасительную контакт-деталь 16 и, с другой стороны – через трубчатую деталь 18. Подвижная дугогасительная контакт-деталь 16 имеет на конце, обращенном от коммутационного промежутка, отверстия, через которые вытекает дугогасящий газ и отражается от отдельного устройства отклонения потока 7. Там дугогасящий газ отклоняется и снаружи подвижной дугогасительной контакт-детали 16 отклоняется в направлении, противоположном к направлению потока дугогасящего газа внутри подвижной дугогасительной контакт-детали 16. Через радиальное отверстие 21а, образованное первой секцией 5а и второй секцией 5b, дугогасящий газ течет радиально наружу и в заключение выдувается через первое выходное отверстие 10.
Аналогичным образом происходит отклонение дугогасящего газа, текущего в области второго несущего элемента 6. Часть генерированного в коммутационном промежутке дугогасящего газа направляется через трубчатую деталь 18 от коммутационного промежутка и отражается устройством отклонения 7 второго несущего элемента 6. Там он выводится наружу вдоль внешней стороны трубчатой детали 18 через радиальное отверстие 21b, образованное между первой секцией 6а и второй секцией 6b второго несущего элемента 6. После этого через вторую секцию 6b второго несущего элемента 6 происходит следующее изменение направления течения и выпуск дугогасящего газа из второго выходного отверстия 11 таким образом, что дугогасящий газ направляется от коммутационного промежутка. В области радиального отверстия 21b, образованного между первой секцией 6а и второй секцией 6b второго несущего элемента 6, расположено охлаждающее устройство 22. Охлаждающее устройство 22 имеет трубчатую структуру, причем она образова в основном перфорированным листом, через отверстия которого может проходить дугогасящий газ. При прохождении через отверстия охлаждающего устройства 22 происходит дополнительное охлаждение дугогасящего газа.
Представленные на чертеже прерывистыми линиями стрелки символизируют путь дугогасящего газа от коммутационного промежутка до выходных отверстий 10, 11. Цепь тока представлена от электрических контактных выводов 2, 3 к дугогасительным контактам 16, 19 или соответственно к контактам номинального тока 14, 17 посредством пунктирных линий.
Так как на чертеже речь идет о схематичном представлении, путь оттока дугогасящего газа представлен лишь принципиально. В частности, разделение потоков дугогасящего газа до и после прохождения устройств направления потока может производиться также другими деталями. Кроме того, возможно минимизировать сопротивление потоку за счет притупления или соответственно закругления кромок тел.
Формула изобретения
1. Размыкающий блок (1) высоковольтного силового выключателя с двумя расположенными в продольном направлении коаксиально противоположно, образующими коммутационный промежуток контакт-деталями (16, 19) и с проходящим в продольном направлении коаксиально к контакт-деталям (16, 19) полым каналом (18, 16), внутри которого во время коммутационного процесса дугогасящий газ течет вдоль первого ведущего от коммутационного промежутка направления, а на внешней стороне канала (18, 16) дугогасящий газ течет вдоль второго направления, направленного противоположно первому направлению, причем коаксиально к каналу (18, 16), охватывая его, поддерживая, по крайней мере, часть размыкающего блока (1), а также радиально заключая текущий во втором направлении дугогасящий газ, расположен несущий элемент (5, 6), который содержит первую секцию (5а, 6а) и вторую секцию (5b, 6b), радиально расширенную относительно первой секции (5а, 6а), причем вторая секция (5b, 6b) поддерживается первой секцией (5а, 6а) и, по крайней мере, часть размыкающего блока (1) поддерживается второй секцией (5b, 6b) и в области соединения первой и второй секций (8, 9) выполнено направленное в первом направлении выходное отверстие (10, 11) для дугогасящего газа между обеими секциями (5а, 5b и 6а, 6b).
2. Размыкающий блок (1) высоковольтного силового выключателя по п.1, отличающийся тем, что вторая секция (5b, 6b) в области контакт-детали номинального тока (14,17) связана с размыкающим блоком (1).
3. Размыкающий блок (1) высоковольтного силового выключателя по п.1 или 2, отличающийся тем, что вторая секция (5b, 6b) является частью цепи тока, прерываемой размыкающим блоком (1).
4. Размыкающий блок (1) высоковольтного силового выключателя по п.1 или 2, отличающийся тем, что на несущем элементе (5, 6), в частности, на второй секции (5b, 6b) расположен экран для выравнивания электрического поля (5с, 6с).
5. Размыкающий блок (1) высоковольтного силового выключателя по п.1 или 2, отличающийся тем, что на пути текущего дугогасящего газа перед выходным отверстием (11) расположено охлаждающее устройство (22).
6. Размыкающий блок (1) высоковольтного силового выключателя по п.5, отличающийся тем, что охлаждающее устройство (22) содержит перфорированный лист для протекания дугогасящего газа.
РИСУНКИ
|
|