|
(21), (22) Заявка: 2004135812/09, 10.04.2003
(24) Дата начала отсчета срока действия патента:
10.04.2003
(30) Конвенционный приоритет:
08.05.2002 DE 10221576.6
(43) Дата публикации заявки: 27.08.2005
(46) Опубликовано: 27.10.2007
(56) Список документов, цитированных в отчете о поиске:
US 4328403 A1, 04.05.1982. RU 97101586 A, 20.01.1999. WO 0077809 A, 21.12.2000. DE 3009504 A, 04.06.1981. US 4471187 A, 11.09.1984. DE 4333277 A, 30.03.1995.
(85) Дата перевода заявки PCT на национальную фазу:
08.12.2004
(86) Заявка PCT:
DE 03/01260 (10.04.2003)
(87) Публикация PCT:
WO 03/096366 (20.11.2003)
Адрес для переписки:
129010, Москва, ул. Б. Спасская, 25, стр.3, ООО “Юридическая фирма Городисский и Партнеры”, пат.пов. Ю.Д.Кузнецову, рег.№ 595
|
(72) Автор(ы):
НОВАКОВСКИ Анджей (DE)
(73) Патентообладатель(и):
СИМЕНС АКЦИЕНГЕЗЕЛЛЬШАФТ (DE)
|
(54) ЭЛЕКТРИЧЕСКИЙ КОММУТАЦИОННЫЙ АППАРАТ С УСТРОЙСТВОМ ОХЛАЖДЕНИЯ
(57) Реферат:
Изобретение относится к электрическому коммутационному аппарату, который в ходе движения выключения вызывает поток дугогасящего газа, имеющему устройство охлаждения с массивной стенкой с проходными отверстиями, по крайней мере одно из которых является закрываемым посредством патронной арматуры, разъемно соединенной с устройством охлаждения. Технический результат – обеспечение упрощенного согласования охлаждающей способности устройства охлаждения. 7 з.п. ф-лы, 1 ил.
Изобретение относится к электрическому коммутационному аппарату, который в ходе движения выключения вызывает поток дугогасящего газа, с имеющей проходные отверстия для потока дугогасящего газа массивной стенкой устройства охлаждения.
Подобный электрический коммутационный аппарат является, например, известным из патента США 4328403. Описанный там электрический коммутационный аппарат имеет коммутационный промежуток, в котором генерируется дугогасящий газ, обусловленный электрической дугой. Этот дугогасящий газ течет через канал в устройство охлаждения, которое выполнено в виде охлаждающей трубы. Эта охлаждающая труба имеет массивную стенку, в которую введено множество проходных отверстий для прохождения потока дугогасящего газа. Для улучшения холодильного действия охлаждающей трубы устройство охлаждения имеет, кроме того, охлаждающую ткань (Mesh-Cooler), которая расположена внутри изолирующей трубы и перекрывает частично проходные отверстия.
Холодильное действие подобной охлаждающей трубы зависит от количества, а также от поперечного сечения введенных в массивную стенку проходных отверстий. В зависимости от желаемого холодильного действия поэтому необходимо вводить в охлаждающую трубу различное количество проходных отверстий. Предоставляемая устройством охлаждения охлаждающая способность в основном задается конструкцией электрического коммутационного аппарата. Изменения в конструкции электрического коммутационного аппарата поэтому влекут за собой неизбежно согласования устройства охлаждения относительно его охлаждающей способности. Это касается, в частности, вида и числа, а также расположения проходных отверстий.
В основе настоящего изобретения лежит задача выполнения имеющего массивную стенку устройства охлаждения электрического коммутационного аппарата таким образом, чтобы было возможным упрощенное согласование охлаждающей способности устройства охлаждения.
Эта задача в случае электрического коммутационного аппарата с устройством охлаждения названного выше вида решается согласно изобретению за счет того, что, по крайней мере, одно из проходных отверстий является закрываемым посредством патронной арматуры, разъемно соединенной с устройством охлаждения.
Для управления охлаждающей способностью устройств охлаждения является закрываемым, по крайней мере, одно из проходных отверстий. За счет этого становится возможным применять стандартное тело со стандартизованно расположенными проходными отверстиями и согласовывать их в зависимости от конструктивных особенностей электрического коммутационного аппарата так, чтобы был достижимым желаемый режим охлаждения. За счет комбинации закрывающего действия с подходящей патронной арматурой возможным является как оправка массивной стенки, так и закрытие отверстия в массивной стенке посредством патронной арматуры. За счет разъемного соединения устройства охлаждения и патронной арматуры получаются преимущества относительно монтажа устройства охлаждения в электрическом коммутационном аппарате. Кроме того, с меньшим количеством основных элементов могут предварительно монтироваться различные устройства охлаждения с различными охлаждающими способностями. За счет этого является ненужным дорогостоящее хранение на складе различных устройств охлаждения.
Предпочтительная форма выполнения может предусматривать далее, что патронная арматура фиксирует, по крайней мере, частично устройство охлаждения.
За счет подобной формы выполнения можно избегать использования дополнительных крепежных устройств для фиксирования устройств охлаждения. За счет этого уменьшается количество необходимых деталей.
Предпочтительным образом может быть предусмотрено, что патронная арматура дополнительно простирается за пределы необходимой для фиксации устройства охлаждения области, чтобы закрыть, по крайней мере, одно из проходных отверстий.
За счет дополнительного расширения патронной арматуры является возможным простым образом закрывать большее число проходных отверстий. Так как теперь область, сверхнеобходимая для фиксирования устройств охлаждения, служит только для перекрытия и закрывания проходных отверстий, там может использоваться материалосберегающая конструкция, так как эти области не должны вводить усилия для фиксирования устройств охлаждения. За счет этого патронная арматура, несмотря на дополнительную задачу закрывания, становится тяжелее только в малой степени.
Далее может быть предпочтительным образом предусмотрено, что массивная стенка выполнена трубчатой формы.
Трубчатая форма стенки представляет собой диэлектрически выгодное образование, на котором в большой области могут располагаться проходные отверстия. При относительно малых конструктивных объемах таким образом может достигаться большая охлаждающая способность.
Другая предпочтительная форма выполнения предусматривает, что патронная арматура расположена на внешней стороне трубчатой массивной стенки.
При расположении патронной арматуры на внешней стороне внутренняя область трубчатой массивной стенки остается свободной от дополнительных встроенных деталей. Тем самым поток дугогасящего газа не имеет препятствий на внутренней стороне трубчатой стенки. Кроме того, патронная арматура на внешней стороне трубчатой массивной стенки является монтируемой простым образом.
Предпочтительным образом может быть предусмотрено, что арматура охватывает трубчатую массивную стенку на конце по всему периметру.
Патронная арматура закрывает трубчатую стенку на одном конце и удерживает стенку, не увеличивая при этом сильно ее периметра. Тем самым трубчатая стенка может легко и просто встраиваться в электрические коммутационные аппараты и там позиционироваться. За счет охвата по всему периметру получается, кроме того, хорошее механическое крепление массивной стенки в патронной арматуре. Появляющиеся удерживающие силы распределяются таким образом на большой площади.
Наряду с уже описанными вариантами выполнения может быть, кроме того, предусмотрено, что патронная арматура образует концевую оправу для трубчатой массивной стенки в виде патрубка и что патронная арматура распространяется к среднему участку трубчатой массивной стенки дальше, чем это необходимо для механической функции удерживания.
Патрубок образует особенно предпочтительный вариант выполнения для патронной арматуры. Патрубки могут особенно просто изготавливаться и соединяться с трубчатой массивной стенкой.
Предпочтительным образом далее может быть предусмотрено, что содержащая проходные отверстия массивная стенка образована перфорированным листом.
Перфорированный лист может изготавливаться особенно выгодным образом. При применении трубчатой массивной стенки возможно просто изготавливать трубу из перфорированного листа. При подходящем выполнении патронной арматуры при этом возможно выполнять трубу таким образом, что перфорированный лист выполнен с наложением в области шва трубы и удерживается в форме трубы посредством патронной арматуры. Таким образом не требуется удерживать сам перфорированный лист в виде трубы, например, посредством сварки.
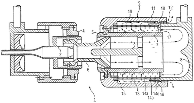
В последующем изобретение показывается на чертеже с помощью примера выполнения и описывается ниже более подробно. При этом чертеж показывает схематическую конструкцию электрического коммутационного аппарата с устройством охлаждения.
Чертеж показывает электрический коммутационный аппарат 1, а именно высоковольтный силовой выключатель в схематическом представлении. Электрический коммутационный аппарат 1 расположен внутри заполненного изолирующим газом и не представленного на чертеже корпуса. Электрический коммутационный аппарат 1 содержит подвижную дугогасительную контакт-деталь 2, а также неподвижную дугогасительную контакт-деталь 3. Коаксиально относительно дугогасительной контакт-детали 2 и неподвижной контакт-детали 3, противоположной этой подвижной контакт-детали, расположены подвижная дугогасительная контакт-деталь номинального тока 4, а также неподвижная дугогасительная контакт-деталь 5. В процессе коммутации на дугогасительных контакт-деталях 2 и 3 появляется электрическая дуга. Вследствие этой электрической дуги в области окружающего обе дугогасительные контакт-детали 2, 3 сопла из изоляционного материала 6 генерируется дугогасящий газ. Этот дугогасящий газ оттекает частично из сопла из изоляционного материала 6 в направлении неподвижной дугогасительной контакт-детали 3. Неподвижная дугогасительная контакт-деталь 3 окружена трубчатым каналом 7. Сначала дугогасящий газ течет внутри трубчатого канала 7 от образованного обеими дугогасительными контакт-деталями 2, 3 коммутационного промежутка и направляется против первого отдельного устройства отклонения потока 8. Первое устройство отклонения потока 8 отклоняет поток дугогасящего газа на внешнюю сторону трубчатого канала 7. Первое устройство отклонения потока 8 является частью несущего корпуса 9. Несущий корпус 9 имеет радиальное отверстие 10. Радиальное отверстие 10 выполнено обтекаемым кольцеобразно. Радиальное отверстие 10 перекрыто посредством второго трубчатого устройства отклонения 11. Между вторым устройством отклонения 11 и первым устройством отклонения 8 образовано выходное отверстие 12, через которое может выходить дугогасящий газ.
В области радиального отверстия 10 на пути течения дугогасящего газа расположена трубчатая массивная стенка 13 устройства охлаждения. Трубчатая массивная стенка 13 содержит множество проходных отверстий 14а, b, с. На первом конце трубчатой массивной стенки 13 она установлена в кольцевом пазу 15. На втором конце трубчатой массивной стенки 13 расположен патрубок 16. Патрубок 16 действует в качестве патронной арматуры и окружает трубчатую массивную стенку 13 по всему периметру. Патрубок 16 содержит направленный радиально внутрь упор 17, который ограничивает надвигание патрубка 16 на трубчатую массивную стенку 13. Одновременно упор 17 служит в качестве упора для устройства отклонения потока 8, которое вдавливает трубчатую массивную стенку 13 в неподвижный кольцевой паз 15. Кроме того, к патрубку 16 радиально наружу приформован проходящий по периметру буртик 18, который заходит в находящийся в устройстве отклонения потока 11 паз. Тем самым предотвращается аксиальный сдвиг патрубка 16. Патрубок 16 при этом в направлении середины трубчатой массивной стенки 13 простирается дальше, чем это требуется для оправы трубчатой массивной стенки 13. Необходимое для удерживания перекрытие можно видеть на чертеже, например, по глубине кольцевого паза 15. Посредством распространения трубчатой массивной стенки 13 в направлении середины проходное отверстие 14с является закрытым.
Путем замены патрубка 16 на другой патрубок с большей/меньшей длиной патрубка количество закрываемых проходных отверстий является устанавливаемым по выбору. За счет этого является изменяемой охлаждающая способность устройства охлаждения, а поток дугогасящего газа является управляемым.
Представленная на чертеже трубчатая массивная стенка 13 может быть выполнена предпочтительным образом из перфорированного листа. При этом перфорированный лист должен изгибаться в форме трубы, причем концы перфорированного листа перекрываются. При выборе несколько большего диаметра трубчатой массивной стенки 13 по сравнению с диаметром кольцевого паза 15, а также по сравнению с диаметром патрубка 16, трубчатая массивная стенка 13 может упруго вставляться в кольцевой паз 15 и патрубок 16.
Формула изобретения
1. Электрический коммутационный аппарат (1), который в ходе движения выключения вызывает поток дугогасящего газа, с имеющей проходные отверстия (14а, b, с) для потока дугогасящего газа массивной стенкой (13) устройства охлаждения, отличающийся тем, что, по крайней мере, одно из проходных отверстий (14с) является закрываемым посредством разъемно соединенной с устройством охлаждения патронной арматуры (16).
2. Электрический коммутационный аппарат (1) по п.1, отличающийся тем, что патронная арматура (16) фиксирует, по крайней мере, частично устройство охлаждения.
3. Электрический коммутационный аппарат (1) по п.2, отличающийся тем, что патронная арматура (16) дополнительно простирается за пределы необходимой для фиксации устройства охлаждения области, чтобы закрывать, по крайней мере, одно проходное отверстие (14с).
4. Электрический коммутационный аппарат (1) по п.1, отличающийся тем, что массивная стенка (13) выполнена трубчатой формы.
5. Электрический коммутационный аппарат (1) по п.4, отличающийся тем, что патронная арматура (16) расположена на внешней стороне трубчатой массивной стенки (13).
6. Электрический коммутационный аппарат (1) по любому из пп.4 и 5, отличающийся тем, что патронная арматура (16) охватывает на одном конце массивную стенку (13) по всему периметру.
7. Электрический коммутационный аппарат (1) по п.6, отличающийся тем, что патронная арматура (16) образует концевую оправу для трубчатой массивной стенки (13) в форме патрубка, при этом патронная арматура (16) распространена к среднему участку трубчатой массивной стенки (13) дальше, чем это необходимо для механической функции удерживания.
8. Электрический коммутационный аппарат (1) по п.1, отличающийся тем, что содержащая проходные отверстия (14а, b, с) массивная стенка (13) образована перфорированным листом.
РИСУНКИ
|