|
|
(21), (22) Заявка: 2006109112/28, 23.03.2006
(24) Дата начала отсчета срока действия патента:
23.03.2006
(46) Опубликовано: 27.10.2007
(56) Список документов, цитированных в отчете о поиске:
RU 2104585 C1, 10.02.1998. БУТЕНИН Н.В. Демонстрационные приборы по теоретической механике. Л., 1980. RU 2176412 С2, 27.11.2001. FR 2630567 A2, 27.10.1989.
Адрес для переписки:
115569, Москва, ул. Шипиловская, 5, кв.182, О.И. Брик
|
(72) Автор(ы):
Поваляев Олег Александрович (RU), Ярошевский Михаил Львович (RU), Хоменко Сергей Владимирович (RU), Фролов Виктор Петрович (RU)
(73) Патентообладатель(и):
Общество с ограниченной ответственностью Фирма “СНАРК” (RU)
|
(54) УСТРОЙСТВО ДЛЯ ИЗУЧЕНИЯ ЗАКОНОВ ВРАЩАТЕЛЬНОГО ДВИЖЕНИЯ
(57) Реферат:
Устройство для изучения законов вращательного движения, содержащее основание, на котором посредством стойки закреплен каркас с закрепленными на нем приводом, выполненным с возможностью изменения скорости вращения и содержащим электродвигатель, на выходном конце вала которого закреплен шкив, и корпусом, в котором с возможностью вращения закреплена ось, на консольном конце которой последовательно закреплены стробоскоп и дисковый шкив, взаимодействующий со шкивом электродвигателя, а стробоскоп взаимодействует с датчиком, установленным на свободном конце стойки и снабженным разъемным кабелем для соединения с блоком управления. На дисковом шкиве закреплена четырехугольная рабочая рамка с расположенными в ней либо подвесами, маятником, либо с снабженным сигнальным элементом подвесом, консольный конец которого посредством скоб взаимодействует и с пружиной с фиксатором и с динамометром, либо ловушкой и воронкой с изогнутым концом, либо плоской кюветой с цветной жидкостью. Технический результат – создание универсального прибора, позволяющего изучать как вращательное движение, так и различные колебания, моделировать опыты Штерна, вращение жидкости и эффект Доплера. 5 з.п. ф-лы, 6 ил.
Изобретение относится к учебным пособиям по физике и может быть использовано во всех учебных заведениях в качестве учебно-наглядного оборудования для демонстрации опытов и изучения вращательного движения, колебаний на уроках физики и механики.
Известно техническое решение по патенту РФ №2078378, кл. G09В 23/06, “Прибор для демонстрации действия кориолисовой силы инерции”, содержащий основание с закрепленной в нем стойкой, на которой с возможностью вращения установлены направляющие, по которым во время вращения перемещается груз. Однако этот прибор демонстрирует только узкий аспект законов вращательного движения.
Известно техническое решение по патенту РФ №2063065, кл. G09В 23/06, “Прибор по механике”, содержащий основание, на котором закреплен маятник с постоянным магнитом на конце, электромагнит, источник питания, звуковой и световой датчики. Однако данный прибор позволяет изучать только колебания маятника в различных условиях.
Известно техническое решение по патенту РФ №2017228, кл. G09В 23/06, “Учебный прибор по физике”, содержащий основание с закрепленной на нем вертикальной осью, на которой установлена с возможностью вращения рама, снабженная полуосями, на которых вращается стержень с грузами на концах, при этом грузы также установлены с возможностью вращения на стержне. Однако этот прибор позволяет демонстрировать только закон сохранения момента количества движения и ряд гироскопических явлений.
Наиболее близким техническим решением является “Установка для изучения вращательного движения” по патенту РФ №2104585, кл. G09В 23/06, состоящая из диска с периферийными отверстиями, расположенными по кругу, на котором установлено тело, являющееся дополнительным грузом, движителя диска, датчика, состоящего из источника света и фотоэлемента, подключенного к регистрирующему устройству. Однако данная установка позволяет изучать вращательное движение только при изменении либо направления движения, либо скорости вращения.
Целью настоящего изобретения является создание универсального прибора, позволяющего изучать как вращательное движение, так и различные колебания, изучать центростремительные силы и ускорения, моделировать опыты Штерна, вращение жидкости и эффект Доплера.
Указанная цель достигается тем, что устройство для изучения законов вращательного движения характеризуется тем, что оно содержит основание, на котором посредством стойки закреплен каркас с закрепленными на нем приводом, выполненным с возможность изменения скорости вращения и содержащим электродвигатель, на выходном конце вала которого закреплен шкив, и корпусом, в котором с возможностью вращения закреплена ось, на консольном конце которой последовательно закреплены стробоскоп и дисковый шкив, взаимодействующий со шкивом электродвигателя, а стробоскоп взаимодействует с датчиком, установленным на конце стойки и снабженным разъемным кабелем для соединения с блоком управления, при этом на дисковом шкиве закреплена четырехугольная рабочая рамка с расположенными в ней либо подвесами, маятником, либо с снабженным сигнальным элементом подвесом, консольный конец которого посредством скоб взаимодействует и с пружиной с фиксатором и с динамометром, либо ловушкой и воронкой с изогнутым концом, либо плоской кюветой с цветной жидкостью, при этом устройство снабжено измерительным блоком. Каркас выполнен в виде пустотелого короба, состоящего из двух [-образных профилей, соединенных элементами крепления с образованием между полками зазора, а корпус выполнен с боковыми прорезями, в которые входят полки профилей каркаса. Датчик выполнен в виде цилиндра с торцевыми патрубками, при этом в цилиндре выполнены два продольных диаметрально расположенных периферийных сквозных отверстия и боковая прорезь, перекрывающая одно из отверстий, с торцов которого вставлены диод инфракрасный и фотодиод, выводы которых снабжены разъемом. Горизонтальные перекладины четырехугольной рабочей рамки снабжены мерными линейками. Ловушка выполнена в виде изогнутой угловой кюветы, внутренняя поверхность, по крайней мере, одной из сторон выполнена с высоким коэффициентом трения.
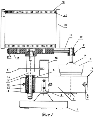
На фиг.1 представлено устройство с частичным разрезом корпуса и шкивов, на фиг.2 представлен датчик с разрезом, на фиг.3 представлен фрагмент прибора в сборе с подвесами и маятником, на фиг.4 представлен прибор с пружиной и динамометром, на фиг.5 представлен прибор с кюветой, на фиг.6 представлен прибор с ловушкой.
Устройство для изучения законов вращательного движения содержит основание 1, на котором посредством стойки 2 закреплен каркас 3. Каркас 3 выполнен в виде пустотелого короба из двух [-образных профилей 4, полки 5 которых обращены друг к другу, скрепленных элементами крепления, например болтами 6 с гайками 7 с образованием просвета между полками. На одном конце каркаса 3 закреплен привод 8, состоящий из электродвигателя 9, на конце выходного вала 10 которого закреплен шкив 11, при этом привод выполнен с возможностью изменения скорости вращения. На другом конце каркаса 2 закреплен корпус, выполненный в виде цилиндра 12, который снабжен боковыми прорезями 13, в которые заходят полки 5 каркаса 3, тем самым удерживается корпус от вращения. В цилиндре 12 установлены подшипники 14, между которыми расположена распорная втулка 15, а в подшипниках вращается ось 16. На оси 16 последовательно закреплены стробоскоп 17 и дисковый шкив 18, связанный передачей гибкой связью 19 со шкивом 11 электродвигателя 9. На свободном конце стойки 2 закреплен оптоэлектрический датчик 20. Стробоскоп 17 выполнен с прямоугольными вырезами по периферии. Датчик 20 выполнен в виде цилиндра 21 с торцевыми патрубками 22 и центральным сквозным отверстием, которым цилиндр 21 крепится на стойке 2. В цилиндре 21 выполнены два продольных диаметрально расположенных периферийных сквозных отверстия 23 и боковая прорезь 24, перекрывающая одно из отверстий 23, с торцов которого вставлены диод 25 инфракрасный и фотодиод 26, выводы которых снабжены разъемом 27, подключающим датчик к измерительным блокам (не показаны). Верхний торец цилиндра 21 закрыт ступенчатой крышкой 28. При вращении стробоскопа 17 вместе с осью 16 периферийная часть его заходит в прорезь 24 и периодически открывает и закрывает оптоэлектрический датчик 20, а при подключении датчика либо к цифровому секундомеру, либо к компьютерному измерительному блоку регистрируется частота вращения. На дисковом шкиве 18 закреплена четырехугольная рабочая рамка 29, горизонтальные перекладины 30 рамки снабжены мерными линейками 31. При выполнении различных опытов на рабочей рамке устанавливается различное оборудование. На фиг.3, 4 показано размещение на рабочей рамке маятника 32 и подвесов 33, а на фиг.4 показано размещение подвеса 33 с грузом 34 на его свободном конце, сигнального устройства 34, при такой установке оборудования устройство обеспечивает количественное определение центростремительной силы. Подвес 33 с грузом 34 закрепляется в определенном месте и рядом с ним крепится сигнальное устройство 35, которое выполнено на основе светодиода и пьезокерамического излучателя звука и используется для того, чтобы показать, что подвес с грузом занял определенное положение. Посредством проволочной скобы 36 к подвесу с одной стороны крепится динамометр 37, а с другой также посредством скобы 38 соединен с пружиной 39, свободный конец которой закреплен на нижней перекладине рабочей рамки. Отклоняя подвес за динамометр, его верхний конец взаимодействует с сигнальным устройством, а динамометр показывает силу, с которой отклоняется подвес. При вращении рабочей рамки подвес отклоняется, его верхний конец давит на сигнальное устройство, а посредством датчика 20 определив угловую скорость, можно сопоставить величину силы упругости пружины, которая и является центростремительной силой, заранее измеренной нами динамометром. Для проведения опытов с жидкостями на нижнюю перекладину рабочей рамки устанавливают плоскую кювету 40, в которую заливают подкрашенную воду, и при вращении рамки с кюветой происходит искривление поверхности воды, она принимает параболическую форму, что подтверждает универсальность законов физики. При моделировании опытов Штерна по изучению скоростей молекул на нижнюю перекладину рабочей рамки устанавливают прозрачную угловую ловушку 41, изогнутую по радиусу с учетом дуги полета шарика и его точки падения, а на верхнюю перекладину рабочей рамки устанавливают воронку 42 с изогнутым концом 43. Во время вращения рамки опускают шарик в воронку, он вылетает в радиальном направлении и улавливается ловушкой. Так как нижняя часть ловушки выполнена в виде угла, стороны ее расположены под углом , и одна из поверхностей “Р”, например внутренняя, более пологая выполнена с высоким коэффициентом трения, то шарик, попадая в угол, фиксируется, т.е. наглядно демонстрируется смещение плоскости вылета и плоскости оседания шарика, которое определяется соотношением скорости вращения рамки и скорости полета шарика. Данный опыт проводится при различных скоростях вращения, при этом данное устройство с таким набором демонстрирует классическую механическую модель измерения скорости молекул.
Таким образом, предложенное устройство для изучения законов вращательного движения является универсальным, многофункциональным и позволяет проводить широкий круг важных физических опытов, таких как эффект Доплера, при вращении рабочей рамки с различной скоростью и с включенным сигнальным устройством 35, при котором изменяется частота звука в зависимости от удаления или приближения источника звука, подтверждая гармонический закон изменения частоты звука.
Предложенное устройство позволяет проводить опыты по изучению вынужденных механических колебательных движений маятника, а также изучение явления резонанса на примере нитяного маятника, подвешенного внутри вращающейся рабочей рамки.
Предложенное устройство обеспечивает наглядность всех опытов, оно просто в изготовлении и удобно в эксплуатации, позволяет учащимся и преподавателям наглядно демонстрировать и изучать различные аспекты вращательного и колебательного движения.
Формула изобретения
1. Устройство для изучения законов вращательного движения, характеризующееся тем, что оно содержит основание, на котором посредством стойки закреплен каркас с закрепленными на нем приводом, выполненным с возможностью изменения скорости вращения и содержащим электродвигатель, на выходном конце вала которого закреплен шкив, и корпусом, в котором с возможностью вращения закреплена ось, на консольном конце которой последовательно закреплены стробоскоп и дисковый шкив, взаимодействующий со шкивом электродвигателя, а стробоскоп взаимодействует с датчиком, установленным на свободном конце стойки и снабженным разъемным кабелем для соединения с блоком управления, при этом на дисковом шкиве закреплена четырехугольная рабочая рамка с расположенными в ней либо подвесами, маятником, либо с снабженным сигнальным элементом подвесом, консольный конец которого посредством скоб взаимодействует и с пружиной с фиксатором, и с динамометром, либо ловушкой и воронкой с изогнутым концом, либо плоской кюветой с цветной жидкостью, при этом устройство снабжено измерительным блоком.
2. Устройство по п.1, характеризующееся тем, что каркас выполнен в виде пустотелого короба, состоящего из двух [-образных профилей, соединенных элементами крепления с образованием между полками зазора.
3. Устройство по п.1, характеризующееся тем, что корпус выполнен с боковыми прорезями, в которые входят полки профилей каркаса.
4. Устройство по п.1, характеризующееся тем, что датчик выполнен в виде цилиндра с торцевыми патрубками, при этом в цилиндре выполнены два продольных диаметрально расположенных периферийных сквозных отверстия и боковая прорезь, перекрывающая одно из отверстий, с торцов которого вставлены диод инфракрасный и фотодиод, выводы которых снабжены разъемом.
5. Устройство по п.1, характеризующееся тем, что горизонтальные перекладины четырехугольной рабочей рамки снабжены мерными линейками.
6. Устройство по п.1, характеризующееся тем, что ловушка выполнена в виде изогнутой угловой кюветы, внутренняя поверхность, по крайней мере, одной из сторон которой выполнена с высоким коэффициентом трения.
РИСУНКИ
PC4A – Регистрация договора об уступке патента СССР или патента Российской Федерации на изобретение
Прежний патентообладатель:
Общество с ограниченной ответственностью Фирма “СНАРК”
(73) Патентообладатель:
Поваляев Олег Алесандрович
Договор № РД0068348 зарегистрирован 12.08.2010
Извещение опубликовано: 20.09.2010 БИ: 26/2010
|
|