|
|
(21), (22) Заявка: 2005130568/28, 03.10.2005
(24) Дата начала отсчета срока действия патента:
03.10.2005
(43) Дата публикации заявки: 10.04.2007
(46) Опубликовано: 27.10.2007
(56) Список документов, цитированных в отчете о поиске:
Левшина B.C., Новицкий П.В. Электрические измерения физических величин: (Измерительные преобразователи). Учеб. пособие для вузов. – Л.: Энергоатомиздат. Ленингр. отд-ние, 1983, с.176-178. Иродов И.Е. Электромагнетизм. Основные законы. – М.: Лаборатория Базовых знаний, 2000, с.165. RU 2244290 C1, 10.01.2005. WO 01/01163 А, 04.01.2001. RU 2232998 C1, 20.07.2004.
Адрес для переписки:
197101, Санкт-Петербург, Кронверкский пр., 49, СПбГУ ИТМО
|
(72) Автор(ы):
Копытенко Юрий Анатольевич (RU), Коробейников Анатолий Григорьевич (RU), Мусалимов Виктор Михайлович (RU), Петрищев Максим Сергеевич (RU), Ткалич Вера Леонидовна (RU)
(73) Патентообладатель(и):
ГОУ ВПО Санкт-Петербургский государственный университет информационных технологий, механики и оптики (RU)
|
(54) УСТРОЙСТВО ДЛЯ ИЗМЕРЕНИЯ ПАРАМЕТРОВ МАГНИТНОГО ПОЛЯ
(57) Реферат:
Изобретение относится к измерительной технике и может быть использовано для измерения параметров переменных магнитных полей, таких как амплитуда и частота. Технический результат – повышение чувствительности к внешним горизонтальным магнитным полям с одновременным повышением точности их измерения и одновременным сокращением временных затрат на обработку результатов. Для реализации данного результата на другом конце стержня закреплен груз, устройство снабжено датчиком угловых перемещений и вычислительной машиной, выходы которой соединены с входами соленоида и входами датчика угловых перемещений, а вход – с информационным выходом датчика угловых перемещений. 1 ил.
Изобретение относится к измерительной технике и может быть использовано для измерения параметров переменных магнитных полей, таких как амплитуда и частота.
Известно устройство для измерения параметров магнитного поля, содержащее основание, подвес, выполненный в виде невесомого стержня, и магнитный элемент. Подвес совершает свободные колебания относительно точки подвеса. Под действием электромагнитных полей изменяется амплитуда и частота колебаний подвеса, которые пропорциональны величине действующего магнитного поля [Скубов Д.Ю., Ходжаев К.Ш. Нелинейная электромеханика. – М.: ФИЗМАТЛИТ, 2003, с.50]. Этот датчик обладает недостаточно высокой чувствительностью при регистрации электромагнитных полей.
Известно устройство для измерения параметров магнитного поля, выбранное в качестве прототипа, содержащее основание, на котором закреплен постоянный магнит и в котором в направляющих вращательного движения установлена ось, на которой закреплен соленоид и одним концом стержень, выполняющий роль отсчетной стрелки. Ось и основание также соединены спиральными пружинами, наружные концы которых закреплены в основании, а внутренние на оси. Через спиральные пружины от источника постоянного тока осуществляется подвод тока к соленоиду. Устройство работает по принципу магнитоэлектрического преобразования [Левшина B.C., Новицкий П.В. Электрические измерения физических величин: (Измерительные преобразователи). Учеб. Пособие для вузов. – Л.: Энергоатомиздат. Ленингр. отд-ние, 1983, с.176-178]. При включении устройства в электрическую цепь магнитное поле, создаваемое протекающим по соленоиду током, стремится совместить векторы напряженности полей соленоида и магнита, в результате чего возникает вращающий момент, который заставляет стержень поворачиваться на угол, пропорциональный величине действующего магнитного поля, при этом вращающий момент частично компенсируется моментом сопротивления, создаваемым спиральными пружинами и трением в направляющих вращательного движения.
Это устройство для измерения параметров магнитного поля осуществляет косвенные измерения и обладает чувствительностью, обеспеченной статикой измерения, которая создается постоянным магнитом, закрепленным на основании, и моментом сопротивления, создаваемым спиральными пружинами и трением в направляющих вращательного движения. Данное состояние полностью устойчиво, что не позволяет ожидать значительного повышения чувствительности. Точность измерения в данном устройстве обеспечивается в пределах статики. Данное устройство не позволяет измерять частоту внешнего магнитного поля, поскольку система заведомо вводится в состояние статики. Кроме того, данное устройство не позволяет получать и обрабатывать результаты измерений в динамике.
Задача, на решение которой направлено предлагаемое изобретение, заключается в повышении чувствительности к внешним горизонтальным магнитным полям с одновременным повышением точности их измерения и одновременным сокращением временных затрат на обработку результатов.
Задача решена следующим образом. Устройство для измерения параметров магнитного поля, содержащее основание, в котором в направляющих вращательного движения установлена ось, на которой закреплен соленоид и одним концом стержень. На другом конце стержня закреплен груз, устройство снабжено датчиком угловых перемещений и вычислительной машиной, выходы которой соединены с входами соленоида и входами датчика угловых перемещений, а вход – с информационным выходом датчика угловых перемещений. Датчик угловых перемещений выполнен оптико-механическим, в виде установленных в основании и оптически сопряженных источника и приемника светового излучения, между которыми на оси установлен кодовый диск.
При поступлении с выходов вычислительной машины постоянного электрического тока на входы соленоида возникает магнитное поле, создаваемое протекающим по соленоиду током, в результате чего возникает вращающий момент, который стремится совместить векторы напряженности полей соленоида и действующего магнитного поля. Соленоид и, соответственно, стержень с грузом стремятся занять новое угловое положение равновесия, пропорциональное величине действующего поля. Нулевой отсчет соответствует нижнему положению равновесия, которое является исходным. При этом наблюдаются затухающие колебания относительно текущего положения, амплитуда и частота которых зависят от параметров действующего поля. Затухание определяется масс-инерционными характеристиками подвижных частей устройства и действующими силами сопротивления (наибольшие в направляющих вращательного движения). По углу отклонения соленоида и, соответственно, стержня можно судить об амплитуде, а по частоте колебаний – о частоте действующего поля.
Таким образом, внешнее магнитное поле инициирует новое положение равновесия, отличающееся от исходного и определяемое углом отклонения от вертикали. Для этого положения равновесия существует симметричное относительно нулевого отсчета положение равновесия. При небольшом изменении параметров магнитного поля происходит скачкообразное переключение между ними. Для каждого сочетания геометрических и электромеханических параметров устройства существуют значения приведенного модуля вектора магнитной индукции, при которых происходят такие переключения.
При этом заявляемое устройство находится в квазиустойчивом состоянии, которое создается моментом сопротивления, возникающим из-за трения в направляющих вращательного движения и введением в систему груза, а также действием измеряемого магнитного поля. И расчеты, и эксперимент показывают, что по сравнению с классическими устройствами, которые находятся в условиях статики, предлагаемое устройство, находящееся в условиях квазистатики, обладает чувствительностью, превосходящей на порядок классические устройства.
Соответственно, вместе с этим одновременно повышается точность измерения параметров измеряемого поля, которая обеспечивается предлагаемой схемой измерения, а также введением в схему датчика угловых перемещений. При этом введение в схему датчика угловых перемещений в совокупности с вычислительной машиной позволяет отслеживать динамику изменений магнитного поля в режиме реального времени. Установленный на ось и размещенный между источником и приемником светового излучения кодовый диск датчика угловых перемещений и соединение информационного выхода датчика угловых перемещений с входом вычислительной машины позволяют без дополнительного блока согласования преобразовывать механические перемещения в электрический сигнал, воспринимаемый вычислительной машиной. Соответственно, становится возможным быстро и точно производить измерения магнитного поля. При этом результаты наблюдений сразу отображаются на экране вычислительной машины, а также сохраняются в виде отдельного файла для дальнейшего анализа. Время на обработку данных существенно сокращается, поскольку нет необходимости преобразовывать данные в цифровой формат.
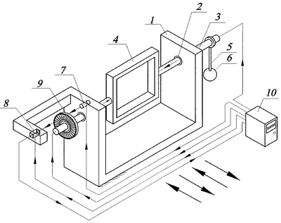
На чертеже представлена общая схема устройства.
Устройство для измерения параметров магнитного поля содержит основание 1, в котором в направляющих вращательного движения 2 установлена ось 3, на которой закреплен соленоид 4 и одним концом стержень 5. На другом конце стержня 5 закреплен груз 6. Датчик угловых перемещений выполнен оптико-механическим, в виде установленных в основании 1 оптически сопряженных источника светового излучения 7 и приемника светового излучения 8, между которыми на оси 3 установлен кодовый диск 9. Информационный выход датчика угловых перемещений соединен с входом вычислительной машины 10. Выходы вычислительной машины соединены с входами источника светового излучения 7, приемника светового излучения 8 и соленоида 4. Стержень 5 первоначально находится в нижнем положении.
Устройство работает следующим образом. При подаче питания с выхода вычислительной машины 10 на входы соленоида 4, закрепленного на оси 3, поступает электрический ток. Также с выхода вычислительной машины 10 поступает электрический ток на входы оптически сопряженных источника светового излучения 7 и приемника светового излучения 8 датчика угловых перемещений, установленные в основании 1. В результате этого источник светового излучения 7 начинает излучать световой поток, который попадает на поверхность кодового диска 9, установленного на оси 3 между источником светового излучения 7 и приемником светового излучения 8. Далее световой поток через прозрачный участок поверхности кодового диска 9 попадает на приемник светового излучения 8. В результате поступления электрического тока с выхода вычислительной машины 10 на входы соленоида 4 возникает магнитное поле, наводимое протекающим по соленоиду током, которое при взаимодействии с исследуемым горизонтальным магнитным полем стремится совместить векторы напряженности магнитного поля обоих полей. В результате этого соленоид 4 стремится повернуть ось 3, установленную в направляющих вращательного движения 2 основания 1 с закрепленным на ней одним концом стержнем 5, на другом конце которого закреплен груз 6. Первоначально поворот оси 3 с установленным на ней кодовым диском 9 осуществляется из исходного положения, которым является нижнее положение стержня 5, на угол, пропорциональный величине действующего магнитного поля. При этом в процессе поворота на пути следования светового луча от источника светового излучения 7 к приемнику светового излучения 8 встречаются прозрачные и непрозрачные участки кодового диска 9, в результате чего на информационном выходе датчика угловых перемещений формируется информация о текущем угловом положении оси 3. Эта информация поступает на вход вычислительной машины 10, отображается на экране вычислительной машины 10 и записывается в цифровой форме в виде отдельного файла.
Таким образом, внешнее поле инициирует новое положение равновесия стержня 5, отличающееся от исходного и определяемое углом отклонения от вертикали. При этом наблюдаются затухающие колебания стержня 5 относительно текущего положения, амплитуда и частота которых зависят от параметров действующего поля. Для этого положения равновесия стержня 5 существует симметричное относительно нулевого отсчета положение равновесия. При этом заявляемое устройство находится в квазиустойчивом состоянии, которое создается моментом сопротивления, возникающим из-за трения в направляющих вращательного движения 2 и введением в систему груза 6, а также действием измеряемого магнитного поля. При небольшом изменении параметров магнитного поля происходит скачкообразное переключение между текущим положением равновесием и симметричным ему относительно нулевого отсчета. Эти данные с информационного выхода датчика угловых перемещений мгновенно поступают на вход вычислительной машины 10 на обработку. По углу отклонения соленоида 4 и, соответственно, стержня 5 можно судить об амплитуде, а по частоте колебаний – о частоте действующего поля. Предлагаемое устройство, находящееся в условиях квазистатики, обладает чувствительностью, превосходящей на порядок классические устройства и позволяет точно и оперативно производить измерения горизонтальных переменных магнитных полей.
В качестве конкретного примера выполнения предлагается устройство для измерения параметров магнитного поля, основание 1 которого выполняется так же, как и основание прототипа [Левшина Е.С., Новицкий П.В. Электрические измерения физических величин: (Измерительные преобразователи). Учеб. Пособие для вузов. – Л.: Энергоатомиздат. Ленингр. отд-ние, 1983, с.176-178].
Направляющие вращательного движения 2 выполняются в виде подшипников качения. Ось 3 выполняется в виде ступенчатого вала из немагнитного материала, например, алюминия или бериллиевой бронзы.
Стержень 5 выполняется из бериллиевой бронзы с резьбовой нарезкой по всей длине, которая служит для возможности регулировки положения груза 6 и крепления стержня 5 в оси 3.
Груз 6 выполняется произвольной формы со сквозным резьбовым отверстием по центру. Например, груз 6 выполняется в качестве набора гаек из латуни или бериллиевой бронзы.
Соленоид 4 выполняется в виде прямоугольной рамки с наматываемым на нее проводом [Левшина B.C., Новицкий П.В. Электрические измерения физических величин: (Измерительные преобразователи). Учеб. Пособие для вузов. – Л.: Энергоатомиздат. Ленингр. отд-ние, 1983, с.176-178].
Датчик угловых перемещений выполняется оптико-механическим в виде диска с прорезями, устанавливаемого на оси устройства между оптически сопряженными инфракрасным светодиодом и фотодиодом [Патент РФ №2244290, МПК G01N 19/02, опубликованном 10.01.2005 в бюл. №1].
На основании вышеизложенного заявляемая совокупность позволяет повысить чувствительность к внешним горизонтальным магнитным полям с одновременным повышением точности их измерения и одновременным сокращением временных затрат на обработку результатов. Предлагаемое устройство позволяет производить прямые измерения амплитуды и частоты магнитного поля. Под измерением амплитуды понимается измерение магнитной индукции или напряженности магнитного поля.
Это устройство может использоваться как сигнализатор допустимых уровней магнитных полей в тех областях техники, где предъявляются особые требования к измерению и контролю величины магнитного поля. При превышении допустимой амплитуды поля происходит скачкообразное переключение между текущим угловым положением и симметричным ему относительного вертикали. При этом значения амплитуды магнитного поля, при которых происходят переключения, определяются параметрами предлагаемого устройства: числом витков обмотки соленоида, масс-инерционными характеристиками подвижных частей, площадью рамки соленоида и др. Зная наперед требуемое значение для контроля, можно рассчитать параметры таким образом, чтобы при действии поля заданной амплитуды происходило переключение.
Формула изобретения
Устройство для измерения параметров магнитного поля, содержащее основание, в котором в направляющих вращательного движения установлена ось, на которой закреплен соленоид и одним концом стержень, отличающееся тем, что на другом конце стержня закреплен груз, устройство снабжено оптико-механическим датчиком угловых перемещений в виде установленных в основании и оптически сопряженных источника и приемника светового излучения, между которыми на оси установлен кодовый диск, и вычислительной машиной, выходы которой соединены с входами соленоида и входами датчика угловых перемещений, а вход – с информационным выходом датчика угловых перемещений.
РИСУНКИ
|
|