|
|
(21), (22) Заявка: 2005136768/12, 11.11.2005
(24) Дата начала отсчета срока действия патента:
11.11.2005
(46) Опубликовано: 27.10.2007
(56) Список документов, цитированных в отчете о поиске:
RU 2213949 C1, 10.10.2003. RU 2257471 C1, 27.07.2005. RU 2095778 C1, 10.11.1997. US 3184973 A, 25.05. 1965. SU 1012077 A, 15.04.1983. RU 2151290 C1, 20.06.2000.
Адрес для переписки:
420032, г.Казань, ул. Герцена, 7а, кв.1, И.Р.Вальшину
|
(72) Автор(ы):
Немиров Михаил Семенович (RU), Вальшин Ильдар Ринатович (RU), Вальшин Айнарс Ринатович (RU)
(73) Патентообладатель(и):
Немиров Михаил Семенович (RU), Вальшин Айнарс Ринатович (RU), Вальшин Ильдар Ринатович (RU)
|
(54) СПОСОБ ОТБОРА ПРОБ ЖИДКОСТИ ИЗ ТРУБОПРОВОДА И УСТРОЙСТВО ДЛЯ ЕГО ОСУЩЕСТВЛЕНИЯ
(57) Реферат:
Изобретение относится к технике отбора проб жидкости из трубопровода и может найти применение в нефтедобывающей и других отраслях промышленности, где требуется высокая точность определения параметров перекачиваемой по трубопроводам жидкости. В способе отбора проб жидкости из трубопровода изменяют направление движения части потока жидкости трубопровода. Затем прокачивают поток жидкости через устройство для перемешивания. Проводят анализ параметров потока устройством для анализа параметров потока или осуществляют отбор пробы, которую направляют на анализ. Корпус устройства для перемешивания устанавливают на участке трубопровода, на котором поток жидкости изменяет свое направление. Изменение направления жидкости трансформируют в зону перемешивания, используя возникающую при изменении направления турбулентность на перемешивание. Изобретение предусматривает устройство для отбора проб жидкости из трубопровода. Устройство содержит элемент трубопровода, изменяющий направление потока трубопровода. Устройство содержит перемешивающее устройство, пробоотборное устройство и устройство для анализа параметров потока. В качестве корпуса перемешивающего устройства используют элемент трубопровода, изменяющий направление потока трубопровода. Перемешивающее устройство смонтировано в трубопроводе на участке ближе к продольной оси трубопровода. Поверхность перемешивающего устройства, обращенная к потоку жидкости, выполнена с площадью входа, соответствующей или превосходящей максимальную площадь прохода в поперечном сечении перемешивающего устройства. Изобретение обеспечивает высокую работоспособность и точность при количественном и качественном учете перекачиваемой по трубопроводу жидкости, проводимому по совокупности параметров. 2 н. и 1 з.п. ф-лы, 3 ил.
Изобретение относится к технологии и технике отбора проб жидкости из трубопровода и может найти применение в нефтедобывающей, нефтеперерабатывающей и других отраслях промышленности, где требуется высокая точность определения примесей.
Известен способ отбора проб жидкости из трубопровода, при котором в трубопроводе размещают элемент устройства для контроля параметров жидкости в виде пробозаборной трубки, смешение потока в продольном направлении и поперечном сечении трубопровода, отбор пробы [1].
Известно устройство для реализации данного способа, содержащее перемешивающее устройство, имеющее фланцевое соединение с трубопроводом, выполненным из перфорированной трубы, соосно расположенной с трубопроводом, переходящей в блок поперечно сужающихся и расширяющихся секций в виде трубки Вентури, элемент устройства для контроля параметров жидкости в виде пробозаборника, установленного на трубопроводе после смесителя по ходу потока с ориентацией входного отверстия навстречу потоку [2].
Недостаток известных технологии и техники отбора проб – сложность установки перемешивающего устройства перед устройством отбора пробы на ограниченных по размеру участках трубопровода.
Известен способ отбора проб жидкости из трубопровода, при котором производят перемешивание жидкости путем транспортировки ее по трубопроводу, размещение в трубопроводе элемента устройства для контроля параметров жидкости в виде пробозаборной трубки с загнутым концом, располагаемым на оси трубопровода входным отверстием навстречу потоку; отбор пробы пропорционально расходу потока, при котором скорость отбора составляет не менее половины и не более двойной средней скорости потока в трубопроводе [3].
Известно устройство для реализации данного способа, содержащее перемешивающее устройство, которым служит трубопровод, элемент устройства для контроля параметров жидкости в виде одной пробозаборной трубки с загнутым концом, входное отверстие которой располагают на оси трубопровода навстречу потоку [4].
Недостаток известных технологии и техники отбора проб – низкая представительность пробы. При наличии в потоке в трубопроводе газа, тяжелых примесей он подвержен расслоению под воздействием силы гравитации даже при высокой турбулентности потока (при больших числах Рейнольдса) [5] или под воздействием инерционных сил при изменении направления движения жидкости в трубопроводе. При этом инерционные силы при практикуемых режимах перекачки жидкостей по трубопроводам могут значительно превосходить гравитационные. Поэтому, не смотря на то что воздействие инерционных сил кратковременно, их воздействием на расслоение потока пренебрегать нельзя. Участками трубопровода, где поток расслаивается под воздействием инерционных сил, являются повороты (отводы), переходы, тройники. На этих участках эффект перемешивания жидкости за счет ее турбулентности может быть значительно снижен не смотря на то, что на изменение направления потока затрачивается определенная энергия потока. Как следствие, после изменения направления движения потока происходит его расслоение и проба, отобранная из потока с трансформированным распределением инградиентов по известным технологии и технике, характеризуется невысокой представительностью. Еще одним недостатком известных технологии и техники отбора проб является ограниченность участков трубопровода для размещения на них перемешивающих устройств перед элементами средств контроля параметров жидкости либо самих средств контроля параметров жидкости. Как правило, такие участки трубопровода имеют либо переходы с одного диаметра трубопровода на другой, либо один или несколько поворотов, тройников. Например, на многих узлах учета нефти на прямолинейных участках расположены фильтры, струевыпрямители, расходомеры, а пробозаборное устройство расположено на расстоянии не более 0,5 м от поворота по ходу потока. На таких участках перед пробозаборным устройством сложно или невозможно оказывается разместить перемешивающее устройство. Поэтому отбор пробы на таких узлах учета жидкости осуществляется в условиях расслоения потока под воздействием инерционных сил и потому по-прежнему остается актуальным вопрос качества пробы.
Техническим результатом данного изобретения является повышение представительности пробы путем использования элементов трубопровода, в которых происходит какое-либо изменение направления потока, в качестве корпусов для перемешивающих элементов, установки перемешивающих элементов на ограниченных для размещения перемешивающих устройств участках трубопровода.
Для достижения технического результата в способе отбора проб жидкости из трубопровода, при котором изменяют направление движения части потока жидкости трубопровода, прокачивают поток жидкости через устройство для перемешивания, которую направляют на анализ параметров потока после перемешивания или осуществляют отбор пробы согласно изобретению, корпус устройства для перемешивания устанавливают на участке трубопровода, на котором поток жидкости изменяет свое направление, а изменение направления жидкости трансформируют в зону перемешивания, используя возникающую при изменении направления турбулентность на перемешивание.
Воздействие гравитации после изменения направления движения жидкости по трубопроводу и проявление инерционных сил на участке изменения направления приводит к расслоению потока в трубопроводе. Такое состояние потока в трубопроводе после изменения направления и, как следствие, низкое качество отобранной пробы, характерно для способа-прототипа [3]. Перевод состояния потока из неоднородного в однородное путем его перемешивания необходим для повышения качества отбираемой пробы. При перемешивании важно рационально использовать энергию самого потока, для чего в качестве элементов перемешивающего устройства использовать отдельные участки самого трубопровода. Такой подход позволит повысить однородность распределения включений в потоке, максимально снизить воздействие на расслоение потока гравитации и инерционных сил. Параллельно можно решать при этом и задачи по оптимизации параметров перемешивающего устройства (в первую очередь, снижение массы и габаритов) и уменьшения общих потерь напора. Одним из примеров такого подхода служит выбор участка трубопровода, на котором происходит изменение направления потока или какой-либо его части, например, отвод (поворот), переход, тройник. Участок трубопровода, на котором происходит изменение направления потока или какой-либо его части, является зоной, которая не используется для перемешивания потока, более того, зоной, в которой поток подвержен расслоению под воздействием гравитации и сил инерции. При дальнейшей транспортировке жидкости по трубопроводу в виду прекращения воздействия инерционных сил на расслоение потока после участка с изменением направления движения потока происходит частичное выравнивание распределения включений в поперечном сечении трубопровода. На это затрачивается дополнительно определенная часть энергии потока, а переход потока в состояние, близкое к прежнему, происходит на участке трубопровода, на порядок большем, чем диаметр трубопровода. При этом турбулентности потока уже оказывается недостаточно для восстановления прежнего распределения включений в поперечном сечении трубопровода, процесс расслоения потока на прямолинейных участках трубопровода необратим [5]. Совмещение операций изменения направления движения потока или его части с перемешиванием на участке изменения направления позволяет трансформировать такую мертвую зону трубопровода в область для перемешивания жидкости, обеспечить больший перепад давления на перемешивающем устройстве, а следовательно, и обеспечить большее измельчение включений (синергизм) и однородность при перемешивании, более рационально использовать энергию потока. Поэтому в заявляемом способе перемешивание потока осуществляют на участке (в зоне) с изменением направления движения какой-либо части потока (скажем, в пристенном слое потока), например, переход, отвод, тройник. На таком участке, где происходит преобразование дополнительной части энергии давления в кинетическую, изменение перепада давления связано с порождением дополнительной турбулентности, размещение перемешивающего устройства позволяет использовать затрачиваемую на изменение направления потока энергию одновременно и на изменение направления потока и на перемешивание – в прототипе [3] после изменения направления движения возникающая дополнительная турбулентность потока гасится, пропадает и тенденция к расслоению проявляется в большей степени и энергия потока тратится не эффективно. Заявляемый способ позволяет использовать порождаемую на указанных элементах трубопровода турбулентность на перемешивание, препятствует отрицательному проявлению действия инерционных сил благодаря тому, что изменение направления движения потока в трубопроводе трансформируют в зону перемешивания, тем самым совмещая (одновременно осуществляя) операции изменения направления движения потока или какой-либо его части и перемешивания. В результате перемешивание по заявляемому способу происходит более эффективно, нежели по известному (прототип) [3].
Таким образом, перемешивание жидкости из трубопровода по заявляемому способу по сравнению со способом-прототипом [3] становится реальным благодаря осуществлению перечисленных операций, составляющих заявляемый способ.
Благодаря применению заявляемого способа распределение включений в трубопроводе будет более равномерным, а анализ потока при помощи аналитических средств, например, анализирующих пробу жидкости, отобранную из трубопровода через пробозаборное устройство или автоматический пробоотборник (входящих в комплект аналитических средств), будет более точным.
Для достижения технического результата используют устройство, содержащее элемент трубопровода, изменяющий направление потока трубопровода, перемешивающее устройство, пробоотборное устройство или устройство для анализа параметров потока, согласно изобретению, в качестве корпуса перемешивающего устройства используют элемент трубопровода, изменяющий направление потока трубопровода, а перемешивающее устройство смонтировано в трубопроводе на участке ближе к продольной оси трубопровода, при этом поверхность перемешивающего устройства, обращенная к потоку жидкости, выполнена с площадью входа, соответствующей или превосходящей максимальную площадь прохода в поперечном сечении перемешивающего устройства. При этом перемешивающее устройство смонтировано по сварному шву соединения элемента трубопровода, изменяющего направление потока, с трубопроводом или установлено в упор внутренних поверхностей этих элементов и выполнено в виде патрубка, торцевая часть которого, выдвинутая навстречу потоку, выполнена с диаметром в поперечном сечении не более диаметра противоположной торцевой части патрубка.
Транспортировка жидкости по трубопроводу приводит к его расслоению [5] под воздействием гравитации или инерционных сил после изменения направления движения потока (или какой-либо его части) в трубопроводе, что характерно для устройства-прототипа [4]. Поэтому для повышения точности анализа количественных и качественных параметров жидкости из трубопровода целесообразно перемешивание потока. Для использования статических перемешивающих устройств на трубопроводах большого диаметра этапы изготовления и монтажа перемешивающего устройства сопровождаются определенными техническими сложностями ввиду увеличения массы и габаритов перемешивающего устройства, используемых фланцев для соединения перемешивающего устройства с трубопроводом. Отсутствуют присоединительные размеры на фланцы большого диаметра [6]. По этим причинам для предприятий оказывается ограниченным диапазон изготавливаемых перемешивающих устройств. Снижение массы перемешивающего устройства, уменьшение габаритов возможно, если при перемешивании потока рационально использовать энергию самого потока, участки самого трубопровода. Для этого в заявляемом устройстве перемешивание потока осуществляют в элементе трубопровода – отвод (поворот), переход, тройник и т.п., – в котором изменяется направление движения какой-либо части потока. На таком участке происходит преобразование дополнительной энергии давления в кинетическую, изменение перепада давления связано с порождением дополнительной турбулентности. Размещение на таком участке перемешивающего устройства, позволяет использовать затрачиваемую на изменение направления потока энергию не только на изменение направления потока, но и на перемешивание – в прототипе [4] после изменения направления движения возникающая дополнительная турбулентность потока гасится, пропадает. Более того, при этом энергия потока на перемешивание в прототипе [4] тратится не эффективно – изменение направления движения потока связано не только с затратой на это определенной доли энергии потока, но и с возникновением инерционных сил потока, которые порождают его расслоение. Заявляемое же устройство позволяет использовать порождаемую на указанных элементах трубопровода турбулентность на перемешивание, благодаря использованию элемента трубопровода под корпус перемешивающего устройства. Такая конструкция устройства устраняет отрицательное проявление действия инерционных сил на расслоение потока и позволяет рационально использовать дополнительную энергию давления на изменение направления движения и перемешивание с проявлением синергетического эффекта (больший перепад давления обеспечивает более тонкое измельчение включений и более однородное их распределение в потоке, нежели при размещении перемешивающего устройства за участком изменения направления движения потока в трубопроводе), поскольку трансформирует изменение направления движения потока в трубопроводе в зону перемешивания. Например, если трубопровод имеет переход с одного диаметра трубопровода на другой перед установленным на нем устройством для отбора проб, перемешивающее устройство устанавливают в переходе. В результате перемешивание с применением заявляемого устройства происходит более эффективно, нежели по известному (прототип) [4].
Благодаря выбору зоны для перемешивания потока, в которой имеет место изменение направления движения какой-либо части потока, появляется возможность размещения в такой области перемешивающего устройства без фланцев упростить конструкцию устройства для перемешивания и тем расширить границы применимости заявляемого устройства, особенно при перемешивании жидкости в трубопроводах больших диаметров. Действительно, если участок трубопровода изменяет направление, то им служит отвод, переход, тройник, или иной элемент трубопровода, который имеет соединение с трубопроводом встык либо фланцевое. Следовательно, составляющие элементы трубопровода можно использовать для размещения в них перемешивающего устройства либо по сварному шву, либо в упор границ торцов или внутренних поверхностей перечисленных элементов. При этом перемешивающее устройство устанавливают в трубопроводе на участке ближе к продольной оси трубопровода в виде патрубка, торцевая часть которого, выдвинутая навстречу потоку, по диаметру в поперечном сечении не превосходит диаметр противоположной торцевой части, при этом поверхность перемешивающего устройства, обращенная к потоку, имеет площадь для возможности выполнения перфорации, при которой площадь входа в перемешивающее устройство будет соответствовать или превосходить максимальную площадь прохода в поперечном сечении перемешивающего устройства, а перфорированные отверстия выполняют в продольном направлении трубопровода большими по размеру (в виде продольных щелевых отверстий). Такое размещение перемешивающего устройства способствует сохранению или увеличению проходного сечения трубопровода, более рациональному распределению перепада давления в трубопроводе при перемешивании жидкости, уменьшению потерь напора и увеличению пропускной способности трубопровода, а также возможности размещения перемешивающего устройства на ограниченных по размеру участках трубопровода, например, если устройство для отбора проб установлено на трубопроводе непосредственно после поворота трубопровода (по ходу потока в трубопроводе). Снижение веса узла перемешивания для заявляемого устройства обеспечит сборка его корпуса из уже применяемых элементов трубопровода, удовлетворяющих условию обеспечения необходимых и достаточных прочностных характеристик корпуса, которые соответствуют диапазону минимальных и максимальных прочностных характеристик.
Таким образом, перемешивание жидкости из трубопровода с применением заявляемого устройства по сравнению с устройством-прототипом [4] становится более эффективным при расширении границ применимости устройства на трубопроводы больших диаметров благодаря составляющим заявляемое устройство признакам, которые обеспечат и более равномерное распределение включений в трубопроводе, и более точный анализ потока при помощи аналитических средств, например по пробе жидкости, и перемешивание потока на ограниченных по размеру участках трубопровода.
Конкретно заявляемые способ и устройство могут применяться в нефтяной, химической и других отраслях промышленности, например на узлах учета перекачиваемой по трубопроводу жидкости, в частности с ограниченными участками трубопровода для установки устройств для отбора проб.
Заявляемый способ отбора проб жидкости из трубопровода осуществляется следующим образом.
В трубопроводе на участке, на котором изменяют направление движения, устанавливают корпус устройства для перемешивания, а изменение направления жидкости трансформируют в зону перемешивания, используя возникающую при изменении направления турбулентность на перемешивание. Перемешивающее устройство прокачивает поток жидкости через устройство для перемешивания, далее поток анализируют поточными средствами измерения параметров жидкости или осуществляют отбор пробы, которую далее направляют на лабораторный анализ.
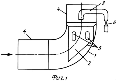
Сущность изобретения поясняется чертежами, приведенными на фиг.1-3, в которых корпус перемешивающего устройства представляет: на фиг.1 – отвод (поворот), на фиг.2 – два перехода, обращенных расширением друг к другу, на фиг.3 – два перехода, обращенных сужением друг к другу.
Устройство для отбора проб включает элемент 1 трубопровода, который изменяет направление движения потока или его части и служит одновременно корпусом перемешивающего устройства 2, который устанавливается в нем и выполняется в виде прямоточной или конусообразной трубы 2 (внутренняя начинка перемешивающего устройства), устройство для отбора проб 3, установленное в трубопроводе 4 за корпусом 2 перемешивающего устройства.
Корпус 1 (является элементом трубопровода 4, в котором происходит изменение направления всего (см. фиг.1) или какой либо части (см. фиг.2 и 3) потока) предназначен для размещения в нем перемешивающего устройства 2 и перераспределения потока трубопровода 4 на вход 5 перемешивающего устройства 2. Перемешивающее устройство 2 предназначено для гомогенизации и изменения направления потока в трубопроводе 4 с целью, например, проведения определения параметров потока устройствами для анализа параметров жидкости в трубопроводе 4. Устройство для отбора проб 3 с краном 6 предназначено для отбора пробы жидкости.
Устройство для отбора пробы жидкости из трубопровода 4, фиг.1-3, работает следующим образом.
Транспортируемая по трубопроводу 4 жидкость поступает в его элемент 1 с изменением направления движения, служащий корпусом для перемешивающего устройства 2, и далее в перемешивающее устройство 2. В нем весь поток, фиг.1, или его часть, фиг.2-3, изменяет направление и подвергается перемешиванию – поток в трубопроводе 4 через отверстия на стенке перемешивающего устройства 2 поступает в направлении продольной оси устройства 2. При таком поступлении жидкости в полость устройства 2 происходит перемешивание потока жидкости в трубопроводе 2 в продольном и поперечном направлениях (объемное перемешивание), и таким образом происходит трансформирование зоны расслоения в элементе 1 в зону перемешивания путем совмещения операций перемешивания и изменения направления потока в устройстве 2. После перемешивания жидкости из трубопровода 4 отбирают пробу через пробозаборное устройство 3, устанавливая изокинетическую скорость отбора пробы при помощи крана 6, которую далее направляют на лабораторный анализ.
Для испытаний было изготовлено три варианта устройства для трубопровода 4, трубопровода диаметром 114 мм с толщиной стенки 4 мм – см. фиг.1-3.
Вариант 1. Элемент 1 трубопровода 4 (служащий корпусом 1 для устройства 2) представлял собой отвод по ГОСТ 30753-2001 диаметром 114 мм и толщиной стенки 4 мм с изменением угла направления для трубопровода 4 на 90° [6] с горизонтального на вертикальный (поток в трубопроводе изменял направление в корпусе 1 с горизонтального на вертикальный). Перемешивающее устройство 2 представляло собой обращенный вниз прямой отрезок трубы диаметром 89 мм и толщиной стенки 4 мм длиной 120 мм с косым срезом, обращенным против потока в трубопроводе 4, перфорированной по боковой поверхности двенадцатью отверстиями эквивалентным диаметром 30 мм, которая соединялась с отводом по конусной поверхности под углом 15°.
Вариант 2. Элемент 1 трубопровода 4 (служащий корпусом 1 для устройства 2) представлял два перехода по ГОСТ 17378-2001, [7], с диаметра 114 мм с толщиной стенки 4 мм на диаметр 133 мм с толщиной стенки 5 мм, обращенных расширением друг к другу. Корпус 1 был размещен на вертикальном участке трубопровода 4. Перемешивающее устройство 2 представляло собой переход по ГОСТ 17378-2001, [7], с диаметра 114 мм с толщиной стенки 4 мм на диаметр 89 мм с толщиной стенки 3,5 мм, боковая поверхность которого была перфорирована шестью отверстиями, суммарная площадь которых вместе с площадью входа с торца перехода диаметром 89 мм соответствовала площади поперечного сечения трубопровода 4.
Вариант 3. Элемент 1 трубопровода 4 (служащий корпусом 1 для устройства 2) представлял два перехода по ГОСТ 17378-2001, [7], с диаметра 114 мм с толщиной стенки 4 мм на диаметр 89 мм с толщиной стенки 3,5 мм, обращенных сужением друг к другу. Корпус 1 устанавливался на вертикальном участке трубопровода 4. Перемешивающее устройство 2 представляло собой сточенный переход по ГОСТ 17378-2001, [7], с диаметра 108 мм до 105 мм с толщиной стенки 2,5 мм на диаметр 89 мм с толщиной стенки 3,5 мм, боковая поверхность которого была перфорирована шестью отверстиями, суммарная площадь которых вместе с площадью входа с торца перехода диаметром 89 мм соответствовала площади поперечного сечения трубопровода 4.
В качестве пробозаборного устройства 3 использовалось устройство по ГОСТ 2517-85, черт.14, [4] которое представляло собой трубку с внутренним диаметром 6 мм, загнутый конец которой был обращен навстречу потоку и был расположен на вертикальной продольной оси трубопровода 4. Трубка 3 была установлена на расстоянии половины диаметра трубопровода 4 от корпуса 1 (при фланцевом соединении корпуса 1 с трубопроводом 4 на расстоянии половины диаметра трубопровода 4 от фланцевой пары).
Жидкость в трубопроводе 4 представляла водонефтяную эмульсию с содержанием воды от 5,2% до 10,9% об. Скорость потока в трубе 4 изменялась в диапазоне от 0,75 до 2,54 м/с.
Сравнительные испытания заявляемых способа и устройства отбора проб жидкости из трубопровода были проведены с использованием способа отбора проб [3] и устройства отбора проб [4]. Устройство-прототип [4] представляло собой заявляемое устройство без перемешивающего устройства 2 (фиг.1-3), которое было установлено на расстоянии 0,5 диаметра трубопровода от участка 1, изменяющего направление движения потока в трубопроводе 4. Данные сравнительных испытаний сведены в таблицу.
Представительность пробы, полученной по известной технике отбора проб [3-4], значительно ниже по сравнению с представительностью для заявляемой технологии. Это говорит о том, что поток в трубопроводе после перемешивания по заявляемой технологии отбора пробы более однородный, нежели после перемешивания по известной [3-4]. Использование элемента трубопровода – отвод, переход, тройник и т.п.или их комбинация – в качестве корпуса 1 для перемешивающего устройства, позволяет трансформировать область расслоения потока в этом элементе в область для перемешивания потока и устанавливать перемешивающее устройство перед устройством для отбора проб, которое установлено непосредственно после элемента трубопровода, в котором происходит изменение направления потока практически без изменения или без изменения положения устройства для отбора проб. На существующих многочисленных узлах учета нефти, на которых устройство для отбора проб установлено непосредственно после элемента 1, фиг.1-2-3, и изменение места устройства для отбора пробы на трубопроводе 4 связано с техническими сложностями, применение заявляемых технических решений обеспечит при неизменном положении устройства отбора проб представительный отбор пробы.
Таким образом, данные сравнительных испытаний таблицы подтверждают, что отбор пробы из потока по заявляемому способу и устройству, в отличие от отбора пробы по прототипу [3-4], обеспечивает более представительную пробу.
Заявляемый способ отбора проб и устройство для его осуществления промышленно применимы – для осуществления заявляемой технологии необходимо применение существующих и выпускаемых отечественной промышленностью элементов.
| Таблица |
| № эксперимента |
Скорость потока в трубопроводе (фиг.1-3), м/с |
Обводненность потока, об.% |
Обводненность потока, об.%, определяемая по пробе |
| Фиг.1 |
Фиг.2 |
Фиг.3 |
| заявляемый |
прототип |
заявляемый |
прототип |
заявляемый |
прототип |
| 1 |
0,75 |
5,2 |
4,8 |
1,6 |
4,5 |
1,5 |
4,6 |
1,4 |
| 2 |
– |
10,1 |
9,2 |
3,7 |
8,8 |
3,4 |
8,7 |
3,5 |
| 3 |
1,24 |
5,4 |
4,8 |
3,4 |
4,7 |
3,1 |
4,6 |
3,2 |
| 4 |
– |
10,7 |
9,6 |
7,7 |
9,2 |
7,3 |
9,1 |
7,4 |
| 5 |
2,54 |
5,7 |
5,6 |
4,2 |
5,7 |
3,9 |
5,7 |
4,1 |
| 6 |
– |
10,9 |
10,8 |
8,4 |
10,8 |
7,5 |
10,9 |
7,8 |
Источники информации.
1. Способ отбора проб жидкости из трубопровода. RU 2215277 С1, МПК G01N 1-10.
2. Устройство для отбора проб жидкости из трубопровода RU 2215277 С1, МПК G01N 1-10.
3. Способ отбора проб жидкости из трубопровода. Нефть и нефтепродукты. Методы отбора проб. ГОСТ 2517-85-М.: ИПК издательство стандартов п.2.13.1.3., 2.13.1.7, 2.13.1.8, черт.14, 18.
4. Устройство для отбора проб жидкости из трубопровода. Способ отбора проб жидкости из трубопровода. Нефть и нефтепродукты. Методы отбора проб. ГОСТ 2517-85-М.: ИПК издательство стандартов п.2.13.1.3., 2.13.1.7, 2.13.1.8, черт.14, 18.
5. Тронов В.П. и др. Расслоение потока на нефть, газ и воду в концевых участках трубопроводов. – Журнал «Нефтяное хозяйство», 1980 г., №1, с.45.
6. ГОСТ 12815-80, Табл.38 (Присоединительные размеры и размеры уплотнительных поверхностей фланцев на Ру 63 кгс/см2).
Формула изобретения
1. Способ отбора проб жидкости из трубопровода, при котором изменяют направление движения части потока жидкости трубопровода, прокачивают поток жидкости через устройство для перемешивания, проводят анализ параметров потока устройством для анализа параметров потока или осуществляют отбор пробы, которую направляют на анализ, отличающийся тем, что корпус устройства для перемешивания устанавливают на участке трубопровода, на котором поток жидкости изменяет свое направление, а изменение направления жидкости трансформируют в зону перемешивания, используя возникающую при изменении направления турбулентность на перемешивание.
2. Устройство для отбора проб жидкости из трубопровода, содержащее элемент трубопровода, изменяющий направление потока трубопровода, перемешивающее устройство, пробоотборное устройство и устройство для анализа параметров потока, отличающееся тем, что в качестве корпуса перемешивающего устройства используют элемент трубопровода, изменяющий направление потока трубопровода, а перемешивающее устройство смонтировано в трубопроводе на участке ближе к продольной оси трубопровода, при этом поверхность перемешивающего устройства, обращенная к потоку жидкости, выполнена с площадью входа, соответствующей или превосходящей максимальную площадь прохода в поперечном сечении перемешивающего устройства.
3. Устройство по п.2, отличающееся тем, что перемешивающее устройство смонтировано по сварному шву соединения элемента трубопровода, изменяющего направление потока, с трубопроводом или установлено в упор внутренних поверхностей этих элементов и выполнено в виде патрубка, торцевая часть которого, выдвинутая навстречу потоку, выполнена с диаметром в поперечном сечении не более диаметра противоположной торцевой части патрубка.
РИСУНКИ
|
|