|
(21), (22) Заявка: 2006112633/06, 18.04.2006
(24) Дата начала отсчета срока действия патента:
18.04.2006
(46) Опубликовано: 27.10.2007
(56) Список документов, цитированных в отчете о поиске:
RU 2246711 С1 20.02.2005. RU 2098669 C1 10.12.1997. SU 773314 А 26.10.1980. US 4595340 А 17.06.1986. DE 2606891 А 23.09.1976.
Адрес для переписки:
111116, Москва, ул. Авиамоторная, 2, ФГУП “ЦИАМ имени П.И. Баранова”, отдел Интеллектуальной собственности
|
(72) Автор(ы):
Ледовская Наталия Николаевна (RU), Меркурьев Александр Николаевич (RU), Бухштаб Павел Александрович (RU)
(73) Патентообладатель(и):
Федеральное государственное унитарное предприятие “Центральный институт авиационного моторостроения имени П.И. Баранова” (RU)
|
(54) СПОСОБ ОПРЕДЕЛЕНИЯ ПАРАМЕТРОВ ТЕЧЕНИЯ В КОМПРЕССОРЕ И УСТРОЙСТВО ДЛЯ ЕГО ОСУЩЕСТВЛЕНИЯ
(57) Реферат:
Изобретение относится к авиационной технике, а именно к способам определения динамики изменения газодинамических параметров потока в компрессоре в заданных областях течения потока, и может быть использовано при их испытании. Достигнутым результатом является повышение точности и информативности определения динамики изменения газодинамических параметров течения потока в компрессоре. Измерения пульсаций температуры в межвенцовых зазорах позволяют оценить влияние обнаруженных вихревых структур на эффективность того или иного сечения. 2 н.п.ф-лы, 5 ил.
Изобретение относится к авиационной технике, а именно к способам определения динамики изменения газодинамических параметров потока в компрессоре, в заданных областях течения потока, и может быть использовано при их испытании.
Для улучшения качеств компрессора, а именно повышения коэффициента полезного действия, расширения диапазона устойчивой его работы, увеличения производительности, снижения шума, необходимо проведение работы, направленной на улучшение указанных характеристик отдельных его ступеней. Поэтому для поиска резервов улучшения параметров компрессора необходимо проведение исследований структуры течения в проточной части. При этом исследование структуры потока с использованием методов визуализации позволяет выявить особенности течения, влияющие на указанные характеристики компрессора, для их устранения.
При проектировании новых вентиляторов, рассчитываемых на большие окружные скорости, необходимо учитывать положение и интенсивность скачков давления, возникающих при окружных скоростях Uк>300 м/с в межлопаточных каналах рабочих колес компрессора, так как в этом случае лопатки рабочего колеса обтекаются сверхзвуковым потоком, особенно в периферийных сечениях.
Известно, что в периферийной части на 1/3 высоты канала трансзвуковых вентиляторных ступеней наблюдается резкое (на 20-30%) уменьшение эффективности ступени по сравнению со средним значением.
Для обнаружения причин этого явления проводятся экспериментальные исследования течения в рабочем колесе с целью обнаружения роли периферийных сечений рабочего колеса, а также оценки соотношения газодинамических потерь в рабочем колесе и потерь на нестационарные эффекты, связанные с отрывом потока и перетеканием в радиальном зазоре. Для этого необходимо измерение местных нестационарных значений эффективности подвода энергии в каждом из элементарных сечений, расположенных по радиусу лопаток рабочих колес и решеток статоров.
Для оценки эффективности элементарных сечений используется коэффициент полезного действия (КПД), который определяется по результатам измерения полного давления и температуры с помощью инерционных приборов, устанавливаемых за рабочим колесом и ступенью.
В решетке РК компрессора происходит подвод энергии, что проявляется в создании степени сжатия и соответственно повышении температуры потока.
Известен традиционный способ определения коэффициента полезного действия (КПД), путем измерения стационарной температуры в потоке, применяемый при испытании двигателей и компрессоров, описанный в книге Э.Л.Солохина «Испытания авиационных воздушно-реактивных двигателей», издание второе, переработанное и дополненное, Москва, Машиностроение, 1975 г., стр.38-47, стр.234-251.
Недостатком данного технического решения является невозможность получения нестационарных параметров потока, таких как скорость и температура.
Наиболее близким техническим решением к заявляемому и принятым за прототип является «Способ определения параметров течения в компрессоре и устройство для его осуществления», патент RU №2246711 от 23.05.03.
Недостатком данного технического решения является то, что этот способ не предусматривает измерение пульсаций температуры и определение пульсаций полной температуры и потому не позволяет определять мгновенные значения векторов абсолютной и осевой скорости и мгновенные значения коэффициента полезного действия.
Технической задачей является повышение точности и информативности определения динамики изменения газодинамических параметров течения потока в компрессоре.
Известно, что, например, сверхзвуковое течение сопровождается образованием скачков давления, интенсивность и положение которых зависят от величины приведенной скорости потока и граничных условий, что в свою очередь определяется окружной скоростью, расходом воздуха и степенью сжатия. Схема течения, реализующаяся в межлопаточных каналах рабочих колес при сверхзвуковом обтекании лопаток, зависит также от угла натекания потока на передние кромки лопаток в относительном движении. Поэтому при испытании таких ступеней необходимо применение визуализации течения в периферийном сечении для определения схемы течения, оценки интенсивности скачков, а также для наблюдения за изменением структуры потока, происходящем при изменении режима работы ступени по расходу, степени сжатия и оборотам.
На выходе из рабочего колеса наблюдается существенная нестационарная шаговая неравномерность полного и статического давления, которая проходит через решетку выходного направляющего аппарата и содержит зоны повышенного и пониженного давления и соответственно зоны повышенной и пониженной температуры, которые не соответствуют повышению степени сжатия. При проведении исследований нестационарных параметров потока в сверхзвуковых ступенях компрессора было установлено, что изменение по шагу межлопаточного канала в периферийных сечениях рабочих колес может составить: по статическому давлению 2-4%, по полному давлению 4-12%. Для оценки влияния того или иного эффекта на эффективность каждого элементарного сечения необходимо производить измерения пульсаций температуры для определения шаговой неравномерности эффективности.
Технический результат достигается в заявляемом способе определения параметров течения в компрессоре и устройстве для его осуществления, где способ включает синхронное измерение статического давления, пульсаций статического давления над рабочим колесом компрессора, мгновенных значений амплитуд импульсных сигналов от датчиков частоты следования лопаток колеса компрессора, определение осредненного по времени статического давления и осредненных по времени импульсных сигналов частоты следования лопаток, измерение пульсаций полного и статического давления на входе и выходе компрессора, построение изолинии в каждом межлопаточном канале периферийного сечения колеса компрессора за время прохождения каждого межлопаточного канала и всех каналов за один оборот колеса и несколько оборотов, определение границы каналов колеса компрессора на изолиниях давления, вычисление приведенной скорости потока в абсолютном движении на входе и выходе компрессора, при этом дополнительно производят измерение пульсаций полного и статического давления за рабочим колесом компрессора, измеряют температуру потока (Tr) и пульсации температуры (Tr)’ за рабочим колесом, перед компрессором и за компрессором, причем все измерения производят синхронно, определяют температуру торможения потока (Т*) за рабочим колесом, перед компрессором и за компрессором, пульсацию температуры торможения потока (Т*)’ за рабочим колесом, перед компрессором и за компрессором, рассчитывают критическую скорость звука, вычисляют скорость потока и коэффициент полезного действия (КПД).
Устройство для определения параметров течения в компрессоре, реализующее заявляемый способ содержит малоинерционные датчики (3) давления и датчики (4, 5) частоты следования лопаток рабочего колеса компрессора, установленные над рабочим колесом (2) компрессора, насадки (6) для измерения пульсаций полного и статического давлений, установленные перед компрессором и за компрессором, блок (7) визуализации результатов измерения, блок (8) синхронного ввода и регистрации результатов измерения, блок (9) обработки результатов измерения, который включает блок (10) определения мгновенных изолиний статического давления в каждом межлопаточном канале периферийного сечения рабочего колеса компрессора, блок (11) обработки мгновенных значений амплитуд сигналов датчиков частоты следования лопаток, блок (12) определения пульсаций приведенной скорости потока, блок (13) построения изолиний полного и статического давления, блок (14) частотного анализа пульсаций давления, блок (15) определения осредненных значений давления, скорости, амплитуд сигналов датчиков частоты следования лопаток и блок (16) визуализации результатов обработки, при этом насадки (6) для измерения пульсаций полного и статического давлений соединены с блоком (8) синхронного ввода и регистрации результатов измерения, который соединен с блоком (9) обработки результатов измерения, и все блоки соединены с блоком (16) визуализации результатов обработки, причем оно дополнительно содержит насадок (17) для измерения пульсаций полного и статического давлений, установленный за рабочим колесом, устройства (18) для измерения пульсаций температуры, установленные за рабочим колесом, перед компрессором и за компрессором, блок (19) вторичной обработки пульсаций температуры, блок (20) определения скорости потока в абсолютном движении, блок (21) определения мгновенных значений коэффициента полезного действия (КПД), при этом насадок (17) для измерения пульсаций полного и статического давлений и устройства (18) для измерения пульсаций температуры соединены с блоком (7) визуализации результатов измерения, блоком (8) синхронного ввода и регистрации результатов измерения и через блок (9) обработки результатов измерения с блоком (16) визуализации результатов обработки, при этом блок (8) синхронного ввода и регистрации результатов измерения через блок (19) вторичной обработки пульсаций температуры соединен с блоком (20) определения скорости потока в абсолютном движении и блоком (21) определения мгновенных значений коэффициента полезного действия (КПД), причем блоком (20) определения скорости потока в абсолютном движении соединен с блоком (12) определения пульсаций приведенной скорости потока, а блок (21) определения мгновенных значений коэффициента полезного действия (КПД) соединен с блоком (16) визуализации результатов обработки.
При этом в заявляемом способе, включающем измерение статического давления, пульсаций статического давления над рабочим колесом компрессора, мгновенных значений амплитуд импульсных сигналов от датчиков частоты следования лопаток колеса компрессора, определение осредненного по времени статического давления и осредненных по времени импульсных сигналов частоты следования лопаток, измерение пульсаций полного и статического давления на входе и выходе компрессора, при этом все измерения производят синхронно, строят изолинии в каждом межлопаточном канале периферийного сечения колеса компрессора за время прохождения каждого межлопаточного канала и всех каналов за один оборот колеса и несколько оборотов, определяют границы каналов колеса компрессора на изолиниях давления, вычисляют приведенную скорость потока в абсолютном движении на входе и выходе компрессора по формуле:

где – приведенная скорость потока в абсолютном движении;
k – показатель изоэнтропы;
P – мгновенное значение статического давления;
Р*абс – мгновенное значение полного давления.
При этом производят измерения пульсаций полного и статического давления за рабочим колесом компрессора, измеряют (Tr) и пульсации температуры (Tr)’ за рабочим колесом, перед и за компрессором, например, с помощью тонко проволочных приемников термометра сопротивления.
Производят коррекцию измеренной температуры Tr и ее пульсаций (Tr)’ с учетом статических и амплитудно-частотных характеристик приемников пульсаций температуры. Определяют температуру торможения потока Т* за рабочим колесом, перед компрессором и за компрессором по формуле:

где r – коэффициент восстановления термометра сопротивления;
Тr – постоянная составляющая значения температуры после коррекции;
Т* – температура торможения потока;
М – число Маха;
k – показатель изоэнтропы.
Определяют пульсацию температуры торможения потока (Т*)’ за рабочим колесом, перед компрессором и за компрессором по формуле

где r – коэффициент восстановления приемника пульсаций температуры;
Tr – мгновенные значения температуры после коррекции;
Т*’ – пульсация температуры торможения потока;
Т* – температура торможения потока;
М – число Маха;
k – показатель изоэнтропы.
Рассчитывают критическую скорость звука:

где акр – критическая скорость звука;
g – ускорение свободного падения;
k – показатель изоэнтропы;
R – газовая постоянная;
Т* – температура торможения потока.
Вычисляют скорость потока по формуле: Uабс= aакр,
где Uабс – абсолютная скорость потока;
– приведенная скорость потока в абсолютном движении;
акр – критическая скорость звука.
Вычисляют коэффициент полезного действия (КПД)

где – коэффициент полезного действия (КПД);
T*вых – мгновенное значение температуры торможения в данной точке на выходе из рабочего колеса и из компрессора;
T*вх – мгновенное значение температуры торможения в данной точке на входе в компрессор;
P*вых – мгновенное значение полного давления в данной точке на выходе из рабочего колеса и из компрессора;
Р*вх – мгновенное значение полного давления в данной точке на входе в компрессор;
k – показатель изоэнтропы.
Анализ данных производят в различных частотных диапазонах, интервал которых по частоте изменяют в зависимости от цели проводимого исследования.
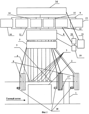
На фиг.1 изображена структурная схема устройства, реализующего предлагаемый способ определения параметров течения в компрессоре.
На фиг.2 изображен вид спектров пульсаций температуры (Tr)’, измеренных, например, с помощью тонкопроволочного приемника термометра сопротивления.
На фиг.3 изображен вид спектра пульсаций температуры торможения потока (Т*)’.
На фиг.4 изображен вид изменения по шагу рабочего колеса компрессора температуры торможения потока Т*.
На фиг.5 изображен вид изменения по шагу рабочего колеса компрессора коэффициента полезного действия (КПД) .
Устройство, реализующее предлагаемый способ определения параметров течения в компрессоре, структурная схема которого изображена на фиг.1, где показана решетка 1 статора ступени компрессора (не показан), лопатка 2 рабочего колеса компрессора, содержит малоинерционные датчики 3 давления, импульсные датчики 4 и 5 частоты следования лопаток 2, насадки 6 измерения пульсаций полного и статического давления, блок 7 визуализации результатов измерения, блок 8 синхронного ввода и регистрации результатов измерения, блок 9 вторичной обработки результатов измерения, который включает блок 10 определения мгновенных изолиний статического давления в каждом межлопаточном канале периферийного сечения рабочего колеса компрессора, блок 11 обработки мгновенных значений амплитуд импульсных сигналов от датчиков 4 и 5 частоты следования лопаток рабочего колеса компрессора, блок 12 определения пульсаций скорости потока во входном и выходном каналах компрессора, блок 13 построения изолиний, блок 14 частотного анализа пульсаций давления, блок 15 определения осредненных значений давления, скорости, амплитуд импульсных сигналов, блок 16 визуализации результатов обработки, а также оно дополнительно содержит насадок 17 для измерения пульсаций полного и статического давлений, установленный за рабочим колесом, устройства 18 для измерения пульсаций температуры, установленные за рабочим колесом, перед компрессором и за компрессором, блок 19 вторичной обработки пульсаций температуры, блок 20 определения скорости потока в абсолютном движении, блок 21 определения мгновенных значений коэффициента полезного действия (КПД). При этом насадок 17 для измерения пульсаций полного и статического давлений и устройства 18 для измерения пульсаций температуры соединены с блоком 7 визуализации результатов измерения, блоком 8 синхронного ввода и регистрации результатов измерения и через блок 9 обработки результатов измерения с блоком 16 визуализации результатов обработки, причем блок 8 синхронного ввода и регистрации результатов измерения через блок 19 вторичной обработки пульсаций температуры соединен с блоком 20 определения скорости потока в абсолютном движении и блоком 21 определения мгновенных значений коэффициента полезного действия (КПД), а блок 20 определения скорости потока в абсолютном движении соединен с блоком 12 определения пульсаций приведенной скорости потока, а блок 21 определения мгновенных значений коэффициента полезного действия (КПД) соединен с блоком 16 визуализации результатов обработки.
Устройство, реализующее предлагаемый способ определения параметров течения в компрессоре и представленное на фиг.1, работает следующим образом.
В ступени, состоящей из неподвижной решетки 1 направляющего аппарата и вращающихся лопаток 2 рабочего колеса компрессора, устанавливают малоинерционные датчики 3 давления в проставке над рабочим колесом и в насадках 6 измерения пульсаций полного и статического давления в потоке на входе и выходе компрессора. Устанавливают датчики 4 и 5 частоты следования передней и задней кромок лопаток рабочего колеса. Сигналы с неподвижных датчиков 3 давления, установленных над рабочим колесом, с датчиков 4 и 5 частоты следования лопаток, с датчиков давления в насадках 6 и 17 измерения пульсаций полного и статического давления в одной точке в потоке на входе и в потоке на выходе и за рабочим колесом, а также с датчиков термометра сопротивления 18, выполненных, например, в виде тонко проволочных приемников термометра сопротивления, установленных в проточной части в тех же сечениях, что и насадки для измерения пульсаций скорости, синхронно поступают в блок 7 визуализации результатов измерения для визуального контроля за вводимым сигналом. После визуального контроля в блоке 7 производят синхронный ввод сигналов в блок 8 преобразования аналогового сигнала в цифровой и производят его регистрацию. Первичная обработка пульсаций температуры (Tr)’ производится в блоке 19. Вторичная обработка зарегистрированных сигналов с датчиков, установленных в насадках для измерения пульсаций полного и статического давления производится в блоке 9. Вторичная обработка пульсаций температуры потока (Tr)’ производится в блоке 20, где определяются пульсации температуры торможения потока (Т*) и скорость потока в абсолютном движении (и куда поступают из блока (12) результаты определения приведенной скорости потока и определения скорости потока в абсолютном движении). Результаты вторичной обработки из блока 20 поступают в блок 21 определения мгновенных значений коэффициента полезного действия 21, который соединен с блоком визуализации результатов обработки 16, где производится построение линий постоянного уровня давления, определение границ межлопаточных каналов, спектральный анализ зарегистрированных сигналов, определение пульсаций скорости потока на входе и выходе и за рабочим колесом, определение осредненных значений давления, скорости и амплитуды импульсных сигналов. Дополнительно строятся осциллограммы изменения полной температуры потока.
Перед началом работы на передней панели устанавливают параметры производимого преобразования и записи сигналов, такие, как частота дискретизации, количество точек в реализациях, количество знаков после запятой в числах после преобразования. Начало работы блоков, подключенных к компьютеру, осуществляют нажатием клавиши – «пуск», после чего производят просмотр визуализированных сигналов с подключенных измерительных электрических приборов. В случае необходимости производят изменение уровня сигнала и соответствующее изменение настройки шкал. В соответствии с задачами, решаемыми при проведении исследований и характером регистрируемых процессов, выбирают режим произведения преобразования, отвечающий необходимым требованиям:
– учитывают или не учитывают постоянную составляющую;
– учитывают или нет коэффициенты, преобразующие электрические сигналы в физические величины;
– производят ли переключение уровня сигнала.
Далее по сигналу с клавиатуры компьютера и дисплея производят синхронную запись показаний насадков, измеряющих пульсации полного и статического давления, малоинерционных датчиков над колесом, синхроимпульсов частоты вращения ротора, датчиков следования кромок лопаток, сигналы с тонкопроволочных приемников термометров сопротивления. Зарегистрированные данные пульсаций температуры направляют для обработки в блоки 19 и 20, после чего результаты обработки визуализируются в блоке 16.
Пример визуализации спектрального состава измеренных пульсаций температуры (Tr)’ представлен на фиг.2, который описывает шаговую неравномерность потока, связанную с прохождением межлопаточных каналов рабочего колеса компрессора, и соответствует полигармоническому изменению параметров потока на выходе из компрессора. Показана гармоника частоты следования лопаток на частоте, 10 кГц, гармоники на частотах ее второй, третьей кратностях при 20 и 30 кГц, а также искажения в спектре в полосе частот до 1 кГц. Искажения в спектре в указанной полосе частот устраняются с помощью специальной методики при определении пульсаций температуры торможения потока (Т*)’ в блоках 19 и 20.
На фиг.3 изображен вид спектра пульсаций температуры торможения потока (Т*)’, в котором указанные искажения отсутствуют.
Пример визуализации пульсаций температуры торможения потока (Т*)’ за время, равное 0,0001 с, представлен на фиг.4, на которой изображен вид изменения температуры торможения потока на выходе из компрессора по шагу одного канала периферийного сечения лопаток 2 рабочего колеса.
Пример визуализации изменения коэффициента полезного действия рабочего колеса за время, равное 0,0001 с, показан на фиг.3.
Значения коэффициента полезного действия (КПД) соответствуют пульсациям температуры потока (Т*)’ и показаны на фиг.4.
Визуализация структуры потока в периферийной части на выходе из рабочих колес выявляет мелкомасштабные структуры, имеющие по всей вероятности вихревую природу. Измерения пульсаций температуры в межвенцовых зазорах позволяют оценить влияние обнаруженных вихревых структур на эффективность того или иного элементарного сечения.
Учет переменной температуры в зонах повышенных потерь полного давления дает отличие на 2-3% величины среднего значения коэффициента полезного действия по сравнению с его значением при постоянной по шагу температуре. Следовательно, при измерении пульсаций температуры повышается точность определения параметров потока.
Формула изобретения
1. Способ определения параметров течения в компрессоре, включающий синхронное измерение статического давления, пульсаций статического давления над рабочим колесом компрессора, мгновенных значений амплитуд импульсных сигналов от датчиков частоты следования лопаток колеса компрессора, определение осредненного по времени статического давления и осредненных по времени импульсных сигналов частоты следования лопаток, измерение пульсаций полного и статического давления на входе и выходе компрессора, построение изолинии в каждом межлопаточном канале периферийного сечения колеса компрессора за время прохождения каждого межлопаточного канала и всех каналов за один оборот колеса и несколько оборотов, определение границы каналов колеса компрессора на изолиниях давления, вычисление приведенной скорости потока в абсолютном движении на входе и выходе компрессора, отличающийся тем, что дополнительно производят измерение пульсаций полного и статического давления за рабочим колесом компрессора, измеряют температуру потока (Тr) и пульсации температуры (Тr)’ за рабочим колесом, перед компрессором и за компрессором, при этом все измерения производят синхронно, определяют температуру торможения потока (Т*) за рабочим колесом, перед компрессором и за компрессором, пульсацию температуры торможения потока (Т*)’ за рабочим колесом, перед компрессором и за компрессором, рассчитывают критическую скорость звука по формуле 
вычисляют скорость потока по формуле Uабс= акр,
и коэффициент полезного действия 
где акр – критическая скорость звука;
– приведенная скорость Потока;
g – ускорение свободного падения;
k – показатель изоэнтропы;
R – газовая постоянная;
– коэффициент полезного действия;
Т*вых – мгновенное значение температуры торможения в данной точке на выходе из рабочего колеса и из компрессора;
Т*вх – мгновенное значение температуры торможения в данной точке на входе в компрессор;
Р*вых – мгновенное значение полного давления в данной точке на выходе из рабочего колеса и из компрессора;
Р*вх – мгновенное значение полного давления в данной точке на входе в компрессор;
Uабс – скорость потока в абсолютном движении;
Т* – температура торможения потока.
2. Устройство для определения параметров течения в компрессоре, содержащее малоинерционные датчики (3) давления и датчики (4, 5) частоты следования лопаток рабочего колеса компрессора, установленные над рабочим колесом (2) компрессора, насадки (6) для измерения пульсаций полного и статического давлений, установленные перед компрессором и за компрессором, блок (7) визуализации результатов измерения, блок (8) синхронного ввода и регистрации результатов измерения, блок (9) обработки результатов измерения, который включает блок (10) определения мгновенных изолиний статического давления в каждом межлопаточном канале периферийного сечения рабочего колеса компрессора, блок (11) обработки мгновенных значений амплитуд сигналов датчиков частоты следования лопаток, блок (12) определения пульсаций приведенной скорости потока, блок (13) построения изолиний полного и статического давления, блок (14) частотного анализа пульсаций давления, блок (15) определения осредненных значений давления, скорости, амплитуд сигналов датчиков частоты следования лопаток, и блок (16) визуализации результатов обработки, при этом насадки (6) для измерения пульсаций полного и статического давлений соединены с блоком (8) синхронного ввода и регистрации результатов измерения, который соединен с блоком (9) обработки результатов измерения, и все блоки соединены с блоком (16) визуализации результатов обработки, отличающееся тем, что оно дополнительно содержит насадок (17) для измерения пульсаций полного и статического давлений, установленный за рабочим колесом, устройства (18) для измерения пульсаций температуры, установленные за рабочим колесом, перед компрессором и за компрессором, блок (19) вторичной обработки пульсаций температуры, блок (20) определения скорости потока в абсолютном движении, блок (21) определения мгновенных значений коэффициента полезного действия (КПД), при этом насадок (17) для измерения пульсаций полного и статического давлений и устройства (18) для измерения пульсаций температуры соединены с блоком (7) визуализации результатов измерения, блоком (8) синхронного ввода и регистрации результатов измерения и через блок (9) обработки результатов измерения с блоком (16) визуализации результатов обработки, при этом блок (8) синхронного ввода и регистрации результатов измерения через блок (19) вторичной обработки пульсаций температуры соединен с блоком (20) определения скорости потока в абсолютном движении и блоком (21) определения мгновенных значений коэффициента полезного действия (КПД), причем блок (20) определения скорости потока в абсолютном движении соединен с блоком (12) определения пульсаций приведенной скорости потока, а блок (21) определения мгновенных значений коэффициента полезного действия (КПД) соединен с блоком (16) визуализации результатов обработки.
РИСУНКИ
|