|
|
(21), (22) Заявка: 2005133273/28, 31.10.2005
(24) Дата начала отсчета срока действия патента:
31.10.2005
(43) Дата публикации заявки: 10.05.2007
(46) Опубликовано: 27.10.2007
(56) Список документов, цитированных в отчете о поиске:
RU 2206077 С2, 10.06.2003. RU 2163013 С2, 10.02.2001. JP 2005106479 А, 21.04.2005. SU 619819 А, 15.08.1978. RU 2019802 С, 15.09.1994. DE 3200439 А, 21.07.1983. GB 2288211 А, 11.10.1995.
Адрес для переписки:
127018, Москва, ул. Складочная, 6, Филиал компании “ЦРНО”, начальнику патентно-лицензионного отдела, пат.пов. В.Д.Саковичу, рег. № 717
|
(72) Автор(ы):
Цветков Юрий Николаевич (RU), Акимов Игорь Владиславович (RU), Харламов Евгений Иванович (RU), Демиденко Валентин Михайлович (RU)
(73) Патентообладатель(и):
ЦЕНТР РАЗРАБОТКИ НЕФТЕДОБЫВАЮЩЕГО ОБОРУДОВАНИЯ (“ЦРНО”) (SC)
|
(54) СТЕНД ДЛЯ ИСПЫТАНИЯ РАДИАЛЬНЫХ ПАР ТРЕНИЯ
(57) Реферат:
Изобретение относится к области испытательной техники и может быть использовано для исследования свойств материалов, применяемых в радиальных парах трения, в частности в подшипниках скольжения погружных центробежных насосов. Изобретение направлено на повышение надежности и долговечности работы, а также на упрощение и сокращение времени установки на стенде испытуемых пар трения. Этот результат обеспечивается за счет того, что стенд содержит емкость с испытательной жидкостью, внутри которой с помощью двух горизонтально ориентированных осей установлен испытательный узел с испытываемой парой трения. Пара трения состоит из внутреннего элемента, размещенного на концевой части вала испытательного узла, соединенного с приводным валом, и внешнего элемента, закрепленного в обойме, соединенной с устройством создания радиального усилия. Одна концевая часть каждой оси закреплена в обойме, предназначенной для размещения внешнего элемента испытываемой пары трения, вторая концевая часть первой оси закреплена в вертикальной стенке емкости с испытательной жидкостью, а вторая концевая часть второй оси выведена через отверстие в противоположно расположенной вертикальной стенке емкости и соединена с устройством для создания радиального усилия. При этом емкость для заполнения испытательной жидкостью размещена внутри вертикально установленной рамы на столе, который соединен с подъемным механизмом. Конструкция стенда исключает возможность попадания испытательной жидкости в подшипники приводного вала стенда при проведении испытаний на высоких оборотах вращения. 1 з.п. ф-лы, 2 ил.
Изобретение относится к испытательной технике и может быть использовано для исследования свойств материалов, применяемых в радиальных парах трения, в частности в подшипниках скольжения погружных центробежных насосов.
Известна испытательная камера машины трения (см. патент RU 2163013 C1, G01N 3/56, 10.02.2001), содержащая вертикальный корпус, предназначенный для заполнения жидкой испытательной средой, блок приложения радиальной нагрузки, приводной вал, первая концевая часть которого соединена с двигателем, а на второй концевой части, расположенной внутри корпуса, закреплен один из элементов пары трения с возможностью взаимодействия со вторым элементом пары трения.
Недостатком известного технического решения является то, что устройство предназначено для проведения испытаний в жидкой смазочной среде без абразива в испытательной жидкости. Вместе с тем, при проведении испытаний пар трения, предназначенных для механизмов, работающих в многофазных средах, например погружных центробежных насосах, необходимо специально использовать испытательную среду с содержанием абразивных примесей.
Кроме того, известная конструкция не обеспечивает быстрой замены образов испытываемых пар трения.
Наиболее близким техническим решением к заявленному изобретению является стенд для испытания радиальных пар трения (см. патент RU 2206077 С2, G01M 13/04, F04B 51/00, G01N 3/56, 17.07.2001), который содержит корпус, емкость для заполнения испытательной жидкостью, внутри корпуса размещена концевая часть первого вала, на которой закреплен внутренний элемент испытываемой пары трения, при этом внешний элемент пары трения закреплен в обойме с возможностью восприятия создаваемых радиальных усилий. Первый вал связан со вторым валом, на котором размещено лопастное колесо с направляющим аппаратом, обеспечивающими подвод к зоне контакта трущихся поверхностей испытуемой пары трения сформированного циркулирующего потока испытательной среды.
Недостатком известного стенда является то, что концевые части валов закреплены в стенках корпуса, заполняемого испытательной жидкостью. В процессе работы при вращении вала с испытываемым образом жидкость под воздействием крутящего момента через уплотнения попадает в полость корпуса, в которой размещены подшипники валов. Под воздействием агрессивной среды с содержанием абразива, каковой является испытательная жидкость, подшипники быстро выходят из строя, что приводит к снижению надежности работы всего стенда. Этот недостаток особенно проявляется при проведении испытаний радиальных пар трения, предназначенных для работы в механизмах с высокими скоростями вращения, например в погружных центробежных насосах с вентильным приводом, где скорость вращения привода может достигать 8000 об/мин.
Кроме того, в случае проведения испытаний образцов с различными типоразмерами для установки образца другого типоразмера на стенде приходится производить разборку стенда с заменой вала испытательного узла, предназначенного для закрепления внутренней втулки испытуемой пары трения. Это затрудняет обслуживание стенда и удлиняет сроки проведения испытаний.
Технический результат, достигаемый при использовании изобретения, заключается в повышении надежности работы стенда при исследовании механизма изнашивания радиальных пар трения, предназначенных для работы в высокоскоростных механизмах, и частности в погружных центробежных насосах с вентильным приводом со скоростью вращения вала до 8000 об/мин.
Кроме того, изобретение позволяет сократить срок проведения испытаний и снизить трудоемкость обслуживания стенда, а по результатам проведенных испытаний произвести подбор оптимальных материалов и технологий для изготовления радиальных подшипников скольжения, обеспечивающих надежную и долговечную работу высокоскоростных агрегатов, гарантирующую требуемую наработку на отказ.
Указанный технический результат достигается за счет того, что в стенде для испытания радиальных пар трения, содержащем емкость для заполнения испытательной жидкостью, корпус, внутри которого размещен испытательный узел, состоящий из внутреннего элемента испытываемой пары трения, размещенного на концевой части вала испытательного узла, соединенного с приводным валом, и внешнего элемента пары трения, закрепленного в обойме, соединенной с устройством создания радиального усилия, согласно изобретению испытательный узел установлен с помощью двух горизонтально ориентированных осей внутри емкости для заполнения испытательной жидкостью, при этом одна концевая часть каждой оси размещена в соответствующем отверстии, выполненном на боковой поверхности обоймы, предназначенной для закрепления внешнего элемента испытываемой пары трения, вторая концевая часть первой оси жестко закреплена в вертикальной стенке емкости для заполнения испытательной жидкостью, а вторая концевая часть второй оси соединена с устройством создания радиального усилия через отверстие, выполненное в противоположной вертикальной стенке емкости.
Кроме того, емкость для заполнения испытательной жидкостью размещена внутри вертикально установленной рамы на столе, который соединен с подъемным механизмом.
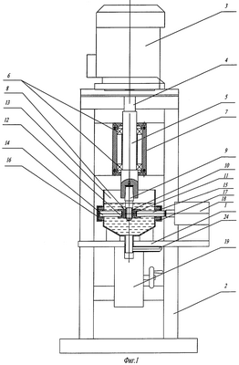
Сущность изобретения поясняется чертежами, где на фиг.1 изображена общая схема стенда для испытания радиальных пар трения, а на фиг.2 представлена схема размещения испытательного узла в емкости.
Стенд для испытания радиальных пар трения содержит стол 1 (фиг.1) и вертикально установленную раму 2. Сверху на раме 2 закреплен электродвигатель 3, связанный через муфту 4 с приводным валом 5, который размещен с помощью подшипников 6 в корпусе 7 внутри рамы 2. Испытательный узел 8 (фиг.1, 2) состоит из вала 9, соединенного одной своей концевой частью с приводным валом 5, а вторая его концевая часть предназначена для размещения внутренней втулки 10 испытываемой радиальной пары трения, контактирующей с наружной втулкой 11, установленной в обойме 12. Испытательный узел 8 размещен внутри емкости 13, предназначенной для заполнения испытательной жидкостью, и закреплен с помощью двух осей 14 и 15. При этом концевая часть 25 оси 14 и концевая часть 26 оси 15 размещены в соответствующих отверстиях, выполненных на боковой поверхности обоймы 12. Вторая концевая часть 27 оси 14 жестко закреплена с помощью уплотнительного узла 16 в вертикальной стенке емкости 13. Вторая концевая часть 28 оси 15 через отверстие с уплотнительным узлом 17, выполненным в противоположной вертикальной стенке емкости 13, соединена с устройством создания радиального усилия 18. В качестве устройства создания радиального усилия может быть использован пневмоцилиндр. Емкость 13 вместе с испытательным узлом 8 установлена на столе 1, который снабжен подъемным механизмом 19. Концевые части приводного вала 5 и вала 9 испытательного узла 8 выполнены с возможностью их соединения между собой, например по типу соединений в сверлильных станках для крепления хвостовиков сверл.
Работа на стенде осуществляется следующим образом.
В обойме 12 испытательного узла 8 (фиг.2) закрепляют вкладыш 20 с запрессованной наружной втулкой 11 испытуемой радиальной пары трения. Ответную внутреннюю испытуемую втулку 10 устанавливают на вал 9 испытательного узла 8 и закрепляют с помощью шпонки 21 с кольцом 22. Затем производят сборку испытательного узла 8, устанавливая вал 9 с внутренней втулкой 10 внутри обоймы 12 с наружной втулкой 11. После этого при нижнем положении стола 1 с помощью осей 14 и 15 собранный испытательный узел 8 закрепляют внутри емкости 13. При этом первую концевую часть 25 оси 14 закрепляют в соответствующем отверстии на боковой поверхности обоймы 12, а вторую концевую часть 27 оси 14 жестко закрепляют на вертикальной стенке емкости 13 и уплотняют с помощью уплотнительного узла 16. Затем первую концевую часть 26 оси 15 через отверстие, выполненное в противоположной вертикальной стенке емкости 13, размещают в соответствующем отверстии, выполненном на боковой поверхности обоймы 12, а вторую концевую часть 28 оси 15 соединяют с устройством создания радиального усилия 18. Вывод концевой части 28 уплотняют с помощью уплотнительного узла 17.
С помощью подъемного механизма 19 стол 1 с емкостью 13 вместе с собранным внутри нее испытательным узлом 8 перемещают вверх до тех пор, пока концевая конусная часть вала 9 плотно не войдет в ответное конусное углубление приводного вала 5 для соединения их между собой, например по типу, используемому в сверлильных станках для крепления хвостовиков сверл. В обойму 12 устанавливают термопару 23, а в емкость 13 заливают испытательную жидкость до уровня выше верхнего торца внутренней втулки 10 испытываемой пары трения. После этого в емкость 13 снизу через штуцер 24 подают сжатый воздух. Поскольку по условиям испытания в испытательную жидкость добавляется в заданном количестве абразивный порошок, продувка испытательной жидкости воздухом необходима для равномерного распределения абразива в жидкости.
Далее на испытываемую пару трения от устройства создания радиального усилия 18 через ось 15 и обойму 12 прикладывают предварительную радиальную нагрузку и включают электродвигатель 3. Затем снимают показатель мощности электродвигателя, устанавливают величину радиальной нагрузки на пару трения до заданного уровня и проводят испытания. При этом в процессе работы стенда полностью исключается возможность попадания испытательной жидкости с содержанием абразива во вращающиеся подшипники 6 приводного вала 5.
Мощность трения определяют по разности мощностей электродвигателя, работающего под нагрузкой и без нее, а момент трения и коэффициент трения в испытываемой паре определяют расчетным путем по мощности трения.
Скорость износа втулок испытываемой пары трения определяется как разность их весов или диаметров до и после испытания, отнесенная к единице времени.
Таким образом, предложенная конструкция стенда в процессе проведения испытаний, особенно на высоких оборотах приводного вала, исключает возможность попадания испытательной жидкости, содержащей абразивные примеси, в подшипники, что повышает его надежность и долговечность.
Формула изобретения
1. Стенд для испытания радиальных пар трения, содержащий емкость для заполнения испытательной жидкостью, корпус, внутри которого размещен испытательный узел, включающий в себя испытываемую пару трения, состоящую из внутреннего элемента, размещенного на концевой части вала испытательного узла, соединенного с приводным валом, и внешнего элемента, закрепленного в обойме, соединенной с устройством создания радиального усилия, отличающийся тем, что испытательный узел установлен с помощью двух горизонтально ориентированных осей внутри емкости для заполнения испытательной жидкостью, при этом одна концевая часть каждой оси размещена в соответствующем отверстии, выполненном на боковой поверхности обоймы, вторая концевая часть первой оси закреплена в вертикальной стенке емкости для заполнения испытательной жидкостью, а вторая концевая часть второй оси выведена через отверстие, выполненное в противоположной вертикальной стенке емкости с возможностью соединения обоймы с устройством для создания радиального усилия.
2. Стенд по п.1, отличающийся тем, что емкость для заполнения испытательной жидкостью размещена внутри вертикально установленной рамы на столе, который соединен с подъемным механизмом.
РИСУНКИ
|
|