|
|
(21), (22) Заявка: 2006110159/06, 29.03.2006
(24) Дата начала отсчета срока действия патента:
29.03.2006
(46) Опубликовано: 27.10.2007
(56) Список документов, цитированных в отчете о поиске:
RU 2196939 С2, 20.01.2003. RU 2185573 С2, 20.07.2002. RU 2172447 C2, 20.08.2001. SU 775531 A, 03.11.1980. SU 531963 A, 18.10.1976. SU 1071881 A, 07.02.1984. GB 1341987 A, 28.12.1973. GB 1038141 A, 10.08.1966.
Адрес для переписки:
356236, Ставропольский край, Шпаковский р-н, с. Верхнерусское, ул. Батайская, 35, ООО “Верхнерусское”, ген. директору
|
(72) Автор(ы):
Сердюков Алексей Алексеевич (RU)
(73) Патентообладатель(и):
Сердюков Алексей Алексеевич (RU)
|
(54) ДВУХСТУПЕНЧАТАЯ АТМОСФЕРНАЯ ГАЗОВАЯ ГОРЕЛКА
(57) Реферат:
Изобретение относится к энергетике, в частности к устройствам для сжигания газообразного топлива, и может быть использовано в газогорелочных устройствах паровых и водогрейных котлов. Двухступенчатая атмосферная газовая горелка содержит два газовых регулятора с двумя ступенями, соединенных последовательно, каждый из которых состоит из блока контроля и регулирования, датчики пламени и тяги, два крана, датчик запальника с биметаллической пластиной, соединенный с горелкой, три терморегулятора, при этом каждый блок контроля и регулирования состоит из пусковой кнопки к сетевому газу, мембраны с жестким центром клапана с седлом, надмембранной полости, мембраны и двухпозиционной заслонки, дренажного сопла и сопла источника давления, дросселя с каналом. Горелка снабжена датчиком сетевого газа, причем биметаллическая пластина датчика запальника выполнена с возможностью открытия датчика сетевого газа с одновременным закрытием сопла датчика запальника и подачей сетевого газа в дроссель с каналом газовых регуляторов обеих ступеней горелки, а газовые регуляторы снабжены датчиками терморегуляторов, соединенных с терморегуляторами, соответственно. Изобретение позволяет обеспечить автоматическое регулирование температуры теплоносителя, упростить конструкцию и повысить надежность. 1 ил.
Изобретение относится к энергетике, в частности к устройствам для сжигания газообразного топлива, и может быть использовано в газогорелочных устройствах паровых и водогрейных котлов.
Уровень техники
Известен сопловый узел горелки, содержащий корпус с установленной за его пределами направляющей пластиной с отогнутым на заданный угол относительно ее плоскости навстречу потоку концом, при этом пластина со стороны, противоположной отогнутому концу, снабжена перпендикулярной продольной оси корпуса поворотной осью, а ее конец отогнут на угол 10-15° (см. а.с. СССР № 989244, кл. F23D 13/26).
Недостатком данного соплового узла горелки является недостаточное смешение газа с первичным воздухом и качество сгорания.
Известна атмосферная газовая горелка, содержащая газовый регулятор, состоящий из блока регулирования, соединенного с датчиком температуры с помощью канала регулирования, блока контроля, соединенного с датчиками пламени, тяги каналом контроля, при этом она снабжена вторым газовым регулятором, состоящим из блока регулирования, соединенного с датчиками температуры и наружного воздуха, блока контроля, при этом второй газовый регулятор установлен с возможностью параллельного подключения полостей блоков контроля и датчика температуры наружного воздуха путем соединения с блоком регулирования второго газового регулятора, причем процентное соотношение подачи газа в горелку обоими регуляторами устанавливается кранами (см. пат. РФ № 2196939, кл. F23N 1/10, F23D 14/60).
Недостатком данной горелки является низкая мощность из-за применения газовых регуляторов с пропускной способностью 12 м3/час каждого (газовые регуляторы с большей мощностью промышленностью не выпускаются). Вторым недостатком данной горелки является отсутствие электрического сигнала на включение-отключение горелки в зависимости от работы циркуляционных насосов электродвигателей дымососов и других электрических агрегатов отопительной системы.
Наиболее близкой по технической сущности и достигаемому положительному эффекту и принятой автором за прототип является двухступенчатая атмосферная газовая горелка, содержащая два газовых регулятора, соединенных последовательно, каждый из которых состоит из блока контроля и регулирования, датчики пламени и тяги, два крана, датчик запальника с биметаллической пластиной, соединенный с горелкой, и топку, три терморегулятора, причем каждый блок контроля и регулирования состоит из пусковой кнопки к сетевому газу, мембраны с жестким центром клапана с седлом, надмембранной полости, мембраны и двухпозиционной заслонки, дренажного сопла и сопла источника давления, дросселя с каналом (см. Двухступенчатая атмосферная газовая горелка. РГУ-М1 руководство по эксплуатации. Са 2.574.023.РЭ ОАО “Завод Староруссприбор” 175200 г. Старая Русса, Новгородская область, ул. Минеральная, 24 ).
Недостатком данной горелки является сложность конструкции, невысокая надежность, а также требуется более квалифицированный персонал газовых служб для ее обслуживания.
Раскрытие изобретения
Технический результат, который может быть получен с помощью предлагаемого изобретения, сводится к автоматическому регулированию температуры теплоносителя, упрощению конструкции и повышению его надежности.
Технический результат достигается с помощью двухступенчатой атмосферной газовой горелки, содержащей два газовых регулятора с двумя ступенями, соединенных последовательно, каждый из которых состоит из блока контроля и регулирования, датчики пламени и тяги, два крана, датчик запальника с биметаллической пластиной, соединенный с горелкой, три терморегулятора, причем каждый блок контроля и регулирования состоит из пусковой кнопки к сетевому газу, мембраны с жестким центром клапана с седлом, надмембранной полости, мембраны и двухпозиционной заслонки, дренажного сопла и сопла источника давления, дросселя с каналом, при этом она снабжена датчиком сетевого газа, причем биметаллическая пластина датчика запальника выполнена с возможностью открытия датчика сетевого газа с одновременным закрытием сопла датчика запальника и подачей сетевого газа в дроссель с каналом газовых регуляторов обеих ступеней горелки, а газовые регуляторы снабжены датчиками терморегуляторов, соединенных с тремя терморегуляторами, соответственно.
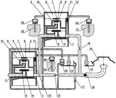
На чертеже дана двухступенчатая атмосферная газовая горелка, общий вид.
Осуществление изобретения
Двухступенчатая атмосферная газовая горелка содержит два газовых регулятора 1 с двумя ступенями, соединенных последовательно, каждый из которых состоит из блока 2 контроля и регулирования, причем каждый блок 2 контроля и регулирования состоит из пусковой кнопки 3 к сетевому газу, мембраны (не обозначена) с жестким центром клапана 4 с седлом 5, надмембранной полости 6, мембраны 7 и двухпозиционной заслонки 8, дренажного сопла 9 и сопла 10 источника давления, дросселя 11 с каналом 12, датчик пламени 13 и датчик тяги 14, краны 15 и 16, датчик запальника 17 с биметаллической пластиной (не обозначена), соединенной с горелкой 18, и топку 19, датчик сетевого газа 20, терморегуляторы 21, 22, 23 с датчиками терморегуляторов 24, 25, 26 соответственно, импульсные трубки (не обозначены), при этом биметаллическая пластина датчика запальника 17 выполнена с возможностью открытия датчика сетевого газа 20 с одновременным закрытием сопла датчика запальника 17 и подачей сетевого газа в дроссель 11 с каналом 12 газовых регуляторов 1 обеих ступеней горелки 18.
Двухступенчатая атмосферная газовая горелка работает следующим образом.
Включение в работу и срабатывание газовых регуляторов 1 происходит следующим образом: при закрытых кранах 15, 16 горелки 18 нажатием на пусковую кнопку 3 блока 2 контроля и регулирования регулятора 1 первой ступени осуществляют подачу газа на запальник 17, который зажигают. Газ одновременно через дроссель 11 и канал 12 поступает в надмембранную полость 6, где происходит повышение давления при закрытии сопла биметаллической пластиной датчика пламени 13 от пламени запальника 17, при закрытых соплах датчика тяги 14 и сопла датчика терморегулятора 26, терморегулятора 23, при этом мембрана 7 перемещается вниз и двухпозиционная заслонка 8 перемещается с дренажного сопла 9 на сопло 10 источника давления, происходит опорожнение надмембранного пространства клапана 4, мембрана с жестким центром с этим клапаном 4 отходит от седла 5, одновременно с закрытием сопла датчика пламени 13 открывается сопло датчика сетевого газа 20, газ поступает через это сопло в запальник 17, пусковую кнопку 3 отпускают, запальник 17 продолжает гореть, и в канал 12, надмембранную полость 6 через дроссель 12 поступает газ. Открывая кран 15, осуществляют подачу газа на первую ступень горелки 18. Одновременно газ поступает в регулятор 1 второй ступени, и, если сопло датчика терморегулятора 24 терморегулятора 21 и сопло датчика терморегулятора 25 терморегулятора 22 закрыты, открывая кран 16, включают вторую ступень горелки 18, которая работает на полную мощность. При нагреве системы отопления до установленной терморегулятором 21 температуры сопло датчика терморегулятора 24 открывается, в надмембранной полости 6 регулятора 1 второй ступени скачкообразно уменьшается давление. Мембрана 7 перемещается вверх, двухпозиционная заслонка 8 перекладывается с сопла 10 источника давления на дренажное сопло 9, происходит заполнение надмембранного пространства клапана 4, клапан 4 опускается на седло 5, подача газа через регулятор 1 второй ступени прекращается, ступень выключается из работы. То же происходит и при открытии сопла датчика терморегулятора 25 терморегулятора 22, настроенного на выключение второй ступени регулятора 1 при положительной температуре наружного воздуха, при этом первая ступень горелки 18 стабильно работает, так как терморегулятор 23 с датчиком терморегулятора 26 настроены на предельно допустимую температуру теплоносителя в котле. При снижении температуры сопло датчика терморегулятора 24 терморегулятора 21 закрывается, газ через канал 12, дроссель 11 заполняет надмембранную полость 6, если закрыто сопло датчика терморегулятора 25 терморегулятора 22, мембрана 7 перемещается вниз, двухпозиционная заслонка 8 перекладывается с дренажного сопла 9 на сопло 10 источника давления, происходит опорожнение надмембранного пространства клапана 4, который отходит от седла 5, подача газа через второй регулятор 1 возобновляется, при этом первая ступень горелки 18 работает постоянно. Так как регуляторы 1 первой и второй ступени одинаковы, то при открытии сопел датчика тяги 14 датчика терморегулятора 26 терморегулятора 23, подача газа или прекращается, или возобновляется при закрытии сопел этих датчиков, причем подача газа прекращается и во вторую ступень горелки 18 и восстанавливается также и для второй ступени горелки 18, при этом запальник 17 горит и в каналы 12 дросселя 11 продолжает поступать газ, вмешательство оператора во всех перечисленных случаях не требуется. При погасании пламени запальника 17 сопло запальника 17 открывается и одновременно закрывается сопло датчика сетевого газа 20. Давление в надмембранной полости 6 регулятора 1 первой ступени падает, мембрана 7 перемещается вверх, двухпозиционная заслонка 8 перекладывается с сопла 10 источника давления на дренажное сопло 9, надмембранная полость клапана 4 заполняется газом, клапан 4 опускается на седло 5, прекращая полностью подачу газа на горелку 18, а так как закрыто сопло датчика сетевого газа 20, отключается полностью автоматика управления обоими регуляторами, необходимо устранить причину погасания запальника 17, закрыть краны 15 и 16 и осуществить розжиг горелки 18, как описано выше.
Предлагаемое изобретение по сравнению с прототипом и другими известными техническими решениями имеет следующие преимущества:
– автоматическое регулирование температуры теплоносителя;
– упрощение конструкции;
– повышение надежности и мощности;
– наличие электрического сигнала на включение-отключение горелки;
– точность пропорционирования расхода газа и воздуха при изменении мощности горелки.
Формула изобретения
Двухступенчатая атмосферная газовая горелка, содержащая два газовых регулятора, с двумя ступенями, соединенных последовательно, каждый из которых состоит из блока контроля и регулирования, датчики пламени и тяги, два крана, датчик запальника с биметаллической пластиной, соединенный с горелкой, три терморегулятора, при этом каждый блок контроля и регулирования состоит из пусковой кнопки к сетевому газу, мембраны с жестким центром клапана с седлом, надмембранной полости, мембраны и двухпозиционной заслонки, дренажного сопла и сопла источника давления, дросселя с каналом, отличающаяся тем, что она снабжена датчиком сетевого газа, причем биметаллическая пластина датчика запальника выполнена с возможностью открытия датчика сетевого газа с одновременным закрытием сопла датчика запальника и подачей сетевого газа в дроссель с каналом газовых регуляторов обеих ступеней горелки, а газовые регуляторы снабжены датчиками терморегуляторов, соединенных с терморегуляторами соответственно.
РИСУНКИ
|
|