|
|
(21), (22) Заявка: 2006101114/06, 12.01.2006
(24) Дата начала отсчета срока действия патента:
12.01.2006
(46) Опубликовано: 27.10.2007
(56) Список документов, цитированных в отчете о поиске:
Номенклатурный каталог АО «Трубопроводная арматура и спецоборудование», ТАИС, ТУ26-07-1192-78, 20.04.2000, с.8. SU 903646 A1, 07.02.1982. SU 427629 A1, 23.01.1984. WO 02101269 A, 19.12.2002. US 5518026 A, 21.05.1996.
Адрес для переписки:
423250, Республика Татарстан, г. Лениногорск, ул. Ленинградская, 12, НГДУ “Лениногорскнефть”, технический отдел
|
(72) Автор(ы):
Хамитов Равиль Анварович (RU), Белобородов Максим Витальевич (RU), Кузьмин Вячеслав Иванович (RU), Козлов Михаил Тимофеевич (RU)
(73) Патентообладатель(и):
Открытое акционерное общество “Татнефть” им. В.Д. Шашина (RU)
|
(54) КЛАПАН ОБРАТНЫЙ ПОВОРОТНЫЙ
(57) Реферат:
Изобретение относится к области арматуростроения и предназначено для использования в трубопроводных системах с большой пропускной способностью. Клапан обратный поворотный включает присоединительные фланцы с кольцевыми уплотнительными пазами, седло с кольцевым уплотнительным выступом, запорный орган, переходник с кольцевым уплотнительным выступом и крепежные элементы. Седло выполнено в виде стакана. На донной площадке седла установлен запорный орган. Запорный орган состоит из подвижного и неподвижного участков. Эти участки соединены между собой узкой перемычкой ограниченной длины по дуге. Подвижный участок запорного органа выполнен из эластичного материала и армирован жестким посадочным кольцом, шаровым сегментом и ребрами жесткости. Неподвижный участок выполнен в виде треугольника в продольном разрезе, обращенного гипотенузой к центру и образующего катетами угол, равный от 90 до 93 градусов, и закреплен в стакане прижимной втулкой. Седло соединено с переходником с возможностью разъема в продольном направлении. Изобретение позволяет разработать конструкцию обратного клапана, обладающего высокой эксплуатационной надежностью и повышенным сроком службы. 2 ил.
Изобретение относится к области арматуростроения и преимущественно предназначено для трубопроводных систем с большой пропускной способностью. Оно может быть использовано также в объемных насосах большой производительности.
Известен обратный поворотный клапан ОАО “Благовещенский арматурный завод”, содержащий корпус, крышку, запорный орган, серьгу, кронштейн, ось и крепежные детали (Каталог 2003 г. “Трубопроводная арматура”. ОАО “Благовещенский арматурный завод”, стр.45).
Наиболее близким по технической сущности к предлагаемому является клапан обратный поворотный, включающий присоединительные фланцы с кольцевыми уплотнительными пазами, седло с кольцевым уплотнительным выступом, запорный орган, переходник с кольцевым уплотнительным выступом и крепежные элементы (Номенклатурный каталог АО “Трубопроводная арматура и спецоборудование”, ТАИС, 20.04.2000 г., стр.8, ТУ 26-07-1192-78).
Устройство по аналогу имеет большую металлоемкость и значительные габаритные размеры. Кроме того, они оба имеют следующие существенные недостатки:
– неудовлетворительную эксплуатационную надежность, обусловленную нарушением герметичности полостей в результате попадания между уплотнительными поверхностями механических частиц (песка, волокнистых материалов и т.п.), а также в результате образования на этих поверхностях микроканалов (щелей) от воздействия агрессивных сред и песка;
– низкий срок службы из-за жесткой посадки запорного органа на седло, сопровождаемой ударами, приводящими к сминанию этих поверхностей. Задачей изобретения является разработка конструкции обратного клапана, обладающего высокой эксплуатационной надежностью и повышенным сроком службы.
Указанная задача решается предлагаемым клапаном, включающим присоединительные фланцы с кольцевыми уплотнительными пазами, седло с кольцевым уплотнительным выступом, запорный орган, переходник с кольцевым уплотнительным выступом и крепежные элементы.
Новым является то, что седло выполнено в виде стакана, на донной площадке которого установлен запорный орган, состоящий из подвижного и неподвижного участков, соединенных между собой узкой перемычкой ограниченной длины по дуге, и выполненный из эластичного материала, подвижный участок которого армирован жестким посадочным кольцом, шаровым сегментом и ребрами жесткости, а неподвижный участок выполнен в виде треугольника в продольном разрезе, обращенного гипотенузой к центру и образующего катетами угол, равный от 90 до 93 градусов, и фиксирован в стакане прижимной втулкой, причем седло соединено с переходником с возможностью разъема в продольном направлении.
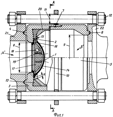
На фиг.1 изображен предлагаемый клапан обратный поворотный в продольном разрезе;
на фиг.2 – разрез по А-А фиг.1.
Он содержит запорный орган 1, установленный на донной площадке 2 седла 3, выполненного в виде стакана с кольцевым уплотнительным выступом 4. В стакан телескопически частично входит переходник 5 с уплотнительным выступом 6 и кольцом 7. Седло 3 и переходник 5 выполнены с проходными отверстиями 8 и 9. С наружной стороны клапана установлено ребро жесткости 10 с отверстиями 11 под шпильки 12.
Запорный орган 1 выполнен из эластичного материала, например резины, и состоит из неподвижного 13 и подвижного 14 участков, соединенных между собой узкой перемычкой 15 ограниченной длины по дуге. Между неподвижным 13 и подвижным 14 участками, за исключением участка перемычки 15, выполнен зазор “К”. Подвижный участок 14 запорного органа 1 снабжен посадочным кольцом 16, шаровым сегментом 17 и ребрами жесткости 18 и 19, выполненными из жесткого материала, например металла. Неподвижный участок 13 запорного органа выполнен в виде треугольника в продольном разрезе, обращенного гипотенузой к центру и образующего катетами угол, равный от 90 до 93 градусов, и фиксирован в стакане прижимной втулкой 20. Указанный выше интервал установлен экспериментально и является оптимальным. При угле меньше 90 градусов не обеспечивается плотное прилегание краев уплотнительного элемента к поверхности стакана, а при угле больше 93 градуса образуется “гармошка” на этом участке. Клапан закреплен между фланцами 21 и 22.
Работает клапан обратный поворотный следующим образом.
После пуска насоса в полости “а” начинает повышаться давление, и, когда усилие на подвижный участок 14 запорного органа 1 со стороны полости “а” окажется больше усилия на него со стороны полости “б”, подвижный участок 14 начинает открываться, поворачиваясь относительно перемычки 15. По мере повышения давления увеличивается подъем подвижного участка 14 и достигает максимума после выхода насоса на рабочий режим. При отключении насоса давление в полости “а” начинает падать, и подвижный участок 14 под действием перепада давления между полостями “б” и “а” постепенно опускается на донную площадку 2 седла 3. Когда подвижный участок 14 полностью сядет на донную площадку 2, периферийная зона подвижного участка 14 плотно прижимается к поверхности седла, при этом прижатие тем сильнее, чем больше перепад давления между полостями “б” и “а”.
Преимущества предлагаемой конструкции клапана заключаются в следующем.
1. Повышается эксплуатационная надежность благодаря тому, что периферийная зона подвижного участка запорного органа обладает способностью самоуплотняться под действием перепада давления, причем чем больше этот перепад давления, тем надежнее герметизация полостей.
2. Повышается срок службы за счет уменьшения силы удара подвижного участка запорного органа о седло (донную площадку), обусловленного, в свою очередь, уменьшением его массы.
Формула изобретения
Клапан обратный поворотный, включающий присоединительные фланцы с кольцевыми уплотнительными пазами, седло с кольцевым уплотнительным выступом, запорный орган, переходник с кольцевым уплотнительным выступом и крепежные элементы, отличающийся тем, что седло выполнено в виде стакана, на донной площадке которого установлен запорный орган, состоящий из подвижного и неподвижного участков, соединенных между собой узкой перемычкой ограниченной длины по дуге, и выполненный из эластичного материала, подвижный участок которого армирован жестким посадочным кольцом, шаровым сегментом и ребрами жесткости, при этом неподвижный участок выполнен в виде треугольника в продольном разрезе, обращенного гипотенузой к центру и образующего катетами угол, равный от 90 до 93°, и фиксирован в стакане прижимной втулкой; причем седло соединено с переходником с возможностью разъема в продольном направлении.
РИСУНКИ
|
|