|
(21), (22) Заявка: 2005135931/11, 18.11.2005
(24) Дата начала отсчета срока действия патента:
18.11.2005
(43) Дата публикации заявки: 27.05.2007
(46) Опубликовано: 27.10.2007
(56) Список документов, цитированных в отчете о поиске:
RU 2087768 C1, 20.08.1997. JP 6257619 А, 16.09.1994. GB 2159240 А, 27.11.1985. US 6440000 В1, 27.08.2002.
Адрес для переписки:
614990, г.Пермь, ГСП, Комсомольский пр-кт, 93, ОАО “Авиадвигатель”, отдел защиты интеллектуальной собственности
|
(72) Автор(ы):
Иноземцев Александр Александрович (RU), Коряковцев Петр Сергеевич (RU), Андрейченко Игорь Леонардович (RU), Трушников Николай Петрович (RU)
(73) Патентообладатель(и):
Открытое акционерное общество “АВИАДВИГАТЕЛЬ” (RU)
|
(54) ГИБКАЯ МУФТА ДЛЯ ВАЛОВ
(57) Реферат:
Изобретение относится к авиадвигателестроению, к муфтам, предназначенным для передачи мощности от вала двигателя к валу потребителя в условиях несоосности и перекоса осей указанных валов, и позволяет повысить надежность пальцев и дисков муфты. Гибкая муфта для валов содержит два фланца, соединенные между собой с помощью зажимных пальцев и упругого обода, состоящего из комплекта дисков с цилиндрическими отверстиями под пальцы. При этом диаметр расположения осей отверстий в дисках под пальцы выполнен больше диаметра расположения осей пальцев во фланцах на величину, ограниченную пределами где max – максимальное осевое натяжение упругого обода муфты при работе из-за несоосности соединяемых агрегатов, Z – число пальцев на фланце муфты, Д – диаметр расположения осей пальцев во фланцах. Технический результат заключается в повышении надежности пальцев и дисков муфты путем исключения при работе жесткого силового контакта пальцев с дисками упругого обода в местах, максимально удаленных от оси муфты, за счет снижения переменных напряжений в пальцах и дисках. 10 ил.
Изобретение относится к области двигателестроения, а более конкретно к муфтам, предназначенным для передачи мощности от вала двигателя к валу потребителя в условиях несоосности и перекоса осей вышеуказанных валов.
Известна гибкая муфта для валов, в которой на максимальном удалении от оси муфты на внешней стороне пальцев выполнены лыски серповидного профиля протяженностью по окружности пальца в секторе 60° или на максимальном удалении от оси муфты в стенках цилиндрических отверстий под пальцы в дисках упругого обода выполнены выемки-углубления серповидного профиля протяженностью по окружности пальца в секторе 60°, при этом максимальная глубина лысок или выемок-углублений выполнена в пределах где:
max – максимальное осевое натяжение упругого обода муфты при работе из-за несоосности соединяемых агрегатов,
Z – число пальцев на фланце муфты,
D – диаметр расположения осей пальцев на фланце.
(Патент РФ №2155888, F16D 3/78, 1998 г.)
Недостатком известной муфты является высокая концентрация контактных давлений в точках контакта пальцев с дисками из-за возможного прерывания контакта, а также выполнение лысок или выемок ослабляет поперечное сечение пальцев или дисков и весьма трудоемко в изготовлении из-за сложности обеспечения точности их требуемого относительного расположения для достижения необходимого эффекта.
Наиболее близкой к заявляемой является гибкая муфта для валов, состоящая из двух дискообразных фланцев, соединенных посредством четного количества пальцев, расположенных взаимно противоположно в шахматном порядке, гаек и пакета тонких дисков. Пакет дисков и фланцы для обеспечения прогиба пакета разделены кольцами и шайбами под гайками для предотвращения коробления дисков при затяжке гаек при монтаже муфты. (Патент РФ №2087768, F16D 3/78, 1995 г.)
Недостатком известной муфты, принятой за прототип, является ограниченный срок службы из-за вероятных усталостных поломок дисков в условиях работы муфты при больших несоосностях установки соединяемых агрегатов, например газотурбинной приводной установки и газоперекачивающего агрегата компрессорных станций на магистралях транспортировки газа на большие расстояния.
Техническая задача, на решение которой направлено заявляемое изобретение, заключается в повышении надежности пальцев и дисков муфты путем исключения при работе жесткого силового контакта пальцев с дисками упругого обода в местах, максимально-удаленных от оси муфты, за счет снижения переменных напряжений в пальцах и дисках.
Сущность технического решения заключается в том, что в гибкой муфте для валов, содержащей два фланца, соединенные между собой с помощью зажимных пальцев и упругого обода, состоящего из комплекта дисков с цилиндрическими отверстиями под пальцы, согласно изобретению диаметр расположения осей отверстий в дисках под пальцы превышает диаметр расположения осей пальцев во фланцах на величину, ограниченную пределами где:
max – максимальное осевое натяжение упругого обода муфты при работе из-за несоосности соединяемых агрегатов,
Z – число пальцев на фланце муфты,
Д – диаметр расположения осей пальцев во фланце.
Выполнение диаметра расположения осей отверстий в дисках под пальцы больше диаметра расположения осей пальцев во фланцах на величину, ограниченную пределами повышает надежность пальцев и дисков муфты за счет того, что при работе муфты имеется зазор в максимально-удаленных зонах возможного контакта пальцев с дисками, что исключает поломку дисков.
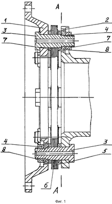
На фиг.1 изображена гибкая муфта для валов в разрезе.
На фиг.2 – сечение А-А на фиг.1.
На фиг.3 – схема соединения несоосных агрегатов трансмиссии, оснащенной двумя муфтами.
На фиг.4, 5, 6 – схемы компенсации муфтой осевых натяжений, распоров, перекосов при работе трансмиссии.
На фиг.7 – схема изменения диаметра расположения отверстий в дисках под пальцы.
На фиг.8 указаны особо напряженные зоны контакта пальцев и дисков.
На фиг.9 – характер поломок дисков.
На фиг.10 – развертка части диска в состоянии осевого натяжения.
Гибкая муфта для валов состоит из двух фланцев 1, 2, соединенных посредством четного количества зажимных пальцев 3, расположенных взаимно противоположно в шахматном порядке и скрепленных посредством гаек 4 и упругого обода 5, состоящего из комплекта дисков с цилиндрическими отверстиями 6 под пальцы 3. Упругий обод 5 и фланцы 1, 2 для обеспечения прогиба дисков разделены кольцами 7 и шайбами 8 под гайками 4 для предотвращения коробления дисков при затяжке гаек.
Гибкая муфта для валов работает следующим образом. Крутящий момент передается от фланца 1 одной полумуфты фланцу 2 другой полумуфты пальцами 3 посредством гибких дисков обода 5. Упругий обод 5 состоит из комплекта тонких дисков и предназначен для компенсации возникающих при работе изменений длин валов, например, из-за термических расширений и несоосностей (см. фиг.3) установки валов соединяемых агрегатов. На фиг.4, 5, 6 схематически показаны деформации упругого обода муфты для компенсации возникающих при работе осевых натяжений – распоров, перекосов осей. Величина осевого натяжения но равна:

где: ар – осевой размер между фланцами муфты при работе,
aм – осевой размер, образовавшийся между фланцами муфты после сборки-монтажа.
Из-за несоосности (перекоса осей) соединяемых агрегатов возникает переменное max… min no окружности муфты осевое натяжение упругого обода (фиг.3), которое является причиной возникновения переменных напряжений в дисках при вращении трансмиссии. При натяжении упругого обода 5 муфты каждый его диск выглядит зигзагообразно (фиг.4-6). Принимая зигзагообразную форму, диск упруго усаживается по диаметру (фиг.7). При этом оси пальцев 3 остаются на том же постоянном диаметре Д, а отверстия в дисках стремятся занять положение на меньшем диаметре Д’. За счет этого пальцы с дисками по отверстиям вступают в жесткий силовой контакт в зонах 9 (фиг.2, 8), наиболее удаленных от оси муфты, со значительными радиальными усилиями. Эти усилия и являются причиной возникновения высоких напряжений и недостаточной долговечности дисков.
Как показывают результаты расчетных исследований и испытаний, поломки дисков происходят из-за переменных усилий Р. Это подтверждается характером поломок (см. фиг.9), где: 10 – усталостные трещины на диске, 11 – отделившийся фрагмент.
При использовании предлагаемого изобретения в зонах 12, фиг.2, расположенных диаметрально противоположно зонам 9 (см. фиг.2, 8), при сборке муфты образуется натяг Д=Д-Д’ (фиг.7). Натяг Д должен исключать силовой контакт пальцев 3 с дисками обода 5 в зонах 9 (фиг.2, 7, 8) не только при сборке, но и в рабочих условиях, например при осевых натяжениях дисков из-за несоосностей соединенных трансмиссией агрегатов. При этом необходимая минимальная величина Д натяга определяется из схемы, представленной на фиг.10, где:
max – максимальное осевое натяжение упругого обода муфты при работе из-за несоосности соединяемых агрегатов,
dш – диаметр шайбы, обжимающей пакет дисков в ободе,
В – участок диска между соседними шайбами,
А – проекция на горизонтальную ось участка В.
Исходное выражение для натяга следующее:

где: Д’ – предполагаемый диаметр расположения осей отверстий в дисках после натяжения пакета из-за несоосностей, возникающих при работе.
Умножив и разделив выражение (1) на число , получим,

где: ·Д и ·Д’ – длина окружности расположения осей пальцев и предполагаемая длина окружности расположения осей отверстий в дисках после осевого натяжения пакета.
Из схемы на фиг.10 очевидны соотношения:


Подставляем выражения (3) и (4) в выражение (2) и получим

Из схемы на фиг.10 очевидны также соотношения:


Подставив (6) и (7) в (5), получим:

Выражение (8) дает возможность определить минимальную величину упреждающего натяга для достижения максимального эффекта использования предлагаемого изобретения.
Например, для реальной трансмиссии разработки нашего предприятия при Д=260 мм, dш=50 мм, Z=4, max=2 мм минимальный натяг Д составит:

Анализ конкретных результатов расчета величины натяга Д, строго зависимого от конкретных конструктивных параметров муфты и условий эксплуатации (Д, Z, max), позволяет получить следующее, полностью удовлетворяющее использованию, выражение для оптимального интервала натяга:

Формула изобретения
Гибкая муфта для валов, содержащая два фланца, соединенные между собой с помощью зажимных пальцев и упругого обода, состоящего из комплекта дисков с цилиндрическими отверстиями под пальцы, отличающаяся тем, что диаметр расположения осей отверстий в дисках под пальцы превышает диаметр расположения осей пальцев во фланцах на величину, ограниченную пределами

где max – максимальное осевое натяжение упругого обода муфты при работе из-за несоосности соединяемых агрегатов;
Z – число пальцев на фланце муфты;
Д – диаметр расположения осей пальцев во фланце.
РИСУНКИ
|