|
|
(21), (22) Заявка: 2001104799/06, 21.02.2001
(24) Дата начала отсчета срока действия патента:
21.02.2001
(43) Дата публикации заявки: 10.02.2003
(46) Опубликовано: 27.10.2007
(56) Список документов, цитированных в отчете о поиске:
JP 11107907 A1, 20.04.1999. DE 2545951 A1, 29.04.1976. RU 2143076 C1, 20.12.1999. SU 1133460 А, 07.01.1985. SU 1449703 A1, 07.01.1989.
Адрес для переписки:
125319, Москва, ул. Усиевича, 1/5, кв.73, В.Я.Вейнбергу
|
(72) Автор(ы):
Вейнберг Вениамин Яковлевич (RU)
(73) Патентообладатель(и):
Вейнберг Вениамин Яковлевич (RU)
|
(54) ЭНЕРГОСИСТЕМА
(57) Реферат:
Энергосистема предназначена для вентиляции и прогрева помещения. Энергосистема состоит из генератора электрической энергии, теплообменника и, по меньшей мере, одного воздуховода, выполненного в строении, в котором установлена, по меньшей мере, часть генератора электрической энергии, в частности его ротор, при этом генератор электрически связан с теплообменником, например с электронагревателем, установленным в том же воздуховоде. Технический результат – расширение функциональных возможностей энергосистемы. 6 з.п. ф-лы, 15 ил.
Заявленное устройство относится к вентиляционным устройствам, используемым для прогрева помещения, и может найти широкое применение в строительстве.
Известна энергосистема, содержащая вентиляционную установку и подведенный к ней воздухопровод (RU 2128787 С1, 10.04.1999).
Недостатком известного устройства является сложность конструкции и ограниченные функциональные возможности.
Наиболее близким техническим решением к описываемому изобретению является энергосистема, состоящая из генератора электрической энергии, теплообменника и, по меньшей мере, одного воздуховода, выполненного в строении, в котором установлена, по меньшей мере, часть генератора электрической энергии, в частности его ротор (JP 11107907 А1, 20.04.1999).
Недостатком известного устройства является не достаточно широкие функциональные возможности.
Технической задачей изобретения является расширение функциональных возможностей известного устройства.
Указанная задача решается за счет того, что энергосистема, состоящая из генератора электрической энергии, теплообменника и, по меньшей мере, одного воздуховода, выполненного в строении, в котором установлена, по меньшей мере, часть генератора электрической энергии, в частности его ротор, кроме того, генератор электрически связан с теплообменником, например с электронагревателем, установленным в том же воздуховоде.
А также за счет того, что в строении выполнено несколько воздуховодов в по меньшей мере одном из них установлена, по меньшей мере, часть генератора электрической энергии, связанного с, по меньшей мере, одним теплообменником, например электронагревателем, установленным в том же воздуховоде.
Другим решением поставленной задачи является то, что, электронагреватель установлен непосредственно на роторе, например на его лопастях, с возможностью совместного вращения.
В наилучшем варианте часть ротора, например его лопасти, выполнены в виде электронагревателя.
Кроме того, воздуховод может быть выполнен в виде гибкого рукава, верхний конец которого закреплен на воздушном шаре.
А также воздуховоды могут содержать связанные между собой прямой и обратный каналы.
Еще энергосистема может быть снабжена нагнетательным устройством, например вентилятором или компрессором, установленным в нижнем канале воздуховода.
Изобретение поясняется следующими чертежами.
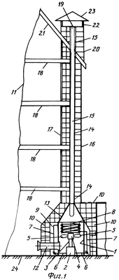
Фиг.1 – Продольный разрез устройства.
Фиг.2 – Устройство с трубчатым воздуховодом.
Фиг.3 – Пример выполнения воздуховода в здании.
Фиг.4 – Конструктивные элементы воздуховода.
Фиг.5 – Пример выполнения устройства.
Фиг.6 – Пример выполнения устройства.
Фиг.7 – Пример выполнения устройства.
Фиг.8 – Пример выполнения воздуховода.
Фиг.9 – Пример выполнения энергосистемы.
Фиг.10 – Пример выполнения ротора устройства.
Фиг.11 – Пример установки электронагревателей.
Фиг.12 – Пример выполнения воздуховода.
Фиг.13 – Пример выполнения воздуховода.
Фиг.14 – Пример выполнения воздуховода.
Фиг.15 – Пример выполнения участка воздуховода.
Энергосистема состоит из короба 1, в котором установлен генератор 2 с закрепленным на его валу 3 втулки 4, например, запрессованной на нем, с соединенными с ней лопастями 5, например, приваренные к ней. Выход генератора 2, выполненный, например, из выводных проводов 6, соединительными проводами 7 электрически соединен или связан с электронагревателем 8, выполненным, например, в виде металлической спирали, последовательно установленным лопастям 5, над ними и соосно им. Короб 1 может быть размещен в нише 9 основания 10 строения 11, например в его подвале, и через заборное устройство 12, выполненным, например, в виде патрубка, расположенным ниже лопастей 5, связан с окружающей средой. В верхней части короб 1 имеет конусную часть 13, переходящую в плоский воздуховод 14 или воздухопровод, выполненный, например, в виде плоского короба с полостью 15 и размещенный, например, между наружной стенкой 16 и внутренней стенкой 17 строения 11, между этажами которого выполнены горизонтальные перекрытия 18. Воздуховод 14 заканчивается отверстием 19, а его верхняя часть размещена, например, в кирпичном выводе 20 (или трубе) установленном на крыше 21 строения 11, на конце вывода 20 при помощи стоек 22 закреплена крышка 23 или козырек для защиты воздуховода 14 от осадков (Фиг.1).
Воздуховод 14 может иметь форму трубы или цилиндрическую форму и располагаться вне стенок 16 и 17 и установлен на основании 24 строения 11, а в его нижней части, расположенной ниже лопастей 5, выполнено, по меньшей мере, одно воздухозаборное отверстие 25 (Фиг.2).
Полость 15 может быть выполнена вдоль стен 16 строения 11, а в перекрытии 18, вблизи стены 16, выполнены вентиляционные отверстия 26, соединяющие части полостей 15, расположенных на разных этажах строения 11. Часть полостей 15 перекрываются рамами 27 окон 28. В строении 11 выполнены также вертикальные перекрытия 29, разделяющие его на отдельные помещения (Фиг.3). Вместо внутренней стены 17 может быть выполнена более тонкая перегородка 30 с хорошими теплопроводящими свойствами, расположенная параллельно стене 16 на некотором расстоянии так, что отверстия 26 находятся между наружной стеной и перегородкой 30, а окончания горизонтальных перекрытий закреплены в наружных стенах 16. Таким образом, в каждом помещении строения 11 выполнена фальшстена, какой является перегородка 30, т.е. сколько помещений, столько, по меньшей мере, и перегородок 30. В данном случае воздуховод 14 может непосредственно состоять из внутренней поверхности наружной стенки 16, на которой может быть нанесен теплоизоляционный материал, и внутренней поверхности перегородки 30 (Фиг.4 и Фиг.5).
Лопасти 5 могут иметь совершенно различную форму, например винтовую форму, и крепиться на валу 31, жестко связанном с втулкой 4, например приваренном к ней. Это дает возможность использовать короб 14, в котором они установлены, с меньшим диаметром, не уменьшая КПД энергосистемы (Фиг.6).
Электронагреватель 8 может напрямую быть установленным на лопастях 5, например, винтовой формы. В этом случае на поверхности лопастей может быть закреплена, например приклеена, токопроводящая фольга 32, повторяющая форму лопастей 5 и выполняющая функции электронагревателя 8, основание которой соединено проводом 7 с выводным проводом 6, который соединен с окончаниями обмоток якоря 34 генератора 2, а окончание этой фольги 32 проводом 7 соединено с другим выводным проводом 6, соединенным с другими окончаниями обмоток якоря 34, при этом второй провод пропущен через внутреннюю полость вала 31, который выполнен в виде трубки с отверстием 33 для вывода провода 7. Корпус якоря 34 через подшипники 35 закреплен на корпусе 36 индуктора 37, который может быть выполнен из постоянных магнитов или обмотки возбуждения, генератора 2 с возможностью совместного вращения с лопастями 5 вокруг своей оси. При выполнении индуктора 37 в виде обмотки возбуждения, к нему подводятся провода от блока питания, которые в виду их стандартности на чертеже не показаны (Фиг.7).
Возможно выполнение и самих лопастей 5 в виде нагревателя, в этом случае они выполняются из токопроводящего материала, а материал элемента, на котором они установлены, например приклеены, втулка 4 и вал 31 выполнены из не токопроводящего материала. В остальном, как и в предыдущем случае, начало витка винтовой лопасти и ее конец соединены с выходом якоря генератора 2. Если вал 31 выполнен из достаточно тонкого материала, то и он может быть выполнен из токопроводящего материала, а начало и конец его электропроводами связан с выходом генератора 2, а втулка 4, на которой вал 31 закреплен, может быть выполнена из изолирующего материала. И, наконец, втулка 4 может быть выполнена из токопроводящего материала и к ней подведен один из проводов 6 и соединена с валом 3 через изолятор. Может быть и весь лопастной ротор выполнен из токопроводящего материала, включая втулку 4, а один из проводов 6 закреплен на определенной точке корпуса генератора 2, например, на верхней части корпуса якоря 34, а другой провод 6 соединен через провод 7 с противоположным окончанием лопастного ротора. Таким образом, в общем можно сказать, что, по меньшей мере, часть лопастного ротора энергосистемы, например его лопасти 5, выполнены в виде электронагревателя, окончания которого электрически связаны с выходом генератора 2 (Фиг.10).
При выполнении лопастей 5 из токопроводящего материала нагревательная фольга 32 может быть установлена на ней через изоляционные полосы 38, которые могут быть приклеены к ней с обеих сторон (Фиг.8).
В целях увеличения естественной тяги воздуховод 14, который может быть установлен в шалаше 39 или яранге, может быть соединен с гибким рукавом 40, верхний конец которого стропами 41 закреплен на воздушном шаре 42 (Фиг.9).
На Фиг.6 и Фиг.7 показана одна винтовая лопасть 5. Поэтому для работы заявленного устройства достаточно, по меньшей мере, одной лопасти 5.
В целом энергосистему можно назвать вентиляционной установкой, так как понятия воздуховод и вентилятор, выполненный в виде лопастей 5, механически связанных с валом 3 электрического генератора 3, относятся к вентиляционным системам. Поэтому лопасти 5, связанные с генератором 2, могут быть установлены в воздуховоде любой вентиляционной системы, например в приточной вентиляции.
Под лопастями 5 подразумевается достаточно широкое понятие, например, вместо них может использоваться вентиляционное колесо с лопатками и другие элементы лопастного воздушного привода, который начинает вращаться от потока воздуха, включая чашечные лопасти, кроме того, лопасти 5 с втулкой 4 и валом 31 можно назвать лопастным ротором, это выражение и будет использоваться в формуле, при этом воздуховодов, в котором он установлен, и самих роторов, генераторов 2 и электронагревателей 8 может быть несколько в энергосистеме, но для ее работы достаточно, по меньшей мере, одного воздуховода с установленным в нем, по меньшей мере, одним лопастным ротором, механически связанным с, по меньшей мере, одним валом 3, по меньшей мере, одного генератора 2, электрический выход которого связан с, по меньшей мере, одним электронагревателем 8.
Выходное отверстие 19 может не выходить из строения 11, а располагаться в его верхней части, например на чердаке.
Под выходом генератора 2 подразумеваются окончания обмоток его якоря 34, связанные с выводными проводами 6.
Воздуховод 14 может быть выполнен значительной высоты и может содержать централизованную часть с ответвлениями к различным строениям.
Электрический нагреватель 8 может быть установлен вне воздуховода 14 и быть выполнен в виде электропроводящих полов, электропроводящих стенок или потолков, а также в виде электрокалориферов или электрорадиаторов 43. В этом случае воздуховод 14 может располагаться вне помещений строения 11 (Фиг.11).
Воздуховод 14 может быть выполнен в виде замкнутого канала, который можно разделить, например, на отдельные части: прямой канал 44, в котором установлен генератор 2 электрической энергии, механически связанный с лопастями 5, и, например, электронагреватель 8, при этом электронагреватель 8 может быть совмещен с лопастями 5 или сами лопасти 5 выполнены в виде электронагревателя, как это было указано в предыдущих примерах, верхний канал 45, который может быть выполнен в виде коллектора с подведенными к нему прямыми каналами 44, обратный канал 46, при этом обратный канал может располагаться вне строения 11, нижний канал 47, в котором могут быть установлены генератор 2 электрической энергии и лопасти 5, а также в нем выполнен обводной канал 48 с заслонкой 49, установленной в нем, и между точками соединения обводного канала 48 с нижним каналом 47 в последнем может быть установлено нагнетательное устройство 50, например вентилятор или компрессор. Прямой канал 44, верхний канал 45, обратный канал 46, нижний канал 47, обводной канал 48 образуют замкнутый канал, который является воздуховодом, например воздуховодом 14 (Фиг.12).
Верхний канал 45 может быть выполнен с определенным наклоном, например под острым углом к вертикали, и соединенным с выводной частью воздуховода 14 и через нее связанным с атмосферой, в этой выводной части установлена заслонка 49, с этой же частью связан и обратный канал 46, а в нижней части прямого канала 44 выполнено отверстие 25 с заслонкой 49 для его перекрытия (Фиг.13).
Может быть выполнено несколько прямых каналов 44, соединенных между собой, например, под определенным углом, в начале и конце, при этом начальное соединение этих каналов связано с нижним каналом 47, а верхнее их соединение связано с верхним каналом 45 (Фиг.14).
В прямом канале 44 может быть установлен, по меньшей мере, один электрорадиатор 43, источник тепла которого, например, расположен вне канала 44 или 47. (Фиг.15)
Воздуховодов, выполненных в виде замкнутого канала, может быть выполнено несколько в объеме строения 11, поэтому к их количеству подходит выражение, по меньшей мере, один замкнутый канал воздуховода 14.
В прямом канале 44 может быть установлен не только нагреватель, например электронагреватель 8 или электрорадиатор 43, но и охладитель, например кондиционер, например, в летний период, вызывающий также циркуляцию воздуха в замкнутом канале. Поэтому как нагреватель, так и охладитель в общем можно назвать теплообменником, при этом их может быть несколько и к ним также подходит выражение, по меньшей мере, один теплообменник, установленный в замкнутом канале воздуховода 14, источник носителя тепла или холода может находиться вне этого воздуховода.
Энергоустановка работает следующим образом. Под влиянием естественной тяги, обусловленной разностью высот между входом энергосистемы, которым является заборное устройство 12 или отверстие 25, и ее выходом, которым является отверстие 19, воздушная масса, двигаясь по воздуховоду 14, начинает вращать лопастный ротор, т.е. лопасти 5, механически связанные с валом 3 генератора 2, который начинает генерировать электрическую энергию, передавая ее через выводные провода 6 и провода 7 нагрузке, т.е. электронагревателю, который, нагреваясь, передает свое тепло проходящему через него воздуху. Подогретый воздух, проходя через воздуховоды 14, например между стен строения 11 и отверстия 26, или в коробе, расположенном вне стены помещения, прогревает и само помещение. Если электронагреватель расположен на самих лопастях 5 или сами лопасти выполнены электронагревателем, то этот прогрев происходит более интенсивным, и КПД энергосистемы увеличивается. Если лопастной ротор энергосистемы установлен в системе принудительной вентиляции, например в ее коробе или в воздухозаборном устройстве, то он начинает вращаться от потока воздуха, создаваемого ее вентилятором. Наконец лопастной ротор с лопастями 5 может быть установлен и в форточке или другом проеме строения. Рукав 40 ввиду его значительной высоты увеличивает тягу воздуха в воздуховоде 14, это делает возможным применение энергосистемы в полевых условиях.
При расположении электронагревателей 8 вне воздуховода 14 электрическая энергия, вырабатываемая генератором 2, передается по проводам 7 нагревателям 8, например электрорадиаторам 43, установленным в помещениях строения 11.
Учитывая, что в нижней части строения 11 температура воздуха несколько выше, чем в его верхней части, то естественно более теплый воздух с нижней части прямого канала 44 начнет перемещаться вверх, начиная вращать лопасти 5, которые, воздействуя на генератор 2 электрической энергии, возбуждают в нем ЭДС, которая создает электрический ток в цепи якорь-электронагреватель, электронагреватель 8 начинает прогревать воздух в нижней части прямого канала еще больше, ускоряя скорость потока воздуха. Поднимаясь вверх, воздух переходит в верхний канал 45, там, охлаждаясь, он поступает в обратный канал 46, проходя который он проходит через нижний канал 47 в нижнюю часть прямого канала 44. Таким образом осуществляется циркуляция воздуха по замкнутому каналу воздуховода 14, прогревая теплым воздухом различные части строения 11, так как его прямой канал с теплым воздухом находится в пределах объема этого строения.
Для того чтобы ускорить циркуляцию воздуха по замкнутому каналу воздухопровода 14, можно применить нагнетательное устройство 50, которое нагнетает воздух в прямой канал 44, при закрытой заслонке 49 в обводном канале 48, ускоряя вращение лопастей 5 и повышая тем самым температуру нагревателя 8. Далее процесс циркуляции воздуха совпадает с предыдущим примером. После набора процесса циркуляции воздуха определенной мощности нагнетательное устройство 50 может быть отключено и открыта заслонка 49 в обводном канале, и процесс циркуляции воздуха по замкнутому каналу воздухопровода 14 продолжается естественным путем, как и в первоначальном варианте.
Для этой же цели может использоваться выводная часть воздуховода 14 при открытой заслонке 49. В этом случае за счет естественной тяги в первоначальный момент воздух из отверстия 25 при открытой заслонке 49 поступает в прямой канал, вращая лопасти 5, разогревает нагреватель, например, установленный на этих лопастях, и выходит через выводную часть воздухопровода 14 в атмосферу. При наборе достаточной мощности циркуляции воздуха в замкнутом канале воздуховода 14 заслонки 49 в выходной части воздуховода 14 и отверстия 25 закрываются, и процесс циркуляции проходит естественным путем, как и в первом варианте. В замкнутом канале воздуховода 44 может отсутствовать генератор 2 электрической энергии и лопасти 5, а в нем установлен лишь, по меньшей мере, один нагреватель, например электрорадиатор 43, который расположен в нижней части прямого канала, а его источник тепла находится вне этого канала, но этого достаточно для возникновения циркуляции воздуха при подогретом нагревателе в замкнутом канале воздуховода согласно предыдущим примерам.
Формула изобретения
1. Энергосистема, состоящая из генератора электрической энергии, теплообменника и, по меньшей мере, одного воздуховода, выполненного в строении, в котором установлена, по меньшей мере, часть генератора электрической энергии, в частности его ротор, отличающаяся тем, что генератор электрически связан с теплообменником, например с электронагревателем, установленным в том же воздуховоде.
2. Энергосистема по п.1, отличающаяся тем, что в строении выполнено несколько воздуховодов в, по меньшей мере, одном из них установлена, по меньшей мере, часть генератора электрической энергии, связанного с, по меньшей мере, одним теплообменником, например электронагревателем, установленным в том же воздуховоде.
3. Энергосистема по п.1, отличающаяся тем, что электронагреватель установлен непосредственно на роторе, например на его лопастях, с возможностью совместного вращения.
4. Энергосистема по п.1, отличающаяся тем, что, по меньшей мере, часть ротора, например его лопасти, выполнена в виде электронагревателя.
5. Энергосистема по п.1, отличающаяся тем, что воздуховод выполнен в виде гибкого рукава, верхний конец которого закреплен на воздушном шаре.
6. Энергосистема по п.1, отличающаяся тем, что воздуховоды содержат связанные между собой прямой и обратный каналы.
7. Энергосистема по п.1, отличающаяся тем, что она снабжена нагнетательным устройством, например вентилятором или компрессором, установленным в нижнем канале воздуховода.
РИСУНКИ
MM4A – Досрочное прекращение действия патента СССР или патента Российской Федерации на изобретение из-за неуплаты в установленный срок пошлины за поддержание патента в силе
Дата прекращения действия патента: 22.02.2007
Извещение опубликовано: 20.06.2008 БИ: 17/2008
|
|