|
|
(21), (22) Заявка: 2006122939/06, 28.06.2006
(24) Дата начала отсчета срока действия патента:
28.06.2006
(46) Опубликовано: 27.10.2007
(56) Список документов, цитированных в отчете о поиске:
US 4416226 А, 07.03.2002. RU 2212559 С1, 20.09.2003. Рыкалин Н.Н. и др. Лазерная обработка металлов. – М.: Машиностроение, 1975 г. JP 9292225А, 11.11.1997. DE 19629171 А, 22.01.1998. US 5237969 А, 24.08.1993. DE 10041055 А, 22.01.1998.
Адрес для переписки:
107023, Москва, ул. Б. Семеновская, 38, МГТУ “МАМИ”, ОИПС
|
(72) Автор(ы):
Карунин Анатолий Леонидович (RU), Ерохов Виктор Иванович (RU), Ревонченков Анатолий Матвеевич (RU)
(73) Патентообладатель(и):
Государственное образовательное учреждение высшего профессионального образования Московский государственный технический университет “МАМИ” (RU)
|
(54) СПОСОБ ЛАЗЕРНОГО ЗАЖИГАНИЯ ГОРЮЧЕЙ СМЕСИ ДВИГАТЕЛЯ ВНУТРЕННЕГО СГОРАНИЯ И СИСТЕМА ДЛЯ ЕГО ОСУЩЕСТВЛЕНИЯ
(57) Реферат:
Изобретение относится к системам лазерного зажигания ДВС и может быть использовано в энергетических установках с принудительным воспламенением обедненной горючей смеси. Сущность изобретения заключается в том, что горючую смесь нагревают и поджигают энергией двух лазерных источников, при этом первым (полупроводниковым) лазерным источником в горючей смеси камеры сгорания предварительно создают локальный разогретый участок в виде цилиндрического объема путем колебательного перемещения фокального пятна вдоль оси лазерного луча, а вторым (твердотельным) лазерным источником в момент зажигания горючей смеси подают энергетический импульс, причем фокусирование луча производят в центр продольной оси разогретого цилиндрического объема горючей смеси, при этом длину волны лазерных источников устанавливают в спектральном диапазоне 0,5…4,7 мкм в зависимости от вида горючей смеси. Система для реализации способа содержит блок синхронизации, усилитель мощности накачки лазеров, связанный с датчиком состава горючей смеси и с блоком синхронизации, лазерные источники, связанные трактом передачи энергии с камерой сгорания двигателя, устройством формирования цилиндрического разогретого объема, оптически связанного посредством подвижной оптической линзы с первым (полупроводниковым) лазерным источником и через электрический разъем соединенного с задатчиком частоты и амплитуды колебаний фокального пятна, который связан с датчиком состава горючей смеси. Кроме того, оба лазерных источника и устройство формирования цилиндрического разогретого объема оформлены в виде автономного блока с оптическим устройством формирования лучей лазерных источников. Воспламеняющий разогретый цилиндрический объем играет роль мощного запального элемента. Техническим результатом является экономия топлива, уменьшение токсичности отработанных газов. 2 н. и 7 з.п. ф-лы, 5 ил.
Изобретение относится к системам лазерного зажигания двигателя внутреннего сгорания и может быть использовано в энергетических установках с принудительным воспламенением рабочей смеси.
Известен способ воспламенения горючих смесей (Патент РФ №2065990, МПК F02P 23/04, 1994), заключающийся в воздействии энергетическим импульсом лазерного излучения на стехиометрическую подготовленную горючую смесь, где формирование импульса регулируется в соответствии с эмпирической формулой по мощности и времени.
В данном способе зажигания горючих смесей, особенно для обедненных смесей, возможны пропуски воспламенения. Подготовка горючей смеси в этом способе осуществляется только до подачи смеси в камеру сгорания (КС) двигателя. И в дальнейшем регистрируется только наличие факта воспламенения после подачи энергетического импульса.
Недостатком способа является также неоптимальная форма импульса в виде кривой с вытянутой остроконечной вершиной и резким спадом за короткий промежуток времени. Такая форма импульса является неблагоприятной для удержания активных центров предпламенных реакций и, как следствие, замедление реакции воспламенения или ее пропуск.
Наиболее близким является способ лазерного зажигания горючей смеси в камере сгорания двигателя (Патент США №4416226, МПК F02P 23/00, 1982 г.), заключающийся в том, что горючую смесь в пространстве камеры сгорания нагревают чередующимися энергетическими импульсами различной амплитуды.
В вышеуказанном способе используется лазер, который генерирует, по крайней мере, два импульса лазерного излучения во время каждого такта сжатия горючей смеси (ГС). При этом первый импульс генерируется с модуляцией добротности лазера с высокой энергией импульса в лазерном луче, а второй импульс генерируется без модуляции добротности и имеет низкий уровень энергии, но более длинную продолжительность, чем первый импульс. Причем первый и второй импульсы лазера вводятся прямо в камеру сгорания двигателя. При этом первый импульс производит ионизацию топливовоздушной смеси в камере сгорания для образования плазмы, а второй импульс далее нагревает плазму до воспламенения топливовоздушной смеси.
Недостатком этого способа является ненадежность процессов воспламенения, увеличенное потребление энергии бортового источника питания и ограниченность возможности регулирования интенсивности лазерного излучения в соответствии с режимом работы двигателя.
Этот недостаток вызван тем, что после воздействия импульсом высокой амплитуды (с модуляцией добротности) и до воздействия импульсом низкой амплитуды (без модуляции добротности) проходит некоторое время, в течение которого основная часть активных центров реакции успевает диффундировать в пространство без взаимодействия. Также воздействие на неподготовленную энергетически горючую смесь даже импульсом большей мощности не приводит к резкому возрастанию количества образовавшихся активных центров реакций, что в свою очередь заставляет увеличивать число импульсов воздействия и тем самым повышает расход энергии направленной на зажигание.
Задачей данного изобретения является повышение эффективности воспламенения обедненной горючей смеси путем лазерного зажигания этой смеси в камере сгорания двигателя, а также возможность регулирования интенсивности лазерного излучения в соответствии с режимом работы двигателя.
Указанная задача решается тем, что в способе лазерного зажигания горючей смеси в двигателе внутреннего сгорания горючую смесь в пространстве камеры сгорания двигателя нагревают и поджигают энергией лазерных источников, при этом первым лазерным источником в горючей смеси камеры сгорания в конце такта сжатия предварительно создают локальный разогретый участок в виде цилиндрического объема путем колебательного перемещения фокального пятна вдоль оси лазерного луча, причем период колебаний и амплитуду рассчитывают исходя из времени жизни активных центров предпламенных реакций горючей смеси, а вторым лазерным источником, в момент зажигания горючей смеси в камере сгорания, подают энергетический импульс по сигналу датчика положения коленчатого вала двигателя, при этом фокусирование луча второго лазерного источника производят в центр продольной оси разогретого цилиндрического участка горючей смеси.
Кроме того, дополнительно, разогретый цилиндрический объем V определяют по формуле 
где d0 – диаметр фокального пятна лазерного источника;
А – амплитуда колебаний перемещения фокального пятна вдоль оси луча лазерного источника.
Величину энергии первого лазерного источника устанавливают в зависимости от энергии, необходимой для поддержания активных центров предпламенных реакций.
Первый разогревающий лазерный источник включают в конце такта сжатия, а выключают в начале устойчивого горения горючей смеси.
Длину волны лазерных источников устанавливают в спектральном диапазоне 0,5…4,7 мкм в зависимости от вида горючей смеси.
Технический результат от использования данного способа состоит в том, что он обеспечивает высокие энергетические характеристики воспламенения горючей смеси, а также снижение расхода топлива и снижение токсичности отработавших газов.
Наиболее близкой по технической сущности к предлагаемой системе относится (Патент РФ №2003825, МПК F02P 23/04, 1991 г.) система для зажигания горючей смеси в цилиндре двигателя внутреннего сгорания, содержащая блок синхронизации, связанный электрической цепью с датчиком положения коленчатого вала двигателя, усилитель мощности накачки лазера, связанный с блоком синхронизации, твердотельный поливолоконный лазер, связанный через световоды с пространством цилиндра.
Принципиальный недостаток указанной системы связан с малым временем длительности поджигающего импульса, характерным для твердотельных лазеров. Существенным недостатком является малое количество энергии, приходящееся на отдельное волокно, так как поливолоконный лазер имеет общую лампу накачки, а вся энергия, подводимая, лампой накачки делится на общее количество волокон. Энергии импульса от отдельного волокна может быть недостаточно для образования активных центров предпламенных реакций и объемного воспламенения горючей смеси. В результате вероятны пропуски воспламенения и, как следствие, увеличение расхода топлива и энергии на зажигание ГС.
Задачей данного изобретения является создание лазерной системы зажигания двигателя внутреннего сгорания с более высокими энергетическими характеристиками воспламенения горючей смеси, а также снижение расхода топлива и снижение токсичности отработанных газов.
Эта задача решается тем, что предлагаемая система зажигания обедненной горючей смеси в камере сгорания двигателя дополнительно к блоку синхронизации, связанному электрической цепью с датчиком положения коленчатого вала двигателя, усилителю мощности накачки лазера, связанному с датчиком состава горючей смеси и с блоком синхронизации, лазерным источником, связанным трактом передачи энергии с камерой сгорания двигателя, снабжена устройством формирования цилиндрического разогретого объема, оптически связанного посредством подвижной оптической линзы с первым (полупроводниковым) лазерным источником и через электрический разъем соединенного с задатчиком частоты и амплитуды колебаний фокального пятна, который связан с датчиком состава горючей смеси.
При этом устройство формирования цилиндрического разогретого объема выполнено в виде корпуса, внутри которого размещен ближе к первому (полупроводниковому) лазерному источнику генератор колебаний, соединенный с электромеханическим приводом, приводящим в колебательное движение оптическую линзу, причем частота и амплитуда перемещений генератора колебаний устанавливается задатчиком частоты и амплитуды колебаний в зависимости от режима работы двигателя.
Кроме того, первый (полупроводниковый) и второй (твердотельный) лазерные источники, а также устройство для формирования цилиндрического разогретого объема оформлены в виде автономного блока с оптическим устройством формирования лучей лазерных источников, а также соединенных через электрические разъемы с выходами усилителя мощности накачки лазеров.
Техническим результатом предлагаемой системы лазерного зажигания является уменьшение вероятности пропусков воспламенения, высокая степень адаптации системы на различных режимах работы двигателя.
Изобретение поясняется чертежами.
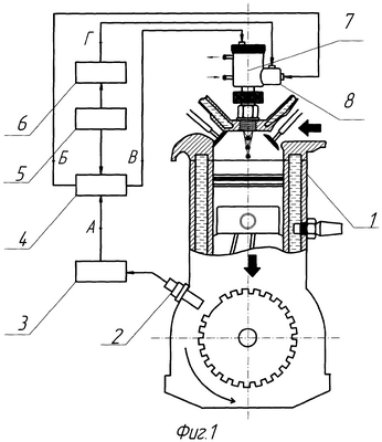
На фиг.1 представлена структурная схема лазерной системы зажигания для двигателей внутреннего сгорания;
на фиг.2 – блок лазерного зажигания горючей смеси;
на фиг.3 – диаграмма сигналов на выходах отдельных элементов структурной схемы системы зажигания;
на фиг.4 – зависимость мощности от времени и взаимное распределение энергетических импульсов разогрева и зажигания;
на фиг.5 – схема взаиморасположения лучей лазеров в камере сгорания двигателя.
Лазерная система зажигания (фиг.1 и 2), реализующая предлагаемый способ, состоит из двигателя 1 внутреннего сгорания, на котором установлен датчик 2 положения коленчатого вала двигателя 1, связанного электрической цепью с блоком синхронизации 3 и с усилителем 4 мощности накачки лазеров, датчика 5 состава горючей смеси одним выходом подключенного к усилителю 4 мощности накачки лазеров, а вторым выходом – к задатчику 6 частоты и амплитуды колебаний фокального пятна, электрически соединенного с устройством 8 формирования цилиндрического разогретого объема, размещенного в блоке 7 лазерного зажигания горючей смеси.
Блок 7 лазерного зажигания горючей смеси, входящий в общую систему, состоит из корпуса, в котором размещен первый (полупроводниковый) лазерный источник 9 и второй (твердотельный) лазерный источник 15, которые оптически связаны посредством объективов 10 и 16 с камерой сгорания двигателя 1 и подключенных через электрические разъемы 11 и 17 с двумя выходами усилителя 4 мощности накачки лазеров, устройства 8 формирования цилиндрического объема, содержащего генератор колебаний 12, вырабатывающий энергию для привода 13, приводимого в колебательное движение, оптическую линзу 14, объектива 10, формирующего необходимую конфигурацию луча энергетического импульса, подаваемого с первого (полупроводникового) лазера 9.
Кроме того, в корпусе блока 7 по центру совмещения лучей обоих лазеров 9 и 15, установлен разделительный кубик 18, а в оправе 19 блока 7, которая через прокладку 20 входит в головку цилиндра двигателя 1, размещена фокусирующая линза 21, позицией 22 на фиг.2 и 5 показано фокальное пятно, а цилиндрический объем – 23, позицией 24 обозначено фокальное пятно от первого (полупроводникового) лазера 9 в центре цилиндрически разогретого объема (фиг.5).
Система зажигания работает следующим образом.
В конце такта сжатия усилитель 4 мощности накачки лазеров преобразует сигнал от блока синхронизации 3 и датчика 2 положения коленчатого вала двигателя 1 в импульс, соответствующий моменту образования разогретого цилиндрического объема (фиг.3 и 4) в камере сгорания двигателя 1. В соответствии с этим импульсом включается первый (полупроводниковый) лазер 9. Луч полупроводникового лазера 9 проходит через подвижную оптическую линзу 14, совершающую колебательные возвратно-поступательные перемещения посредством привода 13 управляемого генератором колебаний 12. Далее луч проходит через объектив 10 до разделительного кубика 18 и через фокусирующую линзу 21 фокусируется в камере сгорания двигателя 1. Фокальное пятно 22 в камере сгорания двигателя 1 также совершает возвратно-поступательные перемещения, создавая в пространстве цилиндрический разогретый объем 23 (фиг.5) в горючей смеси. Для управления мощностью второго лазера (твердотельного) 15 в соответствии с режимом работы двигателя 1, усилитель 4 мощности накачки лазеров электрической связью соединен с датчиком 5 состава горючей смеси. Частота и амплитуда перемещений генератора колебаний 12 устанавливается в зависимости от режима работы двигателя 1 задатчиком 6 частоты и амплитуды колебаний. Для этого задатчик 6 соединен электрическими связями с датчиком 5 состава горючей смеси и генератором колебаний 12. В цилиндрическом разогретом объеме 23 инициированные лазерным излучением молекулы с температурой возбужденного типа колебаний могут вступать в химические реакции при добавлении к ним относительно небольшого количества энергии, чем в случае невозбужденной молекулы. Существенным для зажигания обедненных горючих смесей является общая площадь начального очага воспламенения. В предлагаемой системе эта площадь определяется общей площадью цилиндрического разогретого объема 23 и зависит от состава горючей смеси путем изменения частоты и амплитуды колебаний фокального пятна 22 от второго (твердотельного) лазера 15. В момент зажигания по сигналам датчика 2 положения коленчатого вала и блока синхронизации 3 усилитель 4 мощности накачки лазеров подает импульс на первый (полупроводниковый) лазер 9 по электрической связи через разъемы 11. Луч первого (полупроводникового) лазера 9 проходит через объектив 10, разделительный кубик 18 и фокусируется линзой 21 в центре цилиндрического разогретого объема 23, в результате чего происходит воспламенение этого объема и от него горючая смесь в камере сгорания двигателя 1.
Объемный первичный цилиндрический очаг воспламенения является эффективным источником поджига окружающей горючей смеси в камере сгорания двигателя. В результате уменьшается вероятность пропусков воспламенения, снижается токсичность отработанных газов и повышается экономия топлива.
Источники информации
1. Патент РФ №2065990, МПК F02Р 23/04, 9/00, 17/00, 1994. Способ зажигания горючей смеси в камере сгорания и система для его осуществления.
2. Патент US №4416226, МПК F02Р 23/00, 1982. Laser Ignition Apparatus for an Internal Combustion Engine (прототип способа).
3. Патент РФ №2003825, МПК F02Р 23/04, 1991. Оптическая система зажигания для двигателей внутреннего сгорания (прототип).
Формула изобретения
1. Способ лазерного зажигания горючей смеси в двигателе внутреннего сгорания, заключающийся в том, что горючую смесь в пространстве камеры сгорания двигателя нагревают и поджигают энергией лазерных источников, отличающийся тем, что первым (полупроводниковым) лазерным источником в горючей смеси камеры сгорания предварительно создают локальный разогретый участок в виде цилиндрического объема путем колебательного перемещения фокального пятна вдоль оси лазерного луча, а вторым (твердотельным) лазерным источником в момент зажигания горючей смеси подают энергетический импульс, причем фокусирование луча производят в центр продольной оси разогретого цилиндрического объема горючей смеси, при этом длину волны лазерных источников устанавливают в спектральном диапазоне 0,5-4,7 мкм в зависимости от вида горючей смеси.
2. Способ по п.1, отличающийся тем, что разогретый цилиндрический объем V определяют по формуле

где d0 – диаметр фокального пятна лазерного источника;
А – амплитуда колебаний перемещения фокального пятна вдоль оси луча лазерного источника.
3. Способ по п.1, отличающийся тем, что период колебаний и амплитуду фокального пятна рассчитывают исходя из времени жизни активных центров предпламенных реакций горючей смеси.
4. Способ по п.1, отличающийся тем, что величину энергии первого лазерного источника устанавливают в зависимости от энергии, необходимой для поддержания активных центров предпламенных реакций.
5. Способ по п.1, отличающийся тем, что первый разогревающий лазерный источник включают в конце такта сжатия, а выключают в начале устойчивого горения горючей смеси.
6. Способ по п.1, отличающийся тем, что энергетический импульс второго лазерного источника подают по сигналу датчика положения коленчатого вала двигателя.
7. Система зажигания горючей смеси в камере сгорания двигателя, содержащая блок синхронизации, связанный электрической цепью с датчиком положения коленчатого вала двигателя, усилитель мощности накачки лазеров, связанный с датчиком состава горючей смеси и с блоком синхронизации, лазерные источники, связанные трактом передачи энергии с камерой сгорания двигателя, отличающаяся тем, что она снабжена устройством формирования цилиндрического разогретого объема, оптически связанного посредством подвижной оптической линзы с первым (полупроводниковым) лазерным источником и через электрический разъем соединенного с задатчиком частоты и амплитуды колебаний фокального пятна, который связан с датчиком состава горючей смеси.
8. Система по п.7, отличающаяся тем, что устройство формирования цилиндрического разогретого объема выполнено в виде корпуса, внутри которого размещен ближе к первому (полупроводниковому) лазерному источнику генератор колебаний, соединенный с электромеханическим приводом, приводящим в колебательное движение оптическую линзу, причем частота и амплитуда перемещений генератора колебаний устанавливается задатчиком частоты и амплитуды колебаний в зависимости от режима работы двигателя.
9. Система по п.7 или 8, отличающаяся тем, что первый (полупроводниковый) и второй (твердотельный) лазерные источники, а также устройство для формирования цилиндрического объема оформлены в виде автономного блока с оптическим устройством формирования лучей лазерных источников, а также соединенных через электрические разъемы с выходами усилителя мощности накачки лазеров.
РИСУНКИ
|
|