|
|
(21), (22) Заявка: 2002130799/06, 19.11.2002
(24) Дата начала отсчета срока действия патента:
19.11.2002
(30) Конвенционный приоритет:
19.11.2001 FR 01 14908
(43) Дата публикации заявки: 10.06.2004
(46) Опубликовано: 27.10.2007
(56) Список документов, цитированных в отчете о поиске:
US 6092546 A, 25.07.2000. US 4531535 A, 13.07.1985. US 4328824 A, 11.05.1982. RU 2008482 C1, 28.02.1994. SU 347441 A1, 01.01.1972. SU 1793083 A1, 07.02.1993. RU 2063532 C1, 10.07.1996.
Адрес для переписки:
191186, Санкт-Петербург, а/я 230, “АРС-ПАТЕНТ”, пат.пов. В.М.Рыбакову, рег. № 90
|
(72) Автор(ы):
ЛЕБЛАН Паскаль (FR), МАРЛИ Паскаль (FR), РОДРИГЕС Жозе (FR), ТЬЕПЕЛЬ Ален (FR)
(73) Патентообладатель(и):
ИСПАНО-СУИЗА (FR)
|
(54) СИСТЕМА ВПРЫСКА ТОПЛИВА ТУРБОМАШИНЫ
(57) Реферат:
Изобретение относится к области систем впрыска топлива в камеру сгорания турбомашины. Система впрыска топлива содержит N топливных форсунок, расположенных в камере сгорания турбомашины и питаемых топливом от топливного бака, и встроенный между форсунками и баком насосный блок, содержащий агрегат, образованный ведущим валом, снабженным N ведущими шестернями одного диаметра, ведомым валом, снабженным N ведомыми шестернями одного диаметра, и уплотнительными перегородками, расположенными поперечно между двумя соседними шестернями ведущего и ведомого вала для образования зон впуска топлива и зон нагнетания топлива, расположенных по обе стороны от продольной плоскости, проходящей через продольные оси ведущего и ведомого валов. Агрегат установлен в корпусе, содержащем впускное топливное отверстие, сообщающееся с баком и открытое в какую-либо из зон впуска топлива, и отверстиями нагнетания топлива, каждое из которых открыто в одну из зон нагнетания топлива для питания каждой из топливных форсунок. Изобретение позволяет упростить гидравлическую часть системы сокращением используемых в ней блоков, а также обеспечивает удобство регулирования дозированных расходов топлива через форсунки. 8 з.п. ф-лы, 5 ил.
Область техники, к которой относится изобретение
Настоящее изобретение относится в широком аспекте к области систем впрыска топлива в камеру сгорания турбомашины. Более конкретно, оно предусматривает средство перекачивания топлива для оснащения таких систем впрыска.
Уровень техники
Известны различные системы подачи топлива в камеру сгорания турбомашины (см., например, патентные документы ЕР 0926325, US 5907949, US 6102001 и US 6092546). Типовая система впрыска топлива, используемая в известных решениях, схематично показана на фиг.5. Известная система впрыска топлива в турбомашине содержит насос 102, например, шестеренный с приводом от двигателя (не представлен), позволяющий отбирать топливо из топливного бака 104, набор топливных форсунок 106, расположенных в камере сгорания турбомашины и снабженных каждая топливным дозирующим клапаном 108, и дозатор 110 топлива. Данный дозатор 110 встроен между насосом 102 и клапанами 108 и предназначен для регулирования расхода топлива, которое должно подаваться от насоса к топливным форсункам. Избыточное топливо на выходе дозатора 110 вновь подается на вход насоса 102.
В такой системе расход топлива, впрыскиваемого в камеру сгорания турбомашины, зависит от индивидуальной настройки каждой топливной форсунки 106, от закоксованности (забивания) сопел этих форсунок и от разницы установки форсунок в камере сгорания по высоте. Кроме того, трение между дозирующим клапаном 108 каждой форсунки 106 и втулкой, в которой он скользит, вызывает явление гистерезиса, ведущего к замедлению при открытии и закрытии этих дозирующих клапанов. Все эти обстоятельства вызывают неоднородность, или неодинаковость впрыска топлива в камеру сгорания между различными форсунками, что может привести к затруднению при зажигании двигателя турбомашины.
Наиболее близким к изобретению аналогом является система впрыска топлива в камеру сгорания турбомашины, описанная в US 4531535 A, F02C 7/228, 30.07.1985 (аналогичная система описана также в US 4328824 А, F02C 7/228, 11.05.1982). В данной системе, также содержащей насос, топливный бак и набор из N топливных форсунок, расположенных в камере сгорания турбомашины, дозатор топлива и набор индивидуальных дозирующих клапанов заменены делителем топлива. Делитель топлива выполнен на основе агрегата, который содержит ведущий вал, снабженный N ведущими шестернями одного диаметра, ведомый вал с продольной осью, параллельной продольной оси ведущего вала, снабженный N ведомыми шестернями одного диаметра, зацепляющимися с N ведущими шестернями, и уплотнительные перегородки. Эти перегородки (в количестве N-1) расположены поперечно между двумя соседними шестернями каждого, ведущего и ведомого, вала для образования N зон впуска топлива и N зон нагнетания топлива, расположенных по обе стороны от продольной плоскости, проходящей через продольные оси ведущего и ведомого валов. Агрегат установлен в корпусе, содержащем, по меньшей мере, одно впускное топливное отверстие, сообщающееся с баком и открытое в какую-либо из зон впуска топлива, и N отверстий нагнетания топлива, каждое из которых открыто в одну из N зон нагнетания топлива для питания каждой из N топливных форсунок.
Система, описанная в US 4531535 А, превосходит другие известные системы аналогичного назначения по однородности впрыска топлива через различные форсунки. Однако наличие в ней двух отдельных блоков в виде топливного насоса и делителя потока делает ее конструктивно сложной.
Раскрытие изобретения
Задача, на решение которой направлено настоящее изобретение, заключается в устранении указанного недостатка и в создании новой системы впрыска топлива турбомашины, позволяющей упростить гидравлическую часть системы за счет устранения сокращения используемых в ней конструктивных блоков. Дополнительная задача заключается в обеспечении удобства регулирования дозированных расходов топлива через форсунки.
В соответствии с изобретением решение поставленной задачи достигается за счет системы впрыска топлива турбомашины, содержащей N топливных форсунок, расположенных в камере сгорания турбомашины и питаемых топливом от топливного бака. Система по изобретению характеризуется тем, что дополнительно содержит встроенный между топливными форсунками и топливным баком насосный блок для отбора топлива от бака и подачи N дозированных расходов топлива к топливным форсункам. Насосный блок содержит агрегат, образованный приводимым во вращение с помощью приводного средства ведущим валом, снабженным N ведущими шестернями (роликами) одного диаметра, ведомым валом с продольной осью, параллельной продольной оси ведущего вала, снабженным N ведомыми шестернями (роликами) одного диаметра, зацепляющимися с N ведущими шестернями (роликами), и уплотнительными перегородками. Данные перегородки (в количестве N-1) расположены поперечно между двумя соседними шестернями (роликами) каждого, ведущего и ведомого, вала для образования N зон впуска топлива и N зон нагнетания топлива, расположенных по обе стороны от продольной плоскости, проходящей через продольные оси ведущего и ведомого валов. Агрегат установлен в корпусе, содержащем, по меньшей мере, одно впускное топливное отверстие, сообщающееся с баком и открытое в какую-либо из зон впуска топлива, и N отверстий нагнетания топлива, каждое из которых открыто в одну из N зон нагнетания топлива для питания каждой из N топливных форсунок.
Насосный блок позволяет одновременно отбирать топливо из топливного бака и разделять расход отобранного топлива на количество дозированных расходов подачи по числу топливных форсунок. За счет этого устраняются насос, дозирующие клапаны топливных форсунок и дозатор топлива и данные элементы заменяются единым насосным блоком. Это позволяет избежать проблем, связанных с использованием данных элементов (явления гистерезиса и других упомянутых проблем). Таким образом, улучшается впрыск топлива в камеру сгорания турбомашины и упрощается конструкция системы впрыска топлива.
Дозированные расходы подачи топлива предпочтительно одинаковы для N топливных форсунок. Дополнительно могут быть предусмотрены средства регулирования этих дозированных расходов.
Образованный описанным образом агрегат установлен и уплотнен в продольно отрегулированном положении в цилиндрическом корпусе. N зон впуска топлива предпочтительно сообщаются между собой посредством отверстий, выполненных в уплотнительных перегородках, при этом, по меньшей мере, одно впускное топливное отверстие, сообщающееся с баком, открыто в какую-либо из N зон впуска топлива. В соответствии с предпочтительным вариантом осуществления изобретения впускное топливное отверстие является единственным; оно выполнено в концевой части цилиндрического корпуса насосного блока, тогда как отверстия нагнетания топлива расположены по существу в шахматном порядке в двух продольных рядах, параллельных продольным осям ведущего и ведомого валов.
В оптимальном примере выполнения ведомые и ведущие шестерни (ролики) имеют один и тот же диаметр. Ведущий вал приводится во вращение предпочтительно с помощью электрически приводного средства, а средства регулирования дозированного расхода подачи топлива содержат вариатор скоростей, воздействующий на частоту вращения ведущего вала.
Краткое описание чертежей
Не являющийся ограничивающим пример осуществления настоящего изобретения, его дополнительные особенности и преимущества будут подробнее описаны ниже со ссылками на прилагаемые чертежи, на которых:
фиг.1 схематично изображает схему гидравлического контура системы впрыска топлива в соответствии с изобретением,
фиг.2 изображает на виде в перспективе с частичным вырывом насосный блок дозированного перекачивания топлива в системе впрыска топлива по изобретению,
фиг.3 соответствует виду в сечении плоскостью III-III на фиг.2,
фиг.4 соответствует виду в сечении плоскостью IV-IV на фиг.2,
фиг.5 схематично изображает схему гидравлического контура системы впрыска топлива турбомашины, известной из уровня техники.
Осуществление изобретения
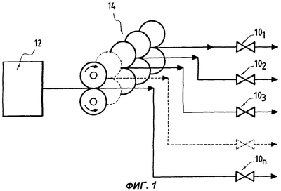
На фиг.1 схематично представлена схема гидравлического контура системы впрыска топлива в соответствии с изобретением.
Как видно из этой схемы, система впрыска топлива турбомашины содержит N топливных форсунок, от 101 до 10N (из них на схеме показаны только четыре), расположенных в камере сгорания турбомашины. Эти топливные форсунки 101-10N питаются топливом от топливного бака 12. Единственное средство перекачивания топлива, или насосный блок 14 для топлива расположен между комплектом N топливных форсунок 101-10N и топливным баком 12 для отбора топлива из бака 12 и подачи к топливным форсункам N дозированных расходов топлива, предпочтительно одинаковых. Этот насосный блок 14 в ходе единого рабочего процесса осуществляет как перекачивание топлива из топливного бака, так и его нагнетание ко всем топливным форсункам. При этом нагнетание топлива производится таким образом, чтобы дозировать N расходов, подаваемых к топливным форсункам 101-10N.
На фиг.2-4 более подробно показан насосный блок 14 согласно примеру осуществления изобретения. Насосный блок 14 представляет собой узел, или агрегат, содержащий ведущий вал 16 с продольной осью Х-Х, на котором укреплены N ведущих шестерен 181-18N одинакового диаметра, и ведомый вал 20 с продольной осью Y-Y, параллельный ведущему валу 16. На ведомом валу 20 укреплены N ведомых шестерен 221-22N одинакового диаметра, зацепляющихся с N ведущими шестернями 181-18N. Ведомые шестерни 221-22N имеют предпочтительно тот же диаметр, что и ведущие шестерни 181-18N. За счет зацепления ведущих и ведомых шестерен вращение ведущего вала 16 передается на ведомый вал 20 с вращением последнего в противоположном направлении.
Уплотнительные перегородки 241-24N-1 в количестве N-1 расположены поперечно по одной между двумя соседними шестернями каждого вала. Более конкретно, уплотнительные перегородки 241-24N-1 встроены перпендикулярно продольным осям ведущего и ведомого валов между соседними зубчатыми парами, образованными парой ведущая/ведомая шестерни. Уплотнительные перегородки 241-24N-1 позволяют образовать N зон 261-26N впуска топлива и N зон 281-28N нагнетания топлива, причем эти зоны расположены по обе стороны от продольной плоскости Р, проходящей через продольные оси Х-Х и Y-Y ведущего и ведомого валов. Таким образом, каждой паре «ведущая шестерня 18i / ведомая шестерня 22i» (где i является целым числом от 1 до N) соответствует одна зона 26i впуска топлива и одна зона 28i нагнетания, расположенные по обе стороны от продольной плоскости Р. Как показано на фиг.4, отверстия 301-30N-1 в количестве N-1, выполненные в уплотнительных перегородках 241-24N-1, обеспечивают взаимное сообщение зон 2641-26N впуска топлива общим количеством N.
Агрегат, образованный ведущим и ведомым валами 16 и 20 и уплотнительными перегородками 241-24N-1 в количестве N-1, установлен и уплотнен в продольно отрегулированном положении в цилиндрическом корпусе 32. Необходимость только продольного регулирования подразумевает, что размеры поперечного сечения цилиндрического корпуса 32 выбраны в соответствии с межосевым расстоянием и диаметром ведущей/ведомой пары шестерен, образующих зубчатую пару.
В цилиндрическом корпусе 32 насосного блока выполнено, по меньшей мере, одно впускное отверстие для топлива. Оно сообщается с топливным баком 12 и с какой-либо из зон 261-26N впуска топлива. Так например, в варианте осуществления по фиг 2 единственное впускное топливное отверстие 34 выполнено в торце цилиндрического корпуса и сообщается с первой зоной 261 впуска топлива.
Цилиндрический корпус 32 насосного блока содержит далее N отверстий 361-36N нагнетания топлива, при этом каждое такое отверстие сообщается с одной зоной 281-28N нагнетания топлива из N подобных зон. Согласно выгодной особенности изобретения отверстия 361-36N нагнетания топлива расположены, например, в шахматном порядке в двух продольных рядах, параллельных продольным осям Х-Х и Y-Y ведущего и ведомого валов.
Далее будет более подробно описано действие насосного блока 14 со ссылкой на фиг.4.
Ведущий вал 16 приводится во вращение в направлении по стрелке F1 с помощью приводного средства (на чертежах не показано), например, электрического. N ведущих шестерен 181-18N зацепляются с N ведомыми шестернями 221-22N, вызывая вращение ведомого вала 20 в противоположном направлении, показанном стрелкой F2. Это вращение ведущего и ведомого валов вызывает эффект всасывания топлива, поступающего от топливного бака 12, через сообщающееся с ним впускное отверстие 34 в ту зону 26i впуска топлива, с которой сообщается данное отверстие. При этом топливо поступает во все N зон 261-26N впуска топлива через отверстия 301-30N-1, выполненные в уплотнительных перегородках 241-24N-1. Топливо, присутствующее в каждой из N зон 26i впуска топлива, далее перемещается из этих зон в зону 28i нагнетания топлива с помощью соответствующей пары зацепляющихся шестерен «ведущая шестерня 18i / ведомая шестерня 22i». Более конкретно, дозированное количество Q топлива, имеющегося в одной из зон впуска, попадает в промежуточные зоны 38а, 38b, соответственно, между двумя соседними зубьями 18Ai, 18Вi ведущей шестерни 18i и между двумя соседними зубьями 22Аi, 22Вi ведомой шестерни 22i, которая зацепляется с ведущей шестерней. Далее это дозированное количество Q топлива перемещается к соответствующей зоне 28i нагнетания под действием вращения пары ведущей и ведомой шестерен и отводится через соответствующее нагнетательное отверстие 36i к одной из топливных форсунок 101-10N из N таких форсунок. Таким образом, насосный блок 14 позволяет подавать к топливным форсункам N дозированных расходов топлива.
Если N ведомых шестерен 221-22N имеют одинаковый диаметр с N ведущими шестернями 181-18N, числа зубьев в шестернях также равны. В результате этого количество топлива, отводимого соответствующим нагнетательным отверстием 36i, соответствует на один оборот зацепления примерно двойному количеству Q топлива, присутствующего в одной из промежуточных зон 38а, 38b, умноженному на число зубьев. Это дозированное количество Q топлива зависит от расстояния между двумя соседними зубьями и от высоты от ножки до головки зубьев.
Согласно выгодной особенности изобретения система впрыска топлива дополнительно содержит средства регулирования дозированных расходов к N топливным форсункам. Эти средства регулирования выполнены в виде вариатора скоростей (на чертежах не показан), воздействующего на частоту вращения ведущего вала. Таким образом, дозированный расход подачи топлива к каждой топливной форсунке 101-10N пропорционален дозированному количеству Q топлива и частоте вращения ведущего вала 16.
Насосный блок 14 описан здесь в примере выполнения в виде системы зацепления между ведущей и ведомой шестернями. Разумеется, этот насосный блок может быть выполнен с использованием зацепляющихся элементов другого типа. Так например, могут быть использованы взаимодействующие ролики, установленные на ведущем и ведомом валах, с тем же принципом функционирования.
Формула изобретения
1. Система впрыска топлива турбомашины, содержащая N топливных форсунок (101, …, 10N), расположенных в камере сгорания турбомашины и питаемых топливом от топливного бака (12), и встроенный между указанными N топливными форсунками и указанным баком насосный блок (14) для отбора топлива от бака и подачи N дозированных расходов топлива к топливным форсункам, при этом насосный блок содержит агрегат, образованный
приводимым во вращение с помощью приводного средства ведущим валом (16) с продольной осью (Х-Х), снабженным N ведущими шестернями (181, …, 18N) или роликами одного диаметра,
ведомым валом (20) с продольной осью (Y-Y), параллельной продольной оси (Х-Х) ведущего вала, снабженным N ведомыми шестернями (221, …, 22N) или роликами одного диаметра, зацепляющимися с указанными N ведущими шестернями или роликами соответственно, и
уплотнительными перегородками (241, …, 24N-1), в количестве N-1, расположенными поперечно между двумя соседними шестернями или роликами каждого, ведущего и ведомого, вала для образования N зон (261, …, 26N) впуска топлива и N зон (281, …, 28N) нагнетания топлива, расположенных по обе стороны от продольной плоскости (Р), проходящей через продольные оси ведущего и ведомого валов, причем агрегат установлен в корпусе (32), содержащем, по меньшей мере, одно впускное топливное отверстие (34), сообщающееся с баком (12) и открытое в какую-либо из зон (261, …, 26N) впуска топлива, и N отверстий (361, …, 36N) нагнетания топлива, каждое из которых открыто в одну из N зон (281, …, 28N) нагнетания топлива для питания каждой из N топливных форсунок (101, …, 10N).
2. Система впрыска топлива по п.1, отличающаяся тем, что N дозированных расходов топлива одинаковы.
3. Система впрыска топлива по п.1, отличающаяся тем, что дополнительно содержит средства регулирования дозированных расходов топлива.
4. Система впрыска топлива по п.1, отличающаяся тем, что корпус (32) выполнен цилиндрическим, а указанный агрегат установлен и уплотнен в корпусе в продольно отрегулированном положении, при этом N зон (261, …, 26N) впуска топлива сообщаются между собой посредством отверстий (301, …, 30N-1), выполненных в уплотнительных перегородках.
5. Система впрыска топлива по п.1, отличающаяся тем, что N ведомых шестерен (221, …, 22N) или роликов имеют такой же диаметр, что и N ведущих шестерен (181, …, 18N) или роликов соответственно.
6. Система впрыска топлива по п.1, отличающаяся тем, что отверстия (361, …, 36N) нагнетания топлива расположены по существу в шахматном порядке в двух продольных рядах, параллельных продольным осям (Х-Х, Y-Y) ведущего и ведомого валов.
7. Система впрыска топлива по п.4, отличающаяся тем, что цилиндрический корпус (32) насосного блока (14) содержит единственное впускное топливное отверстие (34), выполненное в его концевой части.
8. Система впрыска топлива по любому из предыдущих пунктов, отличающаяся тем, что приводное средство является электрическим приводным средством.
9. Система впрыска топлива по любому из пп.3-7, отличающаяся тем, что указанные средства регулирования дозированного расхода подачи топлива содержат вариатор скоростей, воздействующий на частоту вращения ведущего вала.
РИСУНКИ
|
|