|
|
(21), (22) Заявка: 2005130188/06, 27.09.2005
(24) Дата начала отсчета срока действия патента:
27.09.2005
(43) Дата публикации заявки: 10.04.2007
(46) Опубликовано: 27.10.2007
(56) Список документов, цитированных в отчете о поиске:
RU 2051281 C1, 27.12.1995. RU 2009338 C1, 27.12.1995. SU 922302 A, 23.04.1982. DE 2233962 A, 04.10.1982. FR 2304775 A1, 15.10.1976. GB 1204434 A, 09.09.1970.
Адрес для переписки:
450039, г.Уфа, ул.Мушникова, 13/1, кв.133, Э.Б.Ахметову
|
(72) Автор(ы):
Ахметов Эмель Борисович (RU)
(73) Патентообладатель(и):
Ахметов Эмель Борисович (RU)
|
(54) ДВИГАТЕЛЬ ВНУТРЕННЕГО СГОРАНИЯ
(57) Реферат:
Изобретение относится к машиностроению, в частности к воспламенению двигателей внутреннего сгорания. Двигатель внутреннего сгорания (ДВС), содержащий, по меньшей мере, один цилиндр с размещенным в нем поршнем, кинематически связанный с коленчатым валом, головку цилиндра с установленными в ней впускным и выпускным клапанами, камеру сгорания, выполненную в виде выемок в головке цилиндра под одним из клапанов и в днище поршня, завихрители заряда, выполненные в виде торцевых выступов, охватывающих одну из выемок камеры сгорания, примыкающих к другой выемке при положении поршня в верхней мертвой точке (ВМТ) и образующих тангенциально направленные каналы, и источник воспламенения, установленный в выемке головки цилиндра, при этом камера сгорания на днище поршня выполнена в виде выемки от тела вращения, ось которого совпадает с осью цилиндра или располагается вблизи нее, завихрители заряда в форме торцевых выступов с тангенциальными каналами располагаются вокруг камеры сгорания на днище поршня и примыкают к выемке на головке цилиндра при положении поршня в ВМТ, клапаны располагаются на выемках в головке цилиндра, глубина которых соответствует глубине выемки головки цилиндра и высоте торцевых выступов на днище поршня. Для дизеля источником воспламенения является форсунка, которая размещается в выемке головки цилиндра, для многотопливного двигателя источником воспламенения является форсунка и запальная свеча, которые размещаются в выемке головки цилиндра, для двигателя с принудительным воспламенением источником воспламенения служит свеча зажигания. Торцевые выступы, примыкающие к тарелкам клапанов, выполняются меньшей высоты для исключения их соприкосновения при положении поршня в ВМТ. Камера сгорания и торцевые выступы на днище поршня или вся поверхность днища поршня имеют покрытие из теплоизоляционного материала, например двуокиси циркония. Камера сгорания и торцевые выступы на днище поршня выполнены из чугуна или стали с низкой теплопроводностью и влиты или закреплены в днище поршня из алюминиевого сплава. Изобретение обеспечивает повышение мощности двигателя и снижение токсичных компонентов и твердых частиц в отработавших газах. 9 з.п. ф-лы, 5 ил.
Изобретение относится к машиностроению и может быть использовано в двигателе внутреннего сгорания как с воспламенением от сжатия, так и с принудительным зажиганием.
Известен двигатель внутреннего сгорания (ДВС), содержащий, по меньшей мере, один цилиндр с размещенным в нем поршнем, кинематически связанным с коленчатым валом, головку цилиндра с установленным в ней впускным и выпускным клапанами, камеру сгорания, выполненную в виде выемки в головке цилиндра и днище поршня при положении поршня в верхней мертвой точке, завихрители заряда, выполненные в виде торцевых выступов, охватывающих одну из выемок камеры сгорания и источник воспламенения, установленный в выемке со стороны головки цилиндра (см. патент СССР №1379473 кл. F02B 23/00, 1988 г., патенты РФ №2051281 С1, 27.12.1992, №2217610 C2, 23.08.2001 г.).
Известен также двигатель с воспламенением от сжатия, разработанный в Японском научно-исследовательском институте. Камера расположена в поршне с незначительным смещением ее оси от оси цилиндра. Тангенциально по отношению к стенкам камеры на всю ее высоту в поршне выполнено шесть узких прорезей, расположенных на равных расстояниях одна от другой (Итоги науки и техники. Двигатели внутреннего сгорания. Пути повышения экономичности автотракторных двигателей. М., 1982. Т.3., С.155).
В первом случае камера сгорания имеет большое смещение от оси цилиндра, что требует для организации полного сгорания большего коэффициента избытка воздуха и снижает мощность двигателя. Во втором случае заряд не имеет достаточную турбулентность и ухудшается сгорание и увеличиваются токсичные компоненты в отработавших газах.
Целью изобретения является повышение мощности двигателя и снижение токсичных компонентов и твердых частиц в отработавших газах.
Указанный технический результат при осуществлении изобретения достигается тем, что в известном двигателе внутреннего сгорания, содержащем, по меньшей мере, один цилиндр с размещенным поршнем, кинематически связанный с коленчатым валом, головку цилиндра с установленными в ней впускным и выпускным клапанами, камеру сгорания, выполненную в виде выемок в головке цилиндра под одним из клапанов и на днище поршня, завихрители заряда, выполненные в виде торцевых выступов, охватывающих одну из выемок камеры сгорания и примыкающих к другой выемке при положении поршня в верхней мертвой точке и образующих тангенциально направленные каналы и источник воспламенения, установленный в выемке головки цилиндра.
Указанный технический результат достигается тем, что камера сгорания выполнена в виде тела вращения на днище поршня, ось которого совпадает с осью цилиндра или располагается вблизи нее, завихрители заряда в форме торцевых выступов с тангенциальными каналами располагаются вокруг камеры сгорания на днище поршня и примыкают к неглубокой выемке на головке цилиндра при положении поршня в верхней мертвой точке, клапаны располагаются на выемках в головке цилиндра, глубина которых соответствует глубине выемки в головке цилиндров и высоте торцевых выступов над днищем поршня, торцевые выступы, примыкающие к тарелкам клапанов, выполняются меньшей высоты для исключения их соприкосновения при положении поршня в ВМТ, источник воспламенения: свеча зажигания для двигателя с принудительным воспламенением или форсунка или свеча запальная и форсунка для дизеля располагаются на выемке головки цилиндра.
Двигатели, как дизели, так и с принудительным воспламенением могут быть
– с одним впускным и одним выпускным клапанами;
– с двумя впускными и одним выпускным клапанами;
– с двумя впускными и двумя выпускными клапанами.
Для исключения повышения температуры поршня камера сгорания и торцевые выступы на днище поршня выполняются из материалов с меньшей теплопроводностью и высокой теплостойкостью (чугун, сталь, или другие материалы), вливаются или закрепляются в тело поршня из алюминиевого сплава. В другом случае камера сгорания из алюминиевого сплава или чугуна, стали и других материалов может иметь покрытие из теплоизоляционного материала (например, двуокиси циркония).
В одном из вариантов торцевые выступы на днище поршня в зоне примыкания к клапанам не выполняются, а завихрители заряда в этой зоне выполняются в виде тангенциальных каналов в теле днища поршня.
Конструкция многих существующих дизелей, особенно средней и большой мощности, имеют камеры сгорания, выполненные в виде выемки различной формы на днище поршня, а форсунка обычно располагается в головке цилиндра в зоне этой выемки.
Для достижения качественного смесеобразования в дизелях организуют вихревое движение заряда в камере сгорания за счет организации вращательного движения воздуха на впуске и вытеснения воздуха в камеру сгорания на такте сжатия. Однако при этом воздух не имеет достаточной микро- и макротурбулентности, поэтому качественного смесеобразования достигают за счет очень высокого (до 2000 бар) давления впрыска топлива, что значительно удорожает топливную аппаратуру.
Предлагаемое изобретения позволяет организовать истечение воздуха на такте сжатия в камеру сгорания с высокой скоростью через тангенциальные каналы торцевых выступов, что создает качественное смесеобразование и скоростное сгорание заряда у находящихся в производстве дизелей с обычными давлениями впрыска топлива. Достигается снижение вредных выбросов и твердых частиц в атмосферу и повышение мощности дизелей, обеспечивается полнота сгорания и снижение вредных выбросов с отработавшими газами двигателей с принудительным зажиганием.
Для снижения теплопередачи к поршню и обеспечения работоспособности поршня из легких сплавов и поршневых колец дизелей камера сгорания и торцевые выступы выполняются из материала с меньшим коэффициентом теплопроводности или покрываются теплоизолирующими покрытиями.
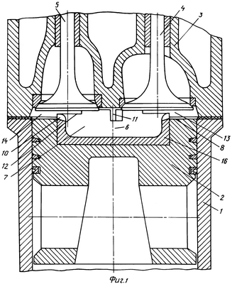
На чертежах изображен двигатель внутреннего сгорания, где
фиг.1 – поперечный разрез двигателя;
фиг.2 – вид на головку цилиндра со стороны поршня;
фиг.3 – вид на поршень со стороны головки;
фиг.4 – вид на поршень со стороны головки цилиндров с завихрителями в зоне клапанов, выполненными в теле днища поршня;
фиг.5 – сечение А-А на фиг.4.
Двигатель внутреннего сгорания содержит, по меньшей мере, один цилиндр 1 с размещенным в нем поршнем 2, кинематически связанным с коленчатым валом (не показан), головку 3 цилиндра 1 с установленным в ней впускным 4 и выпускным 5 клапанами, камеру сгорания 6, выполненную в виде выемки 7 на днище 8 поршня 2 и неглубокой выемки 9 на головке цилиндра, сопрягаемой с выемкой 7 при положении поршня в верхней мертвой точке, завихрители заряда, выполненные в виде торцевых выступов 10, охватывающих выемку 7 на днище поршня, входящие в неглубокую выемку 9 на головке цилиндра при положении поршня в ВМТ. Торцевые выступы 10 образуют тангенциально направленные каналы 11 и имеют участки меньшей высоты 12 напротив клапанов 4 и 5 для исключения соприкосновения их с клапанами при положении поршня в ВМТ. На фиг.4 и фиг.5 изображены тангенциально направленные каналы 11′, выполненные в теле днища 8 поршня в зоне 12 примыкания к клапанам. Клапаны 4 и 5 соответственно располагаются в выемках 13 и 14 на головке цилиндра, глубина выемок 13 и 14 соответствует глубине выемок 9 на головке цилиндра. Источник воспламенения – форсунка 15 располагается в выемке 9 на головке цилиндра дизеля. На двигателях с принудительным зажиганием в качестве источника воспламенения применяется свеча зажигания (не показана), на многотопливных двигателях запальная свеча (не показана) и форсунка 15.
Для исключения перегрева поршня и потерь тепла камера сгорания и торцевые выступы могут выполняться в виде вставки 16 из материалов с меньшим коэффициентом теплопередачи.
Двигатель работает следующим образом.
Во время такта сжатия при подходе поршня к ВМТ торцевые выступы 10 отсекают воздух или рабочий заряд, находящийся в зоне вытеснения, от камеры сгорания. Так как движение поршня продолжается, то воздух или заряд вытесняется в камеру сгорания через направляющие каналы 11, тангенциально расположенные к камере сгорания. Поршень 2 плотно подходит к головке 3 цилиндра 1, зазор в вытеснителе должен быть минимальным. За счет тангенциального расположения каналов 11 и течения воздуха через эти каналы с высокой скоростью в камере сгорания образуется вихревое движение заряда с большой энергией мелкомасштабной турбулентности. Около ВМТ форсунка, расположенная вблизи центра камеры сгорания, начинает впрыскивать топливо через распылители по направлению к стенкам камеры сгорания. Капли топлива встречаются с воздухом, имеющим высокую скорость. Таким образом, в цилиндре достигается высокая относительная скорость между факелом топлива и воздухом, что обеспечивает хороший распыл факела топлива, эффективное сгорание при малых значениях коэффициента избытка воздуха.
Предлагаемое изобретение позволяет повысить мощность двигателя на всех режимах и снизить выбросы CO, CH, NOx, твердых частиц у большого количества моделей дизелей, находящихся в производстве, без капитальных затрат и существенных изменений технологии их производства.
Формула изобретения
1. Двигатель внутреннего сгорания (ДВС), содержащий, по меньшей мере, один цилиндр с размещенным в нем поршнем, кинематически связанный с коленчатым валом, головку цилиндра с установленными в ней впускным и выпускным клапанами, камеру сгорания, выполненную в виде выемок в головке цилиндра под одним из клапанов и в днище поршня, завихрители заряда, выполненные в виде торцевых выступов, охватывающих одну из выемок камеры сгорания, примыкающих к другой выемке при положении поршня в верхней мертвой точке (ВМТ) и образующих тангенциально направленные каналы, и источник воспламенения, установленный в выемке головки цилиндра, отличающийся тем, что камера сгорания на днище поршня выполнена в виде выемки от тела вращения, ось которого совпадает с осью цилиндра или располагается вблизи нее, завихрители заряда в форме торцевых выступов с тангенциальными каналами располагаются вокруг камеры сгорания на днище поршня и примыкают к выемке на головке цилиндра при положении поршня в ВМТ, клапаны располагаются на выемках в головке цилиндра, глубина которых соответствует глубине выемки головки цилиндра и высоте торцевых выступов на днище поршня.
2. Двигатель по п.1, отличающийся тем, что для дизеля источником воспламенения является форсунка, которая размещается в выемке головки цилиндра
3. Двигатель по п.1, отличающийся тем, что для многотопливного двигателя источником воспламенения является форсунка и запальная свеча, которые размещаются в выемке головки цилиндра.
4. Двигатель по п.1, отличающийся тем, что для двигателя с принудительным воспламенением источником воспламенения служит свеча зажигания.
5. Двигатель по п.1, отличающийся тем, что содержит один впускной и один выпускной клапан на цилиндр.
6. Двигатель по п.1, отличающийся тем, что содержит два впускных и один выпускной клапан.
7. Двигатель по п.1, отличающийся тем, что содержит два впускных и два выпускных клапана.
8. Двигатель по любому из пп.1-7, отличающийся тем, что торцевые выступы, примыкающие к тарелкам клапанов, выполняются меньшей высоты для исключения их соприкосновения при положении поршня в ВМТ.
9 Двигатель по любому из пп.1-7, отличающийся тем, что камера сгорания и торцевые выступы на днище поршня или вся поверхность днища поршня имеют покрытие из теплоизоляционного материала, например двуокиси циркония.
10. Двигатель по любому из пп.1-7, отличающийся тем, что камера сгорания и торцевые выступы на днище поршня выполнены из чугуна или стали с низкой теплопроводностью и влиты или закреплены в днище поршня из алюминиевого сплава.
РИСУНКИ
|
|