|
|
(21), (22) Заявка: 2005105419/03, 28.02.2005
(24) Дата начала отсчета срока действия патента:
28.02.2005
(30) Конвенционный приоритет:
07.07.2004 (пп.1-8) DE 102004032919.2
(43) Дата публикации заявки: 10.08.2006
(46) Опубликовано: 27.10.2007
(56) Список документов, цитированных в отчете о поиске:
DE 9200355 U1, 09.04.1992. RU 2186181, 27.07.2002. GB 2036840 A, 02.07.1980. US 4381115 A, 26.04.1983. GB 2352262 A, 24.01.2001.
Адрес для переписки:
101000, Москва, М.Златоустинский пер., 10, кв.15, “ЕВРОМАРКПАТ”, пат.пов. И.А.Веселицкой, рег. № 11
|
(72) Автор(ы):
ФЁРСТЕР Артур (DE)
(73) Патентообладатель(и):
ДЕФЕНТЕР ПРОФИЛЕ ГМБХ УНД КО. КГ (DE)
|
(54) ЭЛАСТИЧНЫЙ ПЕРЕКРЫВАЮЩИЙ УПЛОТНЯЕМЫЙ ЗАЗОР УПЛОТНИТЕЛЬ ДЛЯ ОКОН, ДВЕРЕЙ ИЛИ ИНЫХ АНАЛОГИЧНЫХ КОНСТРУКЦИЙ
(57) Реферат:
Изобретение относится к области строительства, а именно к конструкциям окон, дверей. Изобретение позволит повысить тепло и звукоизоляцию окна, двери. Эластичный перекрывающий уплотняемый зазор уплотнитель содержит основание, имеющее на его нижнем конце крепежное ребро, примыкающую к его верхнему концу головку, верхняя поверхность которой перпендикулярна обращенной от крепежного ребра задней поверхности основания. Ребро выполнено с непрерывно увеличивающейся от его нижнего конца к его верхнему концу толщиной. Головка выполнена с дугообразно изогнутой в поперечном сечении вниз уплотняющей кромкой, изогнутая верхняя поверхность которой выступает над верхней поверхностью головки. Под уплотняющей кромкой от головки наклонно вниз выступает опорное ребро, нижняя поверхность которого переходит в обращенную к ней поверхностью основания на ее верхнем конце. Верхняя поверхность ребра вместе с нижней поверхностью уплотняющей кромки образуют выемку. Головка с уплотняющей кромкой и опорным ребром выполнена в виде цельной, массивной части уплотнителя. 7 з.п. ф-лы, 3 ил.
Настоящее изобретение относится к эластичному перекрывающему уплотняемый зазор уплотнителю (далее называемому просто уплотнителем) для окон, дверей или иных аналогичных конструкций, имеющему основание, которое служит для закрепления уплотнителя в посадочном пазу окна, двери или иной аналогичной конструкции и которое на одном его (нижнем) конце имеет крепежное ребро, а к другому его (верхнему) концу примыкает выступающая с той же стороны, что и крепежное ребро, головка, верхняя поверхность которой проходит примерно перпендикулярно обращенной от крепежного ребра задней поверхности основания.
Подобные эластичные уплотнители применяются в дверных, оконных или аналогичных конструкциях, в которых поворотная оконная (соответственно дверная) створка несколько перекрывает оконную (соответственно дверную) коробку и в которых с использованием простых средств должна обеспечиваться хорошая звукоизоляция.
При полностью закрытом окне, полностью закрытой двери или иной аналогичной полностью закрытой конструкции верхняя поверхность головки известных уплотнителей обычно выступает вверх над торцовой поверхностью створки, из-за чего уплотняющая кромка уплотнителя остается видимой. Хотя подобные известные уплотнители и обеспечивают эффективное уплотнение простыми средствами, тем не менее их остающаяся видимой уплотняющая кромка во многих случаях ухудшает общий внешний вид окна, двери или аналогичной конструкции.
Такой уплотнитель известен, например, из DE 9200355 U. У этого известного уплотнителя его головка выполнена в виде замкнутого полого профиля, имеющего два выступающих с той же стороны, что и крепежное ребро, основания уплотнителя, ребра, первое из которых отходит от верхнего окончания задней стороны профиля примерно перпендикулярной ей и далее «оттопыривается» кверху, а второе из них отходит наклонно вниз от задней стороны профиля несколько ниже первого ребра и в зоне своего конца соединяется с боковым ребром, которое в несмонтированном состоянии уплотнителя отходит от задней стороны профиля наклонно вверх и через которое обращенный от задней стороны профиля конец первого ребра опирается на второе ребро. Первое ребро состоит при этом из двух в основном прямолинейных в сечении участков, которые сходятся под тупым углом друг к другу, образуя в месте их примыкания перегиб, а от обращенного от задней стороны профиля конца этого ребра наклонно вниз отходит уплотняющее ребро, с которым на определенном расстоянии от первого ребра соединяется наклонное боковое ребро. У этого известного уплотнителя в его несмонтированном состоянии перегиб в месте примыкания друг к другу отдельных участков первого ребра смещен относительно перегиба в месте примыкания друг к другу бокового ребра и второго ребра на такую величину, что при создании уплотняющего эффекта, когда уплотняющее ребро поворачивается уплотняемой противолежащей поверхностью в направлении задней стороны профиля, возвращающее усилие, действующее на уплотняющую поверхность и стремящееся прижать ее к уплотняемой противолежащей поверхности, создается не только за счет упругих возвращающих усилий, возникающих в уплотняющем ребре вблизи места его примыкания к первому ребру, но и дополнительно (в том числе и в результате усиления, обеспечиваемого эффектом рычага) за счет сил реакции, передаваемых от бокового ребра к опирающемуся на него уплотняющему ребру. Тем самым благодаря специально предусмотренному у первого ребра перегибу, соответственно шарнирному сочленению в месте примыкания друг к другу образующих это ребро участков, обеспечивается определенная характеристика сгибания первого ребра и, как следствие, четко определимая кинематическая характеристика перегиба всех ребер, задействуемых в процессе создания уплотняющего эффекта. Такой известный уплотнитель обеспечивает при нахождении створки в конечном положении не только эффективное длительное уплотнение практически по всей длине уплотняющего ребра, но и установку уплотняющего ребра в оптимальное положение параллельно задней стороне уплотнителя без возникновения перекосов или неконтролируемых вздутий. Однако именно из-за наличия специально предусмотренного на верхней поверхности верхнего (первого) ребра перегиба в месте примыкания друг к другу обоих образующих его участков при создании уплотняющего эффекта второй участок этого ребра поворачивается кверху, т.е. он выступает над торцовой поверхностью створки, и поэтому такая выступающая («торчащая») уплотняющая кромка становится особенно хорошо заметной с наружной стороны створки.
Исходя из вышеизложенного, в основу настоящего изобретения была положена задача предложить новый перекрывающий уплотняемый зазор уплотнитель, который при сохранении обеспечиваемого им высокого уплотняющего эффекта и при особо простой его конструкции не имел бы по достижении створкой в процессе создания уплотняющего эффекта конечного положения (т.е. при полностью закрытой двери, полностью закрытом окне) выступающей над торцовой поверхностью створки уплотняющей части и тем самым полностью исключал бы образование имеющих неэстетичный внешний вид изломов, характерных для известных уплотнителей.
Указанная задача решается согласно изобретению с помощью эластичного уплотнителя для окон, дверей или иных аналогичных конструкций, имеющего основание, которое служит для закрепления уплотнителя в посадочном пазу окна, двери или иной аналогичной конструкции и которое на одном его (нижнем) конце имеет крепежное ребро, а к другому его (верхнему) концу примыкает выступающая с той же стороны, что и крепежное ребро, головка, верхняя поверхность которой проходит примерно перпендикулярно обращенной от крепежного ребра задней поверхности основания, при этом основание имеет непрерывно увеличивающуюся от его нижнего конца к его верхнему концу толщину, а головка на своем свободно выступающем с той же стороны, что и крепежное ребро, конце имеет дугообразно изогнутую в поперечном сечении вниз, отходящую от него уплотняющую кромку, изогнутая верхняя поверхность которой на начальном участке ее протяженности (если смотреть в направлении от места ее примыкания к головке) выступает над верхней поверхностью головки, а также имеет расположенное ниже уплотняющей кромки наклонно выступающее вниз от головки опорное ребро, которое при смонтированном уплотнителе перекрывает посадочный паз и нижняя поверхность которого сходится с обращенной к ней поверхностью основания на ее верхнем конце, а его верхняя поверхность вместе с нижней поверхностью уплотняющей кромки образуют выемку, которая в несмонтированном состоянии уплотнителя имеет в основном V-образную, если смотреть в его поперечном сечении, форму и вместе с уплотняющей кромкой и опорным ребром выполнена в виде цельной, массивной, т.е. не имеющей полостей, части, толщина которой выше основания (в направлении его протяженности) составляет по меньшей мере примерно половину от протяженности головки, измеряемой перпендикулярно направлению протяженности основания со стороны верхней поверхности головки между ее расположенной выше задней поверхности основания задней поверхностью и местом примыкания уплотняющей кромки к верхней поверхности головки.
В соответствии с этим предлагаемый в изобретении уплотнитель отличается достаточно массивным выполнением его верхней, т.е. относящейся к головке и примыкающей сверху к его основанию, угловой части. Под термином «массивный» при этом подразумевается прежде всего такая часть уплотнителя, которая не только обладает сравнительно высокой жесткостью, но и в отличие от полого профиля не имеет полостей внутри нее.
Еще одной особенностью конструкции предлагаемого в изобретении уплотнителя является выполнение его основания с непрерывно увеличивающейся от его нижнего, т.е. его переднего при установке уплотнителя в посадочный паз, конца в направлении головки толщиной. Благодаря этому обеспечиваются исключительно высокая жесткость основания и возможность простого введения основания в посадочный паз и надежного закрепления в нем.
Под массивным выполнением головки подразумевается и массивное выполнение расположенных на ней элементов – уплотняющей кромки и опорного ребра, при этом благодаря цельному, массивному выполнению головки уплотнителя, толщина которой выше основания уплотнителя составляет по меньшей мере примерно половину от протяженности головки, измеряемой перпендикулярно направлению протяженности основания со стороны верхней поверхности головки между ее расположенной выше задней поверхности основания задней поверхностью и местом примыкания уплотняющей кромки к верхней поверхности головки, удается получить в целом исключительно массивную, жесткую головку, форма которой, на считая выступающей уплотняющей кромки, даже при полностью закрытой створке остается практически неизменной. Преимущество, связанное с тем, что верхняя поверхность изогнутой уплотняющей кромки только на начальном участке ее протяженности (если смотреть от места ее примыкания к головке), а не примерно по всей ее длине, несколько выступает над верхней поверхностью основания (соответственно над торцовой поверхностью створки), тогда как остальная часть уплотняющей кромки не выступает над верхней поверхностью основания, а благодаря кривизне уплотняющей кромки находится ниже этого уровня, состоит в том, что в начальный момент создания уплотняющего эффекта уплотняющая кромка лишь поверхностью своего свободно выступающего, направленного наклонно вниз и расположенного ниже верхней поверхности головки (т.е. ниже торцовой поверхности створки) конца входит в первый фрикционный контакт с уплотняемой противолежащей поверхностью. По мере дальнейшего приближения свободно выступающего конца уплотняющей кромки в ходе продолжающегося закрывания створки, т.е. в ходе продолжающегося процесса создания уплотняющего эффекта, к задней поверхности уплотнителя (и одновременно с этим некоторого его перемещения в направлении, параллельном продольной протяженности основания, и в направлении его нижнего конца) площадь поверхности контакта уплотняющей кромки с уплотняемой противолежащей поверхностью будет постоянно увеличиваться, начиная от свободно выступающей концевой части изогнутой уплотняющей кромки, которая одновременно с этим будет непрерывно загибаться вниз со смыканием образованной между ней и опорным ребром выемки. С функциональной точки зрения подобный процесс в целом приводит к тому, что вплоть до момента достижения створкой конечного положения изогнутая уплотняющая кромка будет загибаться до или почти до упора ее нижней поверхности в верхнюю поверхность опорного ребра, а ее верхняя поверхность в той ее части, которая изначально еще несколько выступала над верхней поверхностью головки, одновременно будет смещаться вниз, в результате чего в конечном итоге при прилегании нижней поверхности уплотняющей кромки к верхней поверхности опорного ребра вся выпукло изогнутая верхняя поверхность уплотняющей кромки окажется обращена к уплотняемой противолежащей поверхности и больше не будет выступать над верхней поверхностью головки уплотнителя (над торцовой поверхностью створки). В соответствии с этим предлагаемый в изобретении уплотнитель при полностью закрытой створке располагается заподлицо с ее торцовой поверхностью, в которую оно вставлено, т.е. ни одна часть уплотнителя более не выступает над этой торцовой поверхностью.
В наиболее предпочтительном варианте выполнения предлагаемого в изобретении уплотнителя дно V-образной выемки, соединяющее между собой ее боковые поверхности, образовано дугообразно изогнутой поверхностью. Однако в некоторых случаях может оказаться более предпочтительным выполнять дно выемки не с дугообразно скругленной поверхностью, а клиновидной в сечении формы, образуемой схождением под острым углом обеих боковых поверхностей этой выемки.
В другом особенно предпочтительном варианте боковые поверхности V-образной выемки имеют (в несмонтированном состоянии уплотнителя и в его поперечном сечении) в основном прямолинейную форму и образуют между собой острый угол, составляющий предпочтительно от 15 до 30°.
Далее изобретение более подробно рассмотрено на примере некоторых, носящих преимущественно иллюстративный характер вариантов его осуществления со ссылкой на прилагаемые чертежи, на которых показано:
на фиг.1 – поперечное сечение (в увеличенном масштабе) предлагаемого в изобретении перекрывающего уплотняемый зазор уплотнителя,
на фиг.2 – поперечное сечение (в увеличенном масштабе) предлагаемого в изобретении перекрывающего уплотняемый зазор уплотнителя в несколько отличающемся от показанного на фиг.1 варианте его выполнения;
на фиг.3а, 3б, 3в, 3г и 3д – схематичные изображения в поперечном сечении предлагаемого в изобретении перекрывающего уплотняемый зазор уплотнителя, показанного на фиг.1, в смонтированном состоянии на различных стадиях процесса закрывания снабженной им створки от момента первого контакта с уплотняемой противолежащей поверхностью (фиг.3а) до момента, соответствующего полностью закрытой створке (фиг.3д).
В последующем описании одни и те же показанные на различных чертежах элементы уплотнителя обозначены одинаковыми позициями.
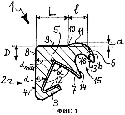
На фиг.1 и 2 в увеличенном масштабе и в поперечном сечении показан профиль перекрывающего уплотняемый зазор уплотнителя 1 (далее называемого просто уплотнителем), который имеет основание 2 с выступающим наклонно вверх (вправо на фиг.1 и 2) от его нижнего конца крепежным ребром 3 и заднюю поверхность 4 на обращенной от крепежного ребра 3 стороне.
Сверху основание 2 переходит в головку 5 уплотнителя, которая выступает над основанием 2 с той же стороны уплотнителя, с которой находится крепежное ребро 3 и на свободно выступающем конце которой имеются выступающая с ее верхней стороны уплотняющая кромка 6 и выступающее под ней наклонно вниз опорное ребро 7.
Головка 5 в свою очередь имеет заднюю поверхность 8, являющуюся продолжением задней поверхности 4 основания уплотнителя.
Со своей обращенной от основания 2 верхней стороной головка 5 имеет верхнюю поверхность 9, которая проходит примерно под прямым углом к задней поверхности 4 основания 2, соответственно к задней поверхности 8 головки 5 и имеет протяженность L, равную расстоянию от задней поверхности 8 головки 5 до места 10 примыкания верхней поверхности уплотняющей кромки 6.
Начиная от своего места 10 примыкания к верхней поверхности 9 головки 5 верхняя поверхность 11 уплотняющей кромки 6 на начальном участке (обозначенном на фиг.1 буквой 1) выступает вверх над верхней поверхностью 9 головки 5 максимум на величину а. Помимо этого толщина b уплотняющей кромки непрерывно уменьшается от места 10 примыкания ее верхней поверхности к верхней поверхности головки вплоть до свободно выступающего конца уплотняющей кромки, который при этом выполнен скругленным.
Основание 2, начиная от той части его нижнего конца, в которой к нему примыкает крепежное ребро 3, имеет непрерывно увеличивающуюся в направлении головки 5 толщину d, которая достигает максимальной величины dmax у верхнего конца основания 2.
В показанных на фиг.1 и 2 вариантах толщина D головки 5 (если смотреть в направлении протяженности основания 2, т.е. вверх на фиг.1) составляет примерно половину от протяженности L верхней поверхности 9 головки 5 между ее задней поверхностью 8 и местом 10 примыкания верхней поверхности 11 уплотняющей кромки 6 к верхней поверхности 9 головки 5.
Как показано непосредственно на фиг.1 и 2, на нижней поверхности опорного ребра 7, равно как и на обращенной к ней боковой поверхности основания 2 и верхней поверхности крепежного ребра 3, предусмотрено покрытие 12, которое сплошным слоем покрывает все три указанные поверхности. В отличие от остального материала уплотнителя покрытие 12 изготовлено из более твердого материала, предпочтительно из вспененного термопластичного материала, который целесообразно использовать и для изготовления остальной части уплотнителя 1. При этом степень вспенивания материала покрытия 12 меньше степени вспенивания остального материала, из которого изготовлен уплотнитель 1.
Нижняя поверхность опорного ребра 7 и обращенная к ней боковая поверхность основания 2 образуют между собой угол , предпочтительно острый угол, который, однако, лишь ненамного меньше 90° (прежде всего в показанном на фиг.1 и 2 смонтированном состоянии уплотнителя). При монтаже уплотнителя 1 этот угол несколько увеличивается, в результате чего опорное ребро 7 упруго прижимается к поверхности, ограничивающей сверху с соответствующей стороны крепежный паз под основание 2, и при этом эффективно перекрывает и герметично закрывает снаружи этот крепежный паз, в котором размещаются основание 2 с крепежным ребром 3 (см. фиг.3а-3д).
Головка 5 выполнена за одно целое со своими уплотняющей кромкой 6 и опорным ребром 7 в виде достаточно массивной, крупной части уплотнителя, как это видно на фиг.1 и 2.
Нижняя поверхность 13 уплотняющей кромки 6 и верхняя поверхность 14 опорного ребра 7 переходят одна в другую, как показано на фиг.1 и 2, в вершине образованной ими выемки 15 по дугообразно изогнутой соединительной поверхности 16, образуя в результате в целом V-образное углубление со скругленным дном. Образованные нижней поверхностью 13 уплотняющей кромки и верхней поверхностью 14 опорного ребра боковые поверхности этой выемки 15 сходятся под острым углом (см. фиг.2). Боковые поверхности выемки предпочтительно выполнять плоскими, однако их можно также выполнять изогнутой формы.
В принципе выемку 15 можно выполнять не со скругленным в виде дугообразно изогнутой поверхности 16 дном, как это показано на фиг.1 и 2, а с клиновидным дном (этот вариант не показан), образуемым сходящимися под острым углом поверхностями 13 и 14 (в этом случае, однако, образуемый между ними угол необходимо выбирать достаточно большим с тем, чтобы линия их пересечения, которая при этом будет образовывать дно выемки 15, располагалась не слишком высоко).
Уплотнители в показанных на фиг.1 и 2 вариантах их выполнения различаются между собой в основном лишь формой крепежного ребра 3, которое в показанном на фиг.2 варианте образовано сходящимися почти до вершины его свободно выступающего конца поверхностями, а в показанном на фиг.1 варианте образовано практически не сходящимися поверхностями и в соответствии с этим имеет лишь незначительно уменьшающуюся по длине его выступающей части ширину.
На фиг.3а-3д показанный на фиг.1 уплотнитель (схематично) изображен в смонтированном состоянии на различных стадиях его взаимодействия с уплотняемой поверхностью или соприкосновения с ней.
На фиг.3а показана начальная стадия взаимодействия уплотнителя с уплотняемой поверхностью, т.е. момент, в который изогнутая верхняя поверхность уплотняющей кромки 6 при закрывании двери, окна или иной аналогичной конструкции входит в начальный контакт с уплотняемой противолежащей поверхностью 22 коробки 23 окна вдоль контактной поверхности 25.
На фиг.3б, 3в и 3г последовательно показаны состояния, в которых перекрываемый уплотнителем уплотняемый зазор Sp постепенно (согласно этой последовательности) сужается, а на фиг.3д уплотнитель показан в конечном состоянии при полностью закрытой двери, соответственно при полностью закрытом окне.
На всех указанных выше чертежах основание 2 уплотнителя 1 и его крепежное ребро 3 показаны во вставленном в посадочный паз 20 створки 21 деревянного окна, двери или иной аналогичной конструкции положении. В этом положении крепежное ребро 3 упруго изогнуто вверх и упруго прижимается к обращенной к нему боковой поверхности посадочного паза 20 с обеспечением за счет этого прочной посадки в нем уплотнителя.
С обращенной к уплотняемой противолежащей поверхности 22 (т.е. к наружной поверхности) коробки 23 стороны на створке выполнена опорная поверхность 24, которая наклонно спускается от верхнего окончания посадочного паза 20 в направлении уплотняемой противолежащей поверхности 22 и которая оканчивается, несколько не доходя до места, в котором прилегающая к ней нижняя поверхность опорного ребра 7 примыкает к обращенной к ней боковой поверхности основания 2. При этом, как описано выше, угол раствора между нижней поверхностью опорного ребра 7 и обращенной к нему боковой поверхностью основания 2 в несмонтированном состоянии уплотнителя несколько меньше, чем в его смонтированном состоянии, и поэтому в показанном на фиг.3а-3д смонтированном положении уплотнителя 1 его опорное ребро 7 упруго прижимается к наклонной опорной поверхности 24 створки 21. Опорное ребро 7 постоянно остается в этом положении и на протяжении всего процесса создания уплотняющего эффекта, как это показано на фиг.3а-3д.
При дальнейшем, начиная с показанного на фиг.3а положения, закрывании створки 21 по мере постепенного ее приближения к коробке 23 не только сокращается ширина уплотняемого зазора Sp между ними, но и дополнительно имеет место относительное перемещение между створкой и коробкой в продольном направлении зазора Sp, а именно, с учетом приведенных на фиг.3а-3д изображений, створка 21 перемещается относительно неподвижной коробки 23 в показанном стрелкой F направлении. При таком относительном перемещении контактная поверхность 25 уплотняющей кромки 6 как бы смещается вниз вместе с наружной поверхностью 22 коробки 23 относительно створки 21, как это однозначно следует из рассмотрения последовательности отдельных стадий взаимодействия уплотнителя с уплотняемой поверхностью, проиллюстрированных на фиг.3а-3д. При таком смещении контактной поверхности 25 вниз, которое всегда рассматривается как происходящее относительно створки 21, уплотняющая кромка 6 изгибается вниз и одновременно в направлении створки 21. При этом происходит «свертывание» изогнутой уплотняющей кромки 6 в направлении опорного ребра 7 внутрь выемки 15, а свободно выступающий конец уплотняющей кромки 6 непрерывно приближается к опорному ребру 7 вплоть (или почти) до упора в него по достижении конечного положения (фиг.3д) при полностью закрытой створке. В этом положении выемка 15 оказывается практически полностью сомкнута, поскольку ее объем почти полностью оказывается заполнен свернутой уплотняющей кромкой 6. Однако по мере такого сворачивания уплотняющей кромки 6 постепенно исчезает и ее выпуклость над верхней поверхностью 9 головки 5 уплотнителя, что также наглядно показано на фиг.3а-3д. В соответствии с этим в конечном положении створки (фиг.3д) уплотняющая кромка 6 больше не выступает над верхней поверхностью 9 головки 5, и поэтому уплотнитель приобретает с его наружной стороны приятный внешний вид, поскольку он более не имеет выступающей над торцовой поверхностью створки (верхней поверхностью 9) выпуклой части и тем самым не имеет неэстетичных изломов.
Достаточно массивное выполнение головки 5 в сочетании с высокой стабильностью основания 2, которое благодаря его концевой толщине у верхнего окончания посадочного паза 20 практически полностью перекрывает его по всей его ширине, обеспечивает не только исключительно устойчивую посадку уплотнителя 1 в посадочной канавке 20, но и возможность упругого деформирования только уплотняющей кромки 6 при создании уплотняющего эффекта (в том числе и от момента начала создания уплотняющего эффекта вплоть до достижения уплотнителем конечного положения), тогда как вся остальная часть головки 5, включая опорное ребро 7, представляет собой единый массивный блок и не деформируется. Благодаря подобному массивному выполнению головки уплотнителя 1 обеспечивается также исключительно эффективная звукоизоляция.
Формула изобретения
1. Эластичный перекрывающий уплотняемый зазор уплотнитель (1) для окон, дверей или иных аналогичных конструкций, имеющий основание (2), которое служит для закрепления уплотнителя в посадочном пазу (20) окна, двери или иной аналогичной конструкции и которое на одном его, нижнем, конце имеет крепежное ребро (3), а к другому его, верхнему, концу примыкает выступающая с той же стороны, что и крепежное ребро, головка (5), верхняя поверхность (9) которой проходит примерно перпендикулярно обращенной от крепежного ребра (3) задней поверхности (4) основания (2), при этом основание (2) имеет непрерывно увеличивающуюся от его нижнего конца к его верхнему концу толщину (d), измеряемую в перпендикулярном задней поверхности (4) основания (2) направлении, а головка (5) на своем свободно выступающем с той же стороны, что и крепежное ребро (3), конце имеет дугообразно изогнутую в поперечном сечении вниз, отходящую от него уплотняющую кромку (6), изогнутая верхняя поверхность (11) которой на начальном участке (1) ее протяженности, если смотреть в направлении от места (10) ее примыкания к головке (5), выступает (а) над верхней поверхностью (9) головки (5), а также имеет расположенное ниже уплотняющей кромки наклонно выступающее вниз от головки (5) опорное ребро (7), которое при смонтированном уплотнителе (1) перекрывает посадочный паз (20) и нижняя поверхность которого сходится с обращенной к ней поверхностью основания (2) на ее верхнем конце, а его верхняя поверхность (14) вместе с нижней поверхностью (13) уплотняющей кромки (6) образуют выемку (15), которая в несмонтированном состоянии уплотнителя имеет в основном V-образную, если смотреть в его поперечном сечении, форму, и вместе с уплотняющей кромкой (6) и опорным ребром (7) выполнена в виде цельной массивной части, толщина (D) которой выше основания (2) в направлении его протяженности составляет по меньшей мере примерно половину от протяженности (L) головки (5), измеряемой перпендикулярно направлению протяженности основания (2) со стороны верхней поверхности (9) головки (5) между ее расположенной выше задней поверхности (4) основания (2) задней поверхностью (8) и местом (10) примыкания уплотняющей кромки (6).
2. Эластичный уплотнитель по п.1, у которого дно V-образной выемки (15), соединяющее между собой ее боковые поверхности (13, 14), образовано дугообразно изогнутой поверхностью (16).
3. Эластичный уплотнитель по п.1 или 2, у которого боковые поверхности (13, 14) V-образной выемки (15) в несмонтированном состоянии уплотнителя (1) имеют, если смотреть в его поперечном сечении, в основном прямолинейную форму и образуют между собой острый угол ( ).
4. Эластичный уплотнитель по п.1, у которого максимальная толщина (dmax) основания (2), измеряемая в месте примыкания к нему головки (5), примерно равна толщине (D) головки (5) в зоне над основанием (2).
5. Эластичный уплотнитель по п.1, у которого толщина (b) уплотняющей кромки (6), измеряемая параллельно задней поверхности (8) головки (5), постепенно увеличивается от ее свободного выступающего конца в сторону места (10) примыкания к ней головки (5).
6. Эластичный уплотнитель по п.1, у которого угол ( ) между нижней поверхностью опорного ребра (7) и обращенной к нему боковой поверхностью основания (2) составляет 90° или менее.
7. Эластичный уплотнитель по п.1, отличающийся тем, что его эластичный материал представляет собой вспененный материал.
8. Эластичный уплотнитель по п.1, у которого верхняя поверхность крепежного ребра (3) основания (2), его обращенная к крепежному ребру (3) поверхность и нижняя поверхность опорного ребра (7) снабжены сплошным слоем покрытия (12) из более твердого материала по сравнению с остальным материалом уплотнителя (1).
РИСУНКИ
|
|