|
|
(21), (22) Заявка: 2006109667/03, 27.03.2006
(24) Дата начала отсчета срока действия патента:
27.03.2006
(46) Опубликовано: 27.10.2007
(56) Список документов, цитированных в отчете о поиске:
RU 37125 U1, 10.04.2004. SU 717252 A1, 25.02.1980. RU 2264316 C1, 20.11.2005. БЕЛЕНЯ Е.И. Металлические конструкции. Специальный курс. – М.: Стройиздат, 1982, рис.27.4. МЕЛЬНИКОВ Н.П. Металлические конструкции. Справочник проектировщика. – М.: Стройиздат, 1980, с.44-45. US 4843777 A, 04.07.1989.
Адрес для переписки:
614990, г.Пермь, ул. Букирева, 15, ПГУ, пат. пов. А.А. Онорину
|
(72) Автор(ы):
Прохоров Алексей Григорьевич (RU)
(73) Патентообладатель(и):
Государственное образовательное учреждение высшего профессионального образования “Пермский государственный университет” (RU)
|
(54) СБОРНАЯ БАЛКА
(57) Реферат:
Изобретение относится к области строительства, в частности к сборным балкам. Техническим результатом изобретения является обеспечение устойчивости к скручиванию. Сборная балка включает центральный несущий элемент и боковые стабилизирующие продольные элементы, расположенные в верхней части балки. Продольные элементы представляют собой две пары плавно изогнутых упругих лент. Центральный несущий элемент выполнен из двух симметричных частей, скрепленных посредством периодических поперечных элементов жесткости. Каждый элемент жесткости является сборным и состоит из трех трубчатых деталей. Две детали выполнены с криволинейными и прямолинейными частями и расположены зеркально-симметрично. Третья – соединительная деталь размещена между частями несущего элемента. Криволинейные части зеркально-симметричных деталей расположены снаружи балки и охватывают боковые стабилизирующие продольные элементы, а их прямолинейные части размещены внутри соединительной детали. Соединительная деталь имеет внутренний диаметр, равный наружному диаметру зеркально-симметричных деталей. 1 ил.
Согласно известному определению балка – это сплошная или трубчатая деталь конструкции, работающая преимущественно на изгиб. В любом курсе «Сопротивления материалов» можно прочитать, что оптимальным профилем балки является симметричный двутавр, однако практика мостостроения идет совсем другим путем. Как правило, цельнолитая бетонная балка имеет в сечении форму литеры «Т» со скругленными углами, а металлическая балка новейших мостов представляет собой короб из листового материала с профилем в виде перевернутой трапеции. Указанный магистральный путь «эволюции» можно проследить по серии изобретений, последнее в ряду которых защищено а.с. СССР №1.488.503 (МПК E21D 11/14, бюлл. 23/89 г.) Причина кажущегося противоречия – ложное предположение о чисто изгибном характере деформации балки. Это предположение справедливо только для короткой балки, длина которой превосходит высоту примерно в 7-10 раз. У современных мостовых балок соотношение размеров достигает 20-25, поэтому одновременно с «чистым» изгибом заметно проявляется общее («пролетное») растяжение конструкции. Проще говоря, балка довольно заметно «провисает» и тем самым приближается к тросу (канату). Условной границей между «жесткой» и «мягкой» моделями деформаций можно считать соотношение размеров примерно 50:1. Таким образом, чисто теоретически балку можно увеличить еще на 10-15 относительных единиц, но при использовании традиционных строительных материалов реализация подобной «сверхдлинной» балки вряд ли возможна.
АНАЛОГ. В патенте РФ № 2.228.990 (МПК 7E01D 2/00, Е04В 1/18, Е04С 3/07, бюлл. 14/04) предложена балка в виде трубы каплевидного профиля, выполненной из цельного по длине пролета упругого листа (фактически ленты). Исходный рулонный материал сначала разматывается, а затем складывается в поперечном направлении. Требуемая форма поддерживается за счет упругих свойств материала, а также за счет периодически установленных внутри трубы поперечных элементов – стяжек, распорок или каркасов. Наиболее существенное отличие – принцип цельности основного несущего элемента (упругой ленты). На сегодняшний день все мостовые балки пока еще являются «стыкованными», сборными в продольном направлении, что заметно ограничивает их по фундаментальному параметру (отношение длины к высоте, см. ранее). Цельными по длине являются тросы (канаты), однако они в качестве несущих элементов подвесного моста не обладают собственной жесткостью и вся конструкция в целом склонна к колебаниям. Предлагаемый в патенте № 2.228.990 ленточный несущий элемент выгодно соединяет положительные свойства традиционной «жесткой» балки и «мягкого» натяжного троса (каната).
Серьезная проблема трубчатой конструкции – монтаж поперечных элементов внутри несущей трубы. К сожалению, без дополнительных довольно сложных каркасных элементов жесткость трубы оказывается недостаточной. Фактически здесь мы имеем сочетание балки с «фермой» – системой стержней. Кроме того, труба плохо противостоит скручиванию и устойчивая мостовая конструкция возможна только при использовании нескольких параллельных труб.
ПРОТОТИП. В патенте РФ на полезную модель № 37.125 (МПК 7 Е04С 3/04, 3/10, бюлл. 10/04) предложен еще один вид сборной балки, выполненной из исходного рулонного материала. Как и у классического двутавра, здесь несущим является узкое вертикальное ребро (пакет цельных по длине пролета лент). Однако никаких утолщений-«приливов» на нижних краях лент не предусмотрено, поскольку высоколегированная сталь имеет максимально возможный модуль упругости и усилить что-либо уже невозможно. Интересно отметить, что даже у классического двутавра из «мягкой» стали нижние полки играют весьма незначительную роль – их ширину можно сократить примерно на две трети без снижения жесткости балки. Главным же условием устойчивости длинной балки является наличие в ее верхней части одной или нескольких трубчатых полостей, что достигается за счет использования четырех упругих, плавно изогнутых «вовнутрь» лент. Ленты соединены попарно между собой, а также с вертикальным ребром. Жесткие свойства достигаются за счет образующихся боковых ребер. Важное преимущество «тетрафлекса», т.е. сборной балки с четырьмя изогнутыми лентами,- возможность усиления несущего ребра за счет числа слоев.
Недостаток прототипа сходен с недостатком аналога, а именно – слабая устойчивость к скручиванию. Первоначально балка предназначалась только для симметричной нагрузки (подвесная транспортная система), однако это условие чрезвычайно сужает область возможных применений. С другой стороны, «бинарная» симметричность сборной балки предполагает возможность ее разделения на две половины, каждая из которых обладает гарантированной «локальной» устойчивостью в пределах 2-3 вертикальных размеров. Следовательно, при введении дополнительных периодических элементов жесткости балка получает свойства короба, но при этом содержит гораздо меньше материала.
Сущность изобретения
Задачей настоящего изобретения является разработка сборной балки широкого назначения, обладающей устойчивостью к скручиванию.
Поставленная задача решается с помощью признаков, указанных в формуле изобретения, общих с прототипом, таких как сборная балка, включающая центральный несущий элемент, а также боковые стабилизирующие продольные элементы, расположенные в верхней части балки и представляющие собой две пары плавно изогнутых упругих лент, и отличительных существенных признаков, таких как центральный несущий элемент выполнен из двух симметричных частей, скрепленных посредством периодических поперечных элементов жесткости, причем каждый элемент жесткости является сборным и состоит из трех трубчатых деталей, две из которых выполнены с криволинейными и прямолинейными частями и расположены зеркально-симметрично, а третья – соединительная деталь размещена между частями несущего элемента, при этом криволинейные части зеркально-симметричных деталей расположены снаружи балки и охватывают боковые стабилизирующие продольные элементы, а их прямолинейные части размещены внутри соединительной детали, имеющей внутренний диаметр, равный наружному диаметру зеркально-симметричных деталей.
Технический результат от вышеперечисленной совокупности признаков – балка, собираемая из рулонного материала прямо на месте монтажа, но при этом обладающая свойствами цельной конструкционной детали, легкая специализированная балка для пешеходного моста.
Краткое описание чертежей
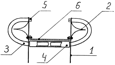
Изобретение иллюстрируется чертежом, отражающим существенные признаки предлагаемого технического решения. На чертеже показан разрез специализированной балки для пешеходного моста. Позициями обозначены: 1 – несущее ребро, 2 – продольные стабилизирующие элементы в виде двух пар изогнутых упругих лент, 3 – трубчатые поперечные детали; 4 – соединительная труба, 5 – крепежные элементы (болты), 6 – настил моста.
Осуществление изобретения
Наличие предварительно напряженных боковых стабилизирующих элементов 2 обеспечивает каждой половине балки устойчивость независимо от другой половины. При раздельном нагружении одной из половин верхний край ребра 1 не сминается, а лишь отклоняется в сторону другого параллельного ребра. Поперечные элементы 3 необходимы только для того, чтобы предотвратить указанное «кручение» ребер под нагрузкой.
Наилучший вариант конструкции пешеходного моста – расположение настила 6 прямо внутри балки, однако для свободного прохода людей необходим некоторый запас по высоте (до 2,5 м). Понятно, что изображенная на чертеже конструкция требует доработки. Простейший способ расширения «жизненного пространства» – выполнение верхней части рамы 3 в виде арки, однако это приведет к заметному утяжелению всей конструкции. Более рациональное решение – «охватывающая» форма поперечных элементов, позволяющая снизить расход металла примерно вдвое, что и составляет суть настоящего изобретения. Поперечные элементы состоят из трех деталей, две из которых выполнены с прямолинейными и криволинейными частями и расположены зеркально-симметрично, а третья соединительная деталь размещена между частями несущего элемента, при этом криволинейные части зеркально-симметричных деталей расположены снаружи балки и охватывают боковые стабилизирующие продольные элементы, а их прямолинейные части размещены внутри соединительной детали, имеющей внутренний диаметр, равный наружному диаметру зеркально-симметричных деталей.
Детали 3 проходят сквозь отверстия в несущих ребрах 1 и закреплены внутри соединительной трубы 4, расположенной под настилом 6.
Чтобы избежать накопления загрязнений и атмосферных осадков, настил 8 необходимо выполнить из металлосетки или подобного материала, как это делается на промышленных предприятиях.
Формула изобретения
Сборная балка, включающая центральный несущий элемент, а также боковые стабилизирующие продольные элементы, расположенные в верхней части балки и представляющие собой две пары плавно изогнутых упругих лент, отличающаяся тем, что центральный несущий элемент выполнен из двух симметричных частей, скрепленных посредством периодических поперечных элементов жесткости, причем каждый элемент жесткости является сборным и состоит из трех трубчатых деталей, две из которых выполнены с криволинейными и прямолинейными частями и расположены зеркально-симметрично, а третья – соединительная – деталь размещена между частями несущего элемента, при этом криволинейные части зеркально-симметричных деталей расположены снаружи балки и охватывают боковые стабилизирующие продольные элементы, а их прямолинейные части размещены внутри соединительной детали, имеющей внутренний диаметр, равный наружному диаметру зеркально-симметричных деталей.
РИСУНКИ
MM4A – Досрочное прекращение действия патента СССР или патента Российской Федерации на изобретение из-за неуплаты в установленный срок пошлины за поддержание патента в силе
Дата прекращения действия патента: 28.03.2008
Извещение опубликовано: 10.11.2009 БИ: 31/2009
|
|