|
(21), (22) Заявка: 2005131761/03, 14.10.2005
(24) Дата начала отсчета срока действия патента:
14.10.2005
(30) Конвенционный приоритет:
01.08.2005 (пп.1-4) UA a200507681
(43) Дата публикации заявки: 20.04.2007
(46) Опубликовано: 27.10.2007
(56) Список документов, цитированных в отчете о поиске:
GB 2174743 А, 12.11.1986. SU 1574722 A1, 30.06.1990. SU 1687744 A1, 30.10.1991. SU 1063703 A, 30.12.1983. SU 610715 A, 17.05.1978. SU 549377 A, 30.05.1977. SU 1555424 A1, 07.04.1990. RU 2139973 C1, 20.10.1999.
Адрес для переписки:
99011, г. Севастополь, ул. Дроздова, 3, кв.35, М.З. Гржебину
|
(72) Автор(ы):
Гржебин Юрий Михайлович (RU), Гржебин Константин Михайлович (UA)
(73) Патентообладатель(и):
Гржебин Юрий Михайлович (RU), Гржебин Константин Михайлович (UA)
|
(54) КОМПЛЕКС ДЛЯ МОНТАЖА МОРСКОЙ ЛЕДОСТОЙКОЙ ПЕРЕСТАВНОЙ ПЛАТФОРМЫ И СПОСОБ ЕЕ ТРАНСПОРТИРОВКИ И МОНТАЖА ПОСРЕДСТВОМ КОМПЛЕКСА ДЛЯ МОНТАЖА
(57) Реферат:
Изобретение относится к средствам для освоения континентального шельфа. Комплекс содержит два плавучих средства, расположенный между ними понтон-транспортировщик платформы, свайное опорное основание, перегрузочные сваи, имеющие подвижные в вертикальном направлении части и фиксаторы-упоры. Понтон-транспортировщик снабжен буксиром и выполнен с местом для размещения буксира для уменьшения осадки буксира до величины, требуемой на мелководье. При монтаже морской ледостойкой переставной платформы с корпусом предварительно устанавливают на базе перегрузочные сваи, имеющие подвижные в вертикальном направлении части и фиксаторы-упоры. Понтон-транспортировщик с установленной на нем платформой заводят в пространство между перегрузочными сваями и располагают между последними. Подвижные части перегрузочных свай прикрепляют к днищу платформы. Путем откачки балласта понтона-транспортировщика приподнимают платформу над поверхностью воды и закрепляют подвижные части перегрузочных свай на перегрузочных сваях посредством фиксаторов-упоров, после чего погружают понтон-транспортировщик путем приема балласта. Затем путем откачки балласта понтона-транспортировщика поднимают платформу на необходимую для дальнейшей пересадки на плавучие средства высоту. Понтон-транспортировщик отводят от платформы, а плавучие средства подводят к платформе и путем приема и откачки балласта производят ее пересадку с перегрузочных свай на плавучие средства. Платформу закрепляют на плавучих средствах и производят транспортировку платформы на точку бурения, после чего пересаживают последнюю на предварительно установленное свайное опорное основание. Технический результат – повышение технологичности и надежности, уменьшение трудоемкости способа, а также расширение эксплуатационных возможностей комплекса путем обеспечения его работы в ледовых условиях и на мелководье. 2 н. и 2 з.п. ф-лы, 9 ил.
Изобретение относится к области гидротехнических сооружений, а более конкретно к средствам для освоения континентального шельфа.
Известен комплекс для монтажа морской переставной платформы и способ транспортировки и монтажа посредством комплекса для монтажа морской переставной платформы (см. патент РФ №2139973, МПК7 Е02В 17/00, 1999 г.).
Недостатком указанных известных комплекса и способа транспортировки и монтажа является сложность комплекса вследствие наличия специальных подъемников и ограниченных мореходных характеристик плавучего дока, эксплуатация вышеуказанного оборудования требует высокой квалификации при обслуживании и обладает малым коэффициентом полезного действия из-за простоя весьма дорогостоящего оборудования при невозможности его постоянной эксплуатации.
Известны также комплекс для монтажа морской переставной платформы с корпусом, содержащий два плавучих средства, расположенный между ними понтон-транспортировщик упомянутой платформы и опорное основание, преимущественно свайное (см. заявку Великобритании №2174743 МПК7 Е02В 17/00, 1985. – прототип комплекса и способа).
Недостатком указанных известных комплекса и способа транспортировки и монтажа по прототипу является их сложность вследствие наличия дорогостоящего кранового оборудования и необходимости вывешивания модуля платформы с их помощью, а также невозможность их использования на мелководье.
Техническим результатом заявляемого комплекса и способа является повышение технологичности и надежности, уменьшение трудоемкости способа, а также расширение эксплуатационных возможностей путем обеспечения работы в ледовых условиях и на мелководье. При этом существенно уменьшается стоимость комплекса за счет применения имеющихся в эксплуатации плавучих средств с коэффициентом полезного действия до 100%. Это дает возможность немедленно начать бурение после отсоединения транспортировочных плавучих средств, ледовая обстановка не препятствует эксплуатации, так как обеспечивается надежное противостояние ледовым нагрузкам при глубинах от 1,0 м до 4,0 м.
Это достигается в заявляемом комплексе для монтажа морской ледостойкой переставной платформы с корпусом, содержащем два плавучих средства, расположенный между ними понтон-транспортировщик упомянутой платформы и свайное опорное основание, тем, что комплекс снабжен перегрузочными сваями, имеющими подвижные в вертикальном направлении части и фиксаторы-упоры, а понтон-транспортировщик снабжен буксиром и выполнен с местом для размещения упомянутого буксира для уменьшения осадки буксира до величины, требуемой на мелководье.
Кроме того, указанный технический результат достигается также тем, что упомянутыми плавучими средствами являются морские железнодорожные паромы.
Указанный технический результат достигается также в способе транспортировки и монтажа посредством комплекса для монтажа морской ледостойкой переставной платформы с корпусом, включающем использование двух плавучих средств, располагаемого между ними понтона-транспортировщика и свайного опорного основания, тем, что предварительно устанавливают на базе перегрузочные сваи, имеющие подвижные в вертикальном направлении части, и фиксаторы-упоры, после чего понтон-транспортировщик с установленной на нем упомянутой платформой заводят в пространство между перегрузочными сваями и располагают между последними, затем подвижные части перегрузочных свай прикрепляют к днищу платформы. Путем откачки балласта понтона-транспортировщика приподнимают платформу над поверхностью воды и закрепляют подвижные части перегрузочных свай на перегрузочных сваях посредством фиксаторов-упоров, после чего погружают понтон-транспортировщик путем приема балласта, а затем путем откачки балласта понтона-транспортировщика поднимают платформу на необходимую для дальнейшей пересадки на упомянутые плавучие средства высоту, после чего понтон-транспортировщик отводят от платформы, а упомянутые плавучие средства подводят к платформе и путем приема и откачки балласта производят ее пересадку с перегрузочных свай на упомянутые плавучие средства, затем платформу закрепляют на упомянутых плавучих средствах и производят транспортировку платформы на точку бурения, после чего пересаживают последнюю на предварительно установленное свайное опорное основание.
Указанный технический результат достигается также тем, что для установки платформы на мелководье понтон-транспортировщик подводят под упомянутую платформу и размещают между упомянутыми плавучими средствами.
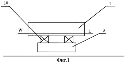
На фиг.1 изображено поперечное сечение платформы в момент установки на понтон-транспортировщик;
на фиг.2 – транспортировка платформы с помощью понтона-транспортировщика;
на фиг.3 – установка платформы на перегрузочные сваи;
на фиг.4 – конструкция фиксатора-упора;
на фиг.5 и фиг.6 – этапы установки платформы на перегрузочных сваях;
на фиг.7 – перегрузка платформы на плавучие средства (паромы);
на фиг.8 – транспортировка платформы на точку бурения;
на фиг.9 – платформа в момент установки на свайное опорное основание на мелководье.
Заявляемый комплекс для транспортировки и монтажа морской ледостойкой переставной платформы 1, выполненной в виде блок-модуля с необходимым для функционирования оборудованием, содержит два плавучих средства 2 с балластными цистернами и системами (не показаны) и понтон-транспортировщик 3 для установки платформы 1 на точку бурения на мелководье.
В качестве плавучих средств 2 для транспортировки платформы 1 используют эксплуатирующиеся на местной водной акватории железнодорожные морские паромы.
Понтон-транспортировщик 3 представляет собой понтон с балластными цистернами и системой (не показано), корпус которого имеет упрощенные обводы (не показаны) с толщиной обшивки 8-10 мм и устройством для швартовки (не показано).
Комплекс имеет свайное опорное основание 4, предварительно установленное на точке бурения, и дополнительно снабжен неподвижными перегрузочными сваями 5 в виде труб, имеющими подвижные в вертикальном направлении части 6 в виде труб меньшего диаметра, чем сваи 5, и расположенные в последних.
Между перегрузочными сваями 5 и их подвижными частями 6 установлены фиксаторы-упоры 7, которые могут быть выполнены в виде, например, широко известных фиксаторов-упоров, применяемых для фиксации опорных колонн самоподъемных плавучих буровых установок. В настоящем описании приведен упрощенный вариант фиксатора-упора 7 (фиг.4).
Понтон-транспортировщик 3 оборудован местом 8 для размещения буксира 9 для перемещения при установке на точку бурения и транспортировки. Понтон-транспортировщик 3 и паромы 2 снабжены опорными клетками 10.
Для временного соединения между собой плавучих средств 2 и понтона-транспортировщика 3 предусмотрены швартовые устройства (не показаны).
Заявляемый способ транспортировки и монтажа посредством комплекса для монтажа морской ледостойкой переставной платформы 1 осуществляется следующим образом.
После изготовления платформы 1 и соответствующего платформе 1 по размерам и водоизмещению понтона-транспортировщика 3 последний затапливают путем приема балласта в балластные цистерны (не показаны). Платформу 1 устанавливают на понтон-транспортировщик 3 одновременно с буксиром 9 и комплекс транспортируют на базу, на которой предварительно устанавливают перегрузочные сваи 5, имеющие подвижные части 6. Перегрузочные сваи 5 оборудованы также фиксаторами-упорами 7. После чего понтон-транспортировщик 3 с установленной на нем платформой 1 заводят в пространство между перегрузочными сваями 5 и располагают между последними. Затем подвижные части 6 свай 5 закрепляют к днищу платформы 1 и путем откачки балласта понтона-транспортировщика 4 приподнимают платформу 1 над поверхностью воды и фиксируют подвижные части 6 в сваях 5 посредством фиксаторов-упоров 7. После этого погружают понтон-транспортировщик 3 путем приема балласта, устанавливают (или наращивают) на него опорные клетки 10, а затем путем откачки балласта понтона-транспортировщика 3 поднимают платформу 1 на необходимую для дальнейшей пересадки на паромы 2 высоту (за один или несколько этапов). Затем понтон-транспортировщик 3 отводят от платформы 1, а паромы 2 подводят к ней и путем приема и откачки балласта паромов 2 производят пересадку платформы 1 с подвижных частей 6 перегрузочных свай 5 на паромы 2. После этого платформу 1 закрепляют на паромах 2, например, посредством сварки. Паромы 2 с закрепленной на них платформой 1 представляют собой единый прочностной комплекс – “катамаран”, который обеспечивает безопасную транспортировку на расчетном волнении.
С помощью упомянутого “катамарана” транспортируют платформу 1 на точку бурения на той или иной акватории за достаточно короткий промежуток времени, где ее пересаживают на предварительно установленное свайное опорное основание 4.
В случае необходимости установить платформу 1 на точку бурения на мелководье глубиной 1,0 – 3,0 м используют понтон-транспортировщик 3, который позволяет уменьшить осадку паромов 2 до 1,0 м (при водоизмещении паромов, близком к состоянию порожнем). Для этого понтон-транспортировщик 3 подводят под находящуюся в составе «катамарана» упомянутую платформу 1 и размещают между паромами 2. При этом понтон-транспортировщик 3 можно соединить с паромами 2 с помощью известных тросов и швартовных устройств (не показаны). Понтон-транспортировщик 3 может быть дополнительно использован как грузовая площадка, временный мост, причальная стенка.
Заявляемое изобретение обеспечивает круглогодичную эксплуатацию переставных буровых платформ на глубинах от 1,0 до 4,0 м и значительную экономию вследствие исключения необходимости строительства специальных плавучих средств для транспортировки за счет использования имеющихся в эксплуатации морских железнодорожных паромов.
Предлагаемый комплекс позволяет круглогодично эксплуатировать платформы в морских акваториях, например, Каспийского, Черного и Азовского морей.
Переставную платформу устанавливают на точку бурения полностью готовой к эксплуатации, что позволяет, теоретически, моментально приступить к работе в более короткие сроки, чем при установке самоподъемных и полупогружных платформ.
Предлагаемое изобретение заменяет эксплуатацию дорогостоящих самоподъемных и полупогружных платформ и позволяет осваивать мелководный шельф до минимальных глубин, равных 1,0 м.
Предлагаемое изобретение заменяет эксплуатацию дорогостоящих самоподъемных и полупогружных платформ и позволяет осваивать мелководный шельф до минимальных глубин, равных 1,0 м.
Формула изобретения
1. Комплекс для монтажа морской ледостойкой переставной платформы с корпусом, содержащий два плавучих средства, расположенный между ними понтон-транспортировщик упомянутой платформы и свайное опорное основание, отличающийся тем, что комплекс снабжен перегрузочными сваями, имеющими подвижные в вертикальном направлении части и фиксаторы-упоры, а понтон-транспортировщик снабжен буксиром и выполнен с местом для размещения упомянутого буксира для уменьшения осадки буксира до величины, требуемой на мелководье.
2. Комплекс по п.1, отличающийся тем, что упомянутыми плавучими средствами являются морские железнодорожные паромы.
3. Способ транспортировки и монтажа посредством комплекса для монтажа морской ледостойкой переставной платформы с корпусом, включающий использование двух плавучих средств, располагаемого между ними понтона-транспортировщика и свайного опорного основания, отличающийся тем, что предварительно устанавливают на базе перегрузочные сваи, имеющие подвижные в вертикальном направлении части и фиксаторы-упоры, после чего понтон-транспортировщик с установленной на нем упомянутой платформой заводят в пространство между перегрузочными сваями и располагают между последними, затем подвижные части перегрузочных свай прикрепляют к днищу платформы, путем откачки балласта понтона-транспортировщика приподнимают платформу над поверхностью воды и закрепляют подвижные части перегрузочных свай на перегрузочных сваях посредством фиксаторов-упоров, после чего погружают понтон-транспортировщик путем приема балласта, а затем путем откачки балласта понтона-транспортировщика поднимают платформу на необходимую для дальнейшей пересадки на упомянутые плавучие средства высоту, после чего понтон-транспортировщик отводят от платформы, а упомянутые плавучие средства подводят к платформе и путем приема и откачки балласта производят ее пересадку с перегрузочных свай на упомянутые плавучие средства, затем платформу закрепляют на упомянутых плавучих средствах и производят транспортировку платформы на точку бурения, после чего пересаживают последнюю на предварительно установленное свайное опорное основание.
4. Способ по п.3, отличающийся тем, что для установки платформы на мелководье понтон-транспортировщик подводят под упомянутую платформу и размещают между упомянутыми плавучими средствами.
РИСУНКИ
|