|
|
(21), (22) Заявка: 2006119207/11, 02.06.2006
(24) Дата начала отсчета срока действия патента:
02.06.2006
(46) Опубликовано: 27.10.2007
(56) Список документов, цитированных в отчете о поиске:
RU 2190720 C2, 27.07.2005. RU 2244777 C1, 20.01.2005. UA 65648 C2, 15.04.2004. GB 2116612 A, 28.09.1983. RU 99117868 A, 10.07.2001.
Адрес для переписки:
127994, Москва, ГСП-4, ул. Образцова, 15, МИИТ
|
(72) Автор(ы):
Аксенов Юрий Николаевич (RU), Богачев Андрей Юрьевич (RU), Круглов Валерий Михайлович (RU), Лёвин Борис Алексеевич (RU)
(73) Патентообладатель(и):
Государственное образовательное учреждение высшего профессионального образования “Московский государственный университет путей сообщения” (МИИТ) (RU)
|
(54) АНКЕРНОЕ РЕЛЬСОВОЕ СКРЕПЛЕНИЕ С ИЗОЛИРУЮЩИМ ЭЛЕМЕНТОМ И НАРЕЛЬСОВАЯ ИЗОЛИРУЮЩАЯ ПРОКЛАДКА АНКЕРНОГО РЕЛЬСОВОГО СКРЕПЛЕНИЯ
(57) Реферат:
Изобретения относятся к верхнему строению железнодорожного пути и предназначено для прикрепления рельсов к железобетонным, полимербетонным или композитным подрельсовым основаниям, таким как шпалы, брусья, плиты, блоки, лежни и другие, и могут найти применение на магистральных железнодорожных линиях, в том числе высокоскоростных, в тоннелях, метрополитенах и на подъездных железнодорожных путях промышленных предприятий. Анкерное рельсовое скрепление содержит жестко установленный в подрельсовом основании анкер с направленными вниз хвостовиками и средней частью, объединяющей две выступающие над подрельсовым основанием головки анкера, каждая из которых имеет два разнесенных вдоль рельса кронштейна, амортизирующую подрельсовую прокладку, расположенную между головками анкера на подрельсовой части основания, две пружинные клеммы, надетые на головки анкера и выполненные с возможностью взаимодействия концевыми усами через регулятор напряжения с соответствующими кронштейнами головки анкера, с возможностью опирания нашпальными витками клемм на подклеммную подкладку, расположенную на подрельсовом основании, и с возможностью прижатия рельса прямолинейной нарельсовой частью клемм к подрельсовому основанию через нарельсовую изолирующую прокладку. Каждая нарельсовая изолирующая прокладка выполнена в форме трехполочного элемента с облегающими подошву рельса полками разной длины и верхней вертикальной полкой, препятствующей касанию прямолинейной нарельсовой части клеммы головки анкера. При этом сопряжение нарельсовой полки и верхней вертикальной полки выполнено по радиусу, близкому к радиусу клеммы. Выступ, размещаемый между кронштейнами головки анкера над ее основанием, выполнен на верхней вертикальной полке нарельсовой изолирующей прокладки. Нижняя вертикальная полка, расположенная между боковой гранью подошвы рельса и головкой анкера, выполнена с наклонной торцевой частью. Техническим результатом изобретения является обеспечение надежного прижатия клеммой рельса через нарельсовую изолирующую прокладку при возможных износах и сдвигах нарельсовой изолирующей прокладки в процессе эксплуатации, особенно при действии повышенных боковых нагрузок в кривых участках пути. 2 н. и 5 з.п. ф-лы, 5 ил.
Изобретение относится к верхнему строению железнодорожного пути и предназначено для прикрепления рельсов к железобетонным, полимербетонным или композитным подрельсовым основаниям, таким как шпалы, брусья, плиты, блоки, лежни и другие, и может найти применение на магистральных железнодорожных линиях, в том числе высокоскоростных, в тоннелях, метрополитенах и на подъездных железнодорожных путях промышленных предприятий.
Наиболее близким по технической сущности к заявляемому анкерному рельсовому скреплению является промежуточное рельсовое скрепление с изолирующим элементом (варианты), содержащее анкер с направленными вниз хвостовиками, жестко установленный в железобетонной шпале, каждая головка которого имеет два разнесенных вдоль рельса кронштейна, амортизирующую подрельсовую прокладку, расположенную между головками анкера на подрельсовой части шпалы, две пружинные клеммы, каждая из которых выполнена с возможностью взаимодействия концевыми усами через регулятор напряжения клеммы с соответствующими кронштейнами головки анкера, скругленными частями – с возможностью опирания на подклеммную подкладку, расположенную на шпале, прямолинейной частью – с возможностью прижатия к рельсу через нарельсовую изолирующую прокладку, каждая из которых выполнена в виде уголка, в средней части которого имеется выступ, размещенный между кронштейнами головки анкера, при этом каждая нарельсовая изолирующая прокладка, выполненная в виде уголка, имеет полки шириной, выбранной в зависимости от толщины и жесткости материала амортизирующей прокладки, таким образом, что обеспечивается контакт торцевой части полки уголка со шпалой только в момент максимального сжатия под воздействием наибольших сил от подвижного состава, либо каждая нарельсовая изолирующая прокладка, выполненная в виде уголка, имеет полки толщиной, меньшей расстояния между торцевой частью подошвы рельса и головкой анкера, причем торцевая часть каждой полки уголка выполнена под углом, обеспечивающим контакт одного из ее ребер со шпалой в разгруженном состоянии и поворот уголка при сжатии подрельсовой прокладки при нагрузке от подвижного состава. (RU 2244777, Е01В 9/30, 15.01.2004) (прототип).
Наиболее близкой к заявляемой нарельсовой изолирующей прокладке является изолирующая прокладка рельсового скрепления, расположенная между подошвой рельса и анкером, выполненная в виде уголка, в которой полки выполнены равновеликими с возможностью поворота в случае износа вертикальной полки в горизонтальное положение. (RU 2190720 С2, 10.10.2002) (прототип).
Недостатки приведенных аналогов данной конструкции рельсового скрепления и его элемента нарельсовой изолирующей прокладки состоят в том, что при боковых нагрузках в кривых участках пути малого радиуса, где действуют повышенные боковые нагрузки, происходит постепенное смятие вертикальной полки изолирующей прокладки и подошва рельса смещается к внешней головке анкера, в то время как около граней противоположной головки образуется зазор. Далее возможен случай перекоса и «провала» изолирующей прокладки в углубление в шпале, как правило с внутренней стороны колеи по внутреннему рельсу. При этом полностью прижатая к головке анкера клемма, уже давя больше на вертикальную полку и на выступ в средней части уголка, а не на нарельсовую полку, еще более разворачивает нарельсовую прокладку и «закусывает» ее нарельсовую полку между смещенной подошвой рельса. Если своевременно не устранить данную неисправность путем замены противоположной смятой нарельсовой прокладки, сдвижки рельса и установки нарельсовых прокладок в правильное положение, то возможен излом «закушенной» полки нарельсовой прокладки и высвобождение подошвы рельса из зацепления с клеммой.
Техническим результатом заявляемого изобретения является устранение указанного недостатка, а именно обеспечение надежного прижатия клеммой рельса через нарельсовую изолирующую прокладку при возможных износах и сдвигах нарельсовой изолирующей прокладки в процессе эксплуатации, особенно при действии повышенных боковых нагрузок в кривых участках пути.
Сущность заявляемого изобретения состоит в том, что анкерное рельсовое скрепление с изолирующим элементом содержит жестко установленный в подрельсовом основании анкер с направленными вниз хвостовиками и средней частью, объединяющей две выступающие над подрельсовым основанием головки анкера, каждая из которых имеет два разнесенных вдоль рельса кронштейна, амортизирующую подрельсовую прокладку, расположенную между головками анкера на подрельсовой части основания, две пружинные клеммы, надетые на головки анкера и выполненные с возможностью взаимодействия концевыми усами через регулятор напряжения с соответствующими кронштейнами головки анкера, с возможностью опирания нашпальными витками клемм на подклеммную подкладку, расположенную на подрельсовом основании, и с возможностью прижатия рельса прямолинейной нарельсовой частью клемм к подрельсовому основанию через нарельсовую изолирующую прокладку, выполненную с облегающими подошву рельса полками в виде уголка и выступом в средней части, размещенным между кронштейнами головки анкера, при этом каждая нарельсовая изолирующая прокладка имеет облегающие подошву рельса полки разной длины, а также дополнительную верхнюю вертикальную полку, препятствующую касанию прямолинейной нарельсовой части клеммы головки анкера.
В анкерном рельсовом скреплении нарельсовые изолирующие прокладки имеют различную толщину нижней вертикальной полки, расположенной между боковой гранью подошвы рельса и головкой анкера, в зависимости от регулирования ширины рельсовой колеи.
Нарельсовая изолирующая прокладка анкерного рельсового скрепления с облегающими подошву рельса полками и выступом, размещаемым между кронштейнами головки анкера, выполнена в форме трехполочного элемента с выступом на вертикальной полке, при этом облегающие подошву рельса полки выполнены разной длины, а дополнительная верхняя вертикальная полка препятствует касанию прямолинейной нарельсовой части клеммы головки анкера.
Для увеличения износостойкости и прочности нарельсовая изолирующая прокладка анкерного рельсового скрепления выполнена двухслойной, состоящей из полимерной основы со стороны контакта с подошвой рельса и металлической обечайки со стороны контакта с головкой анкера.
В нарельсовой изолирующей прокладке сопряжение нарельсовой полки и дополнительной верхней полки выполнено по радиусу, для лучшего взаимодействия с клеммой.
Для возможности небольшого поворота при нагружении скрепления нарельсовая изолирующая прокладка выполнена с наклонной нижней торцевой частью вертикальной полки.
Для уменьшения износа и облегчения поворота нарельсовая изолирующая прокладка имеет округление торцевых частей полок.
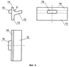
На фиг.1 представлено анкерное рельсовое скрепление, вид с торца рельса; на фиг.2 – то же, вид сверху; на фиг.3 представлена нарельсовая изолирующая прокладка с дополнительной верхней вертикальной полкой; на фиг.4 и 5 представлены варианты двухслойной нарельсовой изолирующей прокладки с металлической обечайкой и дополнительной верхней вертикальной полкой.
Промежуточное рельсовое скрепление содержит анкер 1 с направленными вниз двумя хвостовиками. Анкер 1 жестко установлен (забетонирован) в подрельсовом основании 2 (шпале). Каждая головка 3 анкера 1, выступающая над подрельсовым основанием 2, имеет два разнесенных вдоль рельса 4 кронштейна 5. Между головками 3 анкера 1 на подрельсовой части основания 2 расположена амортизирующая подрельсовая прокладка 6, на которой расположен рельс 4. Каждая прутковая пружинная клемма 7 располагается вокруг каждой головки 3 анкера 1. Регулятор напряжения 8, имеющий эксцентрично расположенную ось, передает необходимое усилие прижатия на усы пружинной клеммы 7 в зависимости от расстояния до соответствующей грани. Скругленные части клеммы 7 опираются на подклеммную подкладку 9, расположенную на подрельсовом основании 2 с внешних сторон скрепления. Прямолинейная нарельсовая часть клеммы 7 прижимает рельс 4 через нарельсовую изолирующую прокладку 10. Нарельсовая изолирующая прокладка 10 выполнена в виде измененного уголка в форме трехполочного элемента с выступом 15 на вертикальной полке, при этом облегающие подошву 11 рельса полки 12 и 13 выполнены разной длины, а верхняя вертикальная полка 14 препятствует касанию прямолинейной нарельсовой части клеммы 7 головки 3 анкера 1. Нарельсовая полка 12 изолирующей прокладки 10 имеет увеличенную длину, чтобы при смещении нарельсовая часть клеммы 7 не соскочила. Нижняя вертикальная полка 13 расположена между боковой гранью подошвы 11 рельса 4 и головкой 3 анкера 1. Выступ 15, расположенный на верхней вертикальной полке 14 нарельсовой изолирующей прокладки 10, размещен между кронштейнами 5 головки 3 анкера, для избежания продольного смещения нарельсовой изолирующей прокладки 10 во время работы скрепления.
Для уменьшения износа нарельсовой изолирующей прокладки 10 и увеличения ее трещиностойкости, в случае изготовления из более прочного, но менее пластичного полимерного материала, она выполняется двухслойной. Со стороны контакта с подошвой 11 рельса 4 нарельсовая изолирующая прокладка 10 имеет полимерную основу 16, а со стороны контакта с головкой анкера – металлическую обечайку 17. Соединение полимерной основы 16 и обечайки 17 осуществляется за счет отверстий в металлической обечайке, которые заполняются полимерной основой в процессе изготовления. Конфигурация обечайки может быть различной, например, как на фиг.4, где обечайка 17 выполнена плоской и облегающей вертикальные полки 13 и 14, либо как на фиг.5, где обечайка 17 выполнена с перегибом нижней вертикальной полки 13 на нарельсовую полку 12, в последнем случае в месте перегиба делаются окна, а вертикальная и нарельсовые части обечайки 17 соединены перемычками, проходящими через полимерную основу.
Для регулирования ширины рельсовой колеи необходимо выполнять нарельсовые изолирующие прокладки с различной толщиной нижней вертикальной полки 13, которая будет заполнять расстояние между боковой гранью подошвы 11 рельса 4 и кронштейнами 5 головки анкера, обеспечивая требуемое смещение рельса.
Для снижения контактного давления от клеммы 7 сопряжение нарельсовой полки 12 и верхней вертикальной полки 14 выполнено по радиусу, близкому к радиусу клеммы 7.
Торцевая часть нижней вертикальной полки 13 может выполняться наклонной для возможности наклона нарельсовой прокладки 10 в сторону рельса 4, а для меньшего износа иметь округление торцевых частей.
Сборка узла скрепления осуществляется следующим образом. На подрельсовую зону подрельсового основания 2 укладывают подрельсовую амортизирующую прокладку 6, далее располагают рельс 4, а между боковой гранью подошвы 11 рельса 4 и головкой 3 анкера 1 вставляют нарельсовые изолирующие прокладки 10 так, чтобы выступ 15 располагался между кронштейнами 5 внутри головки 3 над ее основанием, нижняя вертикальная полка 13 – между боковой гранью подошвы 11 рельса 4 и головкой 3 анкера, а нарельсовая полка 12 – на подошве 11 рельса сверху. Вплотную к основанию каждой головки анкера 1 на подрельсовое основание 2 укладывают подклеммные подкладки 9. Каждую пружинную клемму 7 опускают на соответствующую головку 3 анкера 1 сверху, располагая концевые усы между кронштейнами 5, при этом нашпальные скругленные участки клеммы 7 располагаются на подклеммной подкладке 9, а прямолинейная нарельсовая часть клеммы 7 располагается на нарельсовой полке 12 изолирующей прокладки 10. Верхняя вертикальная полка 14 препятствует касанию прямолинейной нарельсовой части клеммы 7 головок 3 анкера 1. Регулятор напряжения 8 размещают над усами клеммы 7 и заводят его ось в зацепление с кронштейнами 5, а затем путем поворота регулятора напряжения 7 на одну из граней регулируют натяжение клеммы 7.
В процессе работы рельсового скрепления, особенно в кривых участках пути малого радиуса, при постепенном смятии нижней вертикальной полки 13 изолирующей прокладки 10, подошва 11 рельса смещается к внешней головке 3 анкера. Под действием динамических нагрузок и вибрации в образовавшийся зазор с противоположной части скрепления у противоположной головки 3 анкера возможно смещение внутренней по отношению к оси колеи нарельсовой изолирующей прокладки 10 (ее нижней вертикальной полки 13). Однако дополнительная верхняя вертикальная полка 14 не позволяет клемме 7 сместиться ближе к головке 3 анкера и, соответственно, сила прижатия, относительно точки опоры нижней вертикальной полки 13, остается со стороны рельса 4, а поскольку суммарная высота вертикальных полок 13 и 14 увеличена, что препятствует повороту нарельсовой изолирующей прокладки 10, то в целом провал нижней вертикальной полки 13 затрудняется из-за того, что клемма нагружает по прежнему нарельсовую полку 12, а не действует на выступ 15 и не разворачивает нарельсовую изолирующую прокладку 10. Увеличенная длина нарельсовой полки 12 не позволяет соскочить нарельсовому прямолинейному участку клеммы 7 при ее возможном смещении от динамических нагрузок в сторону рельса.
Поэтому в целом скрепление согласно изобретению обеспечивает более надежное прижатие клеммой рельса через нарельсовую изолирующую прокладку, а выполнение нарельсовой изолирующей прокладки двухслойной обеспечивает меньшее смятие и износ полок при боковых нагрузках, особенно в кривых участках пути.
Формула изобретения
1. Анкерное рельсовое скрепление с изолирующим элементом, содержащее жестко установленный в подрельсовом основании анкер с направленными вниз хвостовиками и средней частью, объединяющей две выступающие над подрельсовым основанием головки анкера, каждая из которых имеет два разнесенных вдоль рельса кронштейна, амортизирующую подрельсовую прокладку, расположенную между головками анкера на подрельсовой части основания, две пружинные клеммы, надетые на головки анкера и выполненные с возможностью взаимодействия концевыми усами через регулятор напряжения с соответствующими кронштейнами головки анкера, с возможностью опирания нашпальными витками клемм на подклеммную подкладку, расположенную на подрельсовом основании, и с возможностью прижатия рельса прямолинейной нарельсовой частью клемм к подрельсовому основанию через нарельсовую изолирующую прокладку, выполненную с облегающими подошву рельса полками и выступом, размещенным между кронштейнами головки анкера, отличающееся тем, что каждая нарельсовая изолирующая прокладка имеет облегающие подошву рельса полки разной длины и верхнюю вертикальную полку, препятствующую касанию прямолинейной нарельсовой части клеммы головки анкера, при этом сопряжение нарельсовой полки и верхней вертикальной полки выполнено по радиусу, близкому к радиусу клеммы, выступ, размещаемый между кронштейнами головки анкера над ее основанием, выполнен на верхней вертикальной полке нарельсовой изолирующей прокладки, а нижняя вертикальная полка, расположенная между боковой гранью подошвы рельса и головкой анкера, выполнена с наклонной торцевой частью.
2. Анкерное рельсовое скрепление с изолирующим элементом по п.1, отличающееся тем, что нарельсовые изолирующие прокладки имеют различную толщину нижней вертикальной полки, расположенной между боковой гранью подошвы рельса и головкой анкера, в зависимости от регулирования ширины рельсовой колеи.
3. Нарельсовая изолирующая прокладка анкерного рельсового скрепления с облегающими подошву рельса полками и выступом, размещаемым между кронштейнами головки анкера, отличающаяся тем, что она выполнена в форме трехполочного элемента с облегающими подошву рельса полками, выполненными разной длины, а на верхней вертикальной полке, препятствующей касанию прямолинейной нарельсовой части клеммы головки анкера, выполнен выступ, размещаемый между кронштейнами головки анкера.
4. Нарельсовая изолирующая прокладка анкерного рельсового скрепления по п.3, отличающаяся тем, что она выполнена двухслойной, состоящей из полимерной основы со стороны контакта с подошвой рельса и металлической обечайки со стороны контакта с головкой анкера.
5. Нарельсовая изолирующая прокладка анкерного рельсового скрепления по п.3, отличающаяся тем, что сопряжение нарельсовой полки и верхней вертикальной полки выполнено по радиусу.
6. Нарельсовая изолирующая прокладка анкерного рельсового скрепления по п.3, отличающаяся тем, что она выполнена с наклонной торцевой частью нижней вертикальной полки.
7. Нарельсовая изолирующая прокладка анкерного рельсового скрепления по п.3, отличающаяся тем, что она имеет скругление торцевой части нижней вертикальной полки.
РИСУНКИ
QB4A – Регистрация лицензионного договора на использование изобретения
Лицензиар(ы): Государственное образовательное учреждение высшего профессионального образования “Московский государственный университет путей сообщения” (МИИТ)
Вид лицензии*: НИЛ
Лицензиат(ы): Открытое акционерное общество “АпАТэК-Транс”
Договор № РД0032022 зарегистрирован 31.01.2008
Извещение опубликовано: 10.03.2008 БИ: 07/2008
* ИЛ – исключительная лицензия НИЛ – неисключительная лицензия
QB4A – Регистрация лицензионного договора на использование изобретения
Лицензиар(ы): Государственное образовательное учреждение высшего профессионального образования “Московский государственный университет путей сообщения” (МИИТ)
Вид лицензии*: НИЛ
Лицензиат(ы): Общество с ограниченной ответственностью Научно-производственное предприятие “Прикладные перспективные технологии – АпАТэК” (ООО НПП “АпАТэК”)
Договор № РД0065142 зарегистрирован 01.06.2010
Извещение опубликовано: 10.07.2010 БИ: 19/2010
* ИЛ – исключительная лицензия НИЛ – неисключительная лицензия
|
|