|
|
(21), (22) Заявка: 2005137066/12, 30.11.2005
(24) Дата начала отсчета срока действия патента:
30.11.2005
(46) Опубликовано: 27.10.2007
(56) Список документов, цитированных в отчете о поиске:
SU 1756407 A1, 23.08.1992. SU 825711 A, 05.05.1981. DE 1233756 A, 02.02.1967. US 5085045 A, 04.02.1992.
Адрес для переписки:
153013, г.Иваново, ул. Кавалерийская, 62, кв.45, Е.Я. Пигалёву
|
(72) Автор(ы):
Пигалёв Евгений Яковлевич (RU), Пигалёв Яков Евгеньевич (RU)
(73) Патентообладатель(и):
Пигалёв Евгений Яковлевич (RU), Пигалёв Яков Евгеньевич (RU)
|
(54) СПОСОБ ФОРМИРОВАНИЯ ПРЯЖИ В ПОЛЕ ДВУХЗОННОГО КРУЧЕНИЯ И УСТРОЙСТВО ДЛЯ ЕГО ОСУЩЕСТВЛЕНИЯ
(57) Реферат:
Способ и устройство предназначены для формирования пряжи в поле двухзонного кручения на прядильных, прядильно-крутильных и им подобных машинах и позволяют повысить стабильность процесса формирования пряжи, надежность работы крутильно-мотального устройства и снизить затраты времени на обслуживание. Согласно способу волокнистому продукту сообщают двойную крутку путем вращения его в баллоне веретеном, проводят его по осевому каналу веретена в направлении к вершине баллона с последующим выводом из осевого канала веретена к направителю одиночной пряжи и наматыванием ее на паковку на веретене. На участке между вытяжным прибором и вьюрковым нитепроводником формируют первую зону действительного кручения пряжи и сообщают ей ложную крутку вьюрком с автономным приводом или с приводом непосредственно от веретена через связь с ним, которую одновременно используют для сохранения целостности формируемой пряжи при ее проводке на паковку. Сообщение крутки во второй зоне кручения осуществляют при статическом положении нитераскладчика путем гашения крутящего момента от вращения веретена и подвижной насадки на нем магнитным силовым полем нитеводителя и водителя, для чего нитераскладчик устанавливают на вторичный подшипник на насадке веретена. Натяжение пряжи при наматывании на паковку регулируют сочетанием Эйлеровых сил сопротивления движению нити и сил трения в подшипниках направляющих элементов пряжи, а ее наматывание и формирование паковки осуществляют синхронным движением нитеводителя по отношению к водителю. Нитеводитель и водитель устанавливают с зазором для прохождения баллонирующей пряжи, которым регулируют напряженность магнитного силового поля, образованного магнитами водителя и нитеводителя. Устройство для осуществления способа содержит веретено с радиальными и осевым каналом, подвижную насадку на веретене, связанную с ним магнитной муфтой сцепления, нитераскладчик, имеющий опорную деталь с жестко закрепленной направляющей штангой и подвижно установленным магнитным нитеводителем, связанный со станиной магнитный водитель для перемещения нитеводителя по направляющей штанге путем воздействия на него магнитного силового поля водителя, совершающего возвратно-поступательное движение вдоль направляющей штанги, и вьюрок с вьюрковым нитепроводником и автономным приводом или с приводом непосредственно от веретена через связь с ним, используемую для сохранения целостности формируемой пряжи при ее проводке на паковку. Направляющая штанга выполнена с нитенаправителями, а нитераскладчик установлен на вторичном подшипнике на насадке веретена и имеет статическое положение при сообщении пряже крутки во второй зоне кручения путем гашения крутящего момента от вращения веретена и подвижной насадки на нем магнитным силовым полем нитеводителя и водителя. 2 н. и 2 з.п. ф-лы, 2 ил.
Изобретение относится к текстильной промышленности и может быть использовано на прядильных, прядильно-крутильных и им подобных машинах.
В настоящее время прядильные, прядильно-крутильные машины в текстильной промышленности имеют ряд существенных недостатков, которые заключаются в низкой производительности оборудования, высоком потреблении силовой электроэнергии, пониженном качестве продукции.
Ближайшим аналогом предлагаемому изобретению являются патенты РФ №2023070 от 21.04.92 г. и №2109860 от 17.04.96 г., а также заявка №1756407, кл. D01H 7/86, опубл. 23.08.1992. Способ формирования пряжи в поле двухзонного кручения, согласно которому волокнистому продукту сообщают двойную крутку путем вращения его в баллоне веретеном, проведения его по осевому каналу веретена в направлении к вершине баллона и последующего вывода из осевого канала веретена к направителю одиночной пряжи и наматывании ее на паковку на веретене.
К недостаткам работы данного способа следует отнести то, что в первой зоне формируемая пряжа получает 50% крутки от ее номинального значения, что сопровождается потерей ее прочностных характеристик в этой зоне, а именно по выходе из зажима выпускной пары вытяжного прибора, где продукт имеет еще пониженную интенсивность кручения и сопровождается повышенной обрывностью пряжи.
Известное крутильно-мотальное устройство двойного кручения содержит магнитные кольца, установленные коаксиально одного относительно другого, с зазором для баллонирования нити, внутреннее кольцо снабжают направителем пряжи, кольца неподвижны в окружном направлении, при этом внутреннее магнитное кольцо связывают с рамкой, установленной на веретено, и насадку веретена, последнее выполняют с радиальным и осевым каналами, сообщенными между собой для проводки и наматывания нити, и насадку, которую также устанавливают на веретене с возможностью вращения и связывают с ним посредством магнитной муфты сцепления, обеспечивающей наматывание пряжи за счет удержания рамки в неподвижном состоянии относительно остова машины, натяжение нити при наматывании регулируют посредством смещения магнитов в дисках или самих дисков, при этом магнитные кольца являются однополюсными по высоте, а их сопряженные стороны выполняют по эллипсу и на конус.
К недостаткам в способе работы устройства следует отнести операцию неустойчивого баллонировання нити из-за использования эллиптических колец, которые залипают при возникновения пиковых натяжений, что нарушает свободное прохождение баллонирующей нити, вызывая ее обрыв. Кроме того, учитывая наличие двух зон кручения, следует отметить, что в первой зоне формируемая пряжа получает 50% крутки, это определяет пониженную прочность пряжи, которая в большей степени проявляется в области обтекания мычкой выпускного цилиндра вытяжного прибора, где продукт не подвержен кручению, поэтому процесс формирования пряжи сопровождается повышенной обрывностью.
К недостаткам устройства следует отнести наличие магнитных колец, которые приводят к значительному удорожанию крутильно-мотального устройства, их эллиптическая форма не гарантирует устойчивое положение относительно друг друга и поворот одного из них приводит к их залипанию, что препятствует баллонированию нити, вызывая ее обрыв. Кроме того, использование кольцевых магнитов требует применения вспомогательного устройства – кольцевой рамки, которая осложняет заправку нити и требует дополнительного времени на обслуживание и ликвидацию обрыва, а сложная конструкция рамки вызывает повышенные затраты на ее изготовление.
Задачей предлагаемого изобретения является стабилизация процесса формирования пряжи в поле двухзонного кручения, повышение надежности в работе крутильно-мотального устройства, снижение затрат времени на обслуживание и материальных затрат на изготовление крутильно-мотального устройства.
Поставленная задача в способе формирования пряжи решается тем, что для стабилизации процесса формирования пряжи в поле двухзонного кручения, повышения надежности в работе крутильно-мотального устройства, снижения затрат времени на обслуживание и материальных затрат на изготовление крутильно-мотального устройства, первую зону действительного кручения пряжи образуют на участке “вытяжной прибор – вьюрковый нитепроводник”, на этом же участке пряже сообщают ложную крутку, при этом привод вьюрка производят либо непосредственно от веретена через связь привода вьюрка, которую одновременно используют для сохранения целостности формируемой пряжи при ее проводке на промежуточную паковку, либо автономным приводом, сообщение крутки во второй зоне кручения производят при статическом положении нитераскладчика, что обеспечивают гашением крутящего момента от вращения веретена и подвижной насадки магнитным силовым полем нитеводителя и водителя, для чего нитераскладчик устанавливают на вторичный подшипник на насадке веретена, а водитель – на станине машины, натяжение пряжи при наматывании на промежуточную паковку регулируют сочетанием Эйлеровых сил сопротивления движению нити и сил трения в подшипниках направляющих элементов пряжи, ее наматывание и формирование паковки производят синхронным движением нитеводителя по отношению к водителю, кроме того, нитеводитель и водитель устанавливают с зазором для прохождения баллонирующей пряжи, напряженность магнитного силового поля, образованного магнитами водителя и нитеводителя, регулируют.
Поставленная задача в устройстве, содержащем веретено с радиальными и осевым каналами, подвижную насадку на веретене, связанную с последним муфтой сцепления, решается тем, что для стабилизации процесса формирования пряжи в поле двухзонного кручения, повышения надежности в работе крутильно-мотального устройства, снижения затрат времени на обслуживание и материальных затрат на изготовление крутильно-мотального устройства, на подвижную насадку на веретене устанавливают на подшипнике нитераскладчик, включающий опорную деталь с жестко закрепленной направляющей штангой, на которой устанавливают неподвижно нитенаправитель и подвижно – магнитный нитеводитель, а также содержащем магнитный водитель, связанный со станиной, перемещают нитеводитель для раскладки пряжи по направляющей штанге воздействием на него магнитного силового поля водителя, совершающего возвратно-поступательное движение вдоль направляющей штанги, изменение протяженности зазора для регулирования магнитного силового поля производят смещением водителя относительно нитеводителя.
Наличие единой цели в предлагаемых технических решениях позволяет сделать вывод, что заявленные технические решения связаны “единым изобретательским замыслом.
Сравнение заявленных технических решений с прототипом позволяет установить соответствие их критерию “новизна”. При изучении других технических решений в данной области техники признаки, отличающие заявляемое техническое решение от прототипа не были выявлены и поэтому они обеспечили заявляемому техническому решению соответствие критерию “изобретательский уровень”.
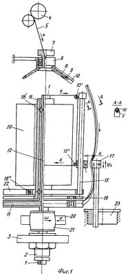
Сущность изобретения поясняется чертежами, где на фиг.1 и фиг.2 дан общий вид зоны формирования пряжи с использованием эффекта двойного кручения, показаны элементы конструкции крутильно-мотального механизма, приведены обозначения: 1 – веретено; 2 – опора качения веретена; 3 – станина (веретенный брус); 4 – вытяжной прибор (выпускная пара вытяжного прибора); 5 – пряжа (нить); 6 – вьюрковый нитепроводник; 7 – воронка; 8 – рычаг привода вьюрка и регулятора натяжения нити; 9 – щелевой канал для проводки нити; 10 – связь привода вьюрка и проводки пряжи; 11, 12 – каналы проводки пряжи, соответственно, радиальный и осевой; 13′, 13” – нитенаправители; 14 – магнитный нитеводитель; 15 – направляющая штанга; 16 – насадка на веретено; 17 – магнитный водитель; 18′ 18” – подшипники качения; 19 – магнитная муфта; 20 – гибкий привод; 21 – блок веретена; 22 – базовая деталь нитераскладчика; 23 – эксцентрик для регулировки зазора между водителем и нитеводителем; 24 – блок привода вьюрка; 25 – гибкий привод вьюрка; 26 – регулятор натяжения пряжи; 27 – канал вывода пряжи. Буквенные обозначения: S, N – полюса магнитов; – зазор между полюсами магнитов; k, , 1, 2, , 1 – стрелки, обозначающие направление движения векторов скоростей.
Крутильно-мотальный механизм работает следующим образом. Веретено 1 устанавливают в опору качения 2, которую крепят на веретенном брусе 3. Для осуществления операций кручения мычки, выходящей из вытяжного прибора 4, и наматывания сформированной пряжи на паковку производят заправку пряжи 5 по стрелке k, для этого ее проводят в подвижный вьюрок 6, а именно в воронку 7, и выводят на рычаг привода вьюрка и регулятора натяжения нити 8, образуя на последнем один или два витка, которые фиксируют на рычаге проводкой нити в щелевой канал 9. Далее пряжу заправляют в радиальный 11 и осевой 12 каналы веретена. Выводят из веретена и заправляют в нитенаправители 13′, 13”, последний жестко связан с магнитным нитеводителем 14, подвижно установленным на направляющей штанге 15, и закрепляют на подвижной насадке 16 для формирования паковки, образуя две зоны кручения: первая – “вытяжной прибор – подвижный вьюрок”; вторая – “осевой канал веретена – подвижная насадка”. Передачу движения от электродвигателя (не показан) на веретено 1 производят через гибкую связь 20, имеющую заданную скорость движения , на блок 21, жестко посаженный на веретене и вращающийся с заданной скоростью , обеспечивающей расчетную интенсивность кручения мычки, выпускаемой со скоростью k выпускной парой 4. Вращение веретена 1 через связь 10 и рычаг привода 8 приводит в движение вьюрок 6. При этом пряжа 5 под действием аэродинамических сил заходит в полость связи 10. Каждый оборот вьюрка на участке “выпускная пара – вьюрок” сообщает пряже одно действительное кручение, кроме того, скрученная нить 5 получает ложную крутку от фрикционного взаимодействия с воронкой 7. Интенсивность ложного кручения Кл можно определить с некоторой погрешностью из выражения Kл=n·(D/d)· , где n – частота вращения вьюрка (мин-1); D – максимальный диаметр воронки (мм); d – диаметр пряжи (мм); – коэффициент сцепления между поверхностями воронки и пряжи. Преимуществом такого формирования пряжи является то, что ложная крутка компенсирует нехватку действительной крутки, которая по своей интенсивности кручения на этом участке составляет 50% от номинального значения. Таким образом, ложная крутка снижает вероятность обрыва пряжи в зоне выпуска мычки за счет распространения крутки на нескрученный участок мычки (треугольник кручения). Кроме того, сообщение действительной крутки на этом относительно коротком участке приводит к тому, что на другом участке “вьюрок – радиальный канал веретена” пряжа имеет фиксированную крутку, и ее значение не уменьшается по мере распространения от радиального канала веретена к вьюрку, как это происходит при классической схеме сообщения крутки (от крутильного органа к вытяжному прибору). Это важный момент, позволяющий снизит вероятность обрыва в первой зоне кручения. В некоторых случаях, например при выпуске трикотажной пряжи, вращение вьюрка, связанное с веретеном, ограничено вращением веретена и интенсивности ложного кручения недостаточно, чтобы сообщить формируемой пряже на этом участке достаточную прочность, в этом случае привод вьюрка производят автономно, то есть не зависимо от веретена, используя классические приемы передачи крутящего момента, например гибкой связью (см. фиг.2.). Для сообщения автономного привода вьюрка 6 на воронку 7 жестко устанавливают блок 24 и с помощью гибкой связи 25, имеющей скорость движения 2, сообщают блоку заданную частоту вращения 2, чтобы придать пряже необходимую прочность. Вращение вьюрка и веретена вызывает баллонирование нити, которое сопровождается ее натяжением от действия центробежных и аэродинамических сил. Силы натяжения наиболее опасны в зоне треугольника кручения, где на продукт не распространяется крутка, поэтому на этом участке чаще всего происходит разрушение формируемой пряжи, то есть возникает обрыв. Для предупреждения обрыва пряжи на рычаге привода и регулирования натяжения нити 8 и регуляторе натяжения 26 (см. фиг.2.) образуют витки нити посредством обхвата нитью этих рычагов. Для фиксации витков на рычагах пряжу заправляют в щелевой канал 9, а при использовании автономного привода вьюрка – в отверстие 27, выполненное коаксиально оси вращения вьюрка. Согласно формуле Эйлера натяжение нити от баллонирования в зоне ее выпуска вытяжным прибором будет уменьшено в e раз, где е – основание натурального логарифма; – коэффициент трения нити по рычагу; – угол обхвата нитью рычага коррекции натяжения. При формировании пряжи из сравнительно коротких волокон ее прочностные характеристики ниже в сравнении с аналогичной пряжей, но формируемой из более длинных волокон. Для сохранения целостности пряжи из коротких волокон на участке “вьюрок – радиальный канал веретена” ее заводят в полость связи 10 (см. сечение А-А), это позволяет снизить натяжение пряжи от действия центробежных и исключить воздействие на нить аэродинамических сил, следовательно, приблизить к нулю вероятность обрыва. При формировании пряжи с пониженной интенсивностью крутки предусмотрено использование автономного привода вьюрка в этом случае используют регулятор натяжения нити 26 (см. фиг.2), который выполняют в виде симметричной геометрической фигуры с выпускным отверстием 27, выполненным коаксиально к оси вращения вьюрка. В этом случае пряжа баллонирует свободно вне зависимости от вращения вьюрка, а сам вьюрок может иметь частоту вращения, значительно отличающуюся от частоты вращения веретена. Такой режим формирования пряжи позволяет расширить возможности использования вьюркового нитепроводника, согласуя процесс формирования пряжи с ее свойствами и свойствами волокон, из которых она формируется, снижая затраты на изготовление крутильно-мотального механизма и стабилизируя процесс прядения. Наматывание нити 5 на насадку 16 производят посредством передачи на нее крутящего момента от веретена через подшипники 18′ и магнитную муфту 19. Раскладку нити и формирование паковки 29 производят с использованием насадки 16 и магнитного нитераскладчика. Устройство нитераскладчика составляют: базовая деталь 22, выполненная в форме диска и установленная посредством вторичного подшипника 18” на подвижную насадку 16, направляющая штанга 15 и магнитный водитель 17. Магнитная муфта 19 сообщает движение насадке 16 от веретена 1 и создает усилие, преодолевающее натяжение нити от баллонирования и сопротивления Эйлеровых сил, возникающих от взаимодействия пряжи с элементами крутильно-мотального механизма и нитенаправителями 13′ и 13”. Нитенаправители обеспечивают заданное натяжение пряжи, а следовательно, и плотность паковки посредством изменения сил трения, возникающих при прохождении нити, например замены Эйлеровых сил сопротивления движению нити по нитенаправителю 13 на сопротивление от качения, то есть установкой подшипника на нитенаправитель 13′, а на 13” возможно использование Эйлеровых сил и обратное их сочетание, либо каждое из этих сопротивлений в отдельности. Формирование паковки 20 производят мотальным механизмом (не показан), который сообщает возвратно-поступательное движение водителю 17 со скоростью 1. Нитеводитель 14 и водитель 17 связаны между собой магнитным силовым полем, посредством которого второй сообщает первому синхронное движение по направляющей штанге 15, обеспечивая, таким образом, раскладку пряжи и формирование паковки 20 по заданной форме и с заданной плотностью, кроме того, это же магнитное силовое поле и подшипник качения 18” производят гашение крутящего момента от насадки на нитераскладчик и фиксируют статическое положение нитераскладчика относительно станины машины, что позволяет без потери сообщать пряже второе кручение в осевом канале веретена, сохраняя ее целостность. Для повышения надежности в работе нитераскладчика водитель и нитеводитель устанавливают с зазором для прохождения баллонирующей нити, напряженность магнитных сил, определяющих надежность работы нитераскладчика, подбирают варьированием зазора , который устанавливают поворотом эксцентриковой втулки 23. Зазор исключает залипание магнитов и негативные последствия от их залипания.
Формула изобретения
1. Способ формирования пряжи в поле двухзонного кручения, согласно которому волокнистому продукту сообщают двойную крутку путем вращения его в баллоне веретеном, проведения его по осевому каналу веретена в направлении к вершине баллона и последующего вывода из осевого канала веретена к направителю одиночной пряжи и наматывания ее на паковку на веретене, отличающийся тем, что на участке между вытяжным прибором и вьюрковым нитепроводником формируют первую зону действительного кручения пряжи и сообщают ей ложную крутку вьюрком с автономным приводом или с приводом непосредственно от веретена через связь с ним, которую одновременно используют для сохранения целостности формируемой пряжи при ее проводке на паковку, при этом сообщение крутки во второй зоне кручения осуществляют при статическом положении нитераскладчика путем гашения крутящего момента от вращения веретена и подвижной насадки на нем магнитным силовым полем нитеводителя и водителя, для чего нитераскладчик устанавливают на вторичный подшипник на насадке веретена, натяжение пряжи при наматывании на паковку регулируют сочетанием Эйлеровых сил сопротивления движению нити и сил трения в подшипниках направляющих элементов пряжи, ее наматывание и формирование паковки осуществляют синхронным движением нитеводителя по отношению к водителю, при этом нитеводитель и водитель устанавливают с зазором для прохождения баллонирующей пряжи, которым регулируют напряженность магнитного силового поля, образованного магнитами водителя и нитеводителя.
2. Способ по п.1, отличающийся тем, что при автономном приводе вьюрка пряжу выводят из него коаксиально к оси его вращения и с обхватом регулятора натяжения, при этом частота баллонирования пряжи не связана с частотой вращения вьюрка.
3. Устройство для формирования пряжи в поле двухзонного кручения, содержащее веретено с радиальными и осевым каналом, подвижную насадку на веретене, связанную с ним магнитной муфтой сцепления, нитераскладчик, имеющий опорную деталь с жестко закрепленной направляющей штангой и подвижно установленным магнитным нитеводителем, связанный со станиной магнитный водитель для перемещения нитеводителя по направляющей штанге путем воздействия на него магнитного силового поля водителя, совершающего возвратно-поступательное движение вдоль направляющей штанги, отличающееся тем, что оно содержит вьюрок с вьюрковым нитепроводником и автономным приводом или с приводом непосредственно от веретена через связь с ним, используемую для сохранения целостности формируемой пряжи при ее проводке на паковку, направляющая штанга выполнена с нитенаправителями, а нитераскладчик установлен на вторичном подшипнике на насадке веретена и имеет статическое положение при сообщении пряже крутки во второй зоне кручения путем гашения крутящего момента от вращения веретена и подвижной насадки на нем магнитным силовым полем нитеводителя и водителя.
4. Устройство по п.3, отличающееся тем, что оно содержит регулятор натяжения, выполненный в виде симметричной геометрической фигуры с отверстием, выполненным коаксиально к оси вращения вьюрка.
РИСУНКИ
|
|