|
(21), (22) Заявка: 2006109883/12, 27.03.2006
(24) Дата начала отсчета срока действия патента:
27.03.2006
(46) Опубликовано: 27.10.2007
(56) Список документов, цитированных в отчете о поиске:
RU 2209862 C1, 10.08.2003. SU 749950 A, 25.07.1980. SU 1266903 A1, 30.10.1986. SU 984951 A1, 30.12.1982. SU 935138 A, 15.06.1982. US 4839943 A, 20.06.1989. US 5237725 A, 24.08.1993.
Адрес для переписки:
156961, г.Кострома, ул. Комсомольская, 4, ГНУ “ВНИИ по переработке лубяных культур” Российской академии сельскохозяйственных наук
|
(72) Автор(ы):
Безбабченко Александр Владиславович (RU), Пашин Евгений Львович (RU), Бойко Светлана Вадимовна (RU), Лапшин Андрей Борисович (RU)
(73) Патентообладатель(и):
Государственное научное учреждение “Всероссийский научно-исследовательский институт по переработке лубяных культур” Российской академии сельскохозяйственных наук (RU)
|
(54) МЯЛЬНО-ТРЕПАЛЬНЫЙ СТАНОК ДЛЯ ВЫДЕЛЕНИЯ ВОЛОКНА ИЗ СТЕБЛЕЙ ТРЕСТЫ ЛУБЯНЫХ КУЛЬТУР
(57) Реферат:
Изобретение относится к текстильной промышленности, а именно к устройствам для выделения волокна из стеблей тресты лубяных культур, преимущественно льна. Мяльно-трепальный станок для выделения волокна из стеблей тресты лубяных культур содержит горизонтальный питающий транспортер с механизмом переключения его движения, мяльно-зажимной узел, пару трепальных барабанов и систему пневмоотсоса, механизм переключения движения транспортера связан с устройством, которое обеспечивает увеличение хода питающего транспортера при выводе тресты из зоны обработки в сравнении с его ходом при вводе тресты. Технической задачей изобретения является увеличение выхода длинного волокна из тресты лубяных культур. 2 ил.
Изобретение относится к текстильной промышленности, а именно к устройствам для выделения волокна из стеблей лубяных культур, преимущественно льна.
Известно устройство для выделения волокна из тресты лубяных культур, содержащее узел для перемещения тресты в виде бесконечного транспортера и пару бильных барабанов [1].
Однако данное устройство не снабжено системой удаления костры, что ухудшает технологический эффект обработки.
Известен также мяльно-трепальный станок для выделения волокна из стеблей тресты лубяных культур, содержащий горизонтальный питающий транспортер с механизмом переключения его движения, мяльно-зажимной узел, пару трепальных барабанов и систему пневмоотсоса [2].
Недостатком данного станка является то, что перемещение ветви транспортера вперед равно ее перемещению назад. Из-за этого обрабатываемая прядь по окончанию цикла обработки остается зажатой в мяльно-зажимном узле. Это происходит в связи с тем, что при трепании прядь удлиняется за счет миграции волокон друг относительно друга.
Упомянутый известный мяльно-трепальный станок по своей технической сущности наиболее близок к заявляемому и поэтому предлагается в качестве прототипа.
Технической задачей изобретения является увеличение выхода длинного волокна из тресты лубяных культур.
Технический результат в мяльно-трепальном станке для выделения волокна из стеблей тресты лубяных культур, содержащем горизонтальный питающий транспортер с механизмом переключения его движения, мяльно-зажимной узел, пару трепальных барабанов и систему пневмоотсоса, согласно изобретению, достигается тем, что механизм переключения движения транспортера связан с устройством, обеспечивающим увеличение хода питающего транспортера при выводе тресты из зоны обработки в сравнении с его ходом при вводе тресты.
Данная особенность конструкции обусловлена тем, что при обработке льняного сырца трепанием происходит удлинение пряди трепаного льна за счет смещения волокон друг относительно друга от середины к концам горсти, возникающие в результате их взаимодействия с кромками бил. В связи с этим увеличение длины обратного хода транспортера позволяет полностью выводить из зоны зажима обработанный материал, что будет способствовать увеличению выхода длинного волокна.
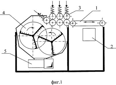
Сущность изобретения поясняется чертежами. На фиг.1 изображена схема мяльно-трепального станка для выделения волокна из тресты лубяных культур. На фиг.2 изображен горизонтальный транспортер, ход которого вперед и назад различен.
Мяльно-трепальный станок состоит из горизонтального питающего транспортера 1, устройства регулировки хода и переключения движения транспортера 2, мяльно-зажимного узла 3, пары трепальных барабанов 4 и системы пневмоотсоса 5.
Порядок работы мяльно-трепального станка заключается в следующем: стебли льняной тресты раскладывают на питающий транспортер 1. После этого при помощи устройства регулировки хода и переключения движения транспортера 2 включается их подача в мяльно-зажимной узел 3. Причем при подаче вперед правые концы тресты проходят расстояние от точки А до точки Аh1, а величина хода транспортера в этом случае равна h1 (фиг.2). После мятья зажатый в мяльно-зажимном узле 3 сырец подвергается трепанию парой трепальных барабанов 4. Отходы трепания удаляются при помощи системы пневмоотсоса 5. После обработки комлевой части горсти с помощью устройства регулировки величины хода транспортера 2 горсть двигается назад и проходит расстояние от точки Аh1 до точки Аh2. Ход транспортера при этом равен h2, причем h2>h1. Перевернув горсть, аналогично обрабатывается вершинная часть горсти стеблей.
Пример конкретной работы мяльно-трепального станка. Горсти тресты массой 100 грамм раскладывают на питающем транспортере комлями вперед. После чего кнопкой “Пуск” включается цикл обработки. Транспортер приводится в движение при помощи электродвигателя, время работы которого задается двумя реле времени марки ВЛ66УХЛ4. Реле №1 регулирует время работы двигателя привода транспортера вперед, а реле №2 – время работы назад. Таким образом, установка времени работы каждого реле позволяет установить ход транспортера вперед (900 мм) и назад (1050 мм). В результате разница по величине хода транспортера составляет 150 мм.
Использование предлагаемого устройства не требует больших капитальных затрат и позволяет повысить эффективность переработки льняной тресты.
Источники информации
Формула изобретения
Мяльно-трепальный станок для выделения волокна из стеблей тресты лубяных культур, содержащий горизонтальный питающий транспортер с механизмом переключения его движения, мяльно-зажимной узел, пару трепальных барабанов и систему пневмоотсоса, отличающийся тем, что механизм переключения движения транспортера связан с устройством, обеспечивающим увеличение хода питающего транспортера при выводе тресты из зоны обработки в сравнении с его ходом при вводе тресты.
РИСУНКИ
MM4A – Досрочное прекращение действия патента СССР или патента Российской Федерации на изобретение из-за неуплаты в установленный срок пошлины за поддержание патента в силе
Дата прекращения действия патента: 28.03.2008
Извещение опубликовано: 20.11.2009 БИ: 32/2009
|