|
|
(21), (22) Заявка: 2006105350/12, 20.02.2006
(24) Дата начала отсчета срока действия патента:
20.02.2006
(46) Опубликовано: 27.10.2007
(56) Список документов, цитированных в отчете о поиске:
SU 1388474 A1, 15.04.1988. SU 1663065 A1, 15.07.1991. SU 829738 A, 15.05.1981. FR 2247551 A, 09.05.1975. FR 2629477 A1, 06.10.1989. GB 1149622 A, 23.04.1969. FR 2765895 A, 15.01.1999.
Адрес для переписки:
156961, г.Кострома, ул. Комсомольская, 4, ГНУ “Всероссийский научно-исследовательский институт по переработке лубяных культур”
|
(72) Автор(ы):
Антонов Станислав Иванович (RU)
(73) Патентообладатель(и):
Государственное научное учреждение “Всероссийский научно-исследовательский институт по переработке лубяных культур” Российской академии сельскохозяйственных наук (RU)
|
(54) УСТРОЙСТВО ДЛЯ ФОРМИРОВАНИЯ СЛОЯ СТЕБЛЕЙ ЛУБЯНЫХ КУЛЬТУР
(57) Реферат:
Устройство для формирования слоя стеблей лубяных культур, включающее дозатор, слоеутоняющий механизм, датчик и регулятор скорости вращения зубчатых дисков, при этом регулятор установлен после слоеутоняющего механизма и включает в себя дозирующий и приемные диски, неподвижный и подвижные полозки, последний из которых связан с системой автоматического регулирования скорости всех рабочих органов устройства, находящихся по ходу движения материала до данного регулятора. Использование данного устройства обеспечивает увеличение выхода длинного волокна за счет создания равномерного по плотности слоя стеблей перед его механической обработкой. 1 ил.
Изобретение относится к области первичной обработки лубяных культур, в частности льна, и может быть использовано при получении льняного волокна.
Известно, что эффективность технологических процессов мятья и трепания, осуществляемых на мяльно-трепальных агрегатах (МТА), зависит от величины неровноты по плотности слоя стеблей, формируемого на слоеформирующих машинах (СМ). Чем выше неровнота сформированного слоя, тем неравномернее протекают процессы мятья и трепания, что в конечном итоге увеличивает процент недоработанного волокна (недоработки) и снижает выход длинного волокна.
Существующие и практически применяемые устройства для снижения неровноты слоя стеблей при слоеформировании направлены на создание постоянной плотности стеблей в первой части СМ.
Известны устройства для формирования равномерного по плотности слоя стеблей за счет использования в первых частях всех известных марок СМ дозирующих механизмов. Данные устройства реализуются посредством применения дозирующих и приемных зубчатых дисков [1]. При этом в рабочей зоне между дозирующими и приемными дисками за счет привода в движение первых через муфту предельного момента обеспечивается постоянная плотность стеблевого материала.
Известно также устройство для регулирования линейной плотности слоя лубяных культур, в котором с целью повышения точности регулирования путем синхронизации производительностей дозатора и слоеутоняющего механизма оно снабжено датчиком скорости вращения зубчатых дисков и регулятором частоты вращения привода слоеутоняющего механизма, входом, связанным с выходом датчика скорости [2].
Данное устройство по своей технической сущности наиболее близко к заявляемому и его можно считать в качестве прототипа.
Недостатком известных устройств является то, что в процессе слоутонения в слоеутоняющих механизмах всех типов вследствие как неоднородности сил связи между отдельными стеблями и группами стеблей, так и природы самого процесса слоеутонения (вытягивания), неровнота получаемого слоя после слоеутонения возрастает.
Заявляемое устройство обеспечивает формирование равномерного по плотности слоя стеблей льняной тресты именно после его утонения, т.е. непосредственно перед перекашивающим устройством (при его наличии в составе СМ) или перед мяльной машиной МТА. В прототипе же речь идет о выравнивании слоя по плотности в промежутке между дозирующими дисками и слоеутоняющим механизмом, а не после него.
Задачей заявленного изобретения является увеличение выхода длинного волокна за счет создания равномерного по плотности слоя стеблей перед его механической обработкой.
Технический результат, заключающийся в устранении указанных недостатков в устройстве для формирования слоя стеблей лубяных культур, содержащем дозатор, слоеутоняющий механизм, датчик и регулятор скорости вращения зубчатых дисков, достигается тем, что регулятор установлен после слоеутоняющего механизма и включает в себя дозирующий и приемные диски, неподвижный и подвижные полозки, последний из которых связан с системой автоматического регулирования скорости всех рабочих органов устройства, находящихся по ходу движения материала до данного регулятора.
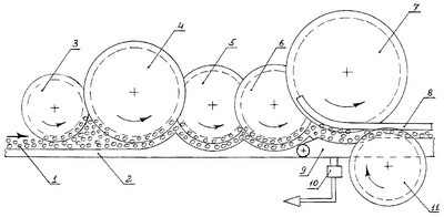
На чертеже схематично показана схема устройства для формирования слоя стеблей тресты лубяных культур.
Устройство содержит направляющие пластины 2, дозирующие 3, приемные 4 диски (диски 3 и 4 выполняют роль дозатора) и слоеутоняющий механизм, включающий слоеутоняющие диски 5 и 6, а также регулятор скорости вращения зубчатых дисков, куда входят дозирующий диск 7, неподвижный 8 и подвижный полозок 9, датчик 10 для измерения плотности слоя стеблей между полозками и приемный диск 11.
Устройство работает следующим образом. Сформированный вручную слой стеблей, скользя по направляющим пластинам 2, проходит через дозатор, состоящий из дозирующих 3 и приемных 4 дисков, через слоеутоняющий механизм (слоеутоняющие диски 5 и 6), после чего слой попадает в регулятор, где он захватывается зубьями дозирующего диска 7 и уплотняется до требуемой плотности в канале между неподвижным 8 и подвижным 9 полозками. При превышении заданной плотности материала в канале возрастают тангенциальные силы, действующие со стороны материала на зубья диска, и он благодаря приводу через муфту предельного момента замедляет скорость вращения, тем самым снижая подачу стеблей в канал. В случае же снижения плотности материала в канале ниже заданной величины сопротивление вращению дозирующего диска 7 уменьшается и он увеличивает скорость вращения, подавая дополнительные порции стеблей в канал.
Для предотвращения избыточного накопления стеблей перед дозирующим диском 7 или их недостатка, т.е. обеспечения стационарного по производительности потока стеблей, все рабочие органы СМ, находящиеся до данного регулятора (по ходу движения материала) приводятся в движение через устройство для плавного регулирования их скорости, состоящее, например, из преобразователя, усилителя сигнала и одного из известных типов исполнительных механизмов для плавного регулирования скорости: электродвигатель с регулируемой частотой вращения; регулируемый гидропривод; вариатор скорости и т.д. (система автоматического регулирования скорости), управление которым осуществляется с помощью сигнала датчика 10, связанного с подвижным полозком 9.
Уплотненные в канале стебли непрерывно отбираются приемным зубчатым диском 11, вращающимся с постоянной скоростью, и передаются к перекашивающему устройству СМ или к мяльной машине МТА. Высота канала между неподвижным и подвижным полозками, максимальный крутящий момент, передаваемый муфтой на дозирующий диск, и номинальная скорость рабочих органов устанавливаются в зависимости от скорости материала в мяльной и трепальной машинах МТА и их производительности, а функция регулирования скорости рабочих органов, находящихся до регулятора, – по объему материала в канале между полозками 8 и 9.
Источники информации
1. Справочник по заводской первичной обработке льна./Под общей редакцией Храмцова В.Н. – М., 1984.
2. Авторское свидетельство SU №1388474, DOB 1/32. Устройство для регулирования линейной плотности слоя лубяных стеблей / Криворучко В.А. и др.; 1988. – Бюл. №14.
Формула изобретения
Устройство для формирования слоя стеблей лубяных культур, включающее дозатор, слоеутоняющий механизм, датчик и регулятор скорости вращения зубчатых дисков, отличающееся тем, что регулятор установлен после слоеутоняющего механизма и включает в себя дозирующий и приемные диски, неподвижный и подвижные полозки, последний из которых связан с системой автоматического регулирования скорости всех рабочих органов устройства, находящихся по ходу движения материала до данного регулятора.
РИСУНКИ
MM4A – Досрочное прекращение действия патента СССР или патента Российской Федерации на изобретение из-за неуплаты в установленный срок пошлины за поддержание патента в силе
Дата прекращения действия патента: 21.02.2008
Извещение опубликовано: 27.09.2009 БИ: 27/2009
|
|