|
|
(21), (22) Заявка: 2004138091/12, 23.05.2003
(24) Дата начала отсчета срока действия патента:
23.05.2003
(30) Конвенционный приоритет:
25.05.2002 (пп.1-36) GB 0212085.5
(43) Дата публикации заявки: 10.06.2005
(46) Опубликовано: 27.10.2007
(56) Список документов, цитированных в отчете о поиске:
ЕР 1148023 A1, 24.10.2001. GB 2368897 A, 15.05.2002. FR 2785601 A, 12.05.2000. GB 1381419 A, 22.01.1975. ЕР 0866028 A1, 23.09.1998. US 6324850 A, 04.12.2001. RU 2168458 C1, 10.06.2001.
(85) Дата перевода заявки PCT на национальную фазу:
27.12.2004
(86) Заявка PCT:
GB 03/02241 (23.05.2003)
(87) Публикация PCT:
WO 03/099703 (04.12.2003)
Адрес для переписки:
129010, Москва, ул. Б.Спасская, 25, стр.3, ООО “Юридическая фирма Городисский и Партнеры”, пат.пов. С.А.Дорофееву
|
(72) Автор(ы):
СМИТ Стефен Пол (GB)
(73) Патентообладатель(и):
КУРС ЮРЕПИЭН ПРОПЕРТИЗ ГМБХ (CH)
|
(54) ПОДАЧА РАЗЛИВНЫХ НАПИТКОВ
(57) Реферат:
Разливной напиток при его подаче охлаждают в резервуаре для воды охлаждающего модуля под баром напитков. Затем он охлаждается в термоэлектрическом охладителе и передается к блоку по трубке, которая окружена водной рубашкой охлаждающей воды из резервуара. Водная рубашка связана с дополнительной водной рубашкой для трубки охлаждающей воды, которая также подается к блоку для охлаждения стакана, в который будет наливаться напиток. Водная рубашка поддерживает напиток в трубке прохладным, но выше температуры замерзания, когда напиток находится в статическом состоянии перед распределением. Устройство по изобретению не требует наличия теплообменника для охлаждения напитка перед его выходом из насадка и обеспечивает уменьшение пенообразования при малых габаритах охлаждающего модуля. 3 н. и 33 з.п. ф-лы, 2 ил.
Настоящее изобретение относится к подаче разливных напитков и, в частности, к способу подачи охлажденного разливного напитка и устройству для подачи охлажденного разливного напитка.
Известно, например, из Международной публикации № WO 99/60092 (международная заявка № PCT/GB99/01551) подавать охлажденный разливной напиток к сосуду.
Также известно устройство для подачи охлажденного напитка к сосуду, включающее охлаждающие средства для охлаждения напитка и систему трубопроводов для подачи напитка от охлаждающих средств к выходному отверстию, причем устройство выполнено с возможностью разлива напитка, по меньшей мере, в одном заданном объеме, причем система трубопроводов имеет емкость, которая меньше упомянутого заданного объема (см. ЕР №1148023). В указанном документе также раскрыт способ подачи охлажденного разливного напитка к сосуду, включающий охлаждение или переохлаждение напитка в охлаждающих средствах и подачу напитка от охлаждающих средств к выпускному отверстию через систему трубопроводов, в которых некоторая часть напитка находится в системе трубопроводов в статическом состоянии до его распределения.
Задачей изобретения является обеспечение способа подачи разливного напитка, который может быть осуществлен с использованием устройства для подачи разливного напитка, где габаритный размер охлаждающего модуля устройства может быть меньшего размера, чем ранее нормально потребовалось бы, так что габаритный размер охлаждающего модуля может быть уменьшен; упомянутый охлаждающий модуль, например, получающий разливной напиток из подвода, например, через «Питон», и модуль, охлаждающий или дополнительно охлаждающий полученный напиток и затем доставляющий его, например, по требованию к выпускному отверстию, например разливочной насадке, которое может быть включено в блок, установленный, например, на прилавке бара напитков. Известно, что охлаждающие модули устанавливаются в непосредственной близости к бару, таким образом, чем меньше модуль (и чем меньше он нагревает окружающее пространство стойки бара), тем лучше.
Другая задача – обеспечить устройство для подачи разливных напитков, где указанное устройство имеет относительно мало подвижный частей.
Другая задача заключается в создании устройства для подачи разливных напитков, где, несмотря на то, что напиток охлаждается до того, как он доставлен от разливочной насадки в сосуд (например, питьевой сосуд), устраняется необходимость в поддерживании циркуляции предварительно охлажденного напитка, когда не требуется подача из насадки, и таким образом отсутствует необходимость иметь циркуляционную петлю в устройстве; также в случае, когда насадка включена в блок, блок не требует содержания или включения теплообменника для применения конечного охлаждения напитка непосредственно перед его выходом из насадки.
Еще одна задача – это обеспечить способ разлива напитка, имеющего содержание растворенного газа (одним примером является пиво, например светлое пиво), где уменьшено пенообразование.
Поставленные задачи решаются при помощи создания устройства для подачи охлажденного напитка к сосуду, включающего охлаждающие средства для охлаждения напитка и систему трубопроводов для подачи напитка от охлаждающих средств к выходному отверстию, причем устройство выполнено с возможностью разливать напиток, по меньшей мере, в одном предопределенном объеме, и система трубопроводов имеет емкость, которая по существу меньше упомянутого, по меньшей мере, одного предопределенного объема; и система трубопроводов содержит однонаправленную линию подачи напитка, имеющую охлаждающие средства на одном конце и выходное отверстие для напитка на другом конце, причем система трубопроводов имеет длину меньше чем 5 м. Предпочтительно система трубопроводов имеет длину меньше чем по существу 3 м. Система трубопроводов имеет емкость, меньшую чем по существу 20 мл. Охлаждающие средства включают термоэлектрические охлаждающие средства, приспособленные для того, чтобы охлаждать или переохлаждать напиток.
Устройство согласно изобретению может дополнительно содержать резервуар хладагента и первый трубопровод, выходящий из резервуара хладагента и располагающийся так, чтобы доставлять напиток к охлаждающим средствам, и второй трубопровод, содержащий систему трубопроводов подачи выхода напитка, размещенный так, чтобы передавать напиток от охлаждающих средств к выпускному отверстию. Причем охлаждающие средства выполнены с возможностью охлаждения напитка термоэлектрически до температуры ниже 0°С.
Устройство может включать компактный модуль, содержащий резервуар и термоэлектрические охлаждающие средства. Компактный модуль дополнительно содержит холодильные средства для охлаждающего хладагента в резервуаре и расположен внутри реальной или воображаемой оболочки, которая по существу имеет форму параллелепипеда. При этом форма параллелепипеда имеет объем меньше 0,5 м3. Предпочтительно компактный модуль имеет вес меньше чем 50 кг.
Устройство может включать средства для переноса хладагента, предусмотренные для переноса жидкого хладагента так, чтобы он отводил тепло от термоэлектрических охлаждающих средств и возвращался в резервуар. Причем, по меньшей мере, часть первого или второго трубопровода расположена так, чтобы быть в термическом контакте с жидким хладагентом из резервуара.
Предпочтительно устройство включает несущие хладагент средства, предусмотренные для возврата охлаждающей жидкости в резервуар после того, как она входит в термический контакт с первым или вторым трубопроводом.
Устройство дополнительно включает трубопровод хладагента, предусмотренный для протекания хладагента, когда он находится в термическом контакте с первым или вторым трубопроводом. Трубопровод хладагента содержит рубашку жидкого хладагента, которая окружает первый или второй трубопровод для образования рубашки для напитка.
Поставленные задачи также решаются тем, что создан способ подачи охлажденного разливного напитка к сосуду, содержащий охлаждение или переохлаждение напитка в охлаждающих средствах, подачу напитка от охлаждающих средств к выпускному отверстию для распределения через систему трубопроводов, в которых некоторая часть напитка находится в системе трубопроводов в статическом состоянии до его распределения, причем напиток разливают, по меньшей мере, в одном предопределенном объеме, и объем напитка, который находился в статическом состоянии в системе трубопроводов, значительно меньше упомянутого, по меньшей мере, одного предопределенного объема, при этом напиток, который находился в статическом состоянии, поддерживается в системе трубопроводов подачи напитка, которая имеет длину меньше чем 5 м. Способ включает также стадию перемещения разливного напитка по системе трубопроводов к выпускному отверстию и охлаждения разливного напитка в ходе его перемещения, по меньшей мере, по части длины системы трубопроводов, причем указанное охлаждение включает использование объема жидкого хладагента для отведения тепла от напитка и использование термоэлектрического эффекта для отведения тепла от напитка. Разливной напиток охлаждают с помощью упомянутого объема жидкого хладагента до его охлаждения с помощью термоэлектрического эффекта. При этом до или после охлаждения термоэлектрическим эффектом в области термоэлектрического охлаждения охлажденный напиток подвергают термическому контакту с трубопроводом хладагента, несущего жидкий хладагент. До охлаждения термоэлектрическим эффектом и после охлаждения объемом жидкого хладагента напиток подают по трубопроводу, по которому также подается жидкий хладагент. Причем жидкий хладагент подают так, что он отводит тепло, извлеченное термоэлектрическим эффектом. Предпочтительно хладагентом является вода. В способе согласно изобретению напиток переохлаждается, причем упомянутое охлаждение осуществляется термоэлектрически.
Предпочтительно напиток имеет содержание растворенного газа, и упомянутое переохлаждение предусмотрено для уменьшения пенообразования распределяемого напитка в сосуде.
В способе измеряют температуру напитка, охлажденного при помощи термоэлектрического эффекта, и задерживают распределение напитка до тех пор, пока измеренная температура не уменьшится до, по меньшей мере, предопределенного значения. При этом упомянутое предопределенное значение лежит в диапазоне от по существу -4,0°С до по существу -4,5°С, а жидкий хладагент в упомянутом объеме находится при температуре по существу 0°С. Предпочтительно жидкий хладагент подают к трубопроводу для хладагента при температуре по существу 0°С. Также предпочтительно термоэлектрическим эффектом является эффект Пельтье.
В способе напиток переохлаждают, по меньшей мере, до температуры по существу 1,5°С ниже его температуры замерзания при окружающем атмосферном давлении. Отведение тепла от напитка с использованием термоэлектрического эффекта выполняют на этапе удаления тепла, вводя напиток в переохлажденное состояние. Предпочтительно напиток охлаждают до температуры ниже -3,0°С.
Во втором трубопроводе напиток находится в термическом контакте со средой, которая находится при температуре выше, чем точка замерзания напитка. Причем среда представляет собой воздух или жидкий хладагент.
В другом аспекте создан способ распределения предопределенного объема охлажденного напитка в питьевой сосуд, включающий охлаждение напитка в охлаждающей области линии подачи напитка, ведущей к распределительной насадке, из которой напиток разливается, причем охлаждающая область линии подачи имеет относительно маленький объем в сравнении с упомянутым предопределенным объемом; окончание первой операции распределения напитка с помощью распределительной насадки; уменьшение охлаждения напитка, предусмотренного в охлаждающей области во время не распределительного периода работы крана, таким образом, позволяя напитку удерживаться в охлаждающей области линии подачи напитка для нагрева под влиянием окружающей температуры после окончания первой фазы распределения, причем нагретый напиток содержит оставшийся напиток в охлажденной области; распределение во второй операции распределения другого предопределенного объема напитка в питьевой сосуд через распределительную насадку; увеличение охлаждения напитка, обеспеченное охлаждающей областью во второй операции распределения в сравнении с охлаждением, обеспеченным охлаждающей областью во время не распределительного периода, причем предопределенный объем, распределенный в питьевой сосуд, содержит оставшийся напиток и также дополнительный напиток, который прошел через охлаждающую область во время второй операции распределения и был охлажден в охлаждающей области, упомянутый дополнительный напиток подают при температуре, более холодной, чем та, при которой распределяют оставшийся объем, и объемы оставшегося объема и дополнительного объема являются такими, что распределенный объем напитка, подаваемый во второй операции распределения, имеет температуру, которая по существу не подвергается влиянию разности температур между подаваемым оставшимся объемом и подаваемым дополнительным объемом при их распределении.
Выделение тепла из напитка, используя электротермический эффект Пельтье, может быть этапом отвода тепла, приводящим напиток в переохлажденной состояние.
Как указывалось ранее, напиток может быть охлажден с помощью упомянутой емкости жидкого хладагента до охлаждения с помощью термоэлектрического эффекта.
После или до осуществления охлаждения с помощью термоэлектрического эффекта охлажденный разливной напиток может быть подвергнут воздействию термического контакта с жидким хладагентом, между выпускным отверстием и областью термоэлектрического охлаждения, в которой появляется термоэлектрический эффект.
Жидкий хладагент может быть в «рубашке» жидкого хладагента напитка, через которую проходит напиток, когда он испытывает упомянутый термический контакт. Жидкий хладагент может циркулировать между упомянутой рубашкой напитка и емкостью жидкого хладагента.
Тепло отведенное от напитка с помощью упомянутого термоэлектрического эффекта может быть отведено жидким хладагентом, например, после термического контакта жидкого хладагента с напитком.
Предпочтительно напиток охлаждается с помощью термоэлектрического эффекта в термоэлектрической охлаждающей области, и напиток перемещается из термоэлектрической охлаждающей области к выпускному отверстию посредством системы трубопроводов, в которых некоторые напитки находились в статическом состоянии до того, как их разливают.
Более предпочтительно напиток разливают, по меньшей мере, в одном определенном объеме, и объем напитка, который был неподвижен в системе трубопроводов, значительно меньше, по меньшей мере, одного определенного объема.
Охлаждающая жидкость может быть охлаждена с помощью жидкого хладагента и подведена к внешней стороне сосуда, в который наливают напиток.
Предпочтительно охлаждающая жидкость охлаждается при прохождении через емкость хладагента. Охлажденная жидкость может также быть приведена в термический контакт с жидким хладагентом, пока хладагент находится в трубопроводе хладагента, например с помощью рубашки охлаждающей жидкости, которая может быть рубашкой напитка.
Альтернативно она может быть раздельной, в таких случаях рубашка охлаждающей жидкости предпочтительно находится в связи по текучей среде с рубашкой напитка.
Предпочтительно такой же охлаждающий трубопровод находится в термическом контакте с охлаждающей жидкостью и напитком.
Предпочтительно охлаждающие трубопроводы находятся в связи по текучей среде друг с другом.
Жидкий хладагент может просто циркулировать от емкости жидкого хладагента через один или каждый трубопровод хладагента, например одну или каждую рубашку. Например, жидкий хладагент от упомянутой емкости может проходить через рубашку охлаждающей жидкости перед прохождением через рубашку напитка.
Предпочтительно жидкий хладагент от упомянутой емкости жидкого хладагента циркулирует для отвода тепла, извлеченного из напитка термоэлектрическим эффектом, предпочтительно после прохождения по упомянутой рубашке или рубашкам.
Температура напитка охлажденного термоэлектрическим эффектом может быть измерена, и разлив напитка задерживается до тех пор, пока измеренная температура не упадет до, по меньшей мере, установленного значения.
Упомянутое предопределенное значение может быть в диапазоне от по существу -4,0°С до -4,5°С.
Напиток может быть алкогольным или безалкогольным. Например, он может иметь алкогольную крепость по существу 5% алкоголя на емкость.
Предпочтительно перед применением термоэлектрического эффекта разливной напиток охлаждается с помощью жидкого хладагента до температуры в диапазоне от по существу 1,5°С до по существу 0,5°С.
Разливной напиток может быть охлажден до температуры в диапазоне от по существу -4°С до по существу -4,5°С с помощью термоэлектрического эффекта.
Напиток может быть доставлен к упомянутому объему при температуре в диапазоне от по существу 6°С до, по существу, 8°С.
Предпочтительно емкостью охлаждающей жидкости является бак.
Компактный модуль может дополнительно содержать холодильные средства для охлаждающего хладагента для резервуара и/или, по меньшей мере, части системы управления для контролирования работы устройства. Компактный модуль может, например, быть установлен под прилавком верхней части стойки бара. Выпускное отверстие может содержать насадку, установленную на блоке, а блок может быть установлен на прилавке бара для напитков.
Система трубопроводов предпочтительно имеет емкость меньше чем по существу 30 мл, более предпочтительно меньше 20 мл и еще более предпочтительно меньше по существу 15 мл. Также она имеет длину предпочтительно меньше 5 м, более предпочтительно меньше, чем по существу 3 м.
Устройство предпочтительно включает средства для переноса хладагента, расположенные так, чтобы переносить жидкий хладагент таким образом, что он отводит тепло от термоэлектрических средств и возвращается в резервуар.
Предпочтительно, по меньшей мере, часть второго трубопровода расположена в термическом контакте с жидким хладагентом из резервуара.
Предпочтительно упомянутая часть второй секции окружена рубашкой жидкого хладагента, которая образует рубашку для напитка.
Устройство может далее содержать сопло, предусмотренное для направления, по меньшей мере, одной струи охлажденной охлаждающей воды на сосуд. В этом случае устройство предпочтительно также включает трубопровод охлаждающей воды для подачи охлаждающей воды, причем трубопровод проходит, по меньшей мере, частично, в термическом контакте с жидким хладагентом для охлаждения охлаждающей воды.
По меньшей мере, часть трубопровода охлаждающей воды предпочтительно окружена рубашкой жидкого хладагента, образующей рубашку охлаждающей воды, по которой может протекать жидкий хладагент.
Предпочтительно жидкий хладагент может протекать от резервуара в рубашку охлаждающей воды и оттуда в рубашку для напитка.
Предпочтительно жидкий хладагент может втекать в термоэлектрические охлаждающие средства для того, чтобы отводить оттуда тепло и возвращаться в резервуар.
Устройство может далее включать средства определения утечки охлаждающей воды, чтобы определять нежелательный поток охлаждающей воды по трубопроводу охлаждающей воды. Он может также дополнительно содержать клапанные средства для прекращения подачи охлаждающей воды по трубопроводу охлаждающей жидкости в случае определения нежелательного потока.
Устройство может дополнительно содержать средства, излучающие ультразвук, чтобы подвергнуть напиток, разливаемый с помощью устройства, воздействию ультразвукового сигнала.
Устройство может дополнительно содержать средства для вращения сосуда.
Изобретение будет далее описано с помощью примера со ссылкой на прилагаемые чертежи, на которых:
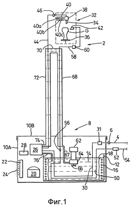
фиг.1 – представляет устройство для подачи охлажденных разливных напитков согласно первому примеру воплощения изобретения,
фиг.2 – иллюстрирует устройство согласно второму примеру воплощения изобретения; и
фиг.2а – показывает сечение через трубопровод, формирующий часть устройства, показанного на фиг.2.
Согласно фиг.1 устройство для подачи и розлива охлажденного разливного напитка показано позицией 2. Разливной напиток может быть безалкогольным или алкогольным и может иметь содержание воды и/или растворенного газа, причем это содержание растворенного газа может являться углекислым газом или азотом или содержать их или их смесь.
Подходящими разливными алкогольными напитками могут быть, например, сидр, или ароматизированный алкогольный напиток, или пиво. Пиво может быть светлое, эль, стаут или портер.
Разливной напиток может храниться в наливном состоянии, например в бочке или цистерне, в относительно прохладных условиях, например при по существу 11°С до по существу при 13°С, например в погребе, и может перемещаться из хранилища, например, с помощью давления газа и/или насосных средств вдоль трубки или поточной линии 4 к соединению 6, к охлаждающему напиток блоку или модулю 8, имеющему внешнюю рубашку, содержащую тело 10А рубашки и крышку рубашки 10В. Поточная линия 4 может образовывать часть, известную как «Питон», для охлаждения напитка в поточной линии так, что напиток, поступающий в охлаждающий модуль, мог быть при температуре в диапазоне от по существу 6°С до по существу 12°С.
Внутри рубашки 10А, 10В находятся:
(i) резервуар 12 жидкого хладагента, содержащий жидкий хладагент 14, предпочтительно воду,
(ii) холодильный или охлаждающий змеевик 16 (внутри оболочки 18 льда) для охлаждения воды 14, являющийся частью холодильной системы, далее включает компрессор и блок 20 расширительного клапана и конденсатор/теплообменник 22 для излучения тепла, возникающего около вентиляционного отверстия 24 в рубашку,
(iii) термоэлектрический охладитель 26, использующий эффект Пельтье, для осуществления охлаждения, и
(iv) контроллер 28, включающий электрические и электронный компоненты электрической системы управления устройством 2.
Охлаждающая трубка 30 напитка, которая может быть в форме кольца или петли, по меньшей мере, на часть своей длины погружена в воду 14 и связана одним концом с поточной линией 4 через соединение 6, а другим концом с трубопроводом напитка через термоэлектрический охладитель 26. В трубку 30 напитка включены измерительные средства 31, например измерительная турбина, используемая для осуществления объемных измерений напитка, разливаемого устройством, и посылающая сигналы, отображающие измерения, в систему контроля.
Предусмотрен блок, показанный позицией 32, который может быть установлен в баре напитков или около него, например на барной стойке, для разлива напитков, которые разливают, при желании, когда устройство работает, из насадки 34 в сосуд G, который может быть питьевым сосудом, например стаканом, с возможностью съема находящимся на платформе 36, которая также предусмотрена в блоке; причем платформа выполнена с возможностью поворота с помощью мотора (не показан) для поворота стакана во время распределения напитка. Блок 32 также включает контрольный клапан 38, который открывают, чтобы позволить напитку вытекать из насадки 34, и закрывают, чтобы остановить распределение напитка, кнопку управления 40 и сопло 42 для направления струи или одной или более струй охлажденной охлаждающей воды на внешнюю поверхность стакана G в течение некоторого желаемого времени во время процедуры распределения напитка. Блок 32 может также содержать средства для воздействия ультразвуком в течение желаемого времени под контролем системы управления.
Гибкий шланг или трубка 44 проходит от выходного отверстия напитка из термоэлектрического охладителя 26 к соединителю 46, на или около блока 32, чтобы доставить напиток к контрольному клапану 38.
Трубка 50 для охлаждающей воды, которая может быть в форме кольца или петли, по меньшей мере, частью своей длины погружена в воду 14 и присоединена с одного конца к обычно открытому отсечному клапану 52, соединенному с подводом 54 воды при гидростатическом давлении питающей сети. Другим концом трубка 50 для охлаждающей воды подсоединена в месте 56 к гибкому водяному шлангу или трубке 58, поставляющей к соплу 42 охлажденную воду для распыления на внешнюю сторону стакана G для охлаждения последней, по мере того как вода льется по внешней стороне стакана. Обычно закрытый охлаждающий клапан 60 включен в трубку 58 и присоединен к системе управления, которая открывает охлаждающий клапан 60, когда требуется распыление охлаждающей воды. Детектор потока воды (не показан) предусмотрен для наблюдения за потоком воды от подвода воды 54, когда охлаждающий клапан 60 закрыт или система контроля считает, что клапан закрыт. При таких обстоятельствах такой поток воды ошибочен и не желателен, и может привести к излишку воды. Таким образом, когда детектор потока сигнализирует системе управления о том, что имеется поток воды, система управления работает таким образом, чтобы заставить клапан 52 закрыться и остановить любой поток воды в трубку 58 из подвода 54.
Резервуар 12 снабжен мотором 62, непрерывно приводящим (i) водный насос 64 и (ii) смеситель, содержащий вращающуюся лопасть 66 для непрерывного перемешивания воды 14 в резервуаре, пока насос непрерывно накачивает холодную воду из резервуара по трубке 67 в конец двухтрубного охладителя или трубчатой водной рубашки 68, окружающей большую часть длины охлаждающей водной трубки 58 и подводящий воду из резервуара в термический контакт с охлаждающей водой для охлаждения стакана. На другом конце водяная рубашка 68 имеет трубопровод 70, подающий через выпускное отверстие холодную воду в конец другого двухтрубного охладителя или водяной рубашки 72, окружающей большую часть трубки 44 напитка и подводящей воду из резервуара в термический контакт с напитком. Выпускное отверстие подает холодную воду из другого конца водяной рубашки 72 по трубке 74 в термоэлектрический охладитель, чтобы протекать через него и действовать как хладагент, отводящий тепло от системы горячих соединений Пельтье; причем вода выходит из охладителя 26 по выпускной трубе 76 в резервуар 12.
Вода 14 в резервуаре 12 охлаждается до подходящей желаемой температуры, например, по существу 0°С, и она находится по существу при этой температуре, при которой она проходит последовательно через рубашку 68 и рубашку 72 к термоэлектрическому охладителю 26.
Кнопка управления 40, которая включает три кнопки, соединена с контролером 28. Нажатие одной кнопки 40а заставляет устройство 2 работать и открывать и закрывать контрольный клапан 38, как требуется, и автоматически доставлять по существу первый предопределенный измеренный объем напитка, например одну пинту (0,571), из насадки 34, нажатие другой кнопки 40b заставляет устройство автоматически доставлять другой отличный второй предопределенный измеренный объем, например одну вторую пинты (0,281), из насадки 34, в то время как нажим и отпускание третьей кнопки 40с управляет контроллером 28, чтобы закрыть и открыть распределительный клапан 38 в момент нажатия или отпускания кнопки, чтобы подать струи для долива напитка.
Когда необходима подача желаемого предопределенного объема напитка, стакан G помещается на платформу 36 и нажимается соответствующая кнопка на панели 40 управления. Это заставляет контроллер 28 работать так, чтобы устройство автоматически проходило сквозь цикл розлива напитка. При этом платформа 36 начинает вращаться, и это происходит постоянно, пока не закончится цикл, и клапан 60 открывается на желаемый предопределенный промежуток времени, например 5 секунд или более, так чтобы охлажденная водяная струя была направлена на внешнюю часть стакана G в течение этого времени для охлаждения стакана, причем охлажденная вода, выходящая из сопла 42, может быть при температуре по существу 2°С. Затем система контроля заставляет распределительный клапан 38 открыться, чтобы доставить автоматически желаемый предопределенный объем напитка в стакан G. Термоэлектрический охладитель 26 может быть выполнен так, чтобы охлаждать напиток до состояния переохлаждения, например до температуры ниже 0°С, и переохлажденный напиток можно влить в стакан G. Напиток, который вытекает из насадки 34, может быть переохлажден до температуры, по меньшей мере, по существу 1,5°С ниже температуры замерзания напитка при окружающем атмосферном давлении, например, по меньшей мере, до по существу 2,0°С ниже упомянутой температуры замерзания. Напиток может быть переохлажден до температуры в диапазоне, от по существу 1,5°С до 2,5°С ниже температуры замерзания напитка при окружающем атмосферном давлении, например в диапазоне от по существу 2,0°С до 2,5°С ниже температуры замерзания. Термоэлектрический охладитель 26 может быть выполнен с возможностью охлаждения напитка до температуры (при которой напиток может быть налит в стакан G) ниже -3,0°С, например в диапазоне от по существу -3,5°С до -4,5°С или более предпочтительно в диапазоне от по существу -4,0°С до -4,5°С.
Контроллер 28 может быть организован так, что напиток не подается из насадки 34 (например, насадка держится закрытой), пока температурный датчик в термоэлектрическом охладителе 26 не определит, что температура внутри понизилась до желаемой предопределенной величины (или понизилась до попадания в предопределенный температурный диапазон), достаточной для обеспечения того, чтобы жидкий напиток выходил из термоэлектрического охладителя в желаемом переохлажденном состоянии.
Количество напитка, разливаемого в стакан G, измеряется с помощью измеряющих напиток средств 31, которые посылают измеренные данные объема в систему управления. Когда предопределенная часть всего желаемого объема напитка, предназначенного для наливания в стакан G, была налита в него, например по существу 99%, и измеренный с помощью измеряющих средств 31 цикл распределения напитка продолжается для конечной части желаемого измеренного количества, например последнего 1% напитка, чтобы доставить в стакан G, и в течение этой финальной подачи система контроля автоматически подает ультразвуковой сигнал в течение требуемого предопределенного промежутка времени на поток напитка. Измеряющие напиток средства 31 показывают контроллеру 28, когда все желаемое предопределенное количество напитка разлито (скажем, одна пинта или 0,571), и контроллер 28 закрывает распределительный клапан 38, таким образом останавливая подачу в стакан. Когда контроллер 28 распознает, что желаемое количество напитка подано, это вызывает открытие охлаждающего клапана 60 на предопределенное время, которое может быть относительно коротким, посредством чего охлажденная вода, как и раньше, распыляется из сопла 42 на внешнюю поверхность стакана G.
Когда распыление воды закончено, система управления заставляет платформу 36 остановить вращение, и стакан напитка может быть снят с блока 32.
Стакан охлажденной воды, который может быть получен из сопла 42 при температуре по существу 2°С, может выходить из резервуара 12 при температуре по существу 0,5°С.
Здесь может быть некоторая передача тепла через стенки трубок 44 и 55, даже в том случае, когда каждая может быть выполнена из материала, обычно считающегося изоляционным, например из пластмассы. Трубка напитка 44 может иметь относительно короткую длину между термоохладителем 26 и блоком 32, например длину приблизительно 2,5 м, и может иметь относительно маленький (очень маленький) внутренний объем, например по существу 15 мл, и может поэтому иметь внутреннюю область поперечного сечения около 6 мм2.
Когда устройство 2 не доставляет напиток к насадке 34, жидкий напиток может находиться в трубке 44 готовым к разливу. В таком статическом состоянии температура напитка будет, как правило, подниматься так, чтобы быть выше желаемой температуры распределения, поскольку, хотя напиток поддерживается холодным с помощью воды, непрерывно проходящей сквозь рубашку 72 при около 0°С, это выше, чем переохлажденная температура распределения, и также немного выше температуры замерзания напитка, которая в этом случае находится около -2°С. Нагрев неподвижного переохлажденного напитка до этой температуры, следовательно, помогает гарантировать, что напиток, который находится неподвижно в трубке 44, не замерзнет. Но объем напитка, находящегося в трубке 44, настолько мал (в сравнении с желаемым измеренным доставленным объемом), что, когда система управления устанавливает, что термоэлектрический охладитель 26 работает так, что он будет выдавать выход напитка при желаемой переохлажденной температуре, устройство начинает разливать напиток, и небольшой объем напитка более высокой температуры подавляется в стакане G гораздо большим объемом при желаемой более низкой температуре так, что суммарный измеренный объем находится по существу при желаемой более низкой температуре.
Напиток может поступать в резервуар 14 для воды через «Питон» при температуре напитка от по существу 6°С до 12°С, и напиток может выходить из резервуара и поступать в термоохладитель 26 при температуре напитка от по существу 0,5°С до 1,5°С. Термоэлектрический охладитель 26 может работать так, что напиток выходит из охладителя 26 при температуре напитка от по существу -4°С до -4,5°С для подачи к блоку 32; термоэлектрический охладитель 26 при функционировании может иметь холодные соединения с эффектом Пельтье при температуре в желательном диапазоне от по существу -4°С до -7°С, и этот диапазон соблюдается с помощью вышеупомянутых термостатических средств. Таким напитком может быть пиво, например светлое пиво (лагер), которое может иметь крепость по существу 5% от объема. Охладитель 26 может работать только тогда, когда сигнал с панели управления 40 показывает, что требуется разлив напитка, в противном случае, когда распределение напитка не требуется, средства синхронизации в системе управления могут выключить термоэлектрический охладитель.
Вышеописанный блок или модуль 8 является компактным и относительно легким по весу. Например, оболочка 10А, 10В может быть формы параллелепипеда по существу 790 мм длиной (или шириной), по существу 470 мм глубиной и по существу 355 мм высотой. Вес модуля, включая оболочку 10А, 10В (и включая или не включая охладитель 14), может быть меньше 50 кг, например по существу 45 кг. Такой модуль может быть установлен на полке, например, в области бара напитков и/или под барной стойкой. Другие преимущества заключаются в том, что модуль 8 имеет несколько подвижных частей, и не требуется теплообменник, охлаждающий напиток, или охладитель в блоке 32 или около него. Также, так как напиток в трубке 44 неподвижен, когда не требуется распределение напитка, не требуются и насосы или другие средства управления, которые бы обычно использовались при циркуляции напитка, и, если напиток является пивом, например светлым пивом, качество пива может быть улучшено тем, что нет циркуляции. Кроме того, сложные электронные средства управления теперь главным образом должны находиться в блоке 28 управления в модуле 8, а не в блоке 32.
Фиг.2 показывает второй пример воплощения изобретения. Этот пример воплощения подобен первому в некоторых аспектах, и соответствующие компоненты указываются теми же позициями, увеличенными на 100. Основное отличие второго примера воплощения заключается в расположении термоэлектрического охладителя 126 и способе передачи напитка и охлаждающей жидкости к блоку 132.
Термоэлектрический охладитель 126 расположен рядом с блоком 126 и удален от резервуара хладагента 112, который расположен под барной стойкой, как в предыдущем примере воплощения. Трубка напитка 130 после прохождения через резервуар хладагента 112 ведет к термоэлектрическому охладителю 126 через «Питон» 180, который показан в разрезе на фиг.2а и образован рядом параллельных трубок, расположенных в изолирующей оболочке 182. Подводящая труба хладагента 167 из резервуара 112 к термоэлектрическому охладителю 126 и возвратная труба хладагента 176 от термоэлектрического охладителя 126 обратно к резервуару 112 формируют две дополнительные трубки в «Питоне» 180. Подающая трубка 158 для охлаждающей воды образует четвертую трубку в «Питоне» 180. «Питон» 180, следовательно, проходит по существенной части расстояния от резервуара 112 до блока 132. Трубка 144 напитка от термоэлектрического охладителя 126 к насадке 134 относительно короткая, что имеет преимущество в том, что объем напитка, который остается неподвижным в подводящей трубке между последующими циклами распределения, является относительно маленьким. В этой области трубки 144 напитка переохлажденный неподвижный напиток нагревается до температуры выше ее температуры замерзания в силу того, что находится в термическом контакте с воздухом при окружающей температуре. «Питон» 180 может поэтому быть длиннее, чем участки трубки, заключенные в рубашку в первом воплощении, без значительного воздействия на качество и температуру напитка. В этом примере воплощения «Питон» имеет длину 5 м. Так как трубки 144, 158, 167, 176 в «Питоне» находятся в термическом контакте друг с другом и термически изолированы оболочкой 182, напиток и охлаждающая вода в «Питоне» поддерживаются холодными с помощью жидкого хладагента 114. Как и в первом примере воплощения, жидкостный хладагент также отводит тепло от термоэлектрического охладителя 126 и возвращает его к резервуару с хладагентом.
Важно отметить, что трубопровод «Питон» второго примера воплощения мог бы быть использован вместо системы трубопровода охлаждающей рубашки первого примера воплощения и наоборот.
Формула изобретения
1. Устройство для подачи охлажденного напитка к сосуду (G), включающее охлаждающие средства (26; 126) для охлаждения напитка и систему трубопроводов (44; 144) для подачи напитка от охлаждающих средств к выходному отверстию (34; 134), причем устройство выполнено с возможностью разливать напиток, по меньшей мере, в одном предопределенном объеме, и система трубопроводов имеет емкость, которая по существу меньше упомянутого, по меньшей мере, одного предопределенного объема, и система трубопроводов содержит однонаправленную линию подачи напитка, имеющую охлаждающие средства на одном конце и выходное отверстие для напитка на другом конце, причем система трубопроводов (44) имеет длину меньше, чем 5 м.
2. Устройство по п.1, в котором система трубопроводов (44) имеет длину меньше, чем по существу 3 м.
3. Устройство по п.1, в котором система трубопроводов (44) имеет емкость меньшую, чем по существу 20 мл.
4. Устройство по п.1, в котором охлаждающие средства (26) включают термоэлектрические охлаждающие средства (26), приспособленные для того, чтобы охлаждать напиток или переохлаждать напиток.
5. Устройство по п.1, дополнительно содержащее резервуар (12; 112) хладагента и первый трубопровод (30; 130), выходящий из резервуара хладагента и располагающийся так, чтобы доставлять напиток к охлаждающим средствам (26; 126), и второй трубопровод (44; 144), содержащий систему трубопроводов подачи выхода напитка, размещенный так, чтобы передавать напиток от охлаждающих средств к выпускному отверстию.
6. Устройство по п.3, в котором охлаждающие средства выполнены с возможностью охлаждения напитка термоэлектрически до температуры ниже 0°С.
7. Устройство по п.5, включающее компактный модуль (8; 108), содержащий резервуар (12; 112) и термоэлектрические охлаждающие средства (26; 126).
8. Устройство по п.7, в котором компактный модуль (8; 108) дополнительно содержит холодильные средства (16; 116) для охлаждающего хладагента в резервуаре.
9. Устройство по п.7, в котором компактный модуль расположен внутри реальной или воображаемой оболочки, которая по существу имеет форму параллелепипеда.
10. Устройство по п.9, в котором форма параллелепипеда имеет объем меньше 0,5 м3.
11. Устройство по п.7, в котором компактный модуль имеет вес меньше, чем по существу 50 кг.
12. Устройство по п.5, включающее средства (68, 70, 72, 74, 76) для переноса хладагента, предусмотренные для переноса жидкого хладагента так, чтобы он отводил тепло от термоэлектрических охлаждающих средств (26) и возвращался в резервуар (12).
13. Устройство по п.12, в котором, по меньшей мере, часть первого (30) или второго трубопровода (44) расположены так, чтобы быть в термическом контакте с жидким хладагентом из резервуара (12).
14. Устройство по п.13, включающее несущие хладагент средства (68, 70, 72, 74, 76), предусмотренные для возврата охлаждающей жидкости в резервуар после того, как она входит в термический контакт с первым или вторым трубопроводом.
15. Устройство по п.13, дополнительно включающее трубопровод хладагента (72), предусмотренный для протекания хладагента, когда он находится в термическом контакте с первым или вторым трубопроводом.
16. Устройство по п.15, в котором трубопровод хладагента (72) содержит рубашку (72) жидкого хладагента, которая окружает первый или второй трубопровод для образования рубашки для напитка (72).
17. Устройство по п.5, в котором во втором трубопроводе напиток находится в термическом контакте со средой, которая находится при температуре выше, чем точка замерзания напитка.
18. Устройство по п.17, в котором среда представляет собой воздух или жидкий хладагент.
19. Способ подачи охлажденного разливного напитка к сосуду (G), содержащий охлаждение или переохлаждение напитка в охлаждающих средствах (26, 126), подачу напитка от охлаждающих средств к выпускному отверстию (34; 134) для распределения через систему трубопроводов (44; 144), в которых некоторая часть напитка находится в системе трубопроводов в статическом состоянии до его распределения, причем напиток разливают, по меньшей мере, в одном предопределенном объеме, и объем напитка, который находился в статическом состоянии в системе трубопроводов (44; 144), значительно меньше упомянутого, по меньшей мере, одного предопределенного объема, при этом напиток, который находился в статическом состоянии, поддерживается в системе трубопроводов подачи напитка, которая имеет длину меньше, чем 5 м.
20. Способ по п.19, содержащий перемещение разливного напитка по системе трубопроводов к выпускному отверстию и охлаждение разливного напитка в ходе его перемещения, по меньшей мере, по части длины системы трубопроводов, причем указанное охлаждение содержит использование объема жидкого хладагента для отведения тепла от напитка и использование термоэлектрического эффекта для отведения тепла от напитка.
21. Способ по п.20, в котором разливной напиток охлаждают с помощью упомянутого объема жидкого хладагента до его охлаждения с помощью термоэлектрического эффекта.
22. Способ по п.20, в котором до или после охлаждения термоэлектрическим эффектом в области термоэлектрического охлаждения охлажденный напиток подвергают термическому контакту с трубопроводом хладагента, несущего жидкий хладагент.
23. Способ по п.20, в котором до охлаждения термоэлектрическим эффектом и после охлаждения объемом жидкого хладагента напиток подают по трубопроводу, по которому также подается жидкий хладагент.
24. Способ по п.23, в котором жидкий хладагент подают так, что он отводит тепло, извлеченное термоэлектрическим эффектом.
25. Способ по п.23, в котором хладагентом является вода.
26. Способ по п.19, в котором напиток переохлаждается, причем упомянутое охлаждение осуществляется термоэлектрически.
27. Способ по п.26, в котором напиток имеет содержание растворенного газа, и упомянутое переохлаждение предусмотрено для уменьшения пенообразования распределяемого напитка в сосуде.
28. Способ по п.26, в котором измеряют температуру напитка, охлажденного при помощи термоэлектрического эффекта, и задерживают распределение напитка до тех пор, пока измеренная температура не уменьшится до, по меньшей мере, предопределенного значения.
29. Способ по п.28, в котором упомянутое предопределенное значение лежит в диапазоне от по существу -4,0°С до по существу -4,5°C.
30. Способ по п.20, в котором жидкий хладагент в упомянутом объеме находится при температуре по существу 0°С.
31. Способ по п.22, в котором жидкий хладагент подают к трубопроводу для хладагента при температуре по существу 0°С.
32. Способ по п.20, в котором термоэлектрическим эффектом является эффект Пельтье.
33. Способ по п.26, в котором напиток переохлаждают, по меньшей мере, до температуры по существу 1,5°С ниже его температуры замерзания при окружающем атмосферном давлении.
34. Способ по п.20, в котором отведение тепла от напитка с использованием термоэлектрического эффекта выполняют на этапе удаления тепла, вводя напиток в переохлажденное состояние.
35. Способ по п.19, в котором напиток охлаждают до температуры ниже -3,0°С.
36. Способ распределения предопределенного объема охлажденного напитка в питьевой сосуд G, содержащий: охлаждение напитка в охлаждающей области линии подачи напитка, ведущей к распределительной насадке (34), из которой напиток разливается, причем охлаждающая область линии подачи имеет относительно маленький объем в сравнении с упомянутым предопределенным объемом, окончание первой операции распределения напитка с помощью распределительной насадки (34), уменьшение охлаждения напитка, предусмотренного в охлаждающей области во время не распределительного периода работы насадки, таким образом, позволяя напитку удерживаться в охлаждающей области линии подачи напитка для нагрева под влиянием окружающей температуры после окончания первой фазы распределения, причем нагретый напиток содержит оставшийся напиток в охлажденной области, распределение во второй операции распределения другого предопределенного объема напитка в питьевой сосуд G через распределительную насадку (34), увеличение охлаждения напитка, обеспеченное охлаждающей областью во второй операции распределения в сравнении с охлаждением, обеспеченным охлаждающей областью во время не распределительного периода, причем предопределенный объем, распределенный в питьевой сосуд G, содержит оставшийся напиток и также дополнительный напиток, который прошел через охлаждающую область во время второй операции распределения и был охлажден в охлаждающей области, упомянутый дополнительный напиток подают при температуре более холодной, чем та, при которой распределяют оставшийся объем, и объемы оставшегося объема и дополнительного объема являются такими, что распределенный объем напитка, подаваемый во второй операции распределения, имеет температуру, которая по существу не подвергается влиянию разности температур между подаваемым оставшимся объемом и подаваемым дополнительным объемом при их распределении.
РИСУНКИ
PC4A – Регистрация договора об уступке патента СССР или патента Российской Федерации на изобретение
Прежний патентообладатель:
КУРС ЮРЕПИЭН ПРОПЕРТИЗ ГмбХ (CH)
(73) Патентообладатель:
Курс Брюинг Компани (US)
Договор № РД0055009 зарегистрирован 29.09.2009
Извещение опубликовано: 10.11.2009 БИ: 31/2009
|
|