|
|
(21), (22) Заявка: 2003124586/11, 07.08.2003
(24) Дата начала отсчета срока действия патента:
07.08.2003
(30) Конвенционный приоритет:
08.08.2002 (пп.1-13) DE 10236584.9
(43) Дата публикации заявки: 27.02.2005
(46) Опубликовано: 27.10.2007
(56) Список документов, цитированных в отчете о поиске:
ЕР 0525926 А, 03.02.1993. DE 3905324 A1, 23.08.1990. PR 1406331 A, 16.07.1965. US 5871261 A, 16.02.1999. SU 532692, 25.10.1976.
Адрес для переписки:
129010, Москва, ул. Б.Спасская, 25, стр.3, ООО “Юридическая фирма Городисский и Партнеры”, пат.пов. Е.И.Емельянову
|
(72) Автор(ы):
ФОРШТЕЕР Дирк (DE), МЕРТЕН Герхард (DE), ФИШЕР Франк (DE), ВИРТЦ Йорг (DE), ШМИДТ Зигфрид (DE), БРОСЦАТ Мартин (DE), ХЕФФЕРАН Альфред (US), КОБЛИ Джон (GB), МАКЭНДРЮ Элистер (GB), ЛОСБРОДТ Олаф (DE)
(73) Патентообладатель(и):
ДБТ ГМБХ (DE)
|
(54) СЕКЦИЯ ЖЕЛОБА ДЛЯ ТРАНСПОРТЕРА
(57) Реферат:
Изобретение относится к секции желобов для подземных забойных и/или штрековых транспортеров. Секция желоба с парой состоящих из литых деталей боковин, которые содержат проходящую по высоте нижней и верхней ветвей прилитую вертикальную полку, выступающую наружу нижнюю прилитую фланцевую полку, выступающий внутрь прилитый подошвенный фланец, к нижней стороне которого приварен замыкающий нижнюю ветвь вниз лист днища, а также прилитые к торцевым сторонам приемные карманы, и с состоящим преимущественно из катаного листа днищем транспортного желоба. Последний содержит на обеих продольных сторонах серьгообразные сегменты, которые входят в шлицевые выемки в вертикальных полках боковин и сварены на наружной стороне боковин с ними. Фланцевые полки на нижней стороне снабжены уменьшающими вес выемками, а к боковинам в зоне верхней ветви приварены боковые и/или закрывающие профили. Достигается улучшение конструкции. 12 з.п. ф-лы, 6 ил.
Изобретение относится к секции желоба для подземных забойных и/или штрековых транспортеров с парой состоящих из литых деталей боковин, которые содержат проходящую по высоте нижней и верхней ветвей прилитую вертикальную полку, выступающую наружу нижнюю прилитую фланцевую полку, выступающий внутрь прилитый подошвенный фланец, к нижней стороне которого приварен замыкающий нижнюю ветвь вниз лист днища, а также прилитые к торцевым сторонам приемные элементы соединительных средств секции желоба, и с состоящим преимущественно из катаного листа днищем транспортного желоба.
Вышеописанная секция желоба, состоящая, с одной стороны, из литых деталей, и, с другой стороны, из катаных деталей, называется в кругах специалистов гибридной секцией и известна, например, из DE 3905324 А1. Гибридные секции обходятся небольшим числом сварных швов, поскольку вся конструкция боковины, при необходимости, включая боковые ограничения для ведения скребков в нижней ветви и приемные или воротковые карманы, образующие части соединительных средств секции, может быть выполнена за одно целое литьем. К боковинам необходимо приварить лишь днище транспортного желоба и лист днища нижней ветви. У описанной вначале гибридной секции желоба к боковине со стороны груди очистного забоя приварен машинный путь, а к боковине со стороны закладки – присоединительная консоль, а для присоединения днища транспортного желоба вертикальная полка обеих боковин имеет на внутренней стороне ребро, выступающее до торцевой поверхности подошвенного фланца и верхнего, ограничивающего верхнюю ветвь, профильного ребра вертикальной полки.
Задачей изобретения является создание секции желоба в конструкции гибридной секции, которая в отношении своего общего веса, числа необходимых сварных швов и размещения днища транспортного желоба обеспечивала бы преимущества по сравнению с известными решениями.
Эта задача решается посредством признаков изобретения, приведенных в п.п. 1 и 3 формулы. Предпочтительные выполнения приведены в зависимых пунктах формулы. В соответствии с первым решением согласно изобретению днище транспортного желоба содержит на обеих продольных сторонах серьгообразные сегменты, которые входят в шлицевые выемки вертикальных полок боковин и на наружной стороне боковин сварены с ними. Поскольку сегменты входят в шлицевые выемки, достигается надежное и технологически благоприятное поддержание днища транспортного желоба на боковинах, причем, в частности, для автоматизированного производства за счет комбинации сегментов, продольных сторон и шлицевых выемок может быть обеспечено не только постоянное положение днища транспортного желоба по высоте, но и постоянное расстояние между боковинами. В предпочтительном выполнении фланцевые полки снабжены на нижней стороне уменьшающими вес выемками, так что общий вес соответствующих секций желоба, несмотря на состоящие из литых деталей боковины, может поддерживаться сравнительно низким.
У альтернативного решения согласно изобретению днище транспортного желоба приварено к вершине внутренней стороны, по существу, W-образной прилитой вертикальной полки, а прилитая фланцевая полка снабжена на своей нижней стороне уменьшающими вес выемками. Также здесь для автоматизированного производства можно за счет положения вершины обеспечить постоянную высоту днища транспортного желоба.
В предпочтительном выполнении, по меньшей мере, боковина со стороны груди очистного забоя снабжена машинным путем для добычной машины. Встроенный машинный путь предпочтителен, в частности, тогда, когда секция желоба должна применяться для забойного транспортера. Для автоматизированного производства при низких расходах на литейные формы и хранение на складе может дать преимущество, однако, и выполнение всех секций желоба, как для забойного транспортера, так и для штрекового, идентичными друг другу, по меньшей мере, в литых деталях. У одной формы выполнения согласно изобретению машинный путь может быть неотъемлемой составной частью фланцевой полки и быть образован ее верхней стороной, т.е. предусмотрен уже в литой детали боковины со стороны груди очистного забоя. Преимущество выполненного на нижней фланцевой полке машинного пути в том, что он опирается непосредственно на лежачий бок, а вертикальная полка боковин может быть выполнена тогда сравнительно тонкостенной. В качестве альтернативы машинный путь может быть неотъемлемой составной частью вертикальной полки, которая имеет для этого концевой отрезок Т-образного сечения и образует с верхней стороной поперечной полки машинный путь. Соответствующее выполнение обеспечивает более короткую, в целом, конструктивную форму секции и тем самым всего цепного скребкового транспортера.
Для секций желобов, используемых в подземных горных разработках для транспортировки угля и т.п., известно, что из-за абразивных свойств транспортируемого материала износ боковин в нижней ветви существенно меньше, чем возникающий износ верхней ветви. У одной предпочтительной формы выполнения согласно изобретению к боковинам в зоне верхней ветви с возможностью замены приварены поэтому боковые и/или закрывающие профили, по которым своими концами направляются скребки в верхней ветви, а внутренние стороны которых имеют соответствующую концам скребков форму профиля. У одного выполнения боковые и закрывающие профили могут состоять при этом из отдельных элементов, причем преимущественно закрывающие профили своими закрывающими сторонами образуют машинный путь. В качестве альтернативы дополнительно вертикальные полки могут иметь концевой отрезок Т-образного сечения или ступеньку и т.п., к которой, опираясь на них, прилегают закрывающие профили. Далее в качестве альтернативы боковые и закрывающие профили могут быть также неотъемлемой составной частью Т-образного в сечении катаного профиля, который может быть с возможностью замены приварен к боковинам в зоне верхней ветви.
У всех форм выполнения секций желоба согласно изобретению приемные элементы состоят предпочтительно из открытых на краях, прилитых карманов, в которые помещают, в частности, воротки с головными утолщениями на обоих концах. Особенно благоприятно при этом, если карманы заканчиваются заподлицо с верхним концевым отрезком вертикальных полок и придают жесткость боковинам по всей высоте. Целесообразно состоящие из литых деталей боковины в качестве дополнительного усиления приемных карманов снабдить тогда прилитыми вертикальными ребрами и/или прилитыми контропорами, причем вертикальные ребра будут снабжены выемками, в которых могут быть закреплены подъемные механизмы и т.п. Выемки в вертикальных ребрах и т.п. уменьшают в то же время общий вес отлитых боковин и, следовательно, также выполненные гибридной конструкции секции. Как в случае секций с W-образными вертикальными фланцами, так и в случае секций со шлицевыми выемками в вертикальных полках, секции желобов могут иметь над подошвенным фланцем, по существу, постоянную по высоте нижней и верхней ветвей толщину. В частности, у снабженных сменными боковыми и/или закрывающими профилями секций толщина вертикальной полки в зоне верхней ветви может быть также существенно меньше ее толщины в зоне нижней полки. У формы выполнения секций с W-образными боковинами особенно предпочтительно, если вершина W-образной вертикальной полки расположена со смещением наружу относительно внутренних торцевых поверхностей подошвенного фланца и верхнего конца ребра, так что днище транспортного желоба по всей ширине секции образует опорную поверхность для транспортируемого угля и т.п., и движущихся скребков. При выполнении секций желобов со сменными боковыми профилями в верхней ветви отрезок вертикальной полки в зоне верхней ветви смещен наружу относительно отрезка вертикальной полки в зоне нижней ветви на толщину бокового профиля, так что в верхней и нижней ветвях размеры для движущихся скребков одинаковы.
Другие преимущества и выполнения секции желоба согласно изобретению приведены в последующем описании примеров выполнения, схематично изображенных на чертеже, на котором представляют:
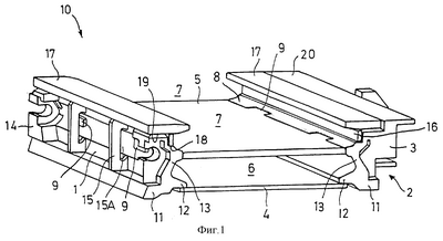
– фиг. 1: в перспективе секция желоба гибридной конструкции в первом примере выполнения;
– фиг. 2: в перспективе секция гибридной конструкции во втором примере выполнения;
– фиг. 3: схематично вертикальный разрез боковины секции желоба со стороны груди очистного забоя в третьем примере выполнения;
– фиг. 4: схематично вертикальный разрез боковины секции желоба со стороны груди очистного забоя в четвертом примере выполнения;
– фиг. 5: схематично вертикальный разрез одной из боковин секции в пятом примере выполнения;
– фиг. 6: схематично вертикальный разрез секции в шестом примере выполнения.
Обозначенная на фиг. 1 поз. 10 секция гибридной конструкции в выполнении для забойного транспортера содержит выполненную в виде литой детали боковину 1 со стороны груди очистного забоя и выполненную в виде литой детали боковину 2 со стороны закладки, которая посредством прилитого, лишь обозначенного упора 3 может быть присоединена к шагающему брусу подземной крепи (не показана). К обеим боковинам 1,2, как это само по себе известно, приварен лист 4 днища и закреплено днище 5 транспортного желоба, причем лист 4 днища ограничивает вниз нижнюю или холостую ветвь 6 цепного скребкового транспортера, а днище 5 транспортного желоба – верхнюю или рабочую ветвь 7 цепного скребкового транспортера. У цепного скребкового транспортера движутся, как известно и не показано, присоединенные к скребковой цепи скребки, которые направляются своими концами в специальных профильных формах, выполненных в боковинах 1,2. Основная конструкция обеих боковин поэтому в сечении приблизительно идентична, и обе боковины 1,2 содержат выступающую наружу нижнюю фланцевую полку 11, выступающий внутрь прилитый подошвенный фланец 12, к нижней стороне которого приварен лист 4 днища, и вертикально выступающую, проходящую по нижней 6 и верхней 7 ветвям, вертикальную полку 13. Как хорошо видно на фиг. 1, прилитая вертикальная полка 13 снабжена на отрезке под днищем 5 транспортного желоба на внутренней стороне выпуклостью, которая соответствует форме профиля концов скребков и образует в зоне нижней ветви 6 направляющую для скребков. Само днище 5 транспортного желоба имеет на обеих своих продольных сторонах 8 четыре серьгообразных сегментных выступа 9, которые проходят через шлицевые выемки на среднем отрезке вертикальной полки 13 и на наружной стороне вертикальной полки 13 приварены к боковинам 1,2 сварными швами (не показаны). Сидящие в шлицевых выемках сегменты 9 поддерживают днище 5 транспортного желоба на боковинах 1,2, а сварное соединение между днищем 5 транспортного желоба и боковинами 1, 2 лежит в защищенной зоне вне ветвей 6,7. Обе боковины 1,2, как это видно по боковине 1 со стороны закладки, имеют на обеих торцевых сторонах прилитые приемные карманы 14, в которые могут быть помещены воротки соединительных средств секции желоба для соединения прочно на растяжение установленных друг за другом секций 10. Приемные карманы 14 придают жесткость боковинам 1,2 вместе с вертикальными ребрами 15, которые снабжены уменьшающими вес и обеспечивающими закрепление подъемных механизмов выемками 15А. В качестве другой особенности направляющие профили для скребков в верхней ветви 7 выполнены в виде сменных изнашивающихся деталей. Для этого к внутренним сторонам верхних отрезков вертикальных полок 13 с возможностью замены приварены образованные изнашивающимися планками боковые 16 и закрывающие 17 профили. Как планкообразные боковые профили 16, так и закрывающие профили 17 прилегают к ступенькам 18,19 на верхнем отрезке вертикальной полки 13. Закрывающие профили 17 поддерживаются в вертикальном направлении также вертикальными ребрами 15. Закрывающие 17 и боковые 16 профили выполнены на внутренних и нижних сторонах таким образом, что они повторяют форму профиля концов скребков. Закрывающие профили 17 могут одновременно образовывать своими верхними сторонами машинный путь, который у изображенной на фиг. 1 секции 10 может быть еще продолжен горизонтальным ребром 20, прилитым к вертикальной полке 13 боковины 2 со стороны закладки. Фланцевые полки 11 обеих боковин 1,2 снабжены на нижней стороне уменьшающими вес выемками (не показаны). Форма профиля боковин 1,2, в частности выполнение фланцевых полок 11, подошвенного фланца 12 и вертикальной полки 13, может варьироваться, не выходя за пределы объема охраны прилагаемой формулы изобретения.
На фиг. 2 в перспективе изображен второй пример выполнения секции 60 желоба с состоящими из литых деталей боковинами 51,52, содержащими фланцевую полку 61, подошвенный фланец 62 и вертикальную полку 63, причем к нижней стороне подошвенных фланцев 62 приварен лист 64 днища, который содержит на продольных сторонах сегменты 59, проходящие через шлицевые выемки в вертикальной полке 63 и приваренные к наружной стороне боковин 51,52. Прилитые приемные карманы 64 проходят здесь своей закрывающей поверхностью 75 до высоты машинного пути, образованного закрывающей стороной Т-образных боковых профилей 77. Приблизительно Т-образные в сечении боковые профили 77 содержат приблизительно вертикально ориентированную профильную стенку 78 и горизонтально ориентированную поперечную полку 79. Выступающий наружу уступ 80 поперечной полки 79 опирается на уступ 68, выполненный на верхнем концевом отрезке вертикальных полок 63. Оба, состоящих, например, из катаных профилей, Т-образных боковых профиля 77 могут быть соединены выполняемым механическим путем продольным сварным швом с закрывающей плитой 70 и/или другими участками литых боковин 51,52. Для замены боковых профилей 77 эти продольные сварные швы механическим путем разрезают. Стенки 78 заканчиваются в зоне сегментов 59 непосредственно над ними и, при необходимости, закрывают их.
В примере выполнения по фиг. 3 из секции 110 показана только боковина 101 со стороны закладки, которая содержит здесь сравнительно вытянутую, приблизительно L-образную прилитую фланцевую полку 111, сравнительно короткий подошвенный фланец 112 и вертикальную полку 113, выполненную приблизительно с одинаковой толщиной профиля. Ограничивающий нижнюю ветвь 106 вниз лист 104 днища приварен продольными сварными швами под подошвенным фланцем 112, а на нижней стороне фланцевой полки 111 хорошо видны уменьшающие вес выемки 130. Также здесь днище 105 транспортного желоба содержит выступающие за его торцевые стороны сегменты 109, которые проходят через шлицевые выемки 135 в вертикальной полке 113 боковины 101 и сварены с наружной стороной вертикальной полки 113 продольными сварными швами 136,137. Приемные карманы 114, прилитые ко всем торцевым концам секции 110, выполнены на своей верхней стороне скошенными и переходят заподлицо в закрывающую сторону 121 концевого отрезка 122 вертикальной полки 113. Машинный путь образован верхней стороной 140 свободного и выступающего за приемные карманы 114 отрезка фланцевой полки 111.
Секция 160 по фиг. 4 имеет, в основном, ту же конструкцию, что и секция по фиг. 3. В отличие от предыдущего примера выполнения верхняя ветвь 157 ограничена сплошной и состоящей, например, из катаного профиля, профилированной изнашивающейся планкой 176, которая двумя продольными сварными швами 191,192 приварена к верхней стороне днища 155 транспортного желоба или к внутренней торцевой поверхности 173 верхнего конца 172 стенки верхнего отрезка 163А вертикальной полки 163. Этот верхний отрезок 163А вертикальной полки 163 смещен относительно нижнего, здесь также более толстого отрезка вертикальной полки 163 на толщину профильной планки 176, так что образованные боковинами 151 направляющие каналы для концов скребков в нижней 156 и верхней 156 ветвях имеют одинаковые размеры.
В примере выполнения секции 210 по фиг. 5 верхняя ветвь 207 ограничена непосредственно отрезком 213А вертикальной полки 213. Верхний отрезок 213А вертикальной полки имеет здесь Т-образное сечение, содержащее проходящую до днища 205 транспортного желоба, соответствующую форме профиля концов скребков на внутренней стороне профильную стенку 228 и горизонтальную полку 229, которая проходит относительно стенки 228 как внутрь, так и выступом 230 наружу. Верхняя сторона 240 горизонтальной полки 229 может образовывать машинный путь, а прилитый приемный карман 214 проходит между фланцевой полкой 211 и выступом 230, дополнительно поддерживая машинный путь. Наружная сторона 214′ приемного кармана 214 выполнена скошенной, так что она переходит заподлицо в подошвенный уступ 295 на фланцевой полке 211 и в наружную торцевую поверхность 296 на выступе 230 горизонтальной полки 229. В отличие от предыдущих примеров выполнения на фиг. 5 показано также, что подошвенный фланец 212 может проходить также сравнительно далеко внутрь нижней ветви 206.
У изображенной на фиг. 6 секции 260 желоба c состоящей из литой детали боковиной 251 со стороны груди очистного забоя и второй идентичной боковиной со стороны закладки (не показана) вертикальная полка 263 имеет в сечении W-образный профиль, а днище 255 транспортного желоба приварено к вершине 297 этой W-образной в сечении вертикальной полки 263. Продольные стороны днища 255 транспортного желоба могут для этого сходиться под острым углом или могут иметь фаску, с тем чтобы создать на верхней и нижней сторонах пазы, благоприятные для сварки продольными сварными швами 286,287. Продольные сварные швы 286,287 лежат внутри ветвей. Толщина вертикальной полки 263 до внутренней торцевой поверхности 298 на верхнем конце 272 вертикальной полки 263 приблизительно постоянна, а положение приваривания днища 255 транспортного желоба к вершине 297 смещено наружу относительно верхней 298 и нижней 299 внутренних торцевых поверхностей конца 272 вертикальной полки 263 или подошвенного фланца 262. Замена днища 255 транспортного желоба обновляет тогда всю нижнюю направляющую поверхность для скребков и транспортируемого материала.
Для специалиста из предшествующего описания вытекает ряд модификаций, которые должны подпадать под объем охраны прилагаемой формулы изобретения. Чертежи изображают только примеры выполнения. Размеры, толщина и формы профилей отдельных литых деталей могут варьироваться, и в литых деталях могут быть предусмотрены дополнительные, уменьшающие вес выемки.
Формула изобретения
1. Секция желоба для подземных забойных и/или штрековых транспортеров с парой состоящих из литых деталей боковин, которые содержат проходящую по высоте нижней и верхней ветвей вертикальную полку, выступающую наружу нижнюю фланцевую полку, выступающий внутрь подошвенный фланец, к нижней стороне которого приварен замыкающий нижнюю ветвь вниз лист днища, а также прилитые к торцевым сторонам приемные элементы соединительных средств секции желоба, и с состоящим предпочтительно из катаного листа днищем транспортного желоба, причем днище (5; 55; 105; 155; 205) транспортного желоба содержит на обеих продольных сторонах серьгообразные сегменты (9; 59; 109), которые входят в шлицевые выемки (135) в вертикальных полках (13; 63; 113; 163; 213) боковин (1; 51; 101; 151) и на наружной стороне боковин сварены с ними, отличающаяся тем, что фланцевые полки (11; 61; 111; 211) снабжены на нижней стороне уменьшающими вес выемками (130), и к боковинам (1, 2; 51, 52; 163) в зоне верхней ветви (7; 157) приварены боковые и/или закрывающие профили (16, 17; 77; 176), по которым в нижней ветви своими концами направляются скребки, а внутренние стороны которых имеют соответствующую концам скребков форму профиля.
2. Секция по п.1, отличающаяся тем, что по меньшей мере боковина (1, 2; 51, 52; 101; 151; 201; 251) со стороны очистного забоя снабжена машинным путем для добычной машины.
3. Секция по п.2, отличающаяся тем, что машинный путь является неотъемлемой составной частью фланцевой полки (111; 261) и образован ее верхней стороной (140).
4. Секция по п.3, отличающаяся тем, что машинный путь является неотъемлемой составной частью вертикальной полки (213), которая имеет для этого концевой отрезок Т-образного сечения и образует с верхней стороной (240) поперечной полки (229) машинный путь.
5. Секция по одному из пп.1-4, отличающаяся тем, что боковые и закрывающие профили (16, 17) состоят из отдельных элементов, причем преимущественно закрывающие профили (17) образуют своими закрывающими сторонами машинный путь.
6. Секция по одному из пп.1-5, отличающаяся тем, что вертикальные полки (13; 63) имеют концевой отрезок Т-образного сечения или ступеньку (18; 19; 68) и т.п., к которой, опираясь на нее, прилегают закрывающие профили (17; 77).
7. Секция по одному из пп.1-6, отличающаяся тем, что боковые и закрывающие профили являются неотъемлемой составной частью Т-образного в сечении катаного профиля (77).
8. Секция по одному из пп.1-7, отличающаяся тем, что приемные элементы состоят из открытых на краях, прилитых карманов (14; 64; 114; 214).
9. Секция по п.8, отличающаяся тем, что карманы (114; 214) заканчиваются заподлицо с верхним концевым отрезком вертикальной полки (113, 213) и придают жесткость боковинам (1, 2; 51, 52; 101; 151; 201; 251) по всей высоте.
10. Секция по одному из пп.1-9, отличающаяся тем, что боковины (1, 2; 51, 52) снабжены в качестве дополнительного усиления к приемным карманам (14; 64) прилитыми вертикальными ребрами (15).
11. Секция по п.10, отличающаяся тем, что вертикальные ребра (15) снабжены выемками (15А), в которых закрепляют подъемные механизмы.
12. Секция по одному из пп.1-11, отличающаяся тем, что вертикальные полки (113; 263) над подошвенным фланцем имеют по высоте нижней и верхней ветвей, по существу, постоянную толщину.
13. Секция по одному из пп.1-12, отличающаяся тем, что отрезок (163А) вертикальной полки в зоне верхней ветви (157) выполнен со смещением наружу относительно отрезка в зоне нижней ветви (156) на толщину бокового профиля (176).
РИСУНКИ
|
|