|
|
(21), (22) Заявка: 2004136848/11, 15.05.2003
(24) Дата начала отсчета срока действия патента:
15.05.2003
(30) Конвенционный приоритет:
16.05.2002 (пп.1-12) IT BO2002A000302
(43) Дата публикации заявки: 27.06.2005
(46) Опубликовано: 27.10.2007
(56) Список документов, цитированных в отчете о поиске:
US 4526317 A, 02.07.1985. US 5197935 A, 30.03.1993. DE 597002 C1, 15.05.1934. LU 33853 A, 02.09.1995. US 4121756 A, 24.10.1978. SU 147975 A1, 01.01.1962.
(85) Дата перевода заявки PCT на национальную фазу:
16.12.2004
(86) Заявка PCT:
EP 03/50165 (15.05.2003)
(87) Публикация PCT:
WO 03/097487 (27.11.2003)
Адрес для переписки:
129010, Москва, ул. Б.Спасская, 25, стр.3, ООО “Юридическая фирма Городисский и Партнеры”, пат.пов. С.А.Дорофееву, рег.№ 146
|
(72) Автор(ы):
ВАККАРИ Джорджо (IT), ПОЛЛОНИ Роберто (IT), ДРАГЕТТИ Фиоренцо (IT)
(73) Патентообладатель(и):
Г.Д СОЧИЕТА’ ПЕР АЦИОНИ (IT)
|
(54) КОРОБКА ДЛЯ ТАБАЧНЫХ ИЗДЕЛИЙ И СПОСОБ ЕЕ ИЗГОТОВЛЕНИЯ
(57) Реферат:
Коробка (1) сформирована из сложенного листового материала (9) и имеет стенку (7), определяемую внутренней частью (22) и внешней частью (21) листового материала, наложенными друг на друга. При этом часть внутренней части (22), накрытая соответствующей частью внешней части (21), вытянута с образованием впадины (27) с целью обеспечения толщины соответствующей части внешней части (21). Впадина (27) окружена соответствующей свободной внешней первой кромкой (29) и внутренней второй кромкой (30), соединенной с остальным указанным листовым материалом (9), и внешняя часть (21) имеет свободную третью кромку (31). При этом третья кромка (31) расположена с наружной стороны второй кромки (30) и компланарна с ней. Таким образом, соответствующая стенка (7) имеет по существу непрерывную внешнюю поверхность без ступенек или выступающих свободных кромок (31). 2 н. и 10 з.п. ф-лы, 9 ил.
Настоящее изобретение относится к коробке для табачных изделий.
Более конкретно, настоящее изобретение относится к коробке для табачных изделий, например, к пачке или картонной упаковке для сигарет, образованной складыванием листового материала, обычно заготовки, и содержащей, по меньшей мере, одну стенку с двойным слоем, определяемую внутренней частью и внешней частью листового материала, наложенными друг на друга, при этом, по меньшей мере, часть внутренней части накрыта соответствующей частью внешней части.
Настоящее изобретение имеет особые преимущества для производства пачек для сигарет с навесной крышкой, на которые в приводимом ниже описании даются ссылки исключительно в качестве примера.
Описание предшествующего уровня техники
В табачной индустрии известны пачки для сигарет с навесной крышкой, то есть пачки, содержащие основную часть и крышку, прикрепленные друг к другу вдоль линии соединения, изготовленные посредством сгибания плоской, по существу, прямоугольной заготовки, на которой две предварительно выполненные продольные линии или полосы сгиба, параллельные друг другу и продольной оси заготовки, определяют центральную основную часть, разделенную посредством множества предварительно выполненных в поперечном направлении линий сгиба и посредством указанной линии соединения на ряд секций, обычно содержащих первую переднюю секцию основной части, вторую нижнюю секцию основной части, третью заднюю секцию основной части, четвертую заднюю секцию крышки, соединенную с третьей секцией вдоль указанной линии соединения, пятую верхнюю секцию крышки, шестую переднюю секцию крышки и седьмую укрепленную секцию шестой секции.
Снаружи центральной основной части предварительно выполненные продольные линии или полосы сгиба определяют два первых клапана, соединенных с соответствующими продольными кромками первой секции; два вторых клапана, соединенных с соответствующими продольными кромками третей секции; два третьих клапана, соединенных с соответствующими продольными кромками четвертой секции; и два четвертых клапана, соединенных с соответствующими продольными кромками шестой секции.
Во время складывания заготовки каждый из выше упомянутых клапанов сгибается под прямым углом по отношению к соответствующей секции и накладывается на другой клапан для формирования соответствующей части боковой стенки пачки. Более конкретно, каждый первый клапан размещен на внешней поверхности соответствующего второго клапана и приклеен к ней, и каждый четвертый клапан размещен на внешней поверхности соответствующего третьего клапана и приклеен к ней для формирования на пачке двух противоположных боковых стенок, на каждой из которых видны свободные кромки внешних клапанов.
Тот факт, что свободные кромки видны, имеет как эстетические, так и функциональные недостатки. А именно: свободные кромки, с одной стороны, обычно имеют естественный цвет картона, из которого выполнена заготовка, в отличие от цвета/ов соседней внешней поверхности пачки, и с другой стороны, являются грубыми с тем, чтобы пачку было удобно брать при использовании окружающих материалов, и любой материал прозрачной обертки был гарантирован от слипания с внешней поверхностью пакета.
US 4526317 описывает коробку для сигарет в форме параллелепипеда, образованную посредством сгибания и складывания цельной заготовки из удобно нарезанного листа картона или другого жесткого, упругого и складываемого материала. Коробка содержит крышку в виде коробки, прикрепленную вдоль ее задней стенки; при этом внутренние стороны крышки содержат направляющие секции крышки, отделенные от сторон крышки, с боковыми частями точных угловых упоров, расположенных с возможностью скольжения между сторонами крышки и направляющими секциями крышки. В альтернативном варианте представлены сглаженные угловые упоры и верхняя часть фронтального участка основной части корпуса коробки.
US 5197935 описывает прозрачную упаковку, имеющую боковые стенки, а также верхние и нижние стенки, служащие в качестве крышки и дна соответственно, при этом боковая стенка и верх имеют уплотняющий шов, проходящий вдоль кромок соседних стенок; так что упаковка может иметь гладкую внешнюю поверхность в области уплотняющих швов, без образования синтетических пластмассовых отогнутых краев или им подобных, при этом внешние поверхности двух стенок, которые соединены друг с другом посредством уплотняющего шва, расположены с возможностью постоянно соединяться друг с другом через зазор вдоль, по меньшей мере, одной конечной поверхности кромки, которая принадлежит к соответствующей стенке, так что другие поверхности являются ровными в поперечном сечении, и в которой уплотняющий шов замаскирован внутри упаковки посредством синтетического пластмассового отогнутого края.
Сущность изобретения
Задачей настоящего изобретения является создание коробки для табачных изделий, разработанной для исключения упомянутых выше недостатков.
Для решения поставленной задачи служит предлагаемая коробка для табачных изделий по пункту 1 формулы изобретения и предпочтительно по любому из следующих пунктов формулы изобретения, зависящих непосредственно и/или косвенно от пункта 1.
Настоящее изобретение также относится к способу изготовления коробки для табачных изделий, как определено выше. Согласно настоящему изобретению предложен способ изготовления коробки для табачных изделий, как заявлено в пункте 6 формулы изобретения и предпочтительно в любом из следующих пунктов формулы изобретения, зависящих прямо и/или косвенно от пункта 6.
Краткое описание чертежей
Ряд не ограничивающих вариантов осуществления настоящего изобретения будет описан посредством примера со ссылкой на сопроводительные чертежи, в которых:
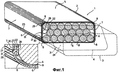
фиг.1 изображает поперечное сечение в перспективе предпочтительного варианта осуществления коробки согласно настоящему изобретению;
фиг.2 – вид сбоку варианта коробки фиг.1;
фиг.3 – заготовку, из которой изготавливается коробка согласно фиг.1;
фиг.4-6 изображают схему соответствующих способов изготовления заготовки согласно фиг.3;
фиг.7-9 подобны фиг.1 и изображают дополнительные варианты осуществления коробки согласно настоящему изобретению.
Предпочтительный вариант осуществления изобретения
Цифрой 1 на фиг.1 обозначена пачка сигарет с прикрепленной крышкой, содержащая сигареты А, уложенные во внутреннюю обертку В. Пачка 1 содержит основную часть 2 и крышку 3, связанные друг с другом по линии 4 соединения (фиг.3), и содержит переднюю стенку 5, заднюю стенку 6 и две вспомогательные боковые стенки 7, перпендикулярные к передней и задней стенкам 5 и 6 и соединенные с ними посредством закругленных продольных кромок 8.
Как показано на фиг.3, пачка 1 образована сгибанием плоской, по существу, прямоугольной заготовки 9, на которой две заранее выполненные продольные полосы 10 сгиба параллельны друг другу и продольной оси 11 заготовки 9, и для формирования закругленных кромок 8 определяют центральную основную часть 12, разделенную множеством предварительно выполненных поперечных линий 13 сгиба и линией 4 соединения на ряд секций, содержащих переднюю секцию 14 основной части 2; нижнюю секцию 15 основной части 2; заднюю секцию 16 основной части 2; заднюю секцию 17 крышки 3, соединенную с секцией 16 по линии 4 соединения; верхнюю секцию 18 крышки 3; переднюю секцию 19 крышки 3; и укрепляющую секцию 20 секции 18.
Снаружи центральной основной части 12 предварительно выполненные продольные полосы 10 сгиба определяют два клапана 21, проходящих вдоль соответствующих продольных кромок от передней секции 14; два клапана 22, проходящих вдоль соответствующих продольных кромок задней секции 16; два клапана 23, проходящих вдоль соответствующих продольных кромок задней секции 17; и два клапана 24, проходящих вдоль соответствующих продольных кромок передней секции 19.
При сгибании листа 9 с целью формирования пачки 1 клапаны 21-24 сгибаются под прямым углом с соответствующими секциями 14, 16, 17, 19; каждый клапан 21, 24 накладывается, по меньшей мере, частично на соответствующий клапан 22, 23 и располагается на внешней поверхности соответствующих клапанов 22, 23, и приклеивается к ним; и каждая пара соответствующих клапанов 22 и 23 определяет вместе с соответствующими клапанами 21 и 24, наложенными на них, соответствующую боковую стенку 7, противоположные продольные кромки которой соединены соответственно с передней стенкой 5 и задней стенкой 6 посредством двух закругленных кромок 8, каждая из которых определена посредством соответствующей предварительно выполненной полосы 10 сгиба.
Как показано на фиг.3, нанесенная линия 15 образована вдоль каждой пары клапанов 22 и 23, проходит параллельно продольной оси 11 и, как показано на фиг.1, разделяет каждый клапан 22, 23 на выступ 26, прилегающий к внешней кромке соответствующей предварительно выполненной полосы 10 сгиба и находящийся на уровне с ней, и на впадину 27.
Впадина 27 каждого клапана 22, 23 находится на соответствующем клапане внутреннего воротника 28, имеет свободную кромку 29 и соединена с соответствующим выступом 26 посредством буртика 30, который определяет внутреннюю кромку соответствующего клапана 22, 23, и имеет высоту, по существу, равную толщине заготовки 9, проходит вдоль соответствующей нанесенной линии 25 и расположен с наружной стороны вблизи свободной кромки 31 соответствующего клапана 21, 24 и компланарно с ней.
На фиг.1 и 3 примера каждая нанесенная линия 25 является прямой и образована практически вдоль внешней кромки соответствующей предварительно выполненной полосы 10 сгиба, так что выступы 26 соответствующих клапанов 22 и 23 имеют относительно маленькую поверхность. В непоказанных вариантах, однако, каждая нанесенная линия 25 расположена несколько дальше от внешней кромки соответствующей предварительно выполненной полосы 10 сгиба, с соответствующим уменьшением в ширине соответствующих клапанов 21 и 24, и/или определена, как в примере, показанном в варианте на фиг.2, нанесенной линией 25а любой криволинейной и/или смешанной формы, для получения соответствующей боковой стенки 7 с совершенно плоской внешней поверхностью 7а, не отступая или искажая свободные кромки 31, и в то же самое время с особенно привлекательным эффектом.
Нанесенные линии 25, 25а могут быть образованы с использованием различных способов, выбор которых зависит от формы и расположения нанесенных линий 25, 25а, и от типа используемых заготовок 9.
Чтобы получить прямые нанесенные линии 25, проходящие вдоль заготовок 9, извлекаемых из стопки (не показана) и подаваемых по направлению оси непрерывно или ступенчато, каждая нанесенная линия 25 предпочтительно образована с применением двух роликов 32 (фиг.4), вращающихся вокруг соответствующих осей 33, перпендикулярных к продольной оси 11, и расположенных с возможностью контакта с соответствующей впадиной 27, и два ролика 34 смещены по отношению к роликам 32, вращающимся вокруг соответствующих осей 35, параллельных осям 33, и расположенных с возможностью контакта с выступом 26.
Если заготовки 9 (фиг.5) подаются ступенчато в любом направлении, например, перпендикулярно продольным осям 11, нанесенные линии 25 или 25а предпочтительно образованы с использованием шаблона 36 и контурного шаблона 37, движущихся перпендикулярно заготовкам 9 и имеющих соответствующие лицевые дополнительные поверхности 38 и 39.
Если заготовки 9 соединены сбоку (фиг.6) с целью формирования непрерывной полосы 40, подаваемой непрерывно или ступенчато в направлении 41, перпендикулярном продольным осям 11, нанесенные линии 25 или 25а предпочтительно образованы с использованием двух по существу соприкасающихся роликов 42 и 43, расположенных на противоположных сторонах полосы 40, и вращающихся вокруг соответствующих осей 44 и 45 параллельно друг другу и продольным осям 11, и перпендикулярно направлению 41. Ролики 42 и 43 соответственно содержат, по меньшей мере, один периферийный выступ 46 и, по меньшей мере, одно углубление 47, которые приведены в контакт с соответствующими противоположными поверхностями впадин 27 двух соседних заготовок 9.
Нанесенные линии 25, 25а очевидно могут быть образованы как при изготовлении заготовок 9, так и на упаковочной машине пользователя.
Приведенное выше описание, относящееся к пачке 1, также применимо к любым жестким упаковкам для табачных изделий, имеющим одну стенку, образованную посредством наложения двух слоев листового материала.
Например, фиг.7 демонстрирует пачку 48 со скошенными кромками 49, то есть восьмиугольную пачку 48, кромки 49 которой определены посредством продольной полосы 50 под углом 45 градусов к прилегающей боковой стенке 7, соединены с боковой стенкой 7 по продольной кромке 51. Нанесенные линии 25 (или 25а) пачки 48 предпочтительно образованы на соответствующих клапанах 22 и 23, прилегающих к соответствующим задним кромкам 51.
Посредством дополнительного примера фиг.8 демонстрирует пачку 52, состоящую из прямоугольных секций, в которой каждая боковая стенка 7 соединена с передней стенкой 5 и задней стенкой 6 по прямым кромкам 53, и каждая нанесенная линия 25 (или 25а) предпочтительно образована на соответствующих клапанах 22 и 23, прилегающих к соответствующей задней кромке 53.
Посредством дополнительного примера фиг.9 демонстрирует пачку в форме «подушки» 54, в которой противоположные боковые части каждой из передней и задней стенок 5 и 6 определены поперечной изогнутой предварительно выполненной полосой 55 сгиба, соединенной с соответствующей боковой стенкой 7 по соответствующей острой кромке 56, и каждая нанесенная линия 25 (или 25а) предпочтительно образована на соответствующих клапанах 22 и 23, прилегающих к соответствующей задней кромке 56.
Формула изобретения
1. Коробка для табачных изделий, образованная путем сгибания заготовки (9), содержащей центральную основную часть (12), имеющую продольную ось (11), и разделенную на несколько секций (14-20) посредством предварительно выполненных линий (13) сгиба, перпендикулярных к указанной продольной оси (11), коробка (1; 48; 52; 54), содержащая, по меньшей мере, одну стенку (7) с двойным слоем, определяемую внутренней частью (22, 23) и внешней частью (21, 24) листового материала (9), наложенными одна на другую, при этом, по меньшей мере, часть (27) указанной внутренней части (22, 23) накрыта соответствующей частью указанной внешней части (21, 24), при этом часть (27) внутренней части (22, 23) является впадиной (27), образованной величиной, по меньшей мере, равной толщине указанного листового материала (9), при этом, по меньшей мере, некоторые (14; 16; 17; 19) из секций (14-20) заготовки (9) имеют противоположные боковые клапаны (21-24), каждый из которых согнут под прямым углом по отношению к соответствующей секции (14; 16; 17; 19) для формирования соответствующей указанной стенки (7) с двойным слоем,
отличающаяся тем, что впадина (27) окружена соответствующей свободной внешней первой кромкой (29) и внутренней второй кромкой (30), соединенной с остальным указанным листовым материалом (9), и внешняя часть (21, 24) имеет свободную третью кромку (31), при этом третья кромка (31) расположена с наружной стороны второй кромки (30) и компланарна с ней.
2. Коробка по п.1, в которой указанные вторая и третья кромки (30, 31) являются взаимодополняющими по форме.
3. Коробка по п.1 или 2, в которой указанные вторая и третья кромки (30, 31) являются прямыми.
4. Коробка по п.1 или 2, в которой указанные вторая и третья кромки (30, 31) являются криволинейными.
5. Коробка по п.1 или 2, в которой вторая и третья кромки (30, 31) имеют комбинированную форму.
6. Способ изготовления коробки для табачных изделий, состоящий из этапа сгибания заготовки (9) для формирования в коробке (1; 48; 52; 54), по меньшей мере, одной стенки (7) с двойным слоем, содержащей внутреннюю часть (22, 23) и внешнюю часть (21, 24) листового материала (9), накладываемые друг на друга;
при этом, по меньшей мере, часть (27) указанной внутренней части (22, 23) накрыта соответствующей частью указанной внешней части (21, 24), при этом дополнительно вдавливают часть (27) указанной внутренней части (22, 23) на величину, по меньшей мере, равную толщине указанного листового материала (9), причем заготовка (9) содержит основную часть (12), имеющую продольную ось (11) и разделенную на несколько секций (14-20) посредством предварительно выполненных линий (13) сгиба, перпендикулярных к указанной продольной оси (11); по меньшей мере, некоторые (14; 16; 17; 19) из секций (14-20) заготовки (9) имеют противоположные боковые клапаны (21-24), каждый из которых согнут перпендикулярно к соответствующей секции (14; 16; 17; 19) и, по меньшей мере, частично наложен на соответствующий клапан (21-24) другой указанной секции (14; 16; 17; 19) для формирования соответствующей стенки (7) с двойным слоем, отличающийся тем, что указанная впадина (27) окружена соответствующей свободной внешней первой кромкой (29) и внутренней второй кромкой (30), соединенной с остальной частью указанного листового материала (9), и указанная внешняя часть (21, 24) имеет свободную внешнюю третью кромку (31), расположенную с наружной стороны указанной второй кромки (30) и компланарную с ней.
7. Способ по п.6, в котором указанная часть (27) внутренней части (22, 23) вдавлена посредством вытягивания.
8. Способ по п.7, в котором вытягивание выполнено с использованием шаблона (36) и контурного шаблона (37)
9. Способ по п.7, в котором вытягивание выполнено с помощью прокатки.
10. Способ по п.9, в котором прокатка выполнена в направлении, параллельном указанной продольной оси (11).
11. Способ по п.9, в котором прокатка выполнена в направлении, перпендикулярном к указанной продольной оси (11).
12. Способ по п.11, в котором заготовка (9) образует часть полосы (40), определяемой последовательностью заготовок (9), соединяемых друг с другом и расположенных вместе с их продольными осями (11) перпендикулярно направлению (41) движения указанной полосы (40).
РИСУНКИ
MM4A – Досрочное прекращение действия патента СССР или патента Российской Федерации на изобретение из-за неуплаты в установленный срок пошлины за поддержание патента в силе
Дата прекращения действия патента: 16.05.2009
Извещение опубликовано: 27.07.2010 БИ: 21/2010
|
|