|
(21), (22) Заявка: 2006111291/11, 07.04.2006
(24) Дата начала отсчета срока действия патента:
07.04.2006
(46) Опубликовано: 27.10.2007
(56) Список документов, цитированных в отчете о поиске:
RU 2232093 C1, 10.07.2004. EP 1074755 A1, 07.02.2001. JP 2001065609 A, 16.03.2001. RU 52957 U1, 26.10.2005. US 2002108824 A, 15.08.2002. CA 1271431 A, 10.07.1990.
Адрес для переписки:
150003, г.Ярославль, ГСП, ул. Советская, 79, ОАО “ФРИТЕКС”
|
(72) Автор(ы):
Ворончихин Александр Иванович (RU), Налев Игорь Андреевич (RU), Бычков Владимир Николаевич (RU)
(73) Патентообладатель(и):
Открытое акционерное общество “Завод фрикционных и термостойких материалов” (ОАО “ФРИТЕКС”) (RU)
|
(54) ТОРМОЗНАЯ КОЛОДКА ЖЕЛЕЗНОДОРОЖНОГО ТРАНСПОРТНОГО СРЕДСТВА
(57) Реферат:
Изобретение относится к области железнодорожного транспорта, а именно к тормозным колодкам железнодорожных транспортных средств. Тормозная колодка содержит композиционный фрикционный элемент, металлический каркас и твердую вставку. Металлический каркас состоит из 2-х деталей – основной полосы с выступом в центральной ее части и усилительной пластины, приваренной к основной полосе. Твердая вставка приварена к усилительной пластине металлического каркаса в центральной ее части сплошным швом в продольном и/или поперечном направлении. Достигается повышение прочности и надежности тормозной колодки. 1 ил.
Заявляемое изобретение относится к тормозным устройствам, а именно к тормозным колодкам железнодорожных транспортных средств.
Известны тормозные чугунные колодки, в том числе с металлическим каркасом, выпускаемые по ГОСТ 1205-73 «Колодки чугунные тормозные для вагонов и тендеров железных дорог. Конструкция и основные размеры».
Указанные колодки оказывают положительное воздействие на поверхность качения колеса, однако они имеют низкий коэффициент трения и при эксплуатации обеспечивают низкую эффективность торможения, а следовательно, требуют больших усилий натяжения рычажной передачи при торможении, не обеспечивают бесшумного и плавного торможения поезда, имеют большой вес (16 кг), высокий износ и высокую стоимость.
Известное техническое решение используется по тому же назначению, что и заявляемое, и имеет общий с ним существенный признак «тормозная колодка».
Известна тормозная композиционная колодка, содержащая фрикционный элемент и металлический (стальной) каркас. (Б.А.Ширяев «Производство тормозных колодок из композиционных материалов для железнодорожных вагонов», Москва, Химия, 1982 г. (стр.9-11, 13, 70).
Металлический каркас состоит из одной детали – основной полосы, а иногда из двух деталей: основной полосы и приваренной к ней по внутренней стороне усиленной пластины. Основная полоса каркаса имеет внешний криволинейный контур по периметру готовой колодки, а в центре П-образный или полукруглый выступ, образующий центральную бобышку. Центральная бобышка каркаса снабжена отверстиями под чеку (металлическую скобу). На основной пластине каркаса расположены также две боковые бобышки, служащие направляющими для чеки. Центральная бобышка служит для крепления тормозной колодки в тормозном башмаке посредством чеки, а направляющие (боковые бобышки) упрощают монтаж чеки.
Усилительная пластина применяется для придания дополнительной жесткости каркасу и повышения надежности крепления каркаса с фрикционным элементом.
Усилительная пластина вырублена из стальной полосы в виде восьмиугольника, причем ее основные кромки по длине и ширине отогнуты внутрь колодки и образуют ребра жесткости.
Усилительная пластина снабжена четырьмя отверстиями по два с каждой стороны для приваривания к основной полосе по обеим сторонам П-образного выступа, а также имеет два выгнутых внутрь колодки отверстия для затекания фрикционной смеси при формовании с целью повышения крепления с фрикционным элементом.
На основной полосе также могут вырубаться отверстия и/или полуотверстия с отгибанием невырубленной части отверстий внутрь колодки с получением шипов для затекания в отверстия фрикционной массы при формовании и улучшении крепления с фрикционным элементом.
Тормозные композиционные колодки по сравнению с чугунными получили значительно более широкое применение, так как они имеют более высокий коэффициент трения, меньшее усилие нажатия и износостойкость, в несколько раз более высокий срок службы, меньший вес, стоимость, а также обеспечивают бесшумное и плавное торможение поезда.
Однако при эксплуатации тормозных композиционных колодок могут возникать отдельные дефекты, в том числе термические трещины на поверхности качения колес, износ поверхности качения колес, снижение тормозной эффективности колодок при попадании воды в зону трения (дождь, снег), а также при наличии угольной или торфяной пыли и листьев на поверхности рельса.
Существенные признаки тормозной композиционной колодки «фрикционный элемент», металлический каркас в виде «изогнутой основной полосы с П-образной или полукруглой бобышкой, снабженной отверстиями по чеку и боковые бобышки» – направляющие для чеки, а также «усилительная пластина», приваренная к внутренней стороне основной полосы, являются общими с существенными признаками заявляемого изобретения.
Наиболее близким аналогом заявляемой колодки является тормозная колодка железнодорожного транспортного средства по заявке №2005133046/22 (037001) от 26.10.2005 (решение о выдаче патента на полезную модель от 16.01.2006).
Рассматриваемая тормозная колодка содержит металлический стальной каркас, композиционный фрикционный элемент и твердую вставку из чугуна. Металлический каркас состоит из одной детали – основной полосы – и имеет П-образный выступ, образующий центральную бобышку. По обеим сторонам П-образного выступа, за ним с внутренней стороны основной полосы к ней приварена по ширине колодки твердая вставка из чугуна, представляющая в продольном сечении колодки трапецеидальную форму.
Существенные признаки наиболее близкого аналога «композиционный фрикционный элемент», «металлический каркас» и «твердая вставка» являются общими с существенными признаками заявляемого изобретения.
Колодка по наиболее близкому аналогу обеспечивает сохранение поверхности качения колеса, а следовательно, повышенный срок службы колеса при сохранении повышенного срока службы колодок, а также обеспечивает стабильность и эффективность торможения при обычных и тяжелых условиях эксплуатации.
Однако колодка по наиболее близкому аналогу имеет недостатки при эксплуатации в особо тяжелых условиях, например при низких температурах в условиях Крайнего Севера.
В связи с тем, что в колодке тормозной по наиболее близкому аналогу металлический каркас изготавливается из одной детали – основной полосы с П-образным выступом, без усилительной пластины, то жесткость металлического каркаса недостаточна.
При вибрациях в условиях низких температур в месте приварки вставки к основной полосе металлического каркаса сплошным швом по ширине вставки может образоваться в основной полосе трещина, приводящая к излому каркаса по его ширине.
Задачей, на решение которой направлена заявляемое изобретение, является повышение прочности и надежности тормозной колодки.
Поставленную задачу решает тормозная колодка железнодорожного транспортного средства, содержащая металлический каркас из двух деталей – основной полосы с выступом в ее центральной части и усилительной пластины, приваренной к основной полосе, композиционный фрикционный элемент и твердую вставку прямоугольной, трапецеидальной или другой формы. Твердая вставка приварена к усилительной пластине металлического каркаса сплошным швом в продольном и/или поперечном направлении в центральной ее части.
Существенные признаки заявляемого изобретения «металлический каркас, состоящий из двух деталей – основной полосы с выступом в центральной ее части и приваренной к ней усилительной пластины» и «твердая вставка приварена к усилительной пластине сплошным швом в продольном и/или поперечном направлении», являются отличительными от существенных признаков наиболее близкого аналога.
Технология изготовления колодки несложная и предусматривает следующие этапы:
– изготовление (отливка) чугунной вставки;
– изготовление (штамповка) стального каркаса;
– изготовление (штамповка) усилительной пластины;
– приваривание усилительной пластины к основной полосе каркаса;
– приваривание вставки к усилительной пластине каркаса;
– изготовление полимерной композиции;
– укладка в пресс-форму каркаса с приваренными усилительной пластиной и вставкой и навески распушенной полимерной композиции;
– формование колодки в пресс-форме под давлением с последующей вулканизацией.
В качестве металла для изготовления основной полосы каркаса и усилительной пластины используют листовую сталь.
Вставку изготавливают из чугуна любой марки.
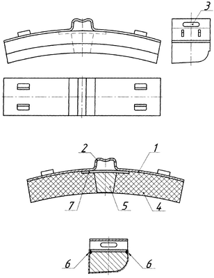
На чертеже представлена тормозная колодка железнодорожного транспортного средства, где:
1 – основная полоса каркаса,
2 – выступ на основной полосе каркаса,
3 – отверстие под чеку для крепления колодки в тормозном узле,
4 – композиционный фрикционный элемент,
5 – чугунная вставка,
6 – место приварки вставки к усилительной пластине,
7 – усилительная пластина.
Выполнение металлического каркаса с усилительной пластиной и приваркой твердой вставки к основанию усилительной пластины и/или ее ребрам позволяет значительно повысить жесткость, прочность и вибростойкость колодки и исключить образования поперечных трещин и излома на основной полосе каркаса.
Формула изобретения
Тормозная колодка железнодорожного транспортного средства, содержащая композиционный фрикционный элемент, металлический каркас и твердую вставку, отличающаяся тем, что металлический каркас состоит из 2-х деталей – основной полосы с выступом в центральной ее части и усилительной пластины, приваренной к основной полосе, а твердая вставка приварена к усилительной пластине металлического каркаса в центральной ее части сплошным швом в продольном и/или поперечном направлении.
РИСУНКИ
|