|
(21), (22) Заявка: 2003129065/11, 20.11.2002
(24) Дата начала отсчета срока действия патента:
20.11.2002
(30) Конвенционный приоритет:
05.12.2001 DE 10159678.2
(43) Дата публикации заявки: 10.02.2005
(46) Опубликовано: 27.10.2007
(56) Список документов, цитированных в отчете о поиске:
US 3696752 А, 10.10.1972. GB 2133755 А, 01.08.1984. DE 4305136 A1, 25.08.1994. SU 1096323 A, 07.06.1984. SU 337459 A, 05.05.1972.
(85) Дата перевода заявки PCT на национальную фазу:
02.10.2003
(86) Заявка PCT:
EP 02/12992 (20.11.2002)
(87) Публикация PCT:
WO 03/047903 (12.06.2003)
Адрес для переписки:
101000, Москва, М.Златоустинский пер., 10, кв.15, “ЕВРОМАРКПАТ”, пат.пов. М.Б.Веселицкому, рег. № 0503
|
(72) Автор(ы):
ЦОРН Михаэль (DE), ЛИНДИГ Эрик (DE)
(73) Патентообладатель(и):
ДЮРР АУТОМОЦИОН ГМБХ (DE)
|
(54) РЕЛЬСОВАЯ ТРАНСПОРТНАЯ СИСТЕМА
(57) Реферат:
Изобретение относится к области железнодорожного транспорта. Предложена рельсовая транспортная система, прежде всего монорельсовая подвесная дорога, имеющая по меньшей мере одну активную стрелку по меньшей мере с двумя подвижными рельсовыми участками, выполненными с возможностью их перевода по выбору в рабочее положение. Находящийся в рабочем положении подвижный рельсовый участок соединяет между собой два соответствующих неподвижных рельсовых участка транспортной системы. Имеется по меньшей мере одна ходовая часть, передвигающаяся по рельсовым участкам транспортной системы и оснащенная по меньшей мере одним устройством для передачи энергии, предназначенным для бесконтактной передачи энергии от питающих линий транспортной системы к этой ходовой части. Предложено также оснастить ходовую часть по меньшей мере двумя устройствами для передачи энергии, разнесенными друг от друга в направлении движения этой ходовой части на расстояние, которое превышает длину подвижных рельсовых участков активной стрелки. Благодаря этому в подобной транспортной системе обеспечивается возможность простого подвода энергии к ходовой части при прохождении ею активной стрелки. Это способствует повышению эксплуатационной надежности транспортной системы. 8 з.п. ф-лы, 8 ил.
Настоящее изобретение относится к рельсовой транспортной системе, прежде всего монорельсовой подвесной дороге, имеющей по меньшей мере одну активную стрелку по меньшей мере с двумя подвижными рельсовыми участками, выполненными с возможностью их перевода по выбору в рабочее положение, находящийся в котором подвижный рельсовый участок соединяет между собой два соответствующих неподвижных рельсовых участка транспортной системы, и по меньшей мере одну ходовую часть, передвигающуюся по рельсовым участкам транспортной системы и оснащенную по меньшей мере одним устройством для передачи энергии, предназначенным для бесконтактной передачи энергии от питающих линий транспортной системы к этой ходовой части.
Подобные рельсовые транспортные системы и прежде всего монорельсовые подвесные дороги известны из уровня техники.
Под “активной стрелкой” в контексте настоящего изобретения подразумевается стрелка с подвижными рельсовыми участками, тогда как под “пассивной стрелкой” подразумевается стрелка, все рельсовые участки которой являются неподвижными, а перевод ходовой части с одного рельсового пути на другой осуществляется переключением имеющегося у нее направляющего устройства.
Активная стрелка для монорельсовой подвесной дороги известна, например, из DE 3302266 С2. В такой известной из DE 3302266 С2 монорельсовой подвесной дороге энергия, необходимая для приведения в движение перемещающейся по ней ходовой части, подводится к ней через установленные на ней угольные контактные вставки, которые электрически контактируют с контактными проводами, идущими вдоль ходовых рельсов монорельсовой подвесной дороги. Подвижные рельсовые участки активной стрелки этой известной монорельсовой подвесной дороги также снабжены такими же контактными проводами, которые для обеспечения подвижности этих подвижных рельсовых участков необходимо соединять со стационарным источником электропитания гибкими волочащимися кабелями.
В монорельсовой подвесной дороге с контактным токоподводом подобное подключение подвижных рельсовых участков активной стрелки к стационарному источнику электропитания осуществляется сравнительно простым и надежным путем, поскольку такая монорельсовая подвесная дорога работает от переменного тока низкой частоты (обычно 50 или 60 Гц).
Однако в рельсовой транспортной системе с бесконтактной, например индуктивной, передачей энергии от питающих линий к ходовой части транспортной системы выполнение соединений с использованием подобных гибких кабельных линий на активных стрелках связано с исключительно высокими затратами, поскольку такие транспортные системы работают от переменного тока повышенной частоты (например, 25 кГц), и поэтому для подвода тока к активной стрелке необходимо использовать гибкие кабели, пригодные для передачи такого тока повышенной частоты. Если же на участке активной стрелки помимо подвода тока к ходовой части к ней дополнительно предполагается передавать и данные, то для этой цели требуется дополнительно предусматривать гибкие высокочастотные кабели (для передачи электрического тока с частотой, лежащей в мегагерцовом или даже в гигагерцовом диапазоне). Однако обладающие достаточно высокой гибкостью кабели для передачи электрического тока повышенной и высокой частоты являются сложными и дорогими в изготовлении.
Исходя из вышеизложенного, в основу настоящего изобретения была положена задача разработать рельсовую транспортную систему указанного в начале описания типа, в которой обеспечивалась бы возможность простого подвода энергии к ходовой части на участке активной стрелки.
Эта задача в отношении рельсовой системы указанного в ограничительной части п.1 формулы решается согласно изобретению благодаря тому, что ходовая часть оснащена по меньшей мере двумя устройствами для передачи энергии, разнесенными друг от друга в направлении движения этой ходовой части на расстояние, которое превышает длину подвижных рельсовых участков активной стрелки.
В соответствии с предлагаемым в изобретении решением по меньшей мере одно из устройств для передачи энергии, которыми оснащена ходовая часть, всегда находится, когда она проходит активную стрелку, на одном из неподвижных рельсовых участков транспортной системы, и поэтому в соответствующее устройство для передачи энергии может поступать энергия от питающей линии, идущей вдоль соответствующего неподвижного рельсового участка. Тем самым подвод достаточного количества энергии к ходовой части обеспечивается и в том случае, когда соответственно другое устройство для передачи энергии находится на подвижном рельсовом участке активной стрелки, т.е. не взаимодействует с питающей линией. Таким образом, в предлагаемой в изобретении транспортной системе подвижные рельсовые участки активной стрелки не требуется оснащать питающими линиями. Следовательно, отпадает и необходимость подключать подобные питающие линии на подвижном рельсовом участке к стационарным источникам тока гибкими кабелями для передачи токов повышенной и высокой частоты. Благодаря этому появляется возможность полностью исключить сложную и дорогостоящую прокладку гибких кабельных линий на активных стрелках, необходимую в обычных рельсовых транспортных системах с бесконтактной передачей энергии. В результате в подобной транспортной системе удается значительно уменьшить расход материала, идущего на изготовление активной стрелки, и снизить расходы на ее сборку и монтаж, а также повысить надежность подвода энергии к ходовой части, поскольку энергию от питающей линии, идущей вдоль неподвижного рельсового участка транспортной системы, постоянно может получать по меньшей мере одно из устройств для передачи энергии, которыми оснащена ходовая часть.
В принципе ходовую часть можно оснастить не двумя, а бóльшим количеством устройств для передачи энергии, при этом, однако, по меньшей мере в одной паре этих устройств для передачи энергии расстояние между такими устройствами для передачи энергии одной их пары должно превышать длину подвижных рельсовых участков активной стрелки.
В том случае, когда питающие линии, идущие вдоль неподвижных рельсовых участков, заканчиваются уже на некотором расстоянии от активной стрелки, не подходя к ней вплотную, расстояние между устройствами для передачи энергии, которыми оснащена ходовая часть, должно при прохождении ею активной стрелки превышать длину всего отрезка рельсового пути, на котором питающие линии отсутствуют.
В известной из DE 3302266 С2 монорельсовой подвесной дороге отказаться от прокладки питающих линий на подвижных рельсовых участках активной стрелки невозможно в принципе, поскольку подвод энергии к ходовой части происходит в такой монорельсовой подвесной дороге через смонтированные на ходовой части контактирующие с контактным проводом скользящие контакты, которые требуют постоянной их механической ориентации.
В отличие от этого в предлагаемой в изобретении транспортной системе питающие линии, как уже указывалось выше, более не требуется предусматривать на подвижных рельсовых участках активной стрелки.
В соответствии с этим согласно одному из предпочтительных вариантов осуществления изобретения по меньшей мере на одном из подвижных рельсовых участков активной стрелки питающая линия отсутствует.
При этом наиболее целесообразно, чтобы питающая линия отсутствовала на всех подвижных рельсовых участках активной стрелки.
Используемая в предлагаемой в изобретении транспортной системе ходовая часть предпочтительно содержит по меньшей мере две соединенных между собой тележки, которые выполнены с возможностью поворота друг относительно друга вокруг по меньшей мере одной оси. В этом случае даже у сравнительно длинной ходовой части каждая из ее тележек остается в направлении ее продольной протяженности ориентирована практически параллельно локальному продольному направлению ходового рельса транспортной системы.
С целью обеспечить возможность прохождения ходовой частью транспортной системы различных, расположенных в ориентированных поперечно друг другу плоскостях криволинейных участков пути тележки ходовой части предпочтительно выполнить с возможностью поворота друг относительно друга вокруг по меньшей мере двух осей, ориентированных поперечно, предпочтительно перпендикулярно, друг другу.
В одном из вариантов ходовая часть может иметь, в частности, траверсу, соединяющую между собой по две тележки ходовой части, каждая из которых при этом выполнена с возможностью поворота относительно этой траверсы вокруг по меньшей мере одной оси.
Наиболее целесообразно предусмотреть возможность поворота каждой тележки относительно траверсы вокруг по меньшей мере двух осей, ориентированных поперечно, предпочтительно перпендикулярно, друг другу.
В соответствии еще с одним предпочтительным вариантом осуществления изобретения каждую из по меньшей мере двух тележек предлагается снабжать по меньшей мере одним устройством для передачи энергии.
Согласно наиболее предпочтительному варианту осуществления изобретения по меньшей мере два устройства для передачи энергии соединены с общей управляющей электроникой, регулирующей передачу энергии к ходовой части в зависимости от количества фактически взаимодействующих с питающей линией транспортной системы устройств для передачи энергии. В этом случае передача необходимого количества электрической энергии к ходовой части обеспечивается вне зависимости от того, взаимодействует ли с питающей линией транспортной системы только одно или оба устройства для передачи энергии.
Помимо этого для каждого из устройств для передачи энергии можно предусмотреть по меньшей мере по одному устройству передачи данных, которые за счет обмена данными со стационарными устройствами передачи данных обеспечивают прием информации, необходимой для управления ходовой частью, или передачу информации, относящейся к работе ходовой части.
Такие устройства передачи данных, предусмотренные для устройств для передачи энергии, также предпочтительно разнести друг от друга в направлении движения ходовой части на расстояние, которое превышает длину подвижных рельсовых участков активной стрелки.
Другие отличительные особенности и преимущества изобретения более подробно рассмотрены ниже на примере одного из вариантов его осуществления со ссылкой на прилагаемые чертежи, на которых показано:
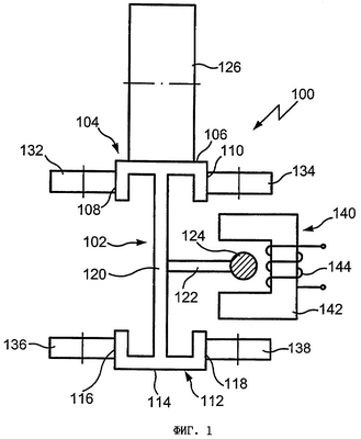
на фиг.1 – схематичное изображение в поперечном сечении ходового рельса монорельсовой подвесной дороги со схематичным изображением несущих и направляющих колес и устройства для передачи энергии одной из тележек монорельсовой подвесной дороги,
на фиг.2 – схематичное изображение используемой в монорельсовой подвесной дороге ходовой части с двумя шарнирно соединенными между собой траверсой тележками,
на фиг.3 – схематичное изображение активной стрелки монорельсовой подвесной дороги с тремя примыкающими к этой стрелке неподвижными рельсовыми участками, два из которых соединены между собой переведенным в рабочее положение прямолинейным подвижным рельсовым участком активной стрелки,
на фиг.4-6 – схематичное изображение последовательно сменяющих друг друга стадий прохождения ходовой частью монорельсовой подвесной дороги прямолинейного подвижного рельсового участка активной стрелки,
на фиг.7 и 8 – схематичные изображения последовательно сменяющих друг друга стадий прохождения ходовой частью монорельсовой подвесной дороги криволинейного подвижного рельсового участка активной стрелки.
На всех чертежах одни и те же или функционально эквивалентные элементы обозначены одинаковыми позициями.
Обозначенная общей позицией 100 монорельсовая подвесная дорога имеет показанный на фиг.1 в поперечном сечении ходовой рельс 102, состоящий из верхней полки 104 с верхней, по существу ровной поверхностью 106 качения и двумя боковыми направляющими поверхностями 108 и 110, а также из нижней полки 112 с ровной нижней поверхностью 114 качения и двумя боковыми направляющими поверхностями 116 и 118.
Обе полки рельса с их обратных поверхностям качения сторон соединены между собой вертикальной шейкой 120 с ровными и проходящими параллельно продольной протяженности ходового рельса стенками.
Посередине между обеими полками 104 и 112 от одной из боковых стенок шейки 120 выступает выполненный из электроизоляционного материала (диэлектрика) кронштейн 122 для крепления питающей линии 124 на его дальнем от шейки 120 конце.
По верхней поверхности 106 качения ходового рельса 102 катится несущее колесо 126 тележки 128 схематично показанной на фиг.2 ходовой части 130 монорельсовой подвесной дороги 100.
Из числа всех остальных элементов этой тележки 128 на фиг.1 помимо несущего колеса 126 показаны лишь боковые направляющие колеса 132, 134, 136 и 138, катящиеся по боковым направляющим поверхностям 108, 110, 116 и 118 соответственно, а также устройство 140 для передачи энергии, которое содержит, например, токоприемник 142, выполненный в виде П-образного ферритового сердечника с намотанной на него обмоткой 144, которая соединена с электронной схемой токоприемника (на фиг.1 не показана), обеспечивающей преобразование индуцируемого в обмотке переменного тока в постоянное напряжение.
Питающая линия 124 проходит внутри ограниченного П-образным токоприемником 142 устройства 140 для передачи энергии пространства, не контактируя с этим токоприемником.
Передача энергии от питающей линии 124 к устройству 140 для передачи энергии происходит за счет индукции. Для этого по питающей линии 124 и по служащему обратным проводом ходовому рельсу 102 пропускается переменный ток повышенной частоты, приводящий к возникновению в токоприемнике 142 соответствующего изменяющегося во времени магнитного потока, в результате чего в обмотке 144 индуцируется переменный ток, который может быть преобразован в тележке 128 в постоянное напряжение, используемое для питания привода и систем управления.
Ходовая часть 130 монорельсовой подвесной дороги 100, используемая для транспортировки грузов по ее ходовому рельсу 102, схематично показана на фиг.2.
Ходовая часть 130 содержит переднюю тележку 128а и заднюю тележку 128b, которые соединены между собой траверсой 146.
Эта траверса 146 имеет карданные шарниры (отдельно на чертеже не показаны), обеспечивающие возможность поворота обеих тележек 128а и 128b друг относительно друга вокруг соответствующей вертикальной оси 148 и вокруг соответствующей перпендикулярной ей горизонтальной оси 150, что позволяет ходовой части 130 беспрепятственно двигаться по лежащим и в горизонтальной, и в вертикальной плоскостях криволинейным участкам монорельсовой дороги.
Каждая из тележек 128а, 128b опирается ее несущим колесом 126 на ходовой рельс 102, а ее направляющие колеса 132, 134, 136 и 138 направляют ее движение вдоль этого ходового рельса 102, перекатываясь по его боковым направляющим поверхностям.
Помимо этого передняя тележка 128а выполнена ведущей с приводом от приводного агрегата 152, который может быть выполнен, например, в виде фрикционного привода.
Однако в принципе заднюю тележку 128b также можно оснастить собственным приводным агрегатом 152.
Каждая тележка 128а, 128b ходовой части 130 для подвода к ней необходимой для ее приведения в движение энергии оснащена устройством для передачи энергии, которые обозначены позициями 140а, 140b соответственно и которые разнесены друг от друга в продольном направлении 154 ходовой части 130.
Оба устройства 140а, 140b для передачи энергии кабелями или проводами 156а, соответственно 156b соединены с общей электронной схемой 158 токоприемника, которая в рассматриваемом варианте размещена на передней тележке 128а.
Электронная схема 158 токоприемника в свою очередь кабелем или проводом 160 соединена с приводным агрегатом 152.
Помимо этого для каждого устройства 140а, 140b для передачи энергии предусмотрено по устройству передачи данных, которые обозначены позициями 162а и 162b соответственно, при этом каждое из этих устройств передачи данных тележек 128а, 128b взаимодействует для приема и передачи данных со стационарными, расположенными вдоль ходового рельса 102 монорельсовой подвесной дороги 100 устройствами передачи данных.
Каждое устройство 162а, 162b передачи данных линией 164 передачи данных соединено с общим модулем 166 связи, который в рассматриваемом варианте размещен на передней тележке 128а, однако равным образом может быть размещен и на задней тележке 128b либо на траверсе 146.
Модуль 166 связи кабелем или проводом 168 соединен с электронной схемой 158 токоприемника.
На фиг.3 показана обозначенная общей позицией 170 активная стрелка монорельсовой подвесной дороги 100, имеющая прямолинейный подвижный рельсовый участок 172 и криволинейный подвижный рельсовый участок 174, которые совместно расположены на подвижной раме 176, которая на фиг.3 условно показана в виде двух распорок 178.
Эта подвижная рама 176 выполнена с возможностью ее прямолинейного перемещения переводным механизмом (не показан) в перпендикулярном продольной протяженности прямолинейного подвижного рельсового участка 172 направлении 180, что обеспечивает перевод активной стрелки 170 из показанного на фиг.3-6 первого положения в показанное на фиг.7-8 второе положение или из второго положение обратно в первое.
В показанном на фиг.3-6 первом положении активной стрелки 170 в рабочем положении находится ее прямолинейный подвижный рельсовый участок 172, который соединяет при этом первый неподвижный рельсовый участок 182 (расположенный в плоскости чертежа по фиг.3 справа от активной стрелки 170) со вторым неподвижным рельсовым участком 184 (расположенным в плоскости чертежа по фиг.3 слева от активной стрелки 170), благодаря чему движущаяся по первому неподвижному рельсовому участку 182 в направлении 186 ходовая часть 130 может и далее продолжать движение в этом же направлении ко второму неподвижному рельсовому участку 184 по прямолинейному подвижному рельсовому участку 172.
При нахождении активной стрелки 170 в этом первом положении криволинейный подвижный рельсовый участок 174 находится в нерабочем положении, в котором он не соединяет между собой два неподвижных рельсовых участка.
В показанном на фиг.7 и 8 втором положении активной стрелки 170 в нерабочее положение отведен прямолинейный подвижный рельсовый участок 172, в котором он не соединяет между собой два неподвижных рельсовых участка, а криволинейный подвижный рельсовый участок 174 находится в рабочем положении, в котором он соединяет первый неподвижный рельсовый участок 182 с третьим неподвижным рельсовым участком 188 (расположенным в плоскости чертежа по фиг.7 слева от активной стрелки 170), благодаря чему движущаяся по первому неподвижному рельсовому участку 182 ходовая часть 130 может попасть на третий неподвижный рельсовый участок 188 по криволинейному подвижному рельсовому участку 174, изменив тем самым направление своего движения.
Третий неподвижный рельсовый участок 188 в направлении его продольной протяженности образует с первым неподвижным рельсовым участком 182 и вторым неподвижным рельсовым участком 184 в направлении их продольной протяженности острый угол, равный, например, 30°.
Как показано на фиг.3, ходовой рельс на каждом из его неподвижных рельсовых участков 182, 184 и 188 имеет проходящую параллельно ему питающую линию 124, что обеспечивает подвод энергии к ходовой части 130 до тех пор, пока по меньшей мере одно из его устройств 140а, 140b для передачи энергии продолжает взаимодействовать с одной из этих питающих линий 124.
В отличие от неподвижных рельсовых участков ходового рельса подвижный прямолинейный рельсовый участок 172 и подвижный криволинейный рельсовый участок 174 активной стрелки 170 не имеют подобной питающей линии 124. Поэтому активную стрелку 170 нет необходимости оснащать сложными и дорогостоящими гибкими кабельными линиями, которые обеспечивали бы подвод тока к ее подвижным рельсовым участкам и одновременно обеспечивали бы их необходимую подвижность.
Таким образом, несмотря на отсутствие питающих линий на том участке монорельсовой дороги, на котором расположена активная стрелка 170, при ее прохождении ходовой частью 130 всегда обеспечивается бесперебойная передача на нее энергии, поскольку расстояние между обоими устройствами 140а, 140b для передачи энергии, которыми оснащена эта ходовая часть 130, превышает протяженность не имеющего питающих линий отрезка пути между первым неподвижным рельсовым участком 182 и вторым неподвижным рельсовым участком 184, соответственно между первым неподвижным рельсовым участком 182 и третьим неподвижным рельсовым участком 188.
Процесс прохождения активной стрелки 170 ходовой частью 130 более подробно поясняется ниже со ссылкой на фиг.3-8.
В показанном на фиг.3 состоянии активная стрелка 170 находится в первом ее крайнем положении, в котором в рабочее положение переведен прямолинейный подвижный рельсовый участок 172. Ходовая часть 130 приближается к активной стрелке 170, двигаясь в направлении 186 по первому рельсовому участку 182, при этом подвод энергии к ходовой части 130 обеспечивается через оба ее устройства 140а, 140b для передачи энергии, которые взаимодействуют с питающей линией 124, идущей вдоль этого первого неподвижного рельсового участка 182.
По мере дальнейшего движения ходовой части 130 ее передняя тележка 128а переезжает с первого неподвижного рельсового участка 182 на прямолинейный подвижный рельсовый участок 172 активной стрелки 170, в результате чего дальнейший подвод энергии к ходовой части 130 через первое ее устройство 140а для передачи энергии становится более невозможным. Однако устройство 140b для передачи энергии, которым оснащена задняя тележка 128b, все еще продолжает взаимодействовать с питающей линией 124 первого неподвижного рельсового участка 182, обеспечивая возможность дальнейшего подвода энергии к ходовой части 130 (см. фиг.4).
В показанном на фиг.5 состоянии передняя тележка 128а переехала с прямолинейного подвижного рельсового участка 172 активной стрелки 170 на второй неподвижный рельсовый участок 184, на котором ее устройство 140а для передачи энергии вновь взаимодействует с питающей линией 124, идущей вдоль этого второго неподвижного рельсового участка 184, и может подавать энергию к ходовой части 130.
В это же время задняя тележка 128b находится на прямолинейном подвижном рельсовом участке 172 активной стрелки 170, и поэтому подвод энергии к ходовой части через устройство 140b для передачи энергии, которое размещено на этой задней тележке, невозможен.
В показанном на фиг.6 состоянии задняя тележка 128b также уже переехала с активной стрелки 170 на второй неподвижный рельсовый участок 184, и поэтому подвод энергии к ходовой части 130 вновь обеспечивается через оба устройства 140а, 140b для передачи энергии, которые взаимодействуют с питающей линией 124, идущей вдоль этого второго неподвижного рельсового участка 184.
При прохождении активной стрелки 170 электронная схема 158 токоприемника, с которой соединены оба устройства 140а, 140b для передачи энергии, обеспечивает передачу необходимой для приведения ходовой части 130 в движение электрической энергии независимо от того, взаимодействуют ли с питающей линией 124 в каждый момент только одно из устройств 140а, 140b для передачи энергии или оба устройства 140а, 140b для передачи энергии.
На фиг.7 и 8 показано прохождение ходовой частью 130 криволинейного подвижного рельсового участка 174 активной стрелки 170.
В показанном на фиг.7 состоянии активная стрелка 170 находится во втором ее положении, в котором в рабочее положение переведен криволинейный подвижный рельсовый участок 174.
В показанном на этом чертеже состоянии передняя тележка 128а уже переехала с первого неподвижного рельсового участка 182 на криволинейный подвижный рельсовый участок 174, и поэтому ее устройство 140а для передачи энергии более не взаимодействует с питающей линией. Однако подвод достаточного количества энергии к ходовой части 130 обеспечивается через устройство 140b для передачи энергии, которым оснащена задняя тележка 128b и которое продолжает взаимодействовать с питающей линией 124, идущей вдоль первого неподвижного рельсового участка 182.
Как показано на фиг.7, продольные оси обеих тележек 128а, 128b постоянно остаются параллельны продольной оси конкретного рельсового участка, на котором в данный момент находится соответствующая тележка. Подобная ориентация тележек 128а, 128b обеспечивается соответствующим их поворотом относительно траверсы 146 вокруг вертикальных осей 148.
В случае, когда криволинейный подвижный рельсовый участок 174 активной стрелки 170 располагается в вертикальной плоскости, аналогичный эффект достигается поворотом тележек 128а, 128b вокруг горизонтальных осей 150.
В показанном на фиг.8 состоянии передняя тележка 128а переехала с криволинейного подвижного рельсового участка 174 активной стрелки 170 на третий неподвижный рельсовый участок 188, и поэтому подвод достаточного количества энергии к ходовой части 130 обеспечивается в этом случае через имеющееся у этой тележки устройство 140а для передачи энергии, которое взаимодействует с питающей линией 124, идущей вдоль этого третьего неподвижного рельсового участка 188. В показанном на чертеже положении задняя тележка 128b переехала с первого неподвижного рельсового участка 182 на криволинейный подвижный рельсовый участок 174 активной стрелки 170, и поэтому устройство 140b для передачи энергии, которым оснащена эта тележка, более не взаимодействует с питающей линией 124.
Формула изобретения
1. Рельсовая транспортная система, прежде всего монорельсовая подвесная дорога, имеющая по меньшей мере одну активную стрелку (170) по меньшей мере с двумя подвижными рельсовыми участками (172, 174), выполненными с возможностью их перевода по выбору в рабочее положение, находящийся в котором подвижный рельсовый участок (172, 174) соединяет между собой два соответствующих неподвижных рельсовых участка (182, 184, 188) транспортной системы, тогда как другой подвижный рельсовый участок (172, 174) находится в нерабочем положении, в котором он не соединяет между собой два неподвижных рельсовых участка (182, 184, 188), и
по меньшей мере одну ходовую часть (130), передвигающуюся по рельсовым участкам транспортной системы и оснащенную по меньшей мере одним устройством (140) для передачи энергии, предназначенным для бесконтактной передачи энергии от питающих линий транспортной системы к этой ходовой части (130),
отличающаяся тем, что ходовая часть (130) содержит по меньшей мере два устройства (140а, 140b) для передачи энергии, разнесенных друг от друга в направлении (186) движения ходовой части (130) на расстояние, которое превышает длину подвижных рельсовых участков (172, 174) активной стрелки (170), а также по меньшей мере один приводной агрегат (152), причем передача энергии этому приводному агрегату (152) возможна по меньшей мере от двух устройств (140а, 140b) для передачи энергии, разнесенных друг от друга в направлении (186) движения ходовой части.
2. Транспортная система по п.1, отличающаяся тем, что по меньшей мере на одном из подвижных рельсовых участков (172, 174) активной стрелки (170) питающая линия отсутствует.
3. Транспортная система по п.2, отличающаяся тем, что питающая линия отсутствует на всех подвижных рельсовых участках (172, 174) активной стрелки (170).
4. Транспортная система по одному из пп.1-3, отличающаяся тем, что ходовая часть (130) содержит по меньшей мере две соединенных между собой тележки (128а, 128b), которые выполнены с возможностью поворота относительно друг друга вокруг по меньшей мере одной оси (148, 150).
5. Транспортная система по п.4, отличающаяся тем, что тележки (128а, 128b) выполнены с возможностью поворота относительно друг друга вокруг по меньшей мере двух осей (148, 150), ориентированных поперечно, предпочтительно перпендикулярно, друг другу.
6. Транспортная система по п.4, отличающаяся тем, что каждая из по меньшей мере двух тележек (128а, 128b) снабжена по меньшей мере одним устройством (140а, 140b) для передачи энергии.
7. Транспортная система по п.5, отличающаяся тем, что каждая из по меньшей мере двух тележек (128а, 128b) снабжена по меньшей мере одним устройством (140а, 140b) для передачи энергии.
8. Транспортная система по одному из пп.1-3, отличающаяся тем, что по меньшей мере два устройства (140а, 140b) для передачи энергии соединены с общей управляющей электроникой (158), регулирующей передачу энергии к ходовой части (130) в зависимости от количества фактически взаимодействующих с питающей линией (124) транспортной системы устройств (140а, 140b) для передачи энергии.
9. Транспортная система по одному из пп.1-3, отличающаяся тем, что для каждого из устройств (140а, 140b) для передачи энергии предусмотрено по меньшей мере по одному устройству (162а, 162b) передачи данных.
РИСУНКИ
|