|
|
(21), (22) Заявка: 2005124991/09, 05.08.2005
(24) Дата начала отсчета срока действия патента:
05.08.2005
(30) Конвенционный приоритет:
07.08.2004 (пп.1-7, 12-34) KR 10-2004-62265 11.11.2004 (пп.8-11) KR 10-2004-92154
(43) Дата публикации заявки: 10.02.2007
(46) Опубликовано: 20.10.2007
(56) Список документов, цитированных в отчете о поиске:
WO 2004019519, 04.03.2004. RU 2175466 С2, 27.10.2001. US 2004088641, 06.05.2004. US 6563810 B1, 13.05.2003.
Адрес для переписки:
129010, Москва, ул. Б. Спасская, 25, стр.3, ООО “Юридическая фирма Городисский и Партнеры”, пат.пов. Ю.Д.Кузнецову, рег.№ 595
|
(72) Автор(ы):
КВАК Йонг-Дзун (KR), ЛИ Дзу-Хо (KR), ЛИ Коок-Хеуй (KR), ЧО Дзоон-Янг (KR), ХЕО Юн-Хиоунг (KR), КИМ Янг-Бум (KR)
(73) Патентообладатель(и):
САМСУНГ ЭЛЕКТРОНИКС КО., ЛТД. (KR)
|
(54) СПОСОБ И УСТРОЙСТВО ДЛЯ ПЕРЕДАЧИ СИГНАЛОВ ИНФОРМАЦИИ СТАТУСА АБОНЕНТСКОЙ АППАРАТУРЫ ДЛЯ ПАКЕТНОЙ ПЕРЕДАЧИ ОБРАТНОЙ ЛИНИИ СВЯЗИ В РЕГИОНЕ ПРОГРАММИРУЕМОЙ ЭСТАФЕТНОЙ ПЕРЕДАЧИ
(57) Реферат:
Изобретение относится к технике связи. Предложены способ и устройство для передачи информации статуса абонентской аппаратуры (UE), связанной с одним обслуживающим узлом В, и, по меньшей мере, с одним не обслуживающим узлом В, в системе мобильной связи, которые содержат генерацию данных транспортных каналов, содержащих информацию статуса UE аппаратуры; передачу данных транспортных каналов в обслуживающий узел В и, по меньшей мере, в один не обслуживающий узел В; прием сигнала отклика для данных транспортных каналов из обслуживающего узла В; и повторную передачу данных транспортных каналов, если сигнал отклика, принятый из обслуживающего узла В, является сигналом не подтверждения (NACK), и завершение повторной передачи данных транспортных каналов, если сигнал отклика, принятый из обслуживающего узла В, является сигналом подтверждения (АСК). Техническим результатом является повышение характеристик регламентирования UE аппаратуры и стабильности всей системы. 6 н. и 28 з.п. ф-лы, 12 ил.
Область техники, к которой относится изобретение
Настоящее изобретение в основном относится к асинхронной широкополосной системе связи множественного доступа с кодовым разделением каналов (WCDMA). В частности, настоящее изобретение относится к способу и устройству для передачи сигналов информации статуса абонентской аппаратуры (UE) для пакетной передачи в регионе программируемой эстафетной передачи.
Уровень техники
Универсальная система мобильной связи (UMTS), основанная на глобальной системе мобильной связи (GSM), являющейся системой мобильной связи 3-его поколения, которая является европейской системой мобильной связи и использует широкополосную систему связи множественного доступа с кодовым разделением каналов (WCDMA), обеспечивает согласованную службу сервиса, способную передавать пакетный текст, оцифрованные аудио- или видеоданные, а также мультимедийные данные с высокой скоростью передачи 2 Мбит/с (мегабит в секунду) или выше независимо от того, где расположены абоненты мобильных телефонов или пользователи компьютеров. Система UMTS использует концепцию виртуального доступа, называемого “доступ с коммутацией пакетов”, который использует пакетный протокол, подобный протоколу Интернет (IP) для доступа к любому терминалу в сети.
Фиг.1 изображает схему, иллюстрирующую конфигурацию известной UMTS глобальной сети радиосвязи с абонентами (UTRAN). Как показано на фиг.1, UTRAN сеть 12 содержит контроллеры 16a и 16b радиосети (RNC), и узлы B 18a, 18b, 18c и 18d, и подключает абонентскую аппаратуру (UE) 20 к базовой сети 10. Каждый из узлов B 18a, 18b, 18c и 18d может иметь множество ячеек в своем нижнем уровне. Каждый из RNC контроллеров 16a и 16b управляет ассоциированными с ними узлами B 18a, 18b, 18c и 18d в их нижних слоях. Например, на фиг.1, RNC контроллер 16a управляет узлами B 18a и 18b, а RNC контроллер 16b управляет узлами B 18c и 18d. Каждый из узлов B 18a, 18b, 18c и 18d управляет ассоциированными с ними ячейками. Один RNC контроллер и ассоциированные с ними узлы B и ячейки, управляемые этим контроллером, составляют подсистему радиосети (RNS) 14a или 14b.
Каждый из RNC контроллеров 16a и 16b присваивает или организует радиоресурсы своих узлов B от 18a до 18d, и каждый из узлов B от 18a до 18d обеспечивает радиоресурсы. Радиоресурсы генерируются на каждую ячейку, и радиоресурсы, обеспеченные узлами B от 18a до 18d, относятся к радиоресурсам ячеек, организуемых самими узлами B. UE аппаратура 20 может создавать радиоканал, используя радиоресурсы, обеспеченные конкретной ячейкой конкретного узла B, и осуществляет связь, используя созданный радиоканал. Поскольку различие между узлами B от 18a до 18d и ассоциированными с ними ячейками не важно для UE аппаратуры 20, и UE аппаратура 20 распознает только физические уровни, создаваемые для каждой ячейки, используемые термины “узлы B от 18a до 18d” и “ячейки” являются взаимозаменяемыми.
Интерфейс между UE аппаратурой 20 и RNC контроллерами 16a и 16b называется Uu интерфейс, и его детальная иерархическая структура иллюстрируется фиг.2.
Фиг.2 изображает схему, иллюстрирующую иерархическую структуру, представляющую интерфейс между UE аппаратурой и RNC контроллером. Интерфейс Uu делится на плоскость 30 управления, используемую для обмена сигналами управления между UE аппаратурой 20 и RNC контроллерами 16a и 16b, и плоскость 32 абонента, используемую для передачи реальных данных.
Как показано на фиг.2, плоскость 30 управления (C-плоскость) имеет уровень 34 управления радиоресурсами (RRC), уровень 40 управления линиями радиосвязи (RLC), уровень 42 доступа к передающей среде (MAC) и физический (PHY) уровень 44, а плоскость 32 абонента (U-плоскость) имеет уровень 36 протокола управления пакетными данными (PDCP), уровень 38 управления радиопередачей/широковещанием (BMC), уровень 40 управления линиями радиосвязи (RLC), уровень 42 доступа к передающей среде (MAC) и физический (PHY) уровень 44. Среди иллюстрируемых здесь уровней, физический (PHY) уровень 44 располагается в каждой ячейке, а уровни от MAC 42 до RRC 34 могут располагаться в RNC контроллере.
Физический уровень 44 обеспечивает службу сервиса передачи информации с использованием методов радиопередачи и соответствует уровню 1 (L1) модели взаимодействия открытых систем (OSI). Соединение между физическим уровнем 44 и MAC уровнем 42 достигается посредством транспортных каналов, а транспортные каналы задаются согласно тому, как специфические данные обрабатываются в физическом уровне 44.
Уровень MAC 42 подключается к RLC уровню 40 посредством логических каналов. Уровень MAC 42 доставляет данные, принятые по логическому каналу из RLC уровня 40 на физический уровень 44 по соответствующему транспортному каналу, и доставляет данные, принятые по транспортному каналу из физического уровня 44 на RLC уровень 40 по соответствующему логическому каналу. Кроме того, MAC уровень 42 вставляет дополнительную информацию в данные, принятые по логическому каналу или транспортному каналу, или анализирует дополнительную информацию, вставленную в данные, или выполняет соответствующую операцию согласно проанализированной дополнительной информации. Далее MAC уровень 42 управляет операцией произвольного доступа. В MAC уровне 42 часть, отнесенная к плоскости 30 абонента, называется MAC-d, а часть, отнесенная к плоскости 32 управления, называется MAC-c.
Уровень RLC 40 организует установление соединения и разъединение логического канала. Уровень RLC 40 может функционировать в одном или трех режимах работы, содержащих подтвержденный режим (AM), неподтвержденный режим (UM) и транспортный режим (TM), и каждый режим работы обеспечивает различную функцию. В основном, RLC уровень 40 имеет функцию обратного ассемблирования или ассемблирования элемента данных обслуживания (SDU) соответствующего размера, обеспеченного из верхнего уровня, и функцию исправления ошибок.
PDCP уровень 36 располагается в верхнем уровне RLC уровня 40 в плоскости 32 абонента и имеет функцию сжатия и разворачивания заголовка данных, переданных в форме IP пакета, и функцию передачи данных без потерь в ситуации, в которой изменяется RNC контроллер, обеспечивающий мобильную службу сервиса в конкретную UE аппаратуру.
Характеристика транспортных каналов, подключающих физический уровень 44 к его верхним уровням, определяется транспортным форматом (TF), который задает процессы обработки физического уровня, такие как сверточное канальное кодирование, перемежение и согласование скоростей, специфическое для службы сервиса.
Система UMTS использует улучшенный специализированный канал (E-DCH) обратной линии связи так, чтобы улучшить характеристики пакетной передачи в передаче обратной линии связи от UE аппаратуры в узел B. Чтобы поддерживать стабилизированную высокоскоростную передачу данных, E-DCH канал поддерживает такие методы, как запрос гибридной автоматической повторной передачи (HARQ) и регламентирование, управляемое узлом B. В MAC уровне часть, организующая обработку E-DCH канала, называется MAC-e.
Фиг.3 изображает схему, иллюстрирующую известный способ передачи данных по E-DCH каналу в обратной линии радиосвязи. Как показано на фиг.3, позиция 100 представляет узел B, поддерживающий E-DCH канал, и позиции 101, 102, 103 и 104 представляют аппараты пользовательской аппаратуры UE, работающие в E-DCH канале. Узел B 100 анализирует условия распространения сигнала в каналах UE аппаратов с 101 по 104, которые используют E-DCH канал, и регламентирует скорости передачи данных UE аппаратов с 101 по 104 согласно результату анализа. Чтобы повысить пропускную способность всей системы, регламентирование выполняется так, что UE аппаратам (например, UE 103 и 104), расположенным дальше от узла B 100, присваивается более низкая скорость передачи данных, тогда как UE аппаратам (например, UE 101 и 102), расположенным ближе к узлу B 100, присваивается более высокая скорость передачи данных до тех пор, пока измеренное значение превышения над тепловым шумом (RoT) узла B 100 не превысит заданное значение RoT.
Фиг.4 изображает схему передачи данных, иллюстрирующую известную процедуру для передачи и приема сообщений по E-DCH каналу. Как показано на фиг.4, на шаге 202, узел B и UE аппаратура устанавливают между собой E-DCH канал. Шаг 202 установления E-DCH канала включает процесс передачи сообщений по специализированному транспортному каналу. После установления E-DCH канала аппаратура на шаге 204 обеспечивает передачу информации статуса UE аппаратуры в узел B. Информация статуса UE аппаратуры может включать информацию мощности UE передачи, представляющую информацию канала обратной линии связи, информацию о доступной избыточной мощности UE аппаратуры и величину данных передачи, загруженных в буфер UE аппаратуры.
На шаге 206 узел B, который принимает информацию регламентирования из множества UE аппаратов, связанных с узлом B, отслеживает информацию статуса UE аппаратуры, принятую из множества UE аппаратов, чтобы регламентировать скорость передачи данных каждой UE аппаратуры. На шаге 208 узел B принимает решение субсидировать UE аппаратуру для передачи пакета данных обратной линии связи и передает в UE аппаратуру информацию присвоения регламентирования. Информация присвоения регламентирования содержит субсидированную максимальную скорость передачи данных и субсидированную синхронизацию передачи.
На шаге 210 UE аппаратура определяет транспортный формат (TF) канала E-DCH, который должен передаваться в обратном направлении, используя информацию присвоения регламентирования. UE аппаратура передает пакетные данные обратной линии связи (UL) по E-DCH каналу на шаге 212 и в то же самое время, на шаге 214, передает в узел B информацию TF формата, то есть индикатор ресурсов транспортного формата (TFRI). На шаге 216 узел B определяет, есть ли ошибка в TF информации и пакетных данных. На шаге 218 узел B передает сигнал неподтверждения (NACK) в UE аппаратуру по каналу ACK/NACK, если в каком-либо из них есть ошибка. Однако, если в обоих из них нет ошибки, узел B передает сигнал подтверждения (ACK) в UE аппаратуру по каналу ACK/NACK.
Если передается сигнал ACK, указывающий ее завершенную передачу соответствующих пакетных данных, то UE аппаратура передает по E-DCH каналу новые данные. Однако, если передается NACK, указывающее ошибку передачи соответствующих пакетных данных, то UE аппаратура передает по E-DCH каналу такие же пакетные данные.
Канал E-DCH, поскольку он является усовершенствованным специализированным каналом (DCH) для пакетной передачи транспортного канала, имеет основные характеристики специализированного канала, и одна из характеристик должна поддерживать программируемую эстафетную передачу. Когда поддерживается программируемая эстафетная передача, UE аппаратура, расположенная в регионе программируемой эстафетной передачи, может устанавливать соединение E-DCH каналов со всеми узлами B, входящими в ее активный набор.
Фиг.5 изображает схему, иллюстрирующую известную операцию поддержки программируемой эстафетной передачи для E-DCH канала. Как показано на фиг.5, UE аппаратура 504 содержит в своем активном наборе узлы B 501, 502 и 503. При управлении мощностью обратной линии связи UE аппаратура 504 создает одну объединенную команду управления передаваемой мощностью (TPC) посредством объединения команды TPC#1 506, передаваемой из узла B#1 501, команды TPC#2 507, передаваемой из узла B#2 502, и команды TPC#3 508, передаваемой из узла B#3 503, и определяет мощность передачи для передачи данных 505 E-DCH канала обратной линии связи в зависимости от объединенной TPC команды. Согласно известному способу объединения TPC команд UE аппаратура 504 снижает мощность передачи E-DCH канала 505 на заданное значение, если какая-либо одна из команд TPC 506, 507 и 508 является командой ВНИЗ (DOWN), и повышает мощность передачи E-DCH канала 505 на заданное значение, если какая-либо одна из команд TPC 506, 507 и 508 является командой ВВЕРХ (UP). Указанный способ называется способом “OR-of-DOWN”.
Абонентская аппаратура UE 504 в программируемой эстафетной передаче выполняет операцию HARQ запроса следующим образом. После передачи данных 505 E-DCH канала UE аппаратура 504 принимает сигналы ACK/NACK 511, 512 и 513 из узлов B 501, 502 и 503, соответственно. Если один из сигналов ACK/NACK является сигналом ACK, то UE аппаратура 504 заканчивает операцию HARQ запроса, то есть операцию запроса повторной передачи, на текущих данных 505 E-DCH канала. Однако, если все сигналы ACK/NACK являются сигналами NACK, то UE аппаратура 504 повторно передает те же самые данные 505 E-DCH канала.
То есть, если только узел B#l 501 принимает данные 505 E-DCH канала, передаваемые UE аппаратурой 504 без ошибки, а другим узлам не удается нормально принимать данные 505 E-DCH канала, передаваемые UE аппаратурой 504, то RNC контроллер 510, к которому подключены узлы B 501, 502 и 503, может правильно принимать информацию, включенную в данные 505 E-DCH канала, передаваемые UE аппаратурой 504. Следовательно, если только одному из узлов B 501, 502 и 503, включенных в активный набор, удается принять данные 505 E-DCH канала, то повторная передача HARQ запроса больше не требуется.
Абонентская аппаратура, расположенная в регионе программируемой эстафетной передачи, одновременно принимает информацию присвоения регламентирования, относящуюся к E-DCH каналу, из нескольких узлов B, включенных в активный набор. Среди узлов B, включенных в активный набор, в качестве узла B лучшего регламентирования выбирается узел B, имеющий наилучшее условие для регламентирования UE аппаратуры (то есть обслуживающий узел B), а другие узлы выбираются в качестве узлов B не лучшего регламентирования (то есть не обслуживающие узлы B). Не обслуживающими узлами B называются узлы B, которые включены в активный набор UE аппаратуры, но не могут быть выбраны в качестве обслуживающего узла B. По сравнению с не обслуживающими узлами B, обслуживающий узел B имеет более высокий авторитет в регламентировании UE аппаратуры, расположенной в регионе программируемой эстафетной передачи. UE аппаратура определяет транспортный формат (скорость передачи данных, скорость кодирования и т.д.) E-DCH канала, который должен передаваться в направлении обратной линии связи посредством объединенной информации присвоения регламентирования из обслуживающего узла B с информацией присвоения регламентирования из не обслуживающих узлов B.
Хотя способ регламентирования обслуживающего узла B используется в такой же степени, как и способ, используемый для регламентирования UE аппаратов, расположенных не в регионе программируемой эстафетной передачи, регламентирование не обслуживающего узла B выполняется пассивным способом для минимизации помех для других узлов B, включенных в активный набор. То есть, по сравнению с информацией присвоения регламентирования не обслуживающего узла B, информация присвоения регламентирования обслуживающего узла B становится более значительным фактором для определения E-DCH канала UE аппаратурой.
Однако UE аппаратура, расположенная в регионе программируемой эстафетной передачи, подчиняется управлению мощностью передачи не только посредством обслуживающего узла B, но также посредством не обслуживающего узла B. Следовательно, если не обслуживающий узел B является старшим по отношению к обслуживающему узлу B в терминах условий канала обратной линии связи, то UE аппаратура может подчиняться TPC управлению не обслуживающего узла B. Вследствие того, что мощность передачи UE аппаратуры управляется на основе не обслуживающего узла B, информация статуса UE аппаратуры может приниматься на обслуживающем узле B с очень высокой частотой появления ошибок. В данном случае обслуживающий узел B может просто детектировать информацию статуса UE аппаратуры. В известном методе E-DCH канала, обслуживающий узел B, хотя и имеет высокий авторитет, выполняет регламентирование, используя некорректную информацию статуса UE аппаратуры, ухудшая характеристики регламентирования.
Раскрытие изобретения
Таким образом, для того чтобы решить вышеупомянутую задачу, иллюстративные варианты воплощения настоящего изобретения обеспечивают способ и устройство передачи сигналов информации статуса абонентской аппаратуры (UE) с целью регламентирования улучшенных транспортных каналов обратной линии связи для UE аппаратуры, расположенной в регионе программируемой эстафетной передачи в асинхронной широкополосной системе связи множественного доступа с кодовым разделением каналов (WCDMA).
Кроме того, иллюстративная особенность настоящего изобретения обеспечивает способ и устройство, в которых, когда UE аппаратура, расположенная в регионе программируемой эстафетной передачи, передает информацию статуса UE аппаратуры, используя передачу сигналов управления доступом к передающей среде (MAC)-e, обслуживающий узел B может правильно принимать информацию статуса UE аппаратуры.
Согласно одной иллюстративной особенности настоящего изобретения в системе мобильной связи, поддерживающей службу сервиса пакетных данных обратной линии связи, обеспечивается способ для передачи информации статуса абонентской аппаратуры (UE) UE аппаратурой, связанной с одним обслуживающим узлом B и, по меньшей мере, с одним не обслуживающим узлом B. Способ содержит шаги генерации данных транспортных каналов, содержащих информацию статуса UE аппаратуры; передачи данных транспортных каналов в обслуживающий узел B и, по меньшей мере, в один не обслуживающий узел B; приема сигнала отклика для данных транспортных каналов из обслуживающего узла B; повторной передачи данных транспортных каналов, если сигнал отклика, принятый из обслуживающего узла B, является сигналом не подтверждения (NACK), и завершения повторной передачи данных транспортных каналов, если сигнал отклика, принятый из обслуживающего узла B, является сигналом подтверждения (ACK).
Согласно другой иллюстративной особенности настоящего изобретения в системе мобильной связи, поддерживающей службу сервиса пакетных данных обратной линии связи, обеспечивается способ для передачи информации статуса абонентской аппаратуры (UE) UE аппаратурой, связанной с одним обслуживающим узлом B и, по меньшей мере, с одним не обслуживающим узлом B. Способ содержит шаги генерации данных транспортных каналов, содержащих информацию статуса UE аппаратуры; передачи данных транспортных каналов в обслуживающий узел B и, по меньшей мере, в один не обслуживающий узел B; приема сигнала отклика для данных транспортных каналов из обслуживающего узла B; передачи данных транспортных каналов, содержащих информацию статуса UE аппаратуры, и новых пакетных данных в обслуживающий узел B и, по меньшей мере, в один не обслуживающий узел B, если сигнал отклика, принятый из обслуживающего узла B, содержит сигнал не подтверждения (NACK), и сигнал отклика, принятый из, по меньшей мере, одного не обслуживающего узла B, содержит сигнал подтверждения (ACK); и завершения передачи данных транспортных каналов, если сигнал отклика, принятый из обслуживающего узла B, является сигналом подтверждения (ACK).
Согласно другой иллюстративной особенности настоящего изобретения обеспечивается устройство абонентской аппаратуры (UE) для передачи информации статуса абонентской аппаратуры (UE) в один обслуживающий узел B и, по меньшей мере, в один не обслуживающий узел B в системе мобильной связи, поддерживающей службу сервиса пакетных данных обратной линии связи. Устройство содержит генератор для генерации данных транспортных каналов, содержащих информацию статуса UE аппаратуры; передатчик для передачи данных транспортных каналов в обслуживающий узел B и, по меньшей мере, в один не обслуживающий узел B; и приемник для приема сигнала отклика для данных транспортных каналов из обслуживающего узла B. Передатчик избирательно повторно передает информацию статуса UE аппаратуры согласно сигналу отклика, принятому из обслуживающего узла B, без рассмотрения сигнала отклика, принятого, по меньшей мере, из одного не обслуживающего узла B, если данные транспортных каналов содержат информацию статуса UE аппаратуры.
Согласно еще одной иллюстративной особенности настоящего изобретения обеспечивается способ для передачи пакетных данных обратной линии связи абонентской аппаратурой (UE), связанной с одним обслуживающим узлом B и, по меньшей мере, с одним не обслуживающим узлом B в системе мобильной связи, поддерживающей службу сервиса пакетных данных обратной линии связи. Способ содержит шаги генерации данных первого канала управления, показывающих транспортный формат данных транспортных каналов, имеющих пакетные данные для службы сервиса пакетных данных, и данных второго канала управления, содержащих информацию статуса UE аппаратуры; определения первой мощности передачи для данных первого канала управления согласно командам управления мощностью, принятым из обслуживающего узла B и, по меньшей мере, одного не обслуживающего узла B; установки заданного значения смещения мощности для данных второго канала управления; определения второй мощности передачи для данных второго канала управления путем прибавления значения смещения мощности к первой мощности передачи; применения коэффициентов усиления для первой мощности передачи и второй мощности передачи к данным первого канала управления и данным второго канала управления, и передачи данных первого канала управления с примененным коэффициентом усиления и данных второго канала управления после мультиплексирования.
Согласно еще одной иллюстративной особенности настоящего изобретения обеспечивается устройство абонентской аппаратуры (UE) для передачи пакетных данных обратной линии связи в один обслуживающий узел B и, по меньшей мере, в один не обслуживающий узел B в системе мобильной связи, поддерживающей службу сервиса пакетных данных обратной линии связи. Устройство содержит генератор первого канала управления для генерации данных первого канала управления, показывающих транспортный формат данных транспортных каналов, имеющих пакетные данные для службы сервиса пакетных данных; генератор второго канала управления для генерации данных второго канала управления, содержащих информацию статуса UE аппаратуры; и мультиплексор для умножения данных первого канала управления на коэффициент усиления первой мощности для первой мощности передачи, для умножения данных второго канала управления на коэффициент усиления для второй мощности передачи, и для передачи данных первого канала управления, умноженных на коэффициент усиления мощности, и данных второго канала управления после мультиплексирования. Вторая мощность передачи определяется путем прибавления заданного смещения мощности для данных второго канала управления к первой мощности передачи.
Краткое описание чертежей
В дальнейшем изобретение поясняется описанием конкретных вариантов его воплощения со ссылками на сопровождающие чертежи, на которых:
фиг.1 изображает схему, иллюстрирующую известную конфигурацию UMTS глобальной сети радиосвязи с абонентами (UTRAN),
фиг.2 изображает схему, иллюстрирующую иерархическую структуру, представляющую интерфейс между UE аппаратурой и контроллерами радиосети (RNC),
фиг.3 изображает схему, иллюстрирующую известный способ передачи данных по E-DCH каналу в обратной линии радиосвязи,
фиг.4 изображает схему передачи сигналов, иллюстрирующую известную процедуру для передачи и приема сообщений по улучшенному специализированному каналу (E-DCH) обратной линии связи,
фиг.5 изображает схему, иллюстрирующую известную операцию для поддержки программируемой эстафетной передачи для E-DCH канала,
фиг.6 изображает диаграмму, иллюстрирующую структуру иллюстративного модуля пакетных данных (PDU) протокола управления доступом к передающей среде (MAC)-e согласно иллюстративному варианту воплощения настоящего изобретения,
фиг.7 изображает схему, иллюстрирующую иллюстративную структуру передатчика для передачи данных E-DCH канала передачи сигналов по (MAC)-e протоколу с информацией статуса UE аппаратуры, согласно иллюстративному варианту воплощения настоящего изобретения,
фиг.8 изображает схему, иллюстрирующую иллюстративную структуру приемника узла B для приема данных E-DCH канала передачи сигналов по (MAC)-e протоколу с информацией статуса UE аппаратуры, согласно иллюстративному варианту воплощения настоящего изобретения,
фиг.9 изображает процедурную блок-схему, иллюстрирующую иллюстративное воплощение действия абонентской аппаратуры (UE), согласно иллюстративному варианту воплощения настоящего изобретения,
фиг.10 изображает схему, иллюстрирующую иллюстративную структуру передатчика UE аппаратуры, согласно иллюстративному варианту воплощения настоящего изобретения,
фиг.11 изображает схему, иллюстрирующую иллюстративную структуру приемника узла B, согласно иллюстративному варианту воплощения настоящего изобретения, и
фиг.12 изображает процедурную блок-схему, иллюстрирующую иллюстративное воплощение принципа действия абонентской аппаратуры (UE), согласно иллюстративному варианту воплощения настоящего изобретения.
Осуществление изобретения
Далее будет подробно описано несколько иллюстративных вариантов воплощения настоящего изобретения со ссылками на сопровождающие чертежи. В последующем описании, для краткости, опускается подробное описание известных включенных здесь функций и конфигураций.
Иллюстративные варианты воплощения настоящего изобретения обеспечивают способ и устройство, в которых абонентская аппаратура (UE), расположенная в регионе программируемой эстафетной передачи, эффективно передает информацию статуса UE аппаратуры в обслуживающий узел B. Когда абонентская аппаратура (UE), расположенная в регионе программируемой эстафетной передачи, передает информацию статуса UE аппаратуры в обслуживающие узлы B, включенные в ее активный набор, посредством выполнения управления мощностью передачи обратной линии связи, используя иллюстративный OR-of-DOWN способ, информация статуса UE аппаратуры может правильно передаваться в обслуживающий узел B.
Информация статуса UE аппаратуры содержит, например, информацию статуса, по меньшей мере, одного буфера, показывающую количество данных, хранимых в буфере UE аппаратуры, информацию мощности передачи обратной линии связи, показывающую условия канала обратной линии связи UE аппаратуры, и информацию запаса мощности, показывающую доступную мощность для UE аппаратуры. Способ передачи информации статуса UE аппаратуры в обслуживающий узел B делится на способ передачи сигналов физического канала, в котором используются физические каналы, и способ MAC-e передачи сигналов, который должен содержать, по меньшей мере, данные и информацию статуса UE аппаратуры в MAC-e заголовке или полезной нагрузке модуля пакетных данных (PDU), генерируемых в MAC-e уровне, и способ, передающий их через улучшенный специализированный канал (E-DCH) обратной линии связи.
Фиг.6 изображает диаграмму, иллюстрирующую структуру иллюстративного модуля пакетных данных (PDU) протокола управления доступом к передающей среде (MAC)-e, согласно иллюстративному варианту воплощения настоящего изобретения. Как показано на фиг.6, по меньшей мере, один модуль данных обслуживания MAC-e (SDU) 602 представляет полезную нагрузку MAC-e PDU модуля 603, а MAC-e PDU модуль 603 создается путем прибавления MAC-e заголовка 601, содержащего информацию, вставляемую в MAC-e уровне, по меньшей мере, в один модуль MAC-e SDU 602. Модуль MAC-e PDU 603 называется данными E-DCH канала. В процессе передачи сигналов информация статуса UE аппаратуры включается в MAC-e заголовок 601 или в MAC-e SDU модуль 602.
Указанный иллюстративный вариант воплощения обеспечивает способ MAC-e передачи сигналов, в котором UE аппаратура, расположенная в регионе программируемой эстафетной передачи, в процессе передачи информации статуса UE аппаратуры в обслуживающие узлы B, точно передает свою информацию статуса UE аппаратуры в обслуживающий узел B.
Абонентская аппаратура (UE) передает информацию статуса UE аппаратуры в обслуживающий узел B, используя способ передачи сигналов, такой как иллюстративный способ MAC-e передачи сигналов. В способе MAC-e передачи сигналов информация статуса UE аппаратуры включается в данные E-DCH канала перед передачей. Если нет передачи пакетных данных, то E-DCH данные могут включать только информацию статуса UE аппаратуры. Вследствие того, что E-DCH канал поддерживает запрос гибридной автоматической повторной передачи (HARQ), E-DCH канал, содержащий информацию статуса UE аппаратуры, также сопровождается операцией HARQ запроса. Также обслуживающий узел B, включенный в активный набор UE аппаратуры, расположенной в регионе программируемой эстафетной передачи, независимо выполняет операцию HARQ запроса, и каждый из узлов B проверяет ошибку в информации передачи сигналов, такой как E-DCH данные, содержащей информацию статуса UE аппаратуры (упоминаемую здесь как “E-DCH данные MAC-e передачи сигналов”), и посылает сигнал ACK/NACK, учитывая результат проверки ошибок.
В данном иллюстративном варианте воплощения, в операции HARQ запроса для MAC-e передачи сигналов E-DCH данных с информацией статуса UE аппаратуры, UE аппаратура использует только сигнал обслуживающего узла B в качестве критерия для определения ACK/NACK. То есть, даже несмотря на то, что не обслуживающий узел B передает сигнал как отклик на MAC-e передачу сигналов E-DCH данных с информацией статуса UE аппаратуры, как только обслуживающий узел B передает сигнал NACK, UE аппаратура выполняет повторную передачу E-DCH данных MAC-e передачи сигналов с информацией статуса UE аппаратуры. Операция повторной передачи HARQ запроса выполнятся в пределах заданного максимального числа повторных передач (которое называется здесь как “максимальное число повторной передачи”).
Теперь, со ссылкой на фиг.7, будет дано описание иллюстративного варианта воплощения выполнения операции повторной передачи E-DCH данных MAC-e передачи сигналов с информацией статуса UE аппаратуры до тех пор, пока обслуживающий узел B передает сигнал ACK.
Фиг.7 изображает схему, иллюстрирующую иллюстративную структуру передатчика для передачи данных E-DCH канала передачи сигналов по протоколу (MAC)-e с информацией статуса UE аппаратуры, согласно иллюстративному варианту воплощения настоящего изобретения. Как показано на фиг.7, если есть необходимость передавать информацию 702 статуса UE аппаратуры, то пакетные данные 701 и информация 702 статуса UE аппаратуры мультиплексируются в мультиплексоре (MUX) 703, создавая E-DCH данные 704. Если нет пакетных данных 701 для передачи, то мультиплексор 703 создает E-DCH данные 704 только с информацией статуса UE аппаратуры. Определение того, передается ли информация 702 статуса UE аппаратуры в текущем временном интервале передачи (TTI), достигается посредством контроллера 725 сообщения статуса UE аппаратуры. Контроллер 725 сообщения статуса UE аппаратуры управляет мультиплексором 703 посредством сигнала 726 управления и мультиплексирует информацию 702 статуса UE аппаратуры и пакетные данные 701, если есть необходимость передачи информации 702 статуса UE аппаратуры, а в противном случае выводит только пакетные данные 701. Также, если нет пакетных данных 701, то E-DCH данные 704 не будут создаваться. То есть для создания E-DCH данных 704, необходимо иметь, по меньшей мере, что-то одно из информации статуса UE аппаратуры и пакетных данных 701. Способ, которым контроллер 725 сообщения статуса UE аппаратуры определяет, передавать ли информацию 702 статуса UE аппаратуры, делится на периодический способ и событийный способ.
Выходной сигнал E-DCH данных 704 из мультиплексора 703 вводится в модуль 705 присоединения циклического избыточного кода (CRC). Модуль 705 присоединения CRC кода присоединяет CRC код к E-DCH данным 704 и выводит E-DCH данные 704 с присоединенным CRC кодом в модуль 706 сегментации кодового блока. Модуль 706 сегментации кодового блока сегментирует E-DCH данные 704 с присоединенным CRC кодом в кодовые блоки, подходящие по размеру для ввода информации в модуль 707 канального кодирования, и выводит кодовые блоки в модуль 707 канального кодирования. Модуль 707 канального кодирования кодирует по каналам кодовые блоки и выводит закодированную по каналам информацию в модуль 708 HARQ запроса и согласования скоростей. Модуль 708 HARQ запроса и согласования скоростей выполняет согласование скоростей на закодированной по каналам информации и выводит информацию с согласованием скоростей в модуль 709 перемежения и отображения физических каналов. Модуль 709 перемежения и отображения физических каналов перемежает информацию с согласованием скоростей и отображает перемеженную информацию на данные 730 физического канала для улучшенного специализированного физического канала данных (E-DPDCH). Данные 730 E-DPDCH канала мультиплексируются с данными 712 специализированного физического канала данных (DPDCH), данными 711 специализированного физического канала управления (DPCCH) и данными 713 E-DPCCH канала для переноса информации, относящейся к транспортному формату E-DCH канала в мультиплексоре 710, и затем передаются в узел B.
Модуль 708 HARQ запроса и согласования определяет, передавать ли повторно E-DCH данные 704 в соответствии с сигналами отклика, принятыми непоказанным приемником из обслуживающего узла B и не обслуживающего узла B. В частности, E-DCH данные MAC-e передачи сигналов с информацией статуса UE аппаратуры повторно передаются в пределах максимального количества повторных передач до тех пор, пока обслуживающий узел B передает ACK сигнал. В данном случае, невозможно получить коэффициент усиления при макроразнесенном приеме из-за программируемой эстафетной передачи. Однако, вследствие того, что управление мощностью выполняется посредством рассмотрения коэффициента усиления при макро разнесенном приеме, есть необходимость в дополнительном способе компенсации намеренно отвергнутого коэффициента усиления при макроразнесенном приеме.
В первом способе E-DCH данные MAC-e передачи сигналов с информацией статуса UE аппаратуры больше основных E-DCH данных в терминах используемого максимального количества повторных передач по HARQ запросу. Здесь, основные E-DCH данные относятся к E-DCH данным без информации MAC-e передачи сигналов. Увеличение максимального количества повторных передач по HARQ запросу повышает коэффициент передачи, компенсируя намеренно отвергнутый коэффициент усиления при макроразнесенном приеме.
Сигнал 723 управления показывает способ для управления максимальным количеством повторных передач по HARQ запросу. Контроллер 722 параметров обеспечивает сигнал 723 управления, представляющий максимальное число повторных передач в модуль 708 HARQ запроса и согласования скоростей согласно сигналу 728 управления, обеспеченному из контроллера 725 сообщения статуса UE аппаратуры и сигнала 721 индикации программируемой эстафетной передачи (SHO). Модуль 708 HARQ запроса и согласования скоростей повышает максимальное число повторных передач по HARQ запросу на заданное значение только при передаче E-DCH данных MAC-e передачи сигналов с информацией статуса UE аппаратуры в состоянии программируемой эстафетной передачи, или, в противном случае, использует существующее значение максимального числа повторных передач по HARQ запросу. Модуль 708 HARQ запроса и согласования скоростей передает пакетные данные после каждого приема сигнала NACK и отбрасывает пакетные данные, если число повторных передач (называемое здесь как “число повторных передач”) достигает значения сигнала 723 управления.
Во втором иллюстративном способе E-DCH данные MAC-e передачи сигналов с информацией статуса UE аппаратуры больше основных E-DCH данных в терминах используемого коэффициента усиления канала. Увеличение коэффициента усиления физического канала повышает коэффициент передачи, компенсируя намеренно отвергнутый коэффициент усиления при макроразнесенном приеме.
Сигнал 724 управления представляет способ для управления коэффициентом усиления физического канала. Контроллер 722 параметров обеспечивает сигнал 724 управления, представляющий коэффициент усиления физического канала в модуль 709 перемежения и отображения физических каналов согласно сигналу 728 управления, обеспеченному из контроллера 725 сообщения статуса UE аппаратуры и сигнала 721 индикации SHO передачи. Модуль 709 перемежения и отображения физических каналов повышает коэффициент усиления канала E-DPDCH данных 730 на заданное значение только при передаче E-DCH данных MAC-e передачи сигналов с информацией статуса UE аппаратуры в состоянии программируемой эстафетной передачи или, в противном случае, использует существующее значение коэффициента усиления канала.
Описание сделано для двух иллюстративных способов компенсации для намеренно отвергнутого коэффициента усиления при макроразнесенном приеме для E-DCH данных MAC-e передачи сигналов с информацией статуса UE аппаратуры. Хотя два иллюстративных способа могут использоваться отдельно, они могут использоваться вместе, как показано на фиг.7. Для приращения максимального числа повторных передач и приращения коэффициента усиления канала используются заданные значения или значения, определенные путем анализа условий узлов B посредством узла B или RNC контроллера, и затем сообщаются в UE аппаратуру и обслуживающий узел B.
Контроллер 725 сообщения статуса UE аппаратуры определяет, передавать ли информацию 702 статуса UE аппаратуры, используя периодический или событийный способы. Когда информация статуса UE аппаратуры передается на событийной основе, приемник узла B может затрудняться в определении того, являются принятые E-DCH данные E-DCH данными MAC-e передачи сигналов с информацией статуса UE аппаратуры или основными E-DCH данными без информации передачи сигналов. Следовательно, когда передаются E-DCH данные MAC-e передачи сигналов с информацией 702 статуса UE аппаратуры, контроллер 725 сообщения статуса UE аппаратуры содержит информацию индикации, указывающую E-DCH данные MAC-e передачи сигналов в E-DPCCH данных 713, определяющих транспортный формат (TF) E-DCH данных, и сообщает узлу B, что E-DCH данные MAC-e передачи сигналов передаются на событийной основе. Контроллер 725 сообщения статуса UE аппаратуры, посредством сигнала 727 управления, обеспечивает возможность того, чтобы E-DPCCH данные 713 содержали TF формат, указывающий наличие/отсутствие E-DCH данных MAC-e передачи сигналов, или содержали индикатор информации статуса UE аппаратуры. Приемник узла B, принимая E-DPCCH данные 713, может правильно определять тип E-DCH данных, то есть определять, являются ли E-DCH данные E-DCH данными MAC-e передачи сигналов.
Фиг.8 изображает схему, иллюстрирующую иллюстративную структуру приемника узла B для приема E-DCH данных передачи сигналов по протоколу (MAC)-e с информацией статуса UE аппаратуры, согласно иллюстративному варианту воплощения настоящего изобретения. Как показано на фиг.8, сигнал 801, принятый из UE аппаратуры, вводится в демультиплексор (DEMUX) 802. Демультиплексор 802 демультиплексирует принятый сигнал 801 в E-DPCCH данные 812, DPCCH данные 813, DPDCH данные 814, и E-DPDCH данные 830 с E-DCH данными. Узел B сначала должен определить, являются E-DCH данные E-DCH данными MAC-e передачи сигналов с информацией статуса UE аппаратуры или нет. Если информация статуса UE аппаратуры передается на периодической основе, то контроллер 820 сообщения статуса UE аппаратуры должен детектировать передачу информации статуса UE аппаратуры посредством вычисления текущего периода. Однако если информация статуса UE аппаратуры передается на событийной основе, то контроллер 820 сообщения статуса UE аппаратуры может детектировать передачу информации статуса UE аппаратуры через TF формат или через индикатор 821 информации статуса UE аппаратуры, включенный в E-DPCCH данные 812. Индикатор 821 информации статуса UE аппаратуры вводится в контроллер 820 сообщения статуса UE аппаратуры, и контроллер 820 сообщения статуса UE аппаратуры использует индикатор 821 информации статуса UE аппаратуры, чтобы показывать, являются ли E-DCH данные E-DCH данными MAC-e передачи сигналов с информацией статуса UE аппаратуры.
Если определяется, что принятые E-DCH данные являются E-DCH данными MAC-e передачи сигналов с информацией статуса UE аппаратуры, то контроллер 820 сообщения статуса UE аппаратуры управляет демультиплексором (DEMUX) 809, используя сигнал 823 управления так, чтобы демультиплексировать E-DCH данные в информацию 810 статуса UE аппаратуры и пакетные данные 811. В противном случае, контроллер 820 сообщения статуса UE аппаратуры управляет демультиплексором 809, используя сигнал 823 управления так, чтобы выводить только пакетные данные 811.
Вследствие того, что E-DCH данные MAC-e передачи сигналов с информацией статуса UE аппаратуры отличаются от основных E-DCH данных по максимальному числу повторных передач по HARQ запросу и/или по коэффициенту усиления E-DPDCH канала, приемник также должен поддерживать их. Контроллер 820 сообщения статуса UE аппаратуры информирует, используя сигнал 822 управления, контроллер 825 параметров, являются принятые E-DCH данные E-DCH данными MAC-e передачи сигналов с информацией статуса UE аппаратуры. Контроллер 825 параметров создает сигналы 826 и 827 управления согласно сигналу 822 управления и сигналу 824 индикации SHO. Сигнал 826 управления вводится в модуль 804 HARQ запроса и рассогласования скоростей, модуль 804 HARQ запроса и рассогласования скоростей определяет максимальное число повторных передач по HARQ запросу согласно сигналу 826 управления. Сигнал 827 управления вводится в модуль 803 обращенного перемежения и обратного преобразования физических каналов, и модуль 803 обращенного перемежения и обратного преобразования физических каналов управляет коэффициентом усиления канала E-DPDCH данных 830 согласно сигналу 827 управления.
Данные E-DPDCH 830 вводятся в модуль 803 обращенного перемежения и обратного преобразования физических каналов; модуль 803 обращенного перемежения и обратного преобразования физических каналов выполняет обратное преобразование физических каналов и обращенное перемежение на E-DPDCH данных 830 и выводит результирующую информацию в модуль 804 HARQ запроса и рассогласования скоростей. Модуль 804 HARQ запроса и рассогласования скоростей выполняет обработку HARQ запроса и рассогласование скоростей на входной информации и выводит результирующую информацию в модуль 805 канального декодирования. Модуль 804 HARQ запроса и рассогласования скоростей обходит обращенно перемеженные данные или объединяет обращенно перемеженные данные с предыдущими принятыми данными согласно тому, являются ли обращенно перемеженные данные повторно передаваемыми данными, и после этого рассогласует скорости данных. Модуль 805 канального декодирования декодирует информацию, рассогласованную по скоростям модулем 804 HARQ запроса и рассогласования скоростей, и выводит канально декодированную информацию в модуль конкатенации 806 кодовых блоков. Модуль 806 конкатенации кодовых блоков конкатенирует канально декодированную информацию и выводит конкатенированную информацию в модуль 807 проверки циклического избыточного кода. Модуль 807 проверки CRC кода выполняет проверку CRC кода на конкатенированной информации и выводит CRC проверенную информацию как E-DCH данные 808. E-DCH данные 808 демультиплексируются в информацию 810 статуса UE аппаратуры и пакетные данные 811 посредством демультиплексора 809.
Если E-DCH данные MAC-e передачи сигналов с информацией статуса UE аппаратуры передаются не периодически, то есть, если необходимо передавать информацию статуса UE аппаратуры на событийной основе, то E-DPCCH данные 812 содержат индикатор 821 информации статуса UE аппаратуры, показывающий, передаются ли E-DCH данные MAC-e передачи сигналов. Каждый из узлов B может определять, является ли он обслуживающим узлом B или не обслуживающим узлом B посредством процесса программируемой эстафетной передачи и процесса установки лучшего/не обслуживающего узла B, и детектирует наличие/отсутствие E-DCH данных MAC-e передачи сигналов посредством индикатора информации статуса UE аппаратуры, указывающего передачу/не передачу E-DCH данных MAC-e передачи сигналов.
В процессе передачи E-DCH данных MAC-e передачи сигналов с информацией статуса UE аппаратуры, UE аппаратура, расположенная в регионе программируемой эстафетной передачи, определяет в качестве эффективного сигнала только сигнал ACK/NACK из обслуживающего узла B и отбрасывает сигнал ACK/NACK из не обслуживающего узла B. Следовательно, когда E-DCH данные MAC-e передачи сигналов с информацией статуса UE аппаратуры принимаются из UE аппаратуры, расположенной в регионе программируемой эстафетной передачи, не обслуживающий узел B не требуется для передачи сигнала ACK/NACK. Соответственно, не обслуживающий узел B может сберегать мощность передачи прямой линии связи за счет мощности передачи, необходимой для передачи сигнала ACK/NACK.
Как описано выше, максимальное число повторных передач или максимальное количество повторных передач, установленное для передачи E-DCH данных MAC-e передачи сигналов, может быть больше или равно максимальному числу повторных передач, установленному для передачи основных E-DCH данных. Однако в некоторых случаях E-DCH данные MAC-e передачи сигналов не могут быть успешно приняты на обслуживающем узле B в пределах переустановленного максимального числа повторных передач. В таком случае UE аппаратура повторно включает информацию статуса UE аппаратуры в следующие E-DCH данные во время передачи следующих E-DCH данных. То есть сигнал ACK для E-DCH данных MAC-e передачи сигналов не принимается из обслуживающего узла B до тех пор, пока текущее число повторных передач не достигнет максимального числа повторных передач; UE аппаратура заканчивает повторную передачу пакетных данных и передает E-DCH данные MAC-e передачи сигналов, содержащие новые пакетные данные и информацию статуса UE аппаратуры в следующем TTI интервале. После передачи следующих E-DCH данных MAC-e передачи сигналов UE аппаратура одновременно рассматривает сигнал ACK/NACK только из обслуживающего узла B.
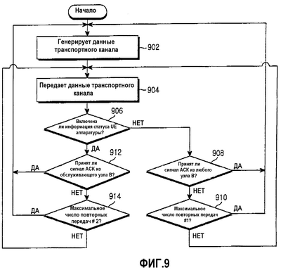
Фиг.9 изображает процедурную блок-схему, иллюстрирующую иллюстративное воплощение действия UE аппаратуры, согласно иллюстративному варианту воплощения настоящего изобретения. Как показано на фиг.9, UE аппаратура на шаге 902 создает данные транспортного канала, в частности E-DCH данные, и на шаге 904 передает E-DCH данные после мультиплексирования их с другими данными транспортного канала. Данные E-DCH, созданные на шаге 902, могут содержать информацию статуса UE аппаратуры на периодической основе или на событийной основе. На шаге 906 UE аппаратура определяет, содержат ли E-DCH данные информацию статуса UE аппаратуры. Если E-DCH данные представляют собой основные E-DCH данные без информации статуса UE аппаратуры, то на шаге 908 UE аппаратура определяет, принят ли сигнал ACK из любого одного из узлов B в ответ на E-DCH данные. Если сигнал ACK принят из какого-либо одного из обслуживающего узла B и не обслуживающего узла B, то UE аппаратура возвращается к шагу 902, чтобы передать новые E-DCH данные.
Однако, если сигналы NACK принимаются со всех узлов B, то на шаге 910 UE аппаратура определяет, достигло ли число повторных передач E-DCH данных первого максимального числа повторных передач. Если число повторных передач E-DCH данных не достигло первого максимального числа повторных передач, то UE аппаратура возвращается к шагу 904, чтобы повторно передать E-DCH данные. Однако, если число повторных передач достигло первого максимального числа повторных передач, то UE аппаратура возвращается к шагу 902, чтобы передать новые E-DCH данные, оставляя передачу E-DCH данных.
Однако, если на шаге 906 определяется, что E-DCH данные представляют собой E-DCH данные MAC-e передачи сигналов с информацией статуса UE аппаратуры, то на шаге 912 UE аппаратура определяет, принят ли сигнал ACK из обслуживающего узла B, без рассмотрения сигнала отклика из не обслуживающего узла B. Если сигнал ACK принят из обслуживающего узла B, то UE аппаратура возвращается к шагу 902, чтобы передать новые E-DCH данные.
Однако, если сигнал NACK принят из обслуживающего узла B, то на шаге 914 UE аппаратура определяет, достигло ли число повторных передач E-DCH данных MAC-e передачи сигналов второго максимального числа повторных передач, которое устанавливается больше первого максимального числа повторных передач. Если число повторных передач E-DCH данных MAC-e передачи сигналов не достигло второго максимального числа повторных передач, то UE аппаратура возвращается к шагу 904, чтобы повторно передать E-DCH данные MAC-e передачи сигналов. Однако, если число повторных передач E-DCH данных MAC-e передачи сигналов достигло второго максимального числа повторных передач, то UE аппаратура возвращается к шагу 902, чтобы передать новые E-DCH данные, оставляя передачу E-DCH данных.
Другой иллюстративный вариант воплощения обеспечивает способ передачи сигналов информации статуса UE аппаратуры через физический канал управления UE аппаратурой, расположенной в регионе программируемой эстафетной передачи. Абонентская аппаратура (UE) использует 2 специализированных физических канала, относящихся к E-DCH, то есть E-DPCCH1 канал и E-DPCCH2 канал. Канал E-DPCCH1 специфицирует TF формат E-DCH данных для передачи, а E-DPCCH2 канал переносит информацию статуса UE аппаратуры независимо от E-DCH данных.
Теперь будет описана передача данных с использованием E-DPCCH1 канала и E-DPCCH2 канала. И информация, специфицирующая TF формат E-DCH данных, и информация статуса UE аппаратуры может передаваться через E-DPDCH канал или E-DPCCH канал. Таким образом, иллюстративный вариант воплощения настоящего изобретения может применяться во всех случаях, где информация статуса UE аппаратуры передается через физический канал.
В случае, когда управление мощностью выполняется в регионе программируемой эстафетной передачи посредством объединения команд управления передаваемой мощностью (TPC), принятых из нескольких узлов B, используя OR-of-DOWN способ, мощность передачи E-DPCCH1 канала или E-DPCCH2 канала может быть недостаточной, так что обслуживающий узел B не может правильно передавать информацию статуса UE аппаратуры. Следовательно, иллюстративный вариант воплощения обеспечивает способ компенсации недостатка мощности передачи E-DPCCH2 канала.
Абонентская аппаратура, расположенная в регионе программируемой эстафетной передачи, передает E-DPCCH2 канал, используя мощность передачи, определенную путем прибавления некоторого значения смещения мощности к мощности передачи E-DPCCH1 канала известным способом управления мощностью. То есть мощность передачи E-DPCCH2 канала выше, чем мощность передачи E-DPCCH1 канала на значение смещения мощности.
При входе в регион программируемой эстафетной передачи UE аппаратура определяет мощность передачи для E-DPCCH2 канала путем прибавления некоторого значения смещения мощности к мощности передачи E-DPCH1 канала. В качестве смещения мощности используется заданное значение или значение, определенное узлом B или RNC контроллером, и затем используется значение, переданное в UE аппаратуру и узел B.
Альтернативно, может быть использовано значение смещения мощности, адаптивно определенное в пределах заданного диапазона. То есть UE аппаратура задает предел значения смещения мощности и определяет значение смещения мощности в пределах, используя разницу между командой TPC управления, обеспеченной из обслуживающего узла B, и объединенной командой TPC управления, определенной OR-of-DOWN способом. Если есть разница между командой TPC управления из обслуживающего узла B и объединенной командой TPC управления, то UE аппаратура увеличивает значение смещения мощности E-DPCCH2 канала со значения, используемого в предыдущем временном интервале, например, на 2 дБ, и если между ними нет разницы, то UE аппаратура использует неизмененное значение смещения мощности, используемое в предыдущем временном интервале.
Если команда TPC управления из обслуживающего узла B представляет собой команду ВВЕРХ, а объединенная команда TPC управления – команду ВНИЗ, то UE аппаратура увеличивает значение смещения мощности. Аналогично, значение смещения мощности не может превышать заданный предел. Если значение смещения мощности достигает предела, то UE аппаратура поддерживает значение смещения мощности на пределе, даже несмотря на то, что TPC управление из обслуживающего узла B представляет собой команду ВВЕРХ и объединенное TPC управление команду ВНИЗ. В это время, если TPC управление из обслуживающего узла B становится командой ВНИЗ, то значение смещения мощности инициализируется на 0 дБ.
Фиг.10 изображает схему, иллюстрирующую иллюстративную структуру передатчика UE аппаратуры, согласно иллюстративному варианту воплощения настоящего изобретения. Как показано на фиг.10, информация 1005 статуса UE аппаратуры состоит из данных 1010 E-DPCCH2 канала. Данные 1015 E-DPCCH1 канала, специфицирующие TF формат E-DCH данных, создаются мультиплексором 1009 посредством мультиплексирования индикатора ресурсов транспортного формата (TFRI) 1006, показывающего формат транспортного блока E-DCH данных, информации 1007, относящейся к HARQ запросу, показывающей, передавать ли E-DCH данные или другую информацию 1008 повторно. Данные 1015 E-DPCCH1 канала и данные 1010 E-DPCCH2 канала, вместе с данными 1013 DPDCH канала, данными 1012 DPCCH канала, данными 1011 HS-DPCCH канала (E-DPDCH канала для высокоскоростного доступа к пакетным данным (HSDPA)) и данными 1014 E-DPDCH канала, содержащими E-DCH данные, умножаются на соответствующие коэффициенты усиления каналов, и затем мультиплексируются с временным мультиплексированием или кодовым мультиплексированием в блоке 1016 мультиплексирования и установки коэффициента усиления канала. Блок 1016 мультиплексирования и установки коэффициента усиления канала мультиплексирует с временным мультиплексированием только E-DPCCH1 данные 1015 и E-DPCCH2 данные 1010, и мультиплексирует с кодовым мультиплексированием другие данные 1011 по 1014 каналов. Коэффициент усиления канала E-DPCCH2 данных 1010 определяется путем прибавления заданного значения смещения мощности к коэффициенту усиления канала E-DPCCH1 данных 1015. Мультиплексированные данные передаются на сигнале 1017 передачи.
Блок 1016 мультиплексирования и установки коэффициента усиления канала управляется согласно сигналу 1002 управления, который генерируется контроллером 1001 программируемой эстафетной передачи (SHO) в зависимости от сигнала 1000 индикации SHO передачи. Если сигнал 1000 индикации SHO передачи указывает регион SHO передачи, то SHO контроллер 1001 устанавливает значение смещения мощности E-DPCCH2 данных 1010 в блоке 1016 мультиплексирования и установки коэффициента усиления канала, используя сигнал 1002 управления. Значение смещения мощности, как описано выше, может быть заранее заданным значением, значением, задаваемым узлом B, или адаптивно варьируемым значением.
Фиг.11 изображает схему, иллюстрирующую иллюстративную структуру приемника узла B, согласно иллюстративному варианту воплощения настоящего изобретения. Как показано на фиг.11, приемник узла B демультиплексирует в демультиплексоре 1116 сигнал 1117, принятый из UE аппаратуры, во множество канальных данных. Демультиплексор 1116 выводит данные 1111 HS-DPCCH канала, данные 1112 DPCCH канала, данные 1113 DPDCH канала, данные 1114 E-DPDCH канала с E-DCH данными, данные 1115 E-DPCCH1 канала и данные 1110 E-DPCCH2 канала. В процессе приема E-DPCCH2 данных 1110, значение смещения мощности передачи устанавливается в UE передатчике фиг.10, как требуется демультиплексором 1116 для подавления помех и измерения мощности приема. Вследствие того, что E-DPCCH2 данные 1110 принимаются только в регионе программируемой эстафетной передачи, контроллер 1101 программируемой эстафетной передачи (SHO) детектирует состояние программируемой эстафетной передачи UE аппаратуры, используя сигнал 1100 индикации SHO передачи, и информирует демультиплексор 1116 о состоянии программируемой эстафетной передачи, используя сигнал 1102 управления. Если сигнал 1102 управления показывает состояние программируемой эстафетной передачи, то демультиплексор 1116 выполняет демультиплексирование на E-DPCCH2 данных 1110, используя значение смещения мощности. Значение смещения мощности может быть заранее заданным значением, значением, задаваемым узлом B, или RNC контроллером.
Демультиплексор 1109 демультиплексирует данные 1115 E-DPCCH1 канала, чтобы выделить TFRI индикатор 1106, информацию 1107, относящуюся к HARQ запросу, или другую информацию 1108. Приемник узла B детектирует информацию 1105 статуса UE аппаратуры, принимая E-DPCCH2 данные 1110, и регламентирует скорость передачи данных UE аппаратуры согласно информации 1105 статуса UE аппаратуры.
В другом иллюстративном варианте воплощения, UE аппаратура, расположенная в регионе программируемой эстафетной передачи, передает информацию статуса UE аппаратуры с передачей сигналов физического канала, используя E-DPCCH2 канал, тогда как E-DPCCH2 данные, содержащие информацию статуса UE аппаратуры, передаются повторно. В указанном иллюстративном варианте воплощения, UE аппаратура может использовать два специализированных физических каналов E-DPCCH1 канала и E-DPCCH2 канала. Канал E-DPCCH1 специфицирует TF формат E-DCH данных для передачи, а E-DPCCH2 канал переносит информацию статуса UE аппаратуры независимо от E-DCH данных.
Теперь будет описана передача данных с использованием E-DPCCH1 канала и E-DPCCH2 канала. И информация, специфицирующая TF формат E-DCH данных, и информация статуса UE аппаратуры может передаваться через E-DPDCH канал или E-DPCCH канал. Следовательно, иллюстративный вариант воплощения настоящего изобретения может применяться ко всем случаям, где E-DCH данные с информацией статуса UE аппаратуры передается через физический канал.
В случае, когда управление мощностью выполняется в регионе программируемой эстафетной передачи посредством объединения TPC команд, принятых из нескольких узлов B, используя OR-of-DOWN способ, мощность передачи E-DPCCH1 канала или E-DPCCH2 канала может быть недостаточной, такой, что обслуживающий узел B не может правильно передавать информацию статуса UE аппаратуры. Следовательно, иллюстративный вариант воплощения компенсирует недостаток мощности передачи E-DPCCH2 канала посредством повторной передачи.
Чтобы компенсировать недостаток мощности передачи E-DPCCH2 канала, UE аппаратура повторно передает E-DPCCH2 данные два или несколько раз при входе в регион программируемой эстафетной передачи, тем самым получая коэффициент усиления при разнесенном по времени приеме. В качестве значения числа повторений (называемое здесь “число повторений”) для E-DPCCH2 канала используется заданное значение или значение, определенное узлом B или RNC контроллером, и затем передается в UE аппаратуру и узел B.
Теперь, со ссылкой на фиг.10, будет описана иллюстративная структура передатчика UE аппаратуры согласно иллюстративному варианту воплощения. Как показано на фиг.10, информация 1005 статуса UE аппаратуры состоит из данных 1010 E-DPCCH2 канала. Данные 1015 E-DPCCH1 канала, специфицирующие TF формат E-DCH данных, создаются мультиплексором 1009 посредством мультиплексирования индикатора ресурсов транспортного формата (TFRI) 1006, показывающего формат транспортного блока E-DCH данных, информации 1007, относящейся к HARQ запросу, показывающей, передавать ли повторно E-DCH данные или другую информацию 1008. Данные 1015 E-DPCCH1 канала и данные 1010 E-DPCCH2 канала, вместе с данными 1013 DPDCH канала, данными 1012 DPCCH канала, данными 1011 HS-DPCCH канала и данными 1014 E-DPDCH канала, содержащими E-DCH данные, мультиплексируются с соответствующими коэффициентами усиления каналов, и затем мультиплексируются с временным мультиплексированием или кодовым мультиплексированием в блоке 1016 мультиплексирования и установки коэффициента усиления канала.
Блок 1016 мультиплексирования и установки коэффициента усиления канала управляется согласно сигналу 1002 управления, который генерируется SHO контроллером 1001 в зависимости от сигнала 1000 индикации SHO передачи. Если сигнал 1000 индикации SHO передачи указывает регион SHO передачи, то SHO контроллер 1001 управляет числом повторений для E-DPCCH2 данных 1010 в блоке 1016 мультиплексирования и установки коэффициента усиления канала, используя сигнал 1002 управления. Затем блок 1016 мультиплексирования и установки коэффициента усиления канала повторно передает E-DPCCH2 данные 1010 посредством временного мультиплексирования. Как описано выше, для значения числа повторений для E-DPCCH2 канала используется заранее заданное значение или значение, задаваемое узлом B.
Теперь, со ссылкой на фиг.11, будет описана иллюстративная структура приемника UE аппаратуры согласно иллюстративному варианту воплощения настоящего изобретения. Как показано на фиг.11, приемник узла B демультиплексирует в демультиплексоре 1116 сигнал 1117, принятый из UE аппаратуры, во множество канальных данных. Демультиплексор 1116 выводит данные 1111 HS-DPCCH канала, данные 1112 DPCCH канала, данные 1113 DPDCH канала, данные 1114 E-DPDCH канала с E-DCH данными, данные 1115 E-DPCCH1 канала и данные 1110 E-DPCCH2 канала. Данные 1110 E-DPCCH2 канала могут повторно передаваться из UE аппаратуры, и повторная передача выполняется только тогда, когда UE аппаратура расположена в регионе программируемой эстафетной передачи. Следовательно, SHO контроллер 1101 управляет демультиплексором 1116, используя сигнал 1102 управления, который генерируется в зависимости от сигнала 1100 индикации SHO передачи.
Если сигнал 1102 управления показывает регион программируемой эстафетной передачи, то демультиплексор 1116 объединяет повторно принятые E-DPCCH2 данные 1110, используя, например, способ тщательного поиска с максимальным коэффициентом. В качестве значения числа повторений для E-DPCCH2 канала используется заданное значение или значение, определяемое узлом B или RNC контроллером. Передатчик UE аппаратуры и узел B совместно используют одно и то же значение числа повторений.
Другой иллюстративный вариант воплощения обеспечивает способ, в котором UE аппаратура, расположенная в регионе программируемой эстафетной передачи, точно передает информацию статуса UE аппаратуры в обслуживающий узел B в процессе передачи информации статуса UE аппаратуры в узел B с помощью способа MAC-e передачи сигналов.
Абонентская аппаратура передает свою информацию статуса UE аппаратуры в узлы B способом MAC-e передачи сигналов. В способе MAC-e передачи сигналов информация статуса UE аппаратуры включается в данные E-DCH канала вместе с пакетными данными перед передачей. Вследствие того, что E-DCH канал поддерживает запрос гибридной автоматической повторной передачи (HARQ), информация статуса UE аппаратуры, передаваемая через E-DCH канал, также сопровождается операцией HARQ запроса. Также UE аппаратура, расположенная в регионе программируемой эстафетной передачи, и узел B, включенный в активный набор UE аппаратуры, выполняет операцию HARQ запроса, и каждый из узлов B проверяет ошибку в E-DCH данных, в частности в E-DCH данных MAC-e передачи сигналов, и посылает сигнал ACK/NACK согласно результату проверки ошибок.
Если какой-либо один из сигналов ACK/NACK, принятых из узлов B, является сигналом ACK, то UE аппаратура больше не выполняет повторную передачу E-DCH данных MAC-e передачи сигналов, соответствующих сигналу ACK. Здесь, если сигнал ACK был принят из не обслуживающего узла B, а обслуживающий узел B передал сигнал NACK, то обслуживающий узел B не может детектировать информацию статуса UE аппаратуры, включенную в E-DCH данные MAC-e передачи сигналов. Следовательно, в указанном иллюстративном варианте воплощения, UE аппаратура повторно передает информацию статуса UE аппаратуры до тех пор, пока обслуживающий узел B принимает информацию статуса UE аппаратуры. Подробный процесс будет описан здесь ниже.
Абонентская аппаратура (UE) передает информацию статуса UE аппаратуры через E-DCH данные MAC-e передачи сигналов. Если операция HARQ запроса данных E-DCH канала MAC-e передачи сигналов заканчивается, когда обслуживающий узел B передает сигнал NACK в ответ на E-DCH данные MAC-e передачи сигналов, или не обслуживающий узел B передает сигнал ACK, то обслуживающий узел B не может принять информацию статуса UE аппаратуры.
В нормальном случае, информация статуса UE аппаратуры генерируется на периодической или событийной основе, и затем передается на данных E-DCH канала способом MAC-e передачи сигналов только для соответствующего периода. Однако, если процесс HARQ запроса завершится перед тем, как обслуживающий узел B примет информацию статуса UE аппаратуры, как описано выше, то UE аппаратура повторно передает следующие пакетные данные и информацию статуса UE аппаратуры, используя способ MAC-e передачи сигналов, даже в процессе передачи E-DCH данных в следующем периоде. Повторно передаваемая информация статуса UE аппаратуры может быть либо ранее переданной информацией статуса UE аппаратуры, либо заново измеренной информацией статуса UE аппаратуры. Даже несмотря на то, что UE аппаратура передала информацию статуса UE аппаратуры, используя способ MAC-e передачи сигналов, если процесс HARQ запроса завершается не в ответ на сигнал ACK из обслуживающего узла B, то UE аппаратура повторно передает информацию статуса UE аппаратуры посредством MAC-e передачи сигналов на каждом TTI интервале.
Таким образом, UE аппаратура непрерывно передает информацию статуса UE аппаратуры посредством MAC-e передачи сигналов и останавливает передачу информации статуса UE аппаратуры в момент времени, когда обслуживающий узел B передает сигнал ACK. То есть момент, в который когда обслуживающий узел B передает сигнал ACK, UE аппаратура может воспринимать, что обслуживающий узел B принял информацию статуса UE аппаратуры. Тогда нет необходимости повторно передавать информацию статуса UE аппаратуры, и UE аппаратура передает E-DCH данные, содержащие пакетные данные без информации статуса UE аппаратуры, до следующего раза, когда информация статуса UE аппаратуры должна будет передаваться на периодической или событийной основе.
В указанном иллюстративном варианте воплощения, операция HARQ запроса UE аппаратуры является постоянной независимо от способа MAC-e передачи сигналов для передачи информации статуса UE аппаратуры, и изменяется только операция создания MAC-e модуля пакетных данных (PDU) в MAC-e уровне.
Фиг.12 изображает процедурную блок-схему, иллюстрирующую иллюстративное воплощение принципа действия абонентской аппаратуры (UE), согласно иллюстративному варианту воплощения настоящего изобретения. Как показано на фиг.12, UE аппаратура на шаге 1202 создает данные транспортного канала, в частности E-DCH данные, и на шаге 1204 передает E-DCH данные после мультиплексирования их с другими данными транспортного канала. Данные E-DCH, созданные на шаге 1202, могут содержать информацию статуса UE аппаратуры на периодической основе или на событийной основе. На шаге 1206, UE аппаратура определяет, содержат ли E-DCH данные информацию статуса UE аппаратуры. Если E-DCH данные представляют собой основные E-DCH данные без информации статуса UE аппаратуры, то на шаге 1208 UE аппаратура определяет, принят ли сигнал ACK из любого одного из узлов B в ответ на E-DCH данные. Если сигнал ACK принят из любого одного из обслуживающего узла B и не обслуживающего узла B, то UE аппаратура возвращается к шагу 1202, чтобы передать новые E-DCH данные.
Однако, если сигналы NACK принимаются со всех узлов B, то на шаге 1210 UE аппаратура определяет, достигло ли число повторных передач E-DCH данных первого максимального числа повторных передач. Если число повторных передач E-DCH данных не достигло максимального числа повторных передач, то UE аппаратура возвращается к шагу 1204, чтобы повторно передать E-DCH данные. Однако, если число повторных передач достигло максимального числа повторных передач, то UE аппаратура возвращается к шагу 1202, чтобы передать новые E-DCH данные, оставляя передачу E-DCH данных.
Однако, если на шаге 1206 определяется, что E-DCH данные представляют собой E-DCH данные MAC-e передачи сигналов, содержащие и информацию статуса UE аппаратуры, и пакетные данные, то на шаге 1212 UE аппаратура определяет, принят ли сигнал ACK из обслуживающего узла B. Если сигнал ACK принимается из обслуживающего узла B, то UE аппаратура возвращается к шагу 1202, чтобы передать новые E-DCH данные.
Однако, если сигнал NACK принят из обслуживающего узла B, то на шаге 1214 UE аппаратура определяет, принимается ли сигнал ACK из любого одного из не обслуживающих узлов B. Если сигнал ACK принимается из любого не обслуживающего узла B, то на шаге 1218 UE аппаратура создает новые E-DCH данные, содержащие новые пакетные данные и информацию статуса UE аппаратуры, определяя, что пакетные данные, включенные в данных E-DCH канала MAC-e передачи сигналов будут передаваться в RNC контроллер через не обслуживающий узел B, и затем возвращается к шагу 1204, чтобы передать новые E-DCH данные.
Однако, если на шаге 1214 определяется, сигналы NACK принимаются со всех узлов B, то на шаге 1216 UE аппаратура определяет, достигло ли число повторных передач данных E-DCH канала MAC-e передачи сигналов максимального числа повторных передач. Если число повторных передач E-DCH данных MAC-e передачи сигналов не достигло максимального числа повторных передач, то UE аппаратура возвращается к шагу 1204, чтобы повторно передать полные E-DCH данные MAC-e передачи сигналов. Однако, если число повторных передач E-DCH данных MAC-e передачи сигналов достигло максимального числа повторных передач, то UE аппаратура переходит к шагу 1218, чтобы передать новые E-DCH данные, оставляя передачу пакетных данных, включенные в E-DCH данные MAC-e передачи сигналов.
Как можно понять из предшествующего описания, предлагаемый способ может эффективно регламентировать UE аппаратуру, расположенную в регионе программируемой эстафетной передачи, в процессе регламентирования выполнения для пакетной передачи обратной линии связи в WCDMA системе связи. Абонентская аппаратура (UE), расположенная в регионе программируемой эстафетной передачи, правильно и надежно передает свою информацию статуса UE аппаратуры в обслуживающий узел B, имеющий более высокий авторитет регламентирования, тем самым, внося вклад в повышение характеристик регламентирования и стабильности всей системы.
Хотя изобретение было показано и описано со ссылкой на некоторые его варианты воплощения, специалистам должно быть понятно, что в нем могут быть сделаны различные изменения по форме и деталям, не отклоняясь от сущности и объема изобретения, который определен формулой изобретения.
Формула изобретения
1. Способ для передачи информации статуса абонентской аппаратуры (UE) посредством UE аппаратуры, связанной с одним обслуживающим узлом В и, по меньшей мере, с одним не обслуживающим узлом В в системе мобильной связи, поддерживающей службу сервиса пакетных данных обратной линии связи, способ содержит шаги: генерации данных транспортных каналов, содержащих информацию статуса UE аппаратуры; передачи данных транспортных каналов в обслуживающий узел В и, по меньшей мере, в один не обслуживающий узел В; приема сигнала отклика для данных транспортных каналов из обслуживающего узла В; повторной передачи данных транспортных каналов, если сигнал отклика, принятый из обслуживающего узла В, является сигналом не подтверждения (NACK), и завершения повторной передачи данных транспортных каналов, если сигнал отклика, принятый из обслуживающего узла В, является сигналом подтверждения (АСК).
2. Способ по п.1, в котором информация статуса UE аппаратуры содержит, по меньшей мере, что-то одно, либо информацию мощности передачи, когда передается информация статуса UE аппаратуры, либо информацию о величине данных обратной линии связи.
3. Способ по п.1, в котором шаг генерации данных транспортных каналов содержит шаги: генерации данных транспортных каналов, содержащих заголовок и полезную нагрузку; определения того, передавать ли информацию статуса UE аппаратуры; и вставки информации статуса UE аппаратуры в данные транспортных каналов, если определяется, что нужно передавать информацию статуса UE аппаратуры.
4. Способ по п.1, в котором шаг повторной передачи содержит шаг передачи данных транспортных каналов в пределах заданного максимального числа повторных передач, используя заданный коэффициент усиления канала, в котором, по меньшей мере, одна величина из максимального числа повторных передач и коэффициента усиления канала устанавливается согласно тому, содержат ли данные транспортных каналов информацию статуса UE аппаратуры.
5. Способ по п.4, который также содержит шаг установки максимального числа повторных передач для данных транспортных каналов, равным второму значению, которое больше первого значения, если данные транспортных каналов содержат информацию статуса UE аппаратуры, при этом первое значение устанавливается равным максимальному числу повторных передач для данных транспортных каналов, если данные транспортных каналов не содержат информацию статуса UE аппаратуры.
6. Способ по п.5, который также содержит шаг передачи новых данных транспортных каналов, содержащих информацию статуса UE аппаратуры и следующие пакетные данные, в обслуживающий узел В и, по меньшей мере, в один не обслуживающий узел В, если сигнал АСК для данных транспортных каналов не принимается из обслуживающего узла В до тех пор, пока число повторных передач данных транспортных каналов, содержащих информацию статуса UE аппаратуры, не достигнет второго значения.
7. Способ по п.4, который также содержит шаг установки коэффициента усиления канала данных транспортных каналов, равным второму значению, которое больше первого значения, если данные транспортных каналов содержат информацию статуса UE аппаратуры, при этом первое значение устанавливается равным коэффициенту усиления канала данных транспортных каналов, если данные транспортных каналов не содержат информацию статуса UE аппаратуры.
8. Способ для передачи информации статуса абонентской аппаратуры (UE) UE аппаратурой, связанной с одним обслуживающим узлом В и, по меньшей мере, с одним не обслуживающим узлом В, в системе мобильной связи, поддерживающей службу сервиса пакетных данных обратной линии связи, способ содержит шаги генерации данных транспортных каналов, содержащих информацию статуса UE аппаратуры; передачи данных транспортных каналов в обслуживающий узел В и, по меньшей мере, в один не обслуживающий узел В; приема сигнала отклика для данных транспортных каналов из обслуживающего узла В; передачи данных транспортных каналов, содержащих информацию статуса UE аппаратуры и новые пакетные данные, в обслуживающий узел В и, по меньшей мере, в один не обслуживающий узел В, если сигнал отклика, принятый из обслуживающего узла В, содержит сигнал не подтверждения (NACK), и сигнал отклика, принятый из, по меньшей мере, одного не обслуживающего узла В, содержит сигнал подтверждения (АСК); и завершения передачи данных транспортных каналов, если сигнал отклика, принятый из обслуживающего узла В, является сигналом подтверждения (АСК).
9. Способ по п.8, который также содержит шаг передачи новых данных транспортных каналов, содержащих информацию статуса UE аппаратуры и пакетные данные, в обслуживающий узел В и, по меньшей мере, в один не обслуживающий узел В, если сигнал отклика, принятый из обслуживающего узла В, и сигнал отклика, принятый, по меньшей мере, из одного не обслуживающего узла В, содержит сигналы NACK.
10. Способ по п.8, в котором информация статуса UE аппаратуры содержит, по меньшей мере, что-то одно, либо информацию мощности передачи, когда передается информация статуса UE аппаратуры, либо информацию о величине данных обратной линии связи.
11. Способ по п.8, в котором шаг генерации данных транспортных каналов содержит шаги: генерации данных транспортных каналов, имеющих заголовок и полезную нагрузку; определения того, передавать ли информацию статуса UE аппаратуры; и вставки информации статуса UE аппаратуры в данные транспортных каналов, если определяется, что нужно передавать информацию статуса UE аппаратуры.
12. Устройство абонентской аппаратуры (UE) для передачи информации статуса абонентской аппаратуры (UE) в один обслуживающий узел В и, по меньшей мере, в один не обслуживающий узел В в системе мобильной связи, поддерживающей службу сервиса пакетных данных обратной линии связи, устройство содержит генератор для генерации данных транспортных каналов, содержащих информацию статуса UE аппаратуры; передатчик для передачи данных транспортных каналов в обслуживающий узел В и, по меньшей мере, в один не обслуживающий узел В; и приемник для приема сигнала отклика для данных транспортных каналов из обслуживающего узла В; при этом передатчик избирательно повторно передает информацию статуса UE аппаратуры согласно сигналу отклика, принятому из обслуживающего узла В, без рассмотрения сигнала отклика, принятого, по меньшей мере, из одного не обслуживающего узла В, если данные транспортных каналов содержат информацию статуса UE аппаратуры.
13. Устройство по п.12, в котором информация статуса UE аппаратуры содержит, по меньшей мере, что-то одно, либо информацию мощности передачи, когда передается информация статуса UE аппаратуры, либо информацию о величине данных обратной линии связи.
14. Устройство по п.12, в котором генератор вставляет информацию статуса UE аппаратуры в данные транспортных каналов согласно сигналу управления, указывающему, передавать ли информацию статуса UE аппаратуры.
15. Устройство по п.12, в котором передатчик передает данные транспортных каналов в пределах заданного максимального числа повторных передач, используя заданный коэффициент усиления канала, в котором, по меньшей мере, одна величина из максимального числа повторных передач и коэффициента усиления канала устанавливается согласно тому, содержат ли данные транспортных каналов информацию статуса UE аппаратуры.
16. Устройство по п.15, в котором максимальное число повторных передач для данных транспортных каналов устанавливается, равным второму значению, которое больше первого значения, если данные транспортных каналов содержат информацию статуса UE аппаратуры, при этом первое значение устанавливается равным максимальному числу повторных передач для данных транспортных каналов, если данные транспортных каналов не содержат информацию статуса UE аппаратуры.
17. Устройство по п.16, в котором передатчик передает новые данные транспортных каналов, содержащие информацию статуса UE аппаратуры и следующие пакетные данные в обслуживающий узел В и, по меньшей мере, в один не обслуживающий узел В, если сигнал АСК для данных транспортных каналов не принимается из обслуживающего узла В, до тех пор, пока число повторных передач данных транспортных каналов, содержащих информацию статуса UE аппаратуры, не достигнет второго значения.
18. Устройство по п.15, в котором коэффициент усиления канала данных транспортных каналов устанавливается, равным второму значению, которое больше первого значения, если данные транспортных каналов содержат информацию статуса UE аппаратуры, при этом первое значение устанавливается равным коэффициенту усиления канала данных транспортных каналов, если данные транспортных каналов не содержат информацию статуса UE аппаратуры.
19. Устройство по п.12, в котором передатчик обеспечивает: передачу данных транспортных каналов, содержащих информацию статуса UE аппаратуры и новые пакетные данные, в обслуживающий узел В и, по меньшей мере, в один не обслуживающий узел В, если сигнал отклика, принятый из обслуживающего узла В, является сигналом NACK, и сигнал отклика, принятый из, по меньшей мере, одного не обслуживающего узла В является сигналом АСК; и завершение передачи данных транспортных каналов, если сигнал отклика, принятый из обслуживающего узла В, является сигналом АСК.
20. Устройство по п.19, в котором передатчик обеспечивает передачу данных транспортных каналов, содержащих информацию статуса UE аппаратуры и пакетные данные, в обслуживающий узел В и, по меньшей мере, в один не обслуживающий узел В, если сигнал отклика, принятый из обслуживающего узла В, и сигнал отклика, принятый, по меньшей мере, из одного не обслуживающего узла В, являются сигналами NACK.
21. Способ для передачи пакетных данных обратной линии связи абонентской аппаратурой (UE), связанной с одним обслуживающим узлом В и, по меньшей мере, с одним не обслуживающим узлом В в системе мобильной связи, поддерживающей службу сервиса пакетных данных обратной линии связи, способ содержит шаги: генерации данных первого канала управления, показывающих транспортный формат данных транспортных каналов, имеющих пакетные данные для службы сервиса пакетных данных, и данных второго канала управления, содержащих информацию статуса UE аппаратуры; определения первой мощности передачи для данных первого канала управления согласно командам управления мощностью, принятым из обслуживающего узла В и, по меньшей мере, одного не обслуживающего узла В; установки заданного значения смещения мощности для данных второго канала управления; определения второй мощности передачи для данных второго канала управления путем прибавления значения смещения мощности к первой мощности передачи; и применения коэффициентов усиления для первой мощности передачи и для второй мощности передачи к данным первого канала управления и к данным второго канала управления, и передачи данных первого канала управления с примененным коэффициентом усиления канала и данных второго канала управления с примененным коэффициентом усиления канала после мультиплексирования.
22. Способ по п.21, в котором значение смещения мощности является заданным фиксированным значением или значением, определенным контроллером радиосети.
23. Способ по п.21, в котором шаг установки значения смещения мощности содержит шаги определения объединенной команды управления мощностью, путем объединения команд управления мощностью, принятых из обслуживающего узла В, и, по меньшей мере, одного не обслуживающего узла В; увеличения значения смещения мощности со значения смещения мощности предыдущего временного интервала на заданное значение, если объединенная команда управления мощностью отличается от команды управления мощностью, принятой из обслуживающего узла В; и установки значения смещения мощности равным значению смещения мощности предыдущего временного интервала, если объединенная команда управления мощностью идентична команде управления мощностью, принятой из обслуживающего узла В.
24. Способ по п.23, в котором шаг установки значения смещения мощности также содержит шаги определения того, достигло ли значение смещения мощности заданного предельного значения, если объединенная команда управления мощностью отличается от команды управления мощностью, принятой из обслуживающего узла В; и анализа команды управления мощностью, принятой из обслуживающего узла В, если значение смещения мощности достигло предельного значения; поддержания значения смещения мощности на предельном значении, если команда управления мощностью, принятая из обслуживающего узла В, содержит команду “ВВЕРХ”; и инициализации значения смещения мощности, если команда управления мощностью, принятая из обслуживающего узла В, содержит команду “ВНИЗ”.
25. Способ по п.21, в котором данные второго канала управления передаются повторно, по меньшей мере, дважды.
26. Устройство абонентской аппаратуры (UE) для передачи пакетных данных обратной линии связи в один обслуживающий узел В и, по меньшей мере, в один не обслуживающий узел В в системе мобильной связи, поддерживающей службу сервиса пакетных данных обратной линии связи, устройство содержит: генератор первого канала управления для генерации данных первого канала управления, показывающих транспортный формат данных транспортных каналов, имеющих пакетные данные для службы сервиса пакетных данных; генератор второго канала управления для генерации данных второго канала управления, содержащих информацию статуса UE аппаратуры; и мультиплексор для умножения данных первого канала управления на коэффициент усиления канала для первой мощности передачи, для умножения данных второго канала управления на второй коэффициент усиления канала для второй мощности передачи, и для передачи данных первого канала управления, умноженных на коэффициент усиления канала, и данных второго канала управления, умноженных на коэффициент усиления канала, после мультиплексирования; при этом вторая мощность передачи определяется путем прибавления заданного смещения мощности для данных второго канала управления к первой мощности передачи.
27. Устройство UE аппаратуры по п.26, в котором значение смещения мощности является или заданным фиксированным значением или значением, определенным контроллером радиосети, и затем передается.
28. Устройство UE аппаратуры по п.26, в котором значение смещения мощности увеличивается со значения смещения мощности предыдущего временного интервала на заданное значение, если объединенная команда управления мощностью, определенная объединенными командами управления мощностью, принятыми из обслуживающего узла В и, по меньшей мере, одного не обслуживающего узла В, отличается от команды управления мощностью, принятой из обслуживающего узла В; при этом значение смещения мощности устанавливается равным значению смещения мощности предыдущего временного интервала, если объединенная команда управления мощностью идентична команде управления мощностью, принятой из обслуживающего узла В.
29. Устройство UE аппаратуры по п.28, в котором значение смещения мощности поддерживается на заданном предельном значении, если увеличенное значение смещения мощности достигло предельного значения и команда управления мощностью, принятая из обслуживающего узла В, содержит команду “ВВЕРХ”; и в котором значение смещения мощности инициализируется, если увеличенное значение смещения мощности достигло предельного значения и команда управления мощностью, принятая из обслуживающего узла В, содержит команду “ВНИЗ”.
30. Устройство UE аппаратуры по п.26, в котором данные второго канала управления передаются повторно, по меньшей мере, дважды.
31. Способ для передачи пакетных данных из абонентской аппаратуры (UE), обслуживаемой одним обслуживающим узлом В и, по меньшей мере, одним не обслуживающим узлом В в системе мобильной связи, поддерживающей службу сервиса пакетных данных обратной линии связи, способ содержит шаги приема данных транспортных каналов для службы сервиса пакетных данных обратной линии связи лучшим обслуживающим узлом В и, по меньшей мере, одним не обслуживающим узлом В; определения того, содержат ли данные транспортного канала информацию статуса UE аппаратуры для службы сервиса пакетных данных для UE аппаратуры; если данные транспортного канала содержат информацию статуса UE аппаратуры, то передачи лучшим обслуживающим узлом В сигнала не подтверждения (NACK) или сигнала подтверждения (АСК) согласно тому, имеется ли ошибка в данных транспортного канала; и если данные транспортного канала содержат информацию статуса UE аппаратуры и не содержат пакетных данных, то игнорирование, по меньшей мере, одним не обслуживающим узлом В того, есть ли ошибка в данных транспортного канала.
32. Способ по п.31, в котором информация статуса UE аппаратуры содержит, по меньшей мере, что-то одно, либо информацию мощности передачи, когда передается информация статуса UE аппаратуры, либо информацию о величине данных обратной линии связи.
33. Способ по п.31, который также содержит шаг установки максимального числа повторных передач для данных транспортных каналов, равным первому значению, если данные транспортных каналов не содержат информацию статуса UE аппаратуры, и установки максимального числа повторных передач для данных транспортных каналов, равным второму значению, которое больше первого значения, если данные транспортных каналов содержат информацию статуса UE аппаратуры.
34. Способ по п.31, который также содержит шаг установки коэффициента усиления канала данных транспортных каналов, равным первому значению, если данные транспортных каналов не содержат информацию статуса UE аппаратуры, и установки коэффициента усиления канала данных транспортных каналов, равным второму значению, которое больше первого значения, если данные транспортных каналов содержат информацию статуса UE аппаратуры.
РИСУНКИ
|
|