|
|
(21), (22) Заявка: 2004124050/09, 09.01.2003
(24) Дата начала отсчета срока действия патента:
09.01.2003
(30) Конвенционный приоритет:
09.01.2002 US 10/045,646
(43) Дата публикации заявки: 27.01.2006
(46) Опубликовано: 20.10.2007
(56) Список документов, цитированных в отчете о поиске:
WO 02/01818, 03.01.2002. RU 2122287 C1, 20.11.1998. GB 2341059 A, 01.03.2000.
(85) Дата перевода заявки PCT на национальную фазу:
09.08.2004
(86) Заявка PCT:
IB 03/00409 (09.01.2003)
(87) Публикация PCT:
WO 03/058892 (17.07.2003)
Адрес для переписки:
129010, Москва, ул. Б. Спасская, 25, стр.3, ООО “Юридическая фирма Городисский и Партнеры”, пат.пов. Ю.Д.Кузнецову, рег.№ 595
|
(72) Автор(ы):
ТУЙЯ Хуртта (FI)
(73) Патентообладатель(и):
НОКИА КОРПОРЕЙШН (FI)
|
(54) СПОСОБ И УСТРОЙСТВО ДЛЯ НАПРАВЛЕНИЯ ОБЪЕКТОВ ПАКЕТА
(57) Реферат:
Способ заключается в том, что принимают пакет; проверяют, является ли пакет фрагментированным пакетом, и если это так, проверяют, содержит ли пакет информацию, относящуюся к выбору правильного канала передачи данных, и если это так, передают пакет в правильный канал передачи данных, сохраняют информацию, относящуюся к фрагментации, содержащуюся в пакете, принимают второй пакет, передают указанный второй пакет в правильный канал передачи данных на основе информации, относящейся к фрагментации, а если нет, сохраняют информацию, относящуюся к фрагментации, содержащуюся в пакете, сохраняют указанный пакет, принимают другой пакет, содержащий информацию, относящуюся к выбору правильного канала передачи данных, и передают другой пакет и сохраненный(ые) пакет (пакеты) в правильный канал передачи данных. Технический результат заключается в передачи фрагментированных пакетов данных. 6 н. и 20 з.п. ф-лы, 3 ил.
Область техники, к которой относится изобретение
Настоящее изобретение относится к способу и устройству для направления объектов пакета в системе передачи данных.
Уровень техники
Сети передачи данных обычно работают в соответствии с определенным стандартом или спецификацией, которые устанавливают, что разрешается выполнять различным элементам сети и как это должно быть обеспечено. Например, стандарт или спецификация могут определять, предоставляется ли пользователю или более точно оборудованию пользователя или терминалу услуга с коммутацией каналов и/или услуга с коммутацией пакетов. Стандарт или спецификация также могут определять протоколы передачи данных и/или параметры, которые следует использовать для связи. Другими словами, стандарты и/или спецификации определяют “правила”, на которых может быть основана связь. Примеры различных стандартов и/или спецификаций для беспроводных систем передачи данных включают без ограничения такие спецификации, как GSM (глобальная система мобильной связи) или различные системы на основе GSM (такие, как GPRS – сеть общих услуг пакетной передачи данных), AMPS (Американская система мобильной связи), DAMPS (Цифровая AMPS), ШМДКР (WCDMA) (Широкополосный множественный доступ с кодовым разделением каналов) или МДКР/ВР (TD/CDMA) (множественный доступ с кодовым/временным разделением каналов) в УСМС (UMTS) (универсальной системой мобильной связи) (Множественный доступ с кодовым разделением/с временным разделением каналов в универсальной системе мобильной связи), IMT 2000 (международная мобильная связь-2000, система мобильной связи третьего поколения) и так далее.
В типичной беспроводной сотовой системе передачи данных базовая станция обслуживает мобильные станции или аналогичные устройства терминалов (мобильная станция (МС, MS) в системе GSM, оборудование пользователя (ОП, UE) в системе UMTS (Универсальная система мобильной связи) через беспроводный интерфейс. Каждая из ячеек сотовой системы связи может обслуживаться с помощью соответствующего устройства приемопередатчика. Например, в сети радиодоступа ШМДКР ячейка обслуживается узлом B, который подключен к элементу, называемому узлом контроллера радиосети (КРС, RNC), и управляется им. В радиосети GSM ячейка обслуживается базовой станцией связи (БСС, BTS), которая подключена к узлу контроллера базовых станций (КБС, BSC) и управляется им. Элемент КБС/КРС может быть подключен к центру коммутации мобильной связи и управление им может осуществляться через центр коммутации мобильной связи (ЦКМ, MSC), обслуживающий узел поддержки GPRS (ОУПО, SGSN) или аналогичное устройство. Контроллеры сети обычно взаимно соединены и при этом могут использоваться один или несколько шлюзов, таких, как шлюзовой MSC (ШЦКМ, GMSC) или шлюзовой (межсетевой) узел поддержки GPRS (ШУПО, GGSN), предназначенных для соединения сотовой сети с другими сетями, такими, как телефонные сети или сети передачи данных с коммутацией каналов или коммутацией пакетов, такими, как Интернет или Интранет. Шлюзовой (межсетевой) узел обеспечивает одну или несколько точек доступа сети к другой сети, то есть точку соединения между двумя сетями.
Как указано выше, сеть передачи данных может обеспечивать беспроводные услуги с коммутацией пакетов. Примеры таких сетей включают сеть GPRS (общих услуг пакетной передачи данных), мобильную сеть системы передачи данных с улучшенной скоростью передачи данных для развития GSM, EDGE или соответствующую систему передачи данных третьего поколения, такую, как системы передачи данных третьего поколения на основе множественного доступа с кодовым разделением каналов (МДКР, CDMA), широкополосного множественного доступа с кодовым разделением каналов (ШМДКР, WCDMA) или множественного доступа с временным разделением каналов (МДВР, TDMA), которые иногда называют универсальной системой мобильной связи (UMTS). Все это относится к передаче данных на мобильные станции и от них. Например, стандарт GPRS используется совместно со стандартом GSM (Глобальная система мобильной связи). Стандарт GSM представляет собой услугу с коммутацией каналов и первоначально был разработан для предоставления речевых услуг. Стандарт GSM и стандарт GPRS имеют общие элементы. Сети GPRS более подробно описаны, например, в 3GPP Technical Specification 3G TS 23.060 version 3.2.0, “General Packet Radio Service (GPRS); Service description; Stage 2”, January 2000. Этот документ приведен здесь в качестве ссылки. Также предложена адаптация стандарта GPRS для использования со стандартом UMTS третьего поколения, в котором обычно применяют широкополосный множественный доступ с кодовым разделением каналов. Часть пакетных данных UMTS содержится в вышеуказанной спецификации 23.060, то есть спецификация 23.060 относится к данным с коммутацией пакетов как для UMTS, так и для GPRS.
Пакеты данных могут быть переданы по сети в контексте протокола пакетных данных (ППД, PDP). Более конкретно контекст PDP относится к части канала передачи данных, который проходит через сеть с коммутацией пакетов (например, сеть GPRS/UMTS). Контекст PDP можно рассматривать как логический канал от беспроводной станции к точке доступа шлюзового (межсетевого) узла, такого, как GGSN, причем точка доступа представляет собой точку соединения между, например, мобильной сетью GPRS/UMTS и внешней сетью передачи данных. Вместо использования термина логический канал, контекст PDP также можно назвать логическим соединением между точкой доступа и пользователем.
Было предложено использовать вторичные контексты PDP. Первичный контекст PDP представляет собой первый контекст PDP, установленный для определенного адреса PDP (или ИП, IP -Интернет-протокол, межсетевой протокол). При этом могут существовать дополнительные контексты PDP для того же адреса и НТД, APN (название точки доступа). Они называются вторичными контекстами PDP. В системе GPRS, предложенной в настоящее время, шлюзовой (межсетевой) узел, такой, как GGSN, должен классифицировать IP пакеты нисходящей линии связи (то есть в направлении от базовой станции к оборудованию пользователя), принятые с IP адресом, для передачи этих IP пакетов по правильному контексту PDP. Однако с этим предложением связана проблема, состоящая в том, что классификация пакета GGSN не работает, если пакеты являются фрагментированными. Это происходит потому, что GGSN использует для классификации пакетов информацию ШПТ, TFT (шаблон потока трафика) и адрес PDP. Следует понимать, что мобильное устройство или аналогичное оборудование может содержать по большей части один контекст PDP без TFT, тогда как другие контексты PDP с тем же адресом PDP должны иметь TFT. TFT включает информацию, доступную в IP и на уровне транспортирования, например ПУП, TCP (протокол управления передачей) или ПДП, UDP (протокол данных пользователя), заголовки, например адрес (адреса) источника (отправителя), порт (порты) источника и порт (порты) назначения (получателя).
Если IP пакеты нисходящей линии связи будут фрагментированы, заголовок транспортирования будет недоступен во всех получающихся в результате фрагментах. Если GGSN будет затем классифицировать IP пакеты на основе информации заголовка транспортирования (то есть если какой-либо из контекстов PDP с адресом PDP включает TFT с информацией заголовка транспортирования), GGSN может посылать фрагменты, не содержащие заголовок транспортирования по неправильному контексту PDP.
В качестве примера, если мобильная станция имеет контекст PDP без TFT, контекст PDP с портом 1234 источника в TFT и контекст PDP с портом 5678 в TFT, GGSN посылает фрагменты без заголовка транспортирования по первому контексту PDP, тогда как фрагмент, включающий заголовок транспортирования с портом 1234 источника или с портом 5678 источника посылает по второму или по третьему контексту PDF в зависимости от порта источника заголовка транспортирования.
В представленном выше примере, если мобильная станция не содержит контекст PDP без TFT (то есть первый контекст PDP), она не будет принимать фрагменты без заголовка транспортирования вообще.
Сущность изобретения
Варианты выполнения настоящего изобретения направлены на решение одной или нескольких вышеуказанных проблем.
В соответствии с аспектом изобретения предложен способ направления пакета в требуемый канал передачи данных из множества каналов передачи данных, заключающийся в том, что:
(a) принимают пакет,
(b) проверяют, является ли пакет фрагментированным пакетом, и если это так,
(c) проверяют, содержит ли пакет информацию, относящуюся к выбору правильного канала передачи данных, и если это так,
направляют пакет в правильный канал передачи данных,
сохраняют информацию, относящуюся к фрагментации, содержащейся в пакете,
принимают второй пакет,
передают указанный второй пакет в правильный канал передачи данных на основе информации, относящейся к фрагментации,
и если нет,
сохраняют информацию, относящуюся к фрагментации, содержащуюся в пакете,
сохраняют указанный пакет;
принимают другой пакет, содержащий информацию, относящуюся к выбору правильного канала передачи данных,
передают другой пакет и сохраненный(ые) пакет (пакеты) в правильный канал передачи данных.
Краткое описание чертежей
Для лучшего понимания настоящего изобретения, и для того, чтобы показать, как изобретение может быть выполнено на практике, ниже, только в качестве примера будет сделана ссылка на прилагаемые чертежи, на которых:
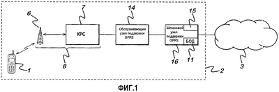
На фиг.1 показана сеть передачи данных, в которой можно использовать вариант выполнения настоящего изобретения; и
на фиг.2 показан пакет, разделенный на фрагментированные пакеты; и
на фиг.3 показана схема последовательности выполнения операций.
Подробное описание изобретения
На фиг.1 показана система передачи данных, в которой можно использовать варианты выполнения настоящего изобретения. Эта система позволяет обеспечить беспроводные услуги с коммутацией пакетов для пользователя 1 системы. Зона обслуживания системы передачи данных может быть разделена на множество ячеек или аналогичных объектов доступа (не показаны). Каждая ячейка содержит связанную с ней базовую станцию 6. В зависимости от используемого в сети стандарта, например в стандартах третьего поколения, базовую станцию иногда называют узлом B. Термин базовая станция будет использоваться в этом документе для обозначения всех элементов, которые производят передачу на беспроводные (радио)станции или подобные устройства через радиоинтерфейс. Мобильная станция 1, то есть беспроводное оборудование пользователя установлено так, что оно может осуществлять связь с соответствующей базовой станцией. Следует понимать, что термин мобильная станция предназначен для охвата любого беспроводного оборудования пользователя соответствующего типа, такого, как портативные устройства обработки данных и сетевые браузеры.
Вариант выполнения настоящего изобретения описан в контексте UMTS (Универсальной системы мобильной связи) и сети GPRS (общих услуг пакетной передачи данных) и передачи данных, включающих пакетные данные. Однако следует понимать, что варианты выполнения настоящего изобретения применимы к любой другой системе передачи данных, которая работает с пакетными данными.
Ниже будут более подробно описаны элементы системы 2 сети UMTS. Мобильная станция или оборудование 1 пользователя установлено так, что оно связано через радиоинтерфейс с соответствующей базовой станцией 6. Базовая станция управляется контроллером 7 радиосети КРС. Контроллер радиосети КРС и базовая станция иногда называются как подсистема 8 радиосети (ПРС, RNS) или сеть с радиодоступом (СРД, RAN). Следует понимать, что сеть UMTS обычно содержит более одного КРС, и что каждый контроллер радиосети в общем установлен для управления более чем одной базовой станцией 6, хотя на фиг.1 показана только одна базовая станция. Элементы ПРС могут содержаться в КРС или на базовой станции, или в обоих этих устройствах. Это связано с конкретным вариантом выполнения. Также возможно устанавливать комбинированный продукт из КРС и базовой станции. В этом случае элементы ПРС могут быть включены в этот комбинированный продукт.
Подсистема 8 радиосети может быть подключена к SGSN 14 (обслуживающий узел поддержки GPRS). SGSN 14 отслеживает расположение мобильной станции и выполняет функции безопасности и управления доступом. Функции SGSN более подробно определены, например, в 3GPP specification 23.060. SGSN 14 подключен к GGSN (шлюзовой (межсетевой узел) поддержки GPRS)) 16. GGSN 16 обеспечивает межсетевую связь с внешней сетью 3 с коммутацией пакетов. Другими словами, GGSN 16 действует как шлюз между сетью 2 UMTS и внешней сетью 3 передачи данных, такой, как сеть передачи данных на основе IP. Функции типичного GGSN также определены в указанной 3GPP specification.
Хотя это не показано на чертежах, сетевая система 2 также может быть подключена к обычным сетям передачи данных, таким, как наземная мобильная сеть общего пользования (НМСОП, PLMN) на основе сотовой системы GSM или коммутируемая телефонная сеть общего пользования (КТСОП, PSTN). Различные сети могут быть взаимно соединены друг с другом с использованием соответствующих интерфейсов и/или шлюзов.
Следующий вариант выполнения может быть выполнен в GGSN 16 по фиг.1, и более точно с использованием блока 11 обработки данных (БОД) GGSN. Однако следует понимать, что вариант выполнения также может быть применим к другим узлам сети 2, таким, как SGSN 14 и КРС 7. Варианты выполнения также могут быть применимы к мобильной станции 1.
Варианты выполнения настоящего изобретения направлены на решение проблем классификации фрагментированных IP пакетов узлом GGSN или аналогичным узлом.
На фиг.2 показан IP пакет 40, который был фрагментирован на множество фрагментов 42. Оригинальный IP пакет имеет IP заголовок 52. Все фрагменты также имеют IP заголовок 50 и могут иметь дополнительные заголовки уровня IP. Фрагменты 42 включают информацию о фрагментации. В случае IPv6, к IP пакетам, получающимся в результате фрагментации, добавляют заголовок 50 фрагмента. Заголовок 50 фрагмента включает, например, информацию идентификации, которая одинакова для всех фрагментов (которые также содержат одинаковый адрес источника и адрес назначения). В случае IPv4 эта информация включена в заголовок IPv4. Заголовок Фрагмента IPv6 определен в RFC 2460 IETF (группа координационного совета по архитектуре сети Интернет). IPv4 определен в RFC 791 IETF.
В случае IPv6 фрагментировать пакет IPv6 разрешено только отправителю. Все пакеты IPv6, получаемые в результате фрагментации, включают заголовок IPv6, содержащий, например, адрес источника и адрес назначения пакета IPv6 и, возможно, заголовки уровня IP, которые могут обрабатываться последовательно, то есть заголовки уровня IP, которые должны быть обработаны дополнительными узлами канала передачи данных, а не только узлом назначения. Кроме того, как указано выше, все фрагменты включают в себя заголовок фрагмента, содержащий следующую информацию: следующий заголовок; смещение фрагмента; флаг М (M=1 означает больше фрагментов, M=0 означает последний фрагмент) и идентификацию. Идентификация одинакова во всех фрагментах IPv6, относящихся к паре адрес источника – адрес назначения. Пакеты IPv6 с одинаковым адресом источника, адресом назначения и идентификацией в заголовке фрагмента должны передаваться по одному контексту PDP.
В случае IPv4 другим узлам вдоль канала также разрешено производить фрагментацию. Если фрагментация была выполнена, заголовок IPv4 включает информацию о фрагментации, например идентификацию, которая одинакова для всех фрагментов, связанных с парой адрес источника – адрес назначения. Пакеты IPv4 с одинаковым адресом источника, адресом назначения и идентификацией должны передаваться по одному контексту PDP.
Обычно GGSN 16 сначала принимает фрагмент 42′, включающий в себя информацию, требуемую вначале для классификации пакета. Возможно, что только один из фрагментов будет включать в себя информацию, которая требуется для классификации 54 пакета. Это происходит, если, например, классификация пакета должна выполняться с информацией транспортного уровня, например, с номерами порта TCP или UDP. В этом случае один из TFT или классификаторов пакета, связанных с первичным или вторичным контекстами PDP, включает информацию транспортного уровня. Однако в других сетях IP, возможно, что GGSN вначале принимает другие фрагменты, и фрагмент, включающий требуемую информацию, поступает позже. Если GGSN должен классифицировать пакеты с информацией, которая не доступна во всех фрагментах, GGSN должен ожидать, пока на него не поступит фрагмент с требуемой информацией. После приема этого фрагмента GGSN получает информацию, определяющую контекст PDF, по которому должны быть направлены в направлении ОП все фрагменты с одинаковым адресом назначения, адресом источника и информацией идентификации.
GGSN записывает (сохраняет) информацию фрагментации, предпочтительно состоящую из заголовка IPv6 и из заголовка фрагмента, или из заголовка IPv4, в запоминающее устройство 15 вместе с информацией контекста PDP. В частности, GGSN записывает адрес источника и информацию идентификации и использует записанную информацию для классификации фрагментов в правильный контекст PDP. Как минимум GGSN записывает информацию идентификации из заголовка фрагмента. Следует отметить, что адрес назначения или его часть проверяются GGSN как адрес PDP в классификации пакета. Если фрагмент 42′, включающий в себя требуемую информацию, не поступает первым, GGSN должен сохранять фрагменты в буфере до тех пор, пока он не примет фрагмент, включающий в себя эту информацию.
В аварийных случаях, например, когда происходит переполнение буферов GGSN, GGSN, вероятно, должен либо отправить старые фрагменты по наиболее подходящему контексту формата PDP (например, по контексту формата PDP, не включающему TFT, если такой существует, или по контексту формата PDP с наименьшим QoS (качество и класс предоставляемых услуг передачи данных)) или сбросить старые фрагменты для освобождения пространства буфера для более новых фрагментов.
В других вариантах выполнения настоящего изобретения GGSN может ограничивать время ожидания фрагмента, который включает в себя информацию, требуемую для классификации пакета, если временной предел будет превышен и требуемый фрагмент не будет принят, GGSN может отправить требуемые фрагменты по наиболее подходящему контексту формата PDP (например, по контексту формата PDP, не включающему TFT, если такой существует, или по контексту формата PDP с самым низким QoS), который GGSN выбирает без требуемого фрагмента.
Также возможен сброс GGSN фрагментов, если нет возможности определить, по какому контексту формата PDP фрагменты должны быть отправлены. Если один из фрагментов будет сброшен, GGSN может также сбросить все другие связанные с ним фрагменты. Если какой-либо из фрагментов будет пропущен, ОП не сможет формировать исходный пакет. В этом случае сброс всех фрагментов GGSN, если какой-либо из фрагментов будет сброшен, может сэкономить ресурсы, поскольку тогда ненужные фрагменты не будут отправлены по радиоканалу ОП.
Следует понимать, что GGSN может одновременно работать с множеством различных фрагментов, предназначенных для одного пункта назначения или для различных пунктов назначения.
Ниже будет описан способ выполнения настоящего изобретения. На этапе S1 выполняют прием фрагмента пакета. На этапе S2 выполняют его проверку, чтобы убедиться, содержит ли фрагмент пакета информацию, требуемую для классификации пакета. Если это так, выполняют следующий этап S3, на котором информацию фрагментации записывают в связи с информацией контекста PDP. Этот фрагмент пакета может быть на этапе S4 отправлен по требуемому контексту PDP.
Если фрагмент пакета не содержит информацию, требуемую для классификации пакета, на этапе S5 выполняют проверку для определения, содержит ли информация, которая была ранее принята с другим фрагментом пакета, тот же адрес источника, адрес назначения и идентификацию. Если это так, фрагмент пакета отправляют на этапе S6 по требуемому контексту PDP. Если это не так, фрагмент пакета записывают в буфер на этапе S7. На этапе S3 также выполняют проверку для того, чтобы определить, имеются ли в буфере какие-либо фрагменты с тем же адресом источника, адресом назначения и идентификацией или подобной информацией, ожидающие фрагмент пакета с информацией, требуемой для классификации пакета. Если имеются такие записанные в буфер фрагменты, их также отправляют по требуемому контексту PDP.
Следует понимать, что хотя варианты выполнения настоящего изобретения были описаны в контексте фрагментов пакета, их также можно использовать с другими объектами пакета, такими, как связанные пакеты, не все из которых содержат информацию, идентифицирующую требуемый контекст PDP.
Предпочтительные варианты выполнения настоящего изобретения были описаны в отношении адресов PDP. Следует понимать, что варианты выполнения настоящего изобретения можно использовать с любыми другими типами адреса.
Следует понимать, что хотя варианты выполнения настоящего изобретения были описаны в связи с системой GPRS и/или системой UMTS третьего поколения, их также можно применять с любыми другими соответствующими стандартами.
Логический канал также иногда можно называть логическими соединениями или битовыми каналами.
Также следует отметить, что хотя приведенное выше описание содержит примеры вариантов выполнения настоящего изобретения, существует несколько вариантов и модификаций, которые можно выполнить в отношении описанного решения, без отступления от объема настоящего изобретения, который определен прилагаемой формулой изобретения.
Формула изобретения
1. Способ направления фрагментов пакета в требуемый канал передачи данных из множества каналов передачи данных, заключающийся в том, что принимают первый фрагмент пакета, определяют, что первый фрагмент пакета является частью пакета, проверяют, содержит ли первый фрагмент пакета информацию, относящуюся к направлению указанного пакета, сохраняют указанную информацию фрагмента, направляют указанный первый фрагмент пакета в соответствии с указанной информацией, принимают второй фрагмент пакета, проверяют, является ли второй фрагмент пакета частью пакета, и передают второй фрагмент пакета в соответствии с указанной сохраненной информацией.
2. Способ по п.1, отличающийся тем, что когда второй фрагмент пакета принимают перед первым фрагментом пакета, второй фрагмент пакета сохраняют до тех пор, пока не будет принят первый фрагмент пакета.
3. Способ по п.1, отличающийся тем, что указанный этап проверки включает в себя проверку, содержит ли указанный фрагмент пакета информацию, относящуюся к требуемому каналу передачи данных.
4. Способ по п.3, отличающийся тем, что информация представляет собой, по меньшей мере, один из следующих элементов: адрес источника, адреса назначения и идентификацию в заголовке фрагмента.
5. Способ по п.1, отличающийся тем, что этап сохранения содержит сохранение, по меньшей мере, одного из элементов: адреса источника, адреса назначения и идентификации в заголовке фрагмента.
6. Способ по п.1, отличающийся тем, что принимают другой фрагмент пакета после приема фрагмента пакета, содержащего указанную информацию направления, и направляют другой фрагмент пакета в соответствии с информацией направления.
7. Способ направления первого набора взаимосвязанных фрагментов пакета в требуемый канал передачи данных из множества каналов передачи данных, причем первый набор содержит второй набор взаимосвязанных фрагментов пакета, фрагменты пакета второго набора содержат информацию, относящуюся к направлению указанных фрагментов пакета, при этом второй набор фрагментов пакета содержит, по меньшей мере, один фрагмент пакета, заключающийся в том, что принимают, по меньшей мере, один из указанных фрагментов пакета, определяют, что этот, по меньшей мере, один фрагмент пакета принадлежит первому набору взаимосвязанных фрагментов пакета, определяют, что этот, по меньшей мере, один фрагмент пакета не принадлежит второму набору фрагментов пакета, сохраняют, по меньшей мере, часть одного из, по меньшей мере, одного фрагмента пакета, принимают, по меньшей мере, один следующий фрагмент пакета, определяют, что принятый, по меньшей мере, один следующий фрагмент пакета принадлежит второму набору фрагментов пакета, и направляют указанные фрагменты пакета в соответствии с указанной информацией, содержащейся, в, по меньшей мере, одном следующем фрагменте пакета, в требуемый канал передачи данных.
8. Способ по п.7, отличающийся тем, что дополнительно сохраняют, по меньшей мере, один фрагмент пакета.
9. Способ по п.7, отличающийся тем, что указанную, по меньшей мере, часть, по меньшей мере, одного фрагмента пакета сохраняют до тех пор, пока не будет определено указанное требуемое направление.
10. Способ по п.7, отличающийся тем, что когда, по меньшей мере, часть, по меньшей мере, одного фрагмента пакета была сохранена в течение заданного времени, и указанное требуемое направление не было определено, выбирают направление, в котором указанная, по меньшей мере, часть, по меньшей мере, одного фрагмента пакета должна быть отправлена, и указанную, по меньшей мере, часть, по меньшей мере, одного фрагмента пакета отправляют в указанном выбранном направлении.
11. Способ по п.7, отличающийся тем, что когда, по меньшей мере, часть, по меньшей мере, одного фрагмента пакета была сохранена в течение заданного времени, и указанное требуемое направление не было определено, указанную, по меньшей мере, часть, по меньшей мере, одного фрагмента пакета удаляют из запоминающего устройства.
12. Способ по п.7, отличающийся тем, что если в запоминающем устройстве, в котором сохранена указанная, по меньшей мере, часть, по меньшей мере, одного фрагмента пакета, сохранено более заданного количества данных, выбирают направление, в котором должна быть отправлена указанная, по меньшей мере, часть, по меньшей мере, одного фрагмента пакета, и указанную, по меньшей мере, часть, по меньшей мере, одного фрагмента пакета отправляют в указанном выбранном направлении.
13. Способ по п.7, отличающийся тем, что если в запоминающем устройстве, в котором сохранена указанная, по меньшей мере, часть, по меньшей мере, одного фрагмента пакета, сохранено более заданного количества данных, указанную, по меньшей мере, часть, по меньшей мере, одного пакета удаляют из указанного запоминающего устройства.
14. Способ по п.7, отличающийся тем, что сохраняют информацию из заголовка, по меньшей мере, одного фрагмента пакета.
15. Способ по п.14, отличающийся тем, что указанная сохраненная информация содержит, по меньшей мере, один из следующих элементов: адрес источника, адрес назначения и информацию идентификации.
16. Способ по п.7, отличающийся тем, что указанное направление содержит контекст протокола пакетных данных (PDP) и/или один из множества каналов передачи данных и/или канал передачи данных.
17. Способ по п.7, отличающийся тем, что указанная информация направления содержит указанный адрес назначения.
18. Устройство для направления множества взаимосвязанных фрагментов пакета, причем только один или некоторые из фрагментов пакета содержат информацию, относящуюся к направлению фрагментов пакета, содержащее средство для приема множества фрагментов пакета, средство для определения адреса требуемого направления из, по меньшей мере, одного из фрагментов пакета, содержащих указанную информацию, и средство для направления множества взаимосвязанных фрагментов пакета в требуемом направлении.
19. Устройство по п.18, отличающееся тем, что указанное устройство выполнено с возможностью использования в качестве узла в сети с коммутацией пакетов.
20. Устройство по п.19, отличающееся тем, что указанная сеть представляет собой сеть общих услуг пакетной передачи данных (GPRS).
21. Устройство по п.18, отличающееся тем, что указанное устройство представляет собой шлюзовой узел поддержки GPRS (GGSN).
22. Способ направления пакета в требуемый канал передачи данных из набора каналов передачи данных, заключающийся в том, что (a) принимают пакет, (b) проверяют, является ли пакет фрагментированным пакетом, и если это так, (с) проверяют, содержит ли пакет информацию, относящуюся к выбору требуемого канала передачи данных, и если это так, сохраняют информацию, относящуюся к фрагментации, содержащуюся в пакете, и передают пакет в требуемый канал передачи данных.
23. Способ по п.22, отличающийся тем, что дополнительно принимают второй пакет, передают второй пакет в требуемый канал передачи данных на основе информации, относящейся к фрагментации.
24. Способ направления пакета в требуемый канал передачи данных из набора каналов передачи данных, заключающийся в том, что (a) принимают пакет, (b) проверяют, является ли пакет фрагментированным пакетом, и если это так, (c) проверяют, содержит ли пакет информацию, относящуюся к выбору требуемого канала передачи данных, и, если нет, сохраняют информацию, относящуюся к фрагментации, содержащуюся в пакете, и сохраняют указанный пакет, и передают пакет в требуемый канал передачи данных.
25. Способ по п.24, отличающийся тем, что дополнительно принимают другой пакет, содержащий информацию, относящуюся к выбору требуемого канала передачи данных, и передают другой пакет и сохраненный пакет (пакеты) в требуемый канал передачи данных.
26. Устройство для направления первого набора взаимосвязанных фрагментов пакета в требуемый канал передачи данных из множества каналов передачи данных, причем первый набор содержит второй набор взаимосвязанных фрагментов пакета, фрагменты пакета второго набора содержат информацию, относящуюся к направлению указанных фрагментов пакета, при этом второй набор фрагментов пакета содержит, по меньшей мере, один фрагмент пакета, содержащее средство для приема, по меньшей мере, одного из указанных фрагментов пакета, средство для определения, что, по меньшей мере, один фрагмент пакета принадлежит первому набору взаимосвязанных фрагментов пакета, средство для определения, что, по меньшей мере, один фрагмент пакета не принадлежит второму набору фрагментов пакета, и средство для сохранения, по меньшей мере, части одного из, по меньшей мере, одного фрагмента пакета и средство для направления пакета в требуемый канал передачи данных.
РИСУНКИ
|
|