|
|
(21), (22) Заявка: 2005129258/09, 06.12.2004
(24) Дата начала отсчета срока действия патента:
06.12.2004
(30) Конвенционный приоритет:
08.12.2003 (пп.1-5, 7-11, 13, 16-19, 22) KR 10-2003-0088757 03.02.2004 (пп.6, 12, 14, 15, 20, 21) KR 10-2004-0007085
(43) Дата публикации заявки: 27.05.2006
(46) Опубликовано: 20.10.2007
(56) Список документов, цитированных в отчете о поиске:
RU 2149518 С1, 20.05.2000. RU 2155451 С2, 27.08.2000. US 5887252 А, 23.03.1999. WO 0137453 A1, 25.05.2001.
(85) Дата перевода заявки PCT на национальную фазу:
19.09.2005
(86) Заявка PCT:
KR 2004/003191 (06.12.2004)
(87) Публикация PCT:
WO 2005/255473 (16.06.2005)
Адрес для переписки:
129010, Москва, ул. Б. Спасская, 25, стр.3, ООО “Юридическая фирма Городисский и Партнеры”, пат.пов. Ю.Д.Кузнецову, рег.№ 595
|
(72) Автор(ы):
КИМ Ю-Чул (KR), КИМ Дае-Гиун (KR), БАЕ Беом-Сик (KR), ДЗУНГ Дзунг-Соо (KR)
(73) Патентообладатель(и):
САМСУНГ ЭЛЕКТРОНИКС КО., ЛТД. (KR)
|
(54) СПОСОБ И СИСТЕМА ГЕНЕРИРОВАНИЯ МАСКИ ОБЩЕГО ДЛИННОГО КОДА ДЛЯ ШИРОКОВЕЩАТЕЛЬНОЙ/МНОГОАДРЕСНОЙ УСЛУГИ В СИСТЕМЕ МОБИЛЬНОЙ СВЯЗИ
(57) Реферат:
Изобретение относится к системе предоставления широковещательной/многоадресной услуги (ШМУ) в системе мобильной связи. Технический результат заключается в усовершенствовании предоставления ШМУ. Описывается способ генерирования маски общего длинного кода (МОДК), так что мобильная станция может принимать ШМУ в системе мобильной связи, включающей в себя базовую станцию и, по меньшей мере, одну мобильную станцию, расположенную в соте, занимаемой базовой станцией, причем ШМУ предоставляется с базовой станции на мобильную станцию. МОДК создается посредством объединения идентификатора потока ШМУ (ВСМС FLOW ID) и идентификатора ссылки на ШМ-услугу (BSR ID), сопоставленного с ним, из сообщения с параметрами ШМ-услуги (СПШУ), включающего в себя информацию, относящуюся к ВСМС FLOW ID, указывающему ИД индивидуальных потоков для идентификации потоков от соответствующих широковещательных станций, и BSR ID, сопоставленному с ВСМС FLOW ID, причем СПШУ передается с базовой станции на мобильную станцию, по меньшей мере, по одному каналу. 4 н. и 18 з.п. ф-лы, 7 ил., 1 табл.
Область техники, к которой относится изобретение
Настоящее изобретение относится, в основном, к способу и системе предоставления широковещательной/многоадресной услуги (ШМУ) в системе мобильной связи и, в частности, к способу и системе генерирования канальной информации для системы ШМУ.
Уровень техники
В настоящее время проводится стандартизация с целью поддержки ШМУ, кроме услуги передачи речи и услуги передачи данных по системам мобильной связи. Чтобы принять ШМУ, мобильная станция сначала должна обнаружить, по какому каналу какая широковещательная передача выполняется. Такая относящаяся к широковещательным передачам информация передается при помощи сообщения с параметрами широковещательной/многоадресной (ШМ) услуги (СПШУ) или сообщения с параметрами услуги в трафике, и сообщения включают в себя канальную информацию, информацию потока и канальную информацию соседней соты для приема широковещательной программы (ниже упоминаемой как «Поток»), которая широковещательно передается в текущей соте. Базовая станция определяет принимаемость ШМУ в соответствии с BCMC_FLOW_ID, указывающим информацию Потока (изображение, речь и данные) для ШМУ, и передает сообщение о регистрации ШМУ в соответствии с результатом определения. Хотя BCMC_FLOW_ID определяется здесь как идентификатор (ИД), указывающий Поток, он также может определяться как ИД потока многоадресного протокола Интернета (ПИ) ШМУ, т.е. ИД многоадресатного адреса ПИ и его соответствующий номер порта транспортного уровня. Множество BCMC_FLOW_ID могут сопоставляться с каждым Потоком. Т.е. независимые BCMC_FLOW_ID могут сопоставляться с изображением, речью и данными одного Потока. BCMC_FLOW_ID определяется в относящемся к широковещательной передаче стандарте и хорошо известен специалистам в данной области технике.
Причина определения принимаемости BCMC_FLOW_ID заключается в том, что нет способа, как проинформировать мобильную станцию о возможности ШМУ, за исключением широковещательного служебного сообщения.
В обычной системе мобильной связи многостанционного доступа с кодовым разделением каналов (МДКР) длинные коды (ДК) используются для идентификации абонентов и получения эффекта скремблирования данных для направления трафика одноадресной услуги. Использование длинных кодов может обеспечить безопасность абонентам на ограниченном уровне и рассредоточить взаимное влияние между абонентами посредством скремблирования абонентских данных.
В общих чертах, длинный код для часто используемой ШМУ определяется как общий длинный код, и общий длинный код создается при помощи использования маски общего длинного кода (МОДК). МОДК выполняется уникальным образом, основываясь на уникальной информации мобильной станции, такой как электронный серийный номер (ЭСН), чтобы предотвратить взаимосвязь между МОДК. Поэтому данные, передаваемые с базовой станции на конкретную мобильную станцию, могут восстанавливаться только абонентом, который имеет сведения о МОДК, посредством операции дескремблирования.
Однако в широковещательной системе, обсуждаемой в настоящее время, использование выделенных каналов, назначенных единственным образом конкретным абонентам, вызывает бесполезное расходование ресурсов вследствие характерной черты ШМУ, согласно которой одновременно передается один и тот же Поток по многим каналам. Поэтому базовая станция передает Поток с использованием совместно используемого канала, и абоненты дескремблируют широковещательный канал, передающий Поток с одним и тем же МОДК. Чтобы дескремблировать требуемый широковещательный поток, мобильная станция, принимающая широковещательную передачу, должна знать МОДК для соответствующего канала в дополнение к ее уникальному МОДК.
Рассматриваемая ШМУ в настоящей системе CDMA2000 1x может предоставляться мобильной станции в состоянии ожидания или состоянии передачи трафика. В состоянии передачи трафика базовая станция конкретно назначает МОДК мобильной станции при помощи расширенного сообщения о назначении канала (РСНК), расширенного сообщения о назначении дополнительного канала (РСНДК), универсального сообщения о направлении эстафетной передачи обслуживания (УСНЭПО) и т.д. Базовая станция информирует мобильную станцию о 39 битах, необходимых для создания МОДК при помощи поля ADD_PLCM_FOR_FCH_39 или поля ADD_PLCM_FOR_SCH_39 в вышеупомянутых сообщениях.
Для рассматриваемой ШМУ было предложено два способа: один способ конкретной записи относящейся к МОДК информации в СПШУ и информирования мобильной станции об информации МОДК, и другой способ автоматического выполнения МОДК, основываясь на ранее принятой широковещательной информации.
Из способов способ информирования мобильной станции об информации МОДК создает МОДК посредством включения поля ADD_PLCM_FOR_FCH_39 или ADD_PLCM_FOR_SCH_39 в СПШУ, что выполняется в состоянии передачи трафика.
Однако для МОДК поле ADD_PLCM_FOR_FCH_39 или ADD_PLCM_FOR_SCH_39 должно быть включено в СПШУ для каждого широковещательного физического канала, и поле ADD_PLCM_FOR_SCH_39 имеет длину 39 битов. Считая, что максимальное количество каналов, поддерживаемых в СПШУ, равно 127 (=27-1), СПШУ увеличивается максимально до 4953 (=127×39) битов в размере. Поэтому, когда широковещательная передача принимается в состоянии ожидания, если различные МОДК включены в СПШУ для соответствующих каналов, СПШУ избыточно увеличивается в размере.
Из способов способ создания требуемой МОДК с использованием широковещательной информации, не связанной непосредственно с МОДК, как предлагается, создает МОДК, используя BCMC_FLOW_ID. СПШУ включает в себя список BCMC_FLOW_ID, информацию о физических каналах и информацию о соседней базовой станции, все из которых необходимы для мобильной станции, чтобы принимать широковещательную передачу. В настоящее время, максимально 32 бита могут быть назначены для BCMC_FLOW_ID.
Со ссылкой на прилагаемые чертежи выполняется описание способа создания МОДК, используя назначенные значения.
На фиг.1 представлена схема, иллюстрирующая общую конфигурацию системы мобильной связи для создания МОДК. Ссылаясь на фиг.1, BCMC_FLOW_ID#1 61, BCMC_FLOW_ID#2 62 и BCMC_FLOW_ID#3 63 передаются с базовой станции 20 для соты А по каналу#1 31 после мультиплексирования, и BCMC_FLOW_ID#1 64 передается из этой же соты по каналу#2 32. Фактически, в одном канале Потоки идентифицируются идентификаторами (BSR_ID) ссылки на ШМ-услугу, и мобильная станция 10 демультиплексирует Потоки, сопоставляет демультиплексированные Потоки с BCMC_FLOW_ID и подает результаты сопоставления на ее верхний уровень. В данном случае, BSR_ID используются для идентификации множества логических потоков, передаваемых по одному физическому каналу, такому как дополнительный канал (ДК) или канал передачи пакетных данных (КППД). Для каждого потока идентификатор, который обрабатывает каждый поток, включает в себя копию ссылки на услугу. BCMC_FLOW_ID определяется в относящемся к широковещанию стандарте (L3 spec) и хорошо известен для специалиста в данной области техники.
Для МОДК 41 и 42 каналов 31 и 32 значения BCMC_FLOW_ID максимально 32 бита могут включаться в части BCMC_FLOW_ID, и остальные биты могут обозначаться согласно использованию МОДК. Окончание каналов соответствует частям, на которые умножаются длинные коды.
Как изображено на фиг.1, если МОДК выполняются с использованием минимальных номеров Потока, поддерживаемых каналами 31 и 32, оба канала 31 и 32 создают МОДК, используя BCMC_FLOW_ID#1. Поэтому МОДК 41 и 42 равны друг другу.
Когда один Поток передается таким образом по двум или более каналам, два или более каналов могут выбрать одинаковую МОДК. Однако использование одинаковых МОДК различными двумя каналами снижает эффект рассредоточения взаимного влияния между каналами, вызывая снижение рабочих характеристик приема.
Данный способ просто создает МОДК, используя только BCMC_FLOW_ID, и нет необходимости в отдельном управлении МОДК. В общих чертах, однако, так как система ШМУ, которая представляет собой пакетную систему, может мультиплексировать несколько Потоков и передавать мультиплексированные Потоки по одному каналу, вместо широковещательной передачи только одного Потока по одному каналу, способ не может использоваться в ситуации, где несколько Потоков передаются по одному каналу.
Раскрытие изобретения
Целью настоящего изобретения является осуществление способа и системы для автоматического создания различных масок общих длинных кодов (МОДК) для соответствующих каналов подвижной станцией и базовой станцией, используя дополнительную информацию без загрузки МОДК для широковещательных каналов в сообщение с параметрами ШМ-услуги (СПШУ).
Другой целью настоящего изобретения является предоставление способа и системы, позволяющих мобильной станции выполнять мягкое объединение посредством автоматического генерирования МОДК для канала, по которому передаются одинаковые Потоки различными сотами.
Согласно первому аспекту настоящего изобретения предусмотрен способ генерирования маски общего длинного кода (МОДК), так что мобильная станция может принимать широковещательную/многоадресную услугу (ШМУ), в системе мобильной связи, включающей в себя базовую станцию и по меньшей мере одну мобильную станцию, расположенную в соте, занимаемой базовой станцией, причем ШМУ предоставляется с базовой станции на мобильную станцию. МОДК создается посредством объединения идентификатора потока ШМУ (BCMC_FLOW_ID) и идентификатора ссылки на ШМ-услугу (BSR_ID), сопоставленного с ним, из сообщения с параметрами ШМУ (СПШУ), включающего информацию, относящуюся к множеству BCMC_FLOW_ID, указывающих ИД индивидуальных потоков для идентификации потоков от соответствующих широковещательных станций, и BSR_ID, сопоставленных с BCMC_FLOW_ID, причем СПШУ передается с базовой станции на мобильную станцию по меньшей мере по одному каналу.
Согласно второму аспекту настоящего изобретения предусмотрен способ генерирования маски общего длинного кода (МОДК) мобильной станцией, так что мобильная станция может принимать широковещательную/многоадресную услугу (ШМУ), в системе мобильной связи, включающей в себя базовую станцию и по меньшей мере одну мобильную станцию, расположенную в соте, занимаемой базовой станцией, причем ШМУ предоставляется с базовой станции на мобильную станцию. Способ включает в себя этапы приема по меньшей мере по одному каналу сообщения с параметрами ШМУ (СПШУ) с базовой станции, причем СПШУ включает в себя информацию, относящуюся к идентификаторам потока ШМУ (BCMC_FLOW_ID), указывающим ИД индивидуальных потоков для идентификации потоков от соответствующих широковещательных станций, и идентификатору ссылки на ШМУ (BSR_ID), сопоставленному с ними; выбора BCMC_FLOW_ID и BSR_ID, сопоставленного с ним, в информации, включенной в принимаемое СПШУ; и генерирования МОДК, уникального в соте, используя выбранный BCMC_FLOW_ID и BSR_ID, сопоставленный с ним.
Согласно третьему аспекту настоящего изобретения предусмотрен способ генерирования маски общего длинного кода (МОДК) мобильной станцией, так что мобильная станция может принимать широковещательную/многоадресную услугу (ШМУ) в системе мобильной связи, включающей в себя базовую станцию и по меньшей мере одну мобильную станцию, расположенную в соте, занимаемой базовой станцией, причем ШМУ предоставляется с базовой станции на мобильную станцию. Способ включает в себя этапы мягкого объединения каналов от соответствующих базовых станций, расположенных в различных сотах, приема сообщения с параметрами ШМ-услуги (СПШУ) с базовой станции по каналу с мягким объединением, причем СПШУ включает в себя информацию, относящуюся к идентификаторам потока ШМУ (BCMC_FLOW_ID), указывающим ИД индивидуальных потоков для идентификации потоков от соответствующих широковещательных станций, и идентификаторам ШМ-услуги (BSR_ID), сопоставленным с BCMC_FLOW_ID; выбора BCMC_FLOW_ID и BSR_ID, сопоставленного с ним, в информации, включенной в принимаемое СПШУ; и генерирования МОДК, уникального в соте, используя выбранный BCMC_FLOW_ID и BSR_ID, сопоставленный с ним.
Согласно четвертому аспекту настоящего изобретения предусмотрен способ генерирования маски общего длинного кода (МОДК), так что мобильная станция может принимать широковещательную/многоадресную услугу (ШМУ) в системе мобильной связи, включающей в себя базовую станцию и по меньшей мере одну мобильную станцию, расположенную в соте, занимаемой базовой станцией, причем ШМ-услуга предоставляется с базовой станции на мобильную станцию. Способ включает в себя этапы генерирования базовой станцией сообщения с параметрами ШМ-услуги (СПШУ), включающего в себя информацию об идентификаторах потока ШМУ (BCMC_FLOW_ID), указывающих ИД индивидуальных потоков для идентификации потоков от соответствующих широковещательных станций, и идентификаторах ссылки на ШМ-услугу (BSR_ID), сопоставленных с ними; и передачи созданного СПШУ на мобильную станцию по меньшей мере по одному каналу.
Согласно пятому аспекту настоящего изобретения предусмотрена система генерирования маски общего длинного кода (МОДК), так что мобильная станция может принимать широковещательную/многоадресную услугу (ШМУ) в системе мобильной связи, включающей в себя базовую станцию и по меньшей мере одну мобильную станцию, расположенную в соте, занимаемой базовой станцией, причем ШМУ предоставляется с базовой станции на мобильную станцию. Система включает в себя базовую станцию для передачи сообщения с параметрами ШМ-услуги (СПШУ) на мобильную станцию по меньшей мере по одному каналу, причем СПШУ включает в себя информацию, относящуюся к идентификаторам потока ШМУ (BCMC_FLOW_ID), указывающим ИД индивидуальных потоков для идентификации потоков от соответствующих широковещательных станций, и идентификаторам ссылки на ШМ-услугу (BSR_ID), сопоставленным с BCMC_FLOW_ID; и мобильную станцию для выбора BCMC_FLOW_ID и BSR_ID, сопоставленного с ним, из СПШУ, принимаемого с базовой станции, и генерирования МОДК, уникального в соте, используя выбранный BCMC_FLOW_ID и BSR_ID, сопоставленный с ним.
Краткое описание чертежей
Вышеупомянутые и другие цели, отличительные признаки и преимущества настоящего изобретения станут более очевидными из последующего подробного описания, рассматриваемого вместе с прилагаемыми чертежами, на которых:
на фиг.1 представлена схема, иллюстрирующая общую конфигурацию системы мобильной связи для генерирования маски общего длинного кода (МОДК);
на фиг.2 представлена схема, иллюстрирующая конфигурацию системы мобильной связи для генерирования МОДК согласно первому варианту осуществления настоящего изобретения;
на фиг.3 представлена схема, иллюстрирующая формат сообщения с параметрами ШМ-услуги (СПШУ) согласно вариантам осуществления настоящего изобретения;
на фиг.4 представлена схема, иллюстрирующая формат МОДК согласно вариантам осуществления настоящего изобретения;
на фиг.5 представлена схема, иллюстрирующая способ генерирования 42-битовой МОДК согласно вариантам осуществления настоящего изобретения;
на фиг.6А и 6В представлены схемы, иллюстрирующие форматы СПШУ, включающие в себя информацию Потока и канальную информацию, согласно вариантам осуществления настоящего изобретения;
на фиг.7 представлена схема, иллюстрирующая принцип действия одновременного приема каналов, передающих широковещательную информацию, и мягкого объединения принимаемых каналов согласно второму варианту осуществления настоящего изобретения.
Осуществление изобретения
Далее подробно описываются несколько предпочтительных вариантов осуществления настоящего изобретения с ссылкой на приложенные чертежи. В нижеследующем описании для краткости было опущено подробное описание известных функций и конфигураций, включенных в данное описание.
В варианте осуществления настоящего изобретения для повышения рабочих характеристик приема ШМУ мобильной станции мобильная станция извлекает маску общего длинного кода (МОДК), используя информацию в сообщении с параметрами ШМ-услуги (СПШУ). Кроме того, мобильная станция одновременно использует BCMC_FLOW_ID и идентификатор ссылки на ШМ-услугу (BSR_ID), передаваемые с СПШУ, для создания МОДК, используя дополнительную информацию. BSR_ID представляет собой ИД для идентификации информации, относящейся к множеству широковещательных программ (ниже упоминаемых в данном описании как «Потоки»), которые передаются по одному каналу. В данном описании базовая станция может выбирать один из первого способа назначения индекса для генерирования МОДК для всех широковещательных каналов, используя СПШУ, второго способа генерирования МОДК, используя BCMC_FLOW_ID и BSR_ID, и третьего способа отдельного использования вышеупомянутых двух способов для соответствующих каналов и инструктирования мобильной станции на использование выбранного способа. Т.е. способ, в котором мобильная станция использует МОДК, выбирается в соответствии со значением поля FSCH_PLCM_SCHEME_IND, включенного в СПШУ.
Теперь, с ссылкой на прилагаемые чертежи, приводится описание конфигурации системы для генерирования МОДК и форматы СПШУ и МОДК.
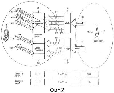
На фиг.2 представлена схема, иллюстрирующая конфигурацию системы мобильной связи для генерирования МОДК согласно первому варианту осуществления настоящего изобретения.
В настоящей системе ШМУ CDMA2000 1x BSR_ID используются для идентификации нескольких Потоков в одном канале. В системе мобильной связи для генерирования МОДК базовая станция 120 загружает информацию, относящуюся к Потокам, в каналы 131 и 132, мультиплексирует загруженные информацией каналы 131 и 132 и передает мультиплексированные каналы на мобильную станцию 110. В данном случае информация, относящаяся к Потокам, представляет собой информацию о BCMC_FLOW_ID, указывающих ИД индивидуальных Потоков для идентификации Потоков от соответствующих широковещательных станций, и BSR_ID, сопоставленных с ними. Поэтому базовая станция 120 информирует мобильную станцию 110 об объединенной информации одного BCMC_FLOW_ID и BSR_ID, сопоставленного с ним. Один или несколько BCMC_FLOW_ID могут передаваться по одному каналу. Информация, относящаяся к Потокам, включается в СПШУ. Подробное описание СПШУ выполняется с ссылкой на фиг.3.
Мобильная станция 110 различает принимаемые Потоки, мультиплексированные по каналам 131 и 132, используя пару из одного BCMC_FLOW_ID и BSR_ID, сопоставленного с ним, в базовой станции 120, причем BSR_ID такой, что МОДК не должны перекрываться между каналами в соте А. Конкретно, мобильная станция 110 выбирает BCMC_FLOW_ID и BSR_ID, сопоставленный с ним, включенные в СПШУ от базовой станции 120, сопоставляет BSR_ID с BCMC_FLOW_ID и подает результаты сопоставления на ее верхний уровень. В данном случае, процесс сопоставления BSR_ID с BCMC_FLOW_ID не является процессом добавления новой информации или вновь выполняющимся сопоставлением, но процессом простой проверки комбинаций BCMC_FLOW_ID и BSR_ID, выполняемым базовой станцией 120. Информация сопоставления BCMC_FLOW_ID и BSR_ID принимается от базовой станции 120 при помощи СПШУ.
В общих чертах, данные, принимаемые по конкретному каналу, могут различаться при помощи BSR_ID. Поэтому, даже если один Поток передается по нескольким каналам, так как BSR_ID может назначаться разным образом, пара BCMC_FLOW_ID и BSR_ID может стать уникальным значением. Так как пара BCMC_FLOW_ID и BSR_ID, становящиеся уникальным значением в определенной соте, означает, что МОДК также является уникальной в соте, существует очень малая вероятность, что одна и та же МОДК будет назначена различным каналам в определенной соте.
С ссылкой на прилагаемые чертежи приводится подробное описание формата СПШУ, включающего информацию для генерирования МОДК.
На фиг.3 представлена схема, иллюстрирующая формат сообщения с параметрами ШМ-услуги (СПШУ) согласно варианту осуществления настоящего изобретения. На фиг.3 { } указывают, что соответствующая запись повторяется столько же раз, что и заключенный в скобки параметр, и СПШУ, в основном, передается на мобильную станцию по пейджинговому каналу в указанные периоды.
Ссылаясь на фиг.3, в первой записи, включенной в СПШУ, поле NUM_FSCH представляет количество прямых дополнительных каналов (ПДК), и поле FSCH_PLCM_SCHEME_IND представляет индикатор схемы МОДК, как биты указания схемы FSCH_PLCM изображены в Таблице 1. ПДК представляет собой канал для фактической передачи потока широковещательных данных с базовой станции на мобильную станцию, и обычно BSR_ID включается в часть заголовка потока данных. ПДК представляет собой общеизвестный канал, поэтому его подробное описание здесь опускается для упрощения.
| Таблица 1 |
| FSCH_PLCM_SCHEME_IND (двоичный) |
Используемая схема МОДК |
| 00 |
Указывает схему назначения индекса при помощи FSCH_PLCM_INDEX и генерирования МОДК со значением индекса и применяется ко всем ПДК. |
| 01 |
Указывает схему генерирования МОДК для соответствующего канала с BCMC_FLOW_ID и BSR_ID и применяется ко всем ПДК. |
| 10 |
Указывает схему выбора схемы назначения индекса или схемы генерирования МОДК, используя BCMC_FLOW_ID и BSR_ID, для каждого ПДК. |
| 11 |
Зарезервировано |
В Таблице 1 значение указания «00» указывает схему назначения индекса при помощи FSCH_PLCM_INDEX и генерирования МОДК со значением индекса и применяется ко всем ПДК. Значение указания «01» указывает схему генерирования МОДК для соответствующего канала с BCMC_FLOW_ID и BSR_ID и применяется ко всем ПДК. Значение указания «10» указывает схему выбора схемы назначения индекса или схему генерирования МОДК, используя BCMC_FLOW_ID и BSR_ID, для каждого ПДК. Значение указания «11» указывает зарезервированное значение.
Обращаясь обратно к фиг.3, поле FSCH_PLCM_IND, включенное во вторую запись, представляет индикатор схемы МОДК ПДК, включается, когда поле FSCH_PLCM_SCHEME_IND устанавливается в «10» и имеет длину 0 или 1 бит. Если МОДК создается со схемой назначения индекса, поле FSCH_PLCM_IND устанавливается в «1», и, если МОДК создается с использованием BCMC_FLOW_ID и BSR_ID, поле FSCH_PLCM_IND устанавливается в «0». Поле FSCH_PLCM_INDEX, включенное во вторую запись, представляет индекс создания МОДК ПДК и имеет длину 0 или 8 битов. Если поле FSCH_PLCM_SCHEME_IND устанавливается в «00», или поле FSCH_PLCM_IND включается и устанавливается в «1», базовая станция включает это поле и, если поле FSCH_PLCM_IND устанавливается на другое значение, базовая станция пропускает соответствующее поле. Базовая станция устанавливает индекс, с которым она может создавать МОДК, используемую для ПДК.
Вторая запись имеет переменную длину и повторяется столько раз, чему равно NUM_FSCH.
Поле BCMC_FLOW_ID, включенное в третью запись, представляет ИД Потока и имеет длину 16, 24 или 32 бита, и поле NUM_LPM_ENTRIES, включенное в третью запись, представляет количество элементов сопоставления логических и физических параметров и имеет длину 3 бита.
Поле BSR_ID, включенное в четвертую запись, представляет идентификатор ссылки на ШМ-услугу и имеет длину 3 или 16 битов, и поле NUM_NGHBR, включенное в четвертую запись, представляет количество параметров ШМУ соседней базовой станции и имеет длину 0 или 6 битов.
Поле NGHBR_FSCH_PLCM_IND, включенное в пятую запись, представляет индикатор схемы МОДК ПДК соседнего объекта и имеет длину 0 или 1 бит. Если поле NGHBER_FSCH_PARMS_INCL не включено или включено и установлено в «0», поле NGHBR_FSCH_PLCM_IND не включается. В противном случае, если используется схема назначения индекса, поле NGHBR_FSCH_PLCM_IND устанавливается в «1». Если создается МОДК с использованием BCMC_FLOW_ID и связанного с ним BSR_ID, поле NGHBR_FSCH_PLCM_IND устанавливается в «0».
Поле NGHBR_FSCH_PLCM_INDEX, включенное в пятую запись, представляет индекс для генерирования МОДК ПДК соседнего объекта и имеет длину 0 или 8 битов. Если поле NGHBR_FSCH_PLCM_IND не включено или включено и установлено в «0», базовая станция пропускает соответствующее поле. В противном случае, базовая станция включает соответствующее поле и устанавливает значение индекса для генерирования МОДК, используемой для ПДК в поле.
Третья запись и следующие за ней записи представляют собой записи переменной длины и повторяются столько раз, чему равно NUM_BCMC_FLOWS, и четвертая запись и следующие за ней записи представляют собой записи переменной длины и повторяются столько раз, чему равно NUM_LPM_ENTRIES. Пятая запись повторяется столько раз, чему равно NUM_NGHBR.
На фиг.4 представлена схема, иллюстрирующая формат МОДК согласно варианту осуществления настоящего изобретения. Ссылаясь на фиг.4, МОДК имеет 42-битовую длину, размещает BSR_ID на части младших битов (МБ), заполняет следующую часть при помощи BCMC_FLOW_ID и заполняет часть старших битов (СБ) или остальную часть, например, цифрами «1». Примерные форматы МОДК для соответствующих каналов изображены на фиг.2. Как показано на фиг.2, BSR_ID заполняется цифрами «001», и BCMC_FLOW_ID заполняется цифрами «0…0100». Хотя остальная часть заполняется цифрами «1», она также может заполняться другими битами. В данном случае, если сумма длины BCMC_FLOW_ID и длины BSR_ID не превышают 40 битов, МОДК может создаваться вышеописанным образом. Если BCMC_FLOW_ID имеет 32 бита, и BSR_ID имеет 3 бита, 7 цифр «1» вставляется в часть СБ МОДК. Однако, если сумма превышает 40 битов, должен использоваться другой способ. Способ генерирования МОДК, в этом случае, описывается в данном описании ниже с ссылкой на прилагаемые чертежи.
На фиг.5 представлена схема, иллюстрирующая способ генерирования 42-битовой МОДК согласно варианту осуществления настоящего изобретения. Ссылаясь на фиг.5, так как сумма длины BCMC_FLOW_ID и длины BSR_ID превышает 40 битов, мобильная станция создает 42-битовую МОДК посредством операции Исключающее ИЛИ (180) старших битов BSR_ID и младших битов BCMC_FLOW_ID. Хотя 3 СБ-бита устанавливаются в данном случае, например, в «1», они также могут устанавливаться в другие значения.
С ссылкой на прилагаемые чертежи ниже выполняется описание способа генерирования МОДК посредством уникального назначения пары BCMC_FLOW_ID и BSR_ID в системе мобильной связи. Сначала выполняется описание способа выбора BCMC_FLOW_ID мобильной станцией 110 при генерировании МОДК.
Способ выбора BCMC_FLOW_ID мобильной станцией 110 включает в себя несколько способов в соответствии с тем, как Потоки упорядочены в канале. Если только один Поток передается по одному каналу, только один BCMC_FLOW_ID существует на канал. Даже если один Поток передается по нескольким каналам, каждый канал имеет только один BCMC_FLOW_ID. Однако, когда один канал передает несколько Потоков, должен быть выбран один из множества BCMC_FLOW_ID. Множество BCMC_FLOW_ID или множество пар BCMC_FLOW_ID и BSR_ID принимаются в качестве параметров, доступен любой алгоритм, способный выбирать один BCMC_FLOW_ID или одну пару BCMC_FLOW_ID и BSR_ID, и значение, соответствующее выбранному BCMC_FLOW_ID, выбирается в качестве BSR_ID.
В качестве одного примера вышеприведенного алгоритма выбора, когда множество Потоков передается по каналу, по которому передается Поток, необходимый для абонента, мобильная станция 110 может выбрать Поток, имеющий минимальное значение BCMC_FLOW_ID или максимальное значение BCMC_FLOW_ID из Потоков. Когда BCMC_FLOW_ID имеет различные длины, мобильная станция 110 заполняет старшие биты BCMC_FLOW_ID, имеющего наименьшую длину, цифрами «0», чтобы привести в соответствие длину заполненного BCMC_FLOW_ID с длиной BCMC_FLOW_ID, имеющего наибольшую длину, и затем сравнивает значения BCMC_FLOW_ID.
В качестве другого примера вышеприведенного алгоритма выбора, конкретный Поток может быть выбран, основываясь на формате СПШУ. Текущее СПШУ включает в себя информацию сопоставления, касающуюся того, какой Поток передается по какому каналу. Со ссылкой на прилагаемые чертежи выполняется краткое описание того, как информация Потока и канальная информация размещаются в СПШУ.
На фиг.6А изображен список каналов А, В, … М для Потока А в СПШУ, в качестве примера, из числа возможных списков каналов, по которым передаются соответствующие Потоки. На фиг.6В изображен список Потоков А, В, … N для канала А в СПШУ, в качестве примера, из числа возможных списков Потоков, передаваемых по соответствующим каналам. На фиг.6В изображено, какие Потоки передаются по конкретному каналу. В данном случае, один BCMC_FLOW_ID для конкретного Потока должен быть выбран, чтобы создать МОДК для конкретного канала. В качестве способа выбора BCMC_FLOW_ID может быть выбран самый верхний BCMC_FLOW_ID или самый нижний BCMC_FLOW_ID. Например, если выбирается самый верхний Поток, как изображено на фиг.6А, выбирается BCMC_FLOW_ID для Потока А.
Ниже выполняется описание принципа действия способа создания МОДК, применимого к фиг.2, на которой BCMC_FLOW_ID#2 161, BCMC_FLOW_ID#3 162 и BCMC_FLOW_ID#4 163, и BCMC_FLOW_ID#4 164 и BCMC_FLOW_ID#1 165 передаются по двум различным каналам 131 и 132, совместно используемым всеми мобильными станциями 110 в соте А.
Потоки мультиплексируются перед передачей по соответствующим каналам 131 и 132, и базовая станция 120 передает информацию, относящуюся к BCMC_FLOW_ID и BSR_ID, на мобильную станцию 110, используя СПШУ. Затем мобильная станция 110 создает МОДК посредством связывания «1111» старших битов с ключевыми значениями МОДК, отдельно выбранными для каналов 131 и 132 в соответствии со способом выбора МОДК. После этого мобильная станция 110 сопоставляет BSR_ID 151, 152, 153, 154 и 155 с BCMC_FLOW_ID 161, 162, 163, 164 и 165 для соответствующих каналов 131 и 132 и передает Потоки для соответствующих BCMC_FLOW_ID на свой верхний уровень.
Как изображено на фиг.2, хотя BCMC_FLOW_ID#4 163 и 164 передается по двум каналам, он сопоставляется с BSR_ID#1 151 в канале 131 и BSR_ID#4 154 в канале 132, так что пары BCMC_FLOW_ID и BSR_ID имеют различные значения. Таблица в нижней части фиг.2 изображает различие между МОДК 141 и 142, и оба BCMC_FLOW_ID для канала#2 132 в соте А и BCMC_FLOW_ID для канала#1 131 в соте А равны BCMC_FLOW_ID#4 (0, … 0100). Однако BSR_ID представляет собой BSR_ID#1 (001) для канала#1 131 и BSR_ID#4 (100) для канала#2 132.
Если соответствующие BCMC_FLOW_ID и BSR_ID используются при генерировании МОДК даже при выборе Потока, имеющего максимальное значение в канале, так как BCMC_FLOW_ID идентичны друг другу, но BSR_ID отличаются друг от друга, МОДК для двух каналов не перекрывают друг друга.
Первый вариант осуществления настоящего изобретения был описан с ссылкой на принцип действия при генерировании МОДК посредством приема Потоков с базовой станции в конкретной соте А по различным каналам. Затем описывается второй вариант осуществления настоящего изобретения с ссылкой на принцип действия при генерировании МОДК, когда сота А и сота В передают одинаковые Потоки, и мобильная станция принимает каналы, имеющие одинаковые значения МОДК.
Так как даже различные соты могут сделать возможным автоматическое создание одинаковой МОДК для одинаковых Потоков, мобильная станция может выполнять мягкое объединение. Операция мягкого объединения описывается с ссылкой на прилагаемые чертежи.
На фиг.7 представлена схема, иллюстрирующая принцип действия одновременного приема каналов, передающих широковещательную информацию, и мягкого объединения принимаемых каналов согласно второму варианту осуществления настоящего изобретения. Ссылаясь на фиг.7, базовые станции 120а и 120b передают одинаковые Потоки в сотах А и В, соответственно, и одновременно передают каналы, имеющие одинаковое значение МОДК, на мобильную станцию 210. Мобильная станция 210, принимающая BCMC_FLOW_ID#4 263 от базовых станций 120а и 120b, принимает каналы 231 и 232 из сот А и В в зоне мягкой эстафетной передачи обслуживания и мягко объединяет принимаемые каналы. Фактически, мобильная станция 210 принимает сигналы каналов 231 и 232 и суммирует энергии двух сигналов.
После этого мобильная станция 210 дескремблирует мягко объединенный сигнал при помощи длинного кода на окончании каналов, демультиплексирует дескремблированные сигналы при помощи BSR_ID, сопоставляет демультиплексированные сигналы с BCMC_FLOW_ID и передает результаты сопоставления на свой верхний уровень.
При работе мягкого объединения мобильная станция 210, расположенная в зоне мягкой эстафетной передачи обслуживания, принимает все сигналы от обеих двух базовых станций 120а и 120b. Чтобы принимать сигналы с двух каналов 231 и 232, передающих одинаковую информацию, мягко объединять принимаемые сигналы и дескремблировать мягко объединенный сигнал, важно, чтобы два канала скремблировались одинаковой МОДК. Кроме того, если значения BCMC_FLOW_ID и BSR_ID для каналов 231 и 232, передающих одинаковую информацию во всех сотах, принадлежащих группе мягкой эстафетной передачи обслуживания, равны друг другу, оба канала 231 и 232 из соответствующих сот имеют одинаковое значение МОДК. Таблица в нижней части фиг.7 изображает одинаковую МОДК 241 для каналов 231 и 232, в качестве примера, и оба BCMC_FLOW_ID для канала#1 231 в соте А и BCMC_FLOW_ID для канала#2 232 в соте В равны BCMC_FLOW_ID#4 (0, … 0100), и оба BSR_ID для канала#1 231 и канала#2 232 также равны BSR_ID#1 (001).
В этом случае мобильная станция 210 может принимать сигналы каналов, передающие одинаковый Поток с различных базовых станций 120а и 120b в зоне мягкой эстафетной передачи обслуживания, и мягко объединять сигналы каналов. Такая работа способствует улучшению рабочих характеристик приема и дает возможность выполнять мягкое объединение. Что касается мягкого объединения, сигналы, принимаемые на мобильной станции с двух базовых станций, должны быть идентичными друг другу в смысле информации, получаемой после сжатия спектра сигналов кодом Уолша. Так как выполняется сжатие спектра двух сигналов кодом Уолша, и после этого энергии двух сигналов мягко объединяются и затем дескремблируются одним длинным кодом, два канала также должны скремблироваться одинаковой МОДК.
В варианте осуществления настоящего изобретения, так как Потокам назначаются BSR_ID по предопределенному правилу в каналах, передающих одинаковую информацию, без вмешательства базовой станции, даже различные соты используют одинаковую МОДК, таким образом позволяя выполнять мягкое объединение.
Как можно понять из вышеприведенного описания, когда один Поток передается по нескольким каналам в одной соте, искусственно назначается пара BCMC_FLOW_ID и BSR_ID, передаваемая по каждому каналу, так что она должна быть уникальной в соте, таким образом предотвращая перекрытие МОДК между каналами. Предотвращение перекрытия МОДК рассредоточивает взаимное влияние между каналами, способствуя улучшению рабочих характеристик. Кроме того, так как базовая станция и мобильная станция создают МОДК из их предыдущей информации по предопределенному способу, а не назначают МОДК мобильной станции посредством базовой станции, можно экономить радиоресурсы.
Хотя изобретение было показано и описано с ссылкой на его определенный предпочтительный вариант осуществления, для специалиста в данной области техники понятно, что в нем могут быть сделаны различные изменения в форме и деталях без отступления от сущности и объема изобретения, определенного в прилагаемой формуле изобретения.
Формула изобретения
1. В системе связи, которая предоставляет широковещательную услугу по меньшей мере одной мобильной станции через по меньшей мере одну базовую станцию, способ предоставления широковещательной услуги, содержащий этапы, на которых передают сообщение с параметрами широковещательной услуги, в которой сообщение с параметрами широковещательной услуги включает в себя информацию, относящуюся к каналу, используемому для передачи широковещательного потока, идентификатор широковещательного потока, идентифицирующий широковещательный поток, и идентификатор ссылки на широковещательную услугу; генерируют маску кода, использующую идентификатор широковещательного потока и идентификатор ссылки на широковещательную услугу; и передают широковещательный поток по каналу с использованием маски кода.
2. Способ по п.1, в котором генерирование маски кода содержит этапы, на которых размещают идентификатор ссылки на широковещательную услугу в части, содержащей младший бит маски кода; и размещают идентификатор широковещательного потока в части, следующей за идентификатором ссылки на широковещательную услугу.
3. Способ по п.2, который также содержит этап размещения предопределенной битовой последовательности в оставшейся части маски кода.
4. Способ по п.1, в котором сообщение с параметрами широковещательной услуги также включает в себя множество идентификаторов широковещательного потока и множество идентификаторов ссылки на широковещательную услугу.
5. Способ по п.4, который также содержит этап, на котором выбирают идентификатор широковещательного потока, основываясь на значениях идентификаторов широковещательного потока в сообщении с параметрами широковещательной услуги, причем выбранный идентификатор широковещательного потока используется на этапе генерирования.
6. Способ по п.4, который также содержит этап, на котором выбирают идентификатор широковещательного потока, основываясь на порядках идентификаторов широковещательного потока в сообщении с параметрами широковещательной услуги, причем выбранный идентификатор широковещательного потока используется на этапе генерирования.
7. В системе связи, которая предоставляет широковещательную услугу по меньшей мере одной мобильной станции через по меньшей мере одну базовую станцию, способ приема широковещательной услуги, содержащий этапы, на которых принимают сообщение с параметрами широковещательной услуги, в которой сообщение с параметрами широковещательной услуги включает в себя информацию, относящуюся к каналу, используемому для приема широковещательного потока, идентификатор широковещательного потока, идентифицирующий широковещательный поток, и идентификатор ссылки на широковещательную услугу; генерируют маску кода, использующую идентификатор широковещательного потока и идентификатор ссылки на широковещательную услугу; и принимают широковещательный поток по каналу с использованием маски кода.
8. Способ по п.7, в котором генерирование маски кода содержит этапы, на которых размещают идентификатор ссылки на широковещательную услугу в части, содержащей младший бит маски кода; и размещают идентификатор широковещательного потока в части, следующей за идентификатором ссылки на широковещательную услугу.
9. Способ по п.8, который также содержит этап, на котором размещают предопределенную битовую последовательность в оставшейся части маски кода.
10. Способ по п.7, в котором сообщение с параметрами широковещательной услуги также содержит множество идентификаторов широковещательного потока и множество идентификаторов ссылки на широковещательную услугу.
11. Способ по п.10, который также содержит этап, на котором выбирают идентификатор широковещательного потока, основываясь на значениях идентификаторов широковещательного потока в сообщении с параметрами широковещательной услуги, причем выбранный идентификатор широковещательного потока используется на этапе генерирования.
12. Способ по п.10, который также содержит этап, на котором выбирают идентификатор широковещательного потока, основываясь на порядках идентификаторов широковещательного потока в сообщении с параметрами широковещательной услуги, причем выбранный идентификатор широковещательного потока используется на этапе генерирования.
13. В системе сотовой связи, которая предоставляет широковещательную/многоадресную (ШМ) услугу по меньшей мере одной мобильной станции через по меньшей мере одну базовую станцию, способ генерирования маски общего длинного кода (МОДК) мобильной станцией, которая используется для приема ШМ-услуги, содержащий этапы, на которых: принимают сообщение с параметрами ШМ-услуги (СПШУ), в которой СПШУ включает в себя по меньшей мере один идентификатор ШМ-потока и по меньшей мере один идентификатор ссылки на ШМ-услугу; выбирают идентификатор ШМ-потока и идентификатор ссылки на ШМ-услугу; и генерируют МОДК, используя идентификатор ШМ-потока и идентификатор ссылки на ШМ-услугу.
14. Способ по п.13, в котором идентификатор ШМ-потока выбирается на основе порядков идентификаторов ШМ-потока в СПШУ.
15. Способ по п.14, в котором идентификатор ШМ-потока выбирается в качестве первого идентификатора ШМ-потока в СПШУ.
16. Способ по п.13, в котором идентификатор ШМ-потока выбирается на основе значений идентификаторов ШМ-потока в СПШУ.
17. Способ по п.13, в котором этап генерирования МОДК содержит этапы, на которых: размещают идентификатор ссылки на ШМ-услугу в части, содержащей младший бит МОДК; и размещают идентификатор ШМ-потока в части, следующей за идентификатором ссылки на ШМ-услугу.
18. Способ по п.17, который также содержит этап размещения предопределенной битовой последовательности в оставшейся части МОДК.
19. Система генерирования маски общего длинного кода (МОДК), так что мобильная станция может принимать широковещательную/многоадресную (ШМ) услугу, в системе мобильной связи, включающей в себя базовую станцию и по меньшей мере одну мобильную станцию, расположенную в соте, занимаемой базовой станцией, причем ШМУ предоставляется с базовой станции на мобильную станцию, при этом система содержит базовую станцию для передачи сообщения с параметрами ШМ-услуги (СПШУ) по меньшей мере по одному каналу, причем СПШУ включает в себя информацию, относящуюся к идентификаторам ШМ-потока (BCMC_FLOW_ID), указывающим ИД индивидуальных потоков для идентификации потоков от соответствующих широковещательных станций, и идентификаторам ссылки на ШМ-услугу (BSR_ID), сопоставленным с BCMC_FLOW_ID; и мобильную станцию для приема СПШУ от базовой станции и для выбора одного из BCMC_FLOW_ID и BSR_ID, сопоставленного с ним, из СПШУ, и генерирования МОДК, уникального в соте, используя выбранный BCMC_FLOW_ID и BSR_ID, сопоставленный с ним.
20. Система по п.19, в которой в процессе выбора, BCMC_FLOW_ID, имеющий один из с наибольшим значением и с наименьшим значением, выбирается из BCMC_FLOW_ID, принимаемых с базовой станции.
21. Система по п.19, в которой в процессе выбора выбирается один из самого верхнего и самого нижнего BCMC_FLOW_ID, включенного в СПШУ.
22. Система по п.19, в которой СПШУ передается на мобильную станцию по пейджинговому каналу в указанные периоды.
РИСУНКИ
MM4A – Досрочное прекращение действия патента СССР или патента Российской Федерации на изобретение из-за неуплаты в установленный срок пошлины за поддержание патента в силе
Дата прекращения действия патента: 07.12.2009
Извещение опубликовано: 10.11.2010 БИ: 31/2010
|
|