|
|
(21), (22) Заявка: 2006105471/28, 22.02.2006
(24) Дата начала отсчета срока действия патента:
22.02.2006
(46) Опубликовано: 20.10.2007
(56) Список документов, цитированных в отчете о поиске:
SU 1831211 A1, 27.06.1996. RU 2110874 C1, 10.05.1998. WO 9748499, 24.12.1997. US 2003007532 A, 09.01.2003.
Адрес для переписки:
119121, Москва, пер. 1-й Неопалимовский, 3/10, кв.19, О.Н. Куренной
|
(72) Автор(ы):
Дмитриев Виктор Васильевич (RU), Поповичев Виктор Васильевич (RU), Успенский Михаил Борисович (RU), Шишкин Виктор Александрович (RU)
(73) Патентообладатель(и):
Федеральное государственное унитарное предприятие “Научно-исследовательский институт “Полюс” им. М.Ф. Стельмаха (ФГУП “НИИ “Полюс” им. М.Ф. Стельмаха) (RU), Шишкин Виктор Александрович (RU)
|
(54) ИНЖЕКЦИОННЫЙ ЛАЗЕР
(57) Реферат:
Изобретение относится к квантовой электронной технике, а именно к конструкции инжекционного полупроводникового лазера с повышенной плотностью мощности излучения. Инжекционный лазер на основе полупроводникового материала AIIIBV и его твердых растворов с интерференционным покрытием по крайней мере на одной оптической грани, состоящим из переходного слоя, эпитаксиальной пленки селенида цинка, имеет переходной слой из трех подслоев, средним из которых является монослой серы. Со стороны оптической грани к нему примыкает подслой из полупроводникового материала оптической грани, легированного серой. Со стороны пленки селенида цинка примыкает подслой переменного состава из ZnSexS1-x, где x изменяется в диапазоне от 0,9 до менее 1,0. Технический результат – создание инжекционного лазера с повышенной лазерной стойкостью зеркал и увеличенной оптической прозрачностью приповерхностного слоя оптической грани, то есть с увеличенной выходной мощностью излучения и стабилизацией ее как для одномодового, так и для многомодового режимов работы, температурной стабилизацией, повышенными надежностью и ресурсом работы инжекционного лазера. 3 ил.
Область техники
Изобретение относится к квантовой электронной технике, а именно к конструкции полупроводникового инжекционного лазера с повышенной плотностью мощности излучения.
Предшествующий уровень техники
Для повышения выходной мощности излучения и надежности работы за счет увеличения лучевой прочности граней, образующих зеркала резонатора инжекционного лазера на основе соединений АIIIВV и их твердых растворов с резонатором Фабри-Перо, на грань резонатора наносят различные пассивирующие покрытия до нанесения какого-либо зеркального покрытия. Известны многослойные пассивирующие покрытия, состоящие по крайней мере из слоя GaN или InN, далее из слоя GaN или SiN и следующего тонкого слоя из ZnSe, или GaN, или диэлектрика. Далее наносят зеркальное покрытие (см. заявку WO 03/015229 [1] и заявку RU 2004106536 [2]). Получено уменьшение поверхностной рекомбинации и увеличена лучевая прочность граней.
Кроме того, известен инжекционный лазер [3] на основе арсенида галлия и твердых растворов, изопериодичных к арсениду галлия, с по крайней мере одной выходной оптической гранью, включающий по крайней мере одно интерференционное покрытие, выполненное из монокристаллической эпитаксиальной пленки селенида цинка и переходного слоя переменного состава, содержащего компоненты грани лазера и селенид цинка (см. патент RU 1831211 [3]) с дальнейшим нанесением на них требуемых зеркальных покрытий, например, из Al2O3 или из SiO2-ZrO2. Упомянутый переходной слой переменного состава выполнен толщиной 0,1…0,3 толщины упомянутой эпитаксиальной пленки селенида цинка. При этом в [3] получено повышение выходной мощности излучения и надежности работы за счет улучшения лучевой прочности граней, образующих зеркала резонатора. По технической сущности и решаемой технической задачи данное решение является наиболее близким к предлагаемому изобретению.
Инжекционные лазеры с выводом излучения через торцевые оптические грани и охарактеризованной выше конструкцией зеркал широко используются в настоящее время в производстве одномодовых излучателей (SM-лазеров) мощностью до 150 мВт. По сравнению с инжекционными лазерами, имеющими традиционные интерференционные зеркала, например из Al2О3 или из SiO2-ZrO2 ресурс инжекционных лазеров по [3] повышен в более чем 10 раз и в 3…4 раза превышен порог катастрофического разрушения в режиме наносекундных импульсов.
Однако в настоящее время для SM-лазеров уже необходим уровень стабильной выходной мощности Р, равный 300 мВт и более (т.е. уровень стабильной плотности выходной мощности должен превышать 100 мВт/мкм). У известных инжекционных лазеров [3] спад выходной мощности при температуре Т, меньшей 50°С, проявляется после 40…50 часов, если плотность выходной мощности превышает 40 мВт/мкм. Кроме того, использование таких покрытий не обеспечивает плотности выходной мощности 20…30 мВт/мкм, если ширина b излучающей площадки составляет 50…200 мкм. Проведенные исследования выявили, что причина обоих упомянутых недостатков одинакова – недостаточная очистка от примесей границы раздела между гранью GaAs-AlGaAs и монокристаллической пленкой ZnSe.
Исследованное авторами прототипа разрушение тонкой пленки окислов Ga и Al на границе раздела за счет растворения кислорода в толще пленки ZnSe и кристалла GaAlAs лазера при высокотемпературном вакуумном отжиге решило эту проблему лишь частично. Достигнутое в результате снижение скорости поверхностной рекомбинации, которая является первопричиной разогрева призеркальных областей полупроводникового лазера, привело к повышению порога стабильной плотности выходной мощности до уровня приблизительно 40…50 мВт/мкм. Можно предположить, что при дальнейшем повышении плотности мощности начинаются обменные фотохимические реакции с участием элементов грани Ga, As, Al и атомов О, распределенных в решетке и на границах монокристаллических блоков пленки ZnSe. В результате нарушенная граница постепенно (и тем быстрее, чем выше плотность выходной мощности) перемещается внутрь инжекционного лазера. Рост безызлучательной рекомбинации в конце концов приводит к снижению выходной мощности и развалу нулевой моды, которая имеет максимальную интенсивность в центре волновода. В случае мощных лазеров как концентрация примесей в переходном слое, так и неоднородное распределение плотности выходной мощности на зеркале по ширине b излучающей площадки (равной 50-200 мкм) приводят к вполне реальному существованию более “горячих” зон и в конце концов к деградации всего зеркала при меньшей средней плотности выходной мощности, чем у одномодовых лазеров.
Раскрытие изобретения
Техническим результатом изобретения является создание инжекционного лазера с повышенной лазерной стойкостью зеркал и увеличенной оптической прозрачностью приповерхностного слоя оптической грани, то есть с увеличенной выходной мощностью излучения (при достижении уровня плотности выходной мощности более 100 мВт/мкм, т.е. более 106 Вт/см2) и дальнейшей стабилизацией как одномодового, так и многомодового режимов работы, температурной стабильности, повышением надежности и ресурса работы инжекционного лазера.
Поставленная техническая задача решается тем, что предложен инжекционный лазер (далее «Лазер») на основе полупроводникового материала АIIIBV и его твердых растворов с интерференционным покрытием по крайней мере на одной оптической грани, включающим переходной слой, эпитаксиальную пленку селенида цинка, причем переходной слой состоит из трех подслоев, средним из которых является монослой серы, со стороны оптической грани к нему примыкает подслой из полупроводникого материала оптической грани, легированного серой, а со стороны эпитаксиальной пленки селенида цинка к монослою серы примыкает подслой переменного состава из ZnSexS1-x, где х изменяется в диапазоне от 0,9 до менее 1,0.
Основным отличием предложенного инжекционного лазера является новая совокупность предложенных существенных признаков и созданный новый и неочевидный трехслойный переходной слой, составляющий с гранью и пленкой ZnSe единую эпитаксиальную структуру, приведшие к решению поставленной технической задачи. При такой предложенной конструкции обеспечивается не только или ликвидация, или значительное уменьшение ответственных за безызлучательную рекомбинацию глубоких ловушек в приповерхностном слое полупроводника – на оптической грани, но и получение при пассивации «новой» поверхности, свободной от образования аналогичных ловушек.
Если первое условие в патентах [1, 2] решается за счет удаления окисной пленки, то вторая задача даже не анализируется.
Известно техническое решение, согласно которому на поверхности полупроводника АIIIВV пассивирующее покрытие образовано в результате взаимодействия его поверхности с атомами серы с образованием пленки Ga2(S2)3 толщиной 5…60 Å (см. заявку WO 97/48499 [4]). Кроме того, в [4] нет сведений о применимости технического решения для повышения структурной стойкости зеркал.
В предложенном нами решении очищенная с помощью серы поверхность полупроводника АIIIВV, пассивируемая серой, заращивается монокристаллической пленкой ZnSe. При этом атомы серы, замещающие в узлах полупроводника Лазера атомы пятой группы (в случае инжекционного лазера, выполненного на основе полупроводниковых соединений АIIIВV), например атомы As, и замещающие в узлах эпитаксиальной пленки ZnSe атомы шестой группы – Se, выполняют роль «связующих мостиков» между обеими полупроводниковыми решетками – Лазера и пленки. В цитированных выше аналогах [1, 2] вопрос о бездефектности «новой» границы вообще не рассматривается, а пленка ZnSe рассматривается как возможное пассивирующее покрытие наряду с диэлектрическими пленками. В аналогах [1, 2] пассивирующая пленка из нитридов (Ga, Al, In) заведомо поликристаллическая и не удовлетворяет условию бездефектности. В [4] пленка Ga2(S2)3, хотя и определена как эпитаксиальная, но формируется при Т=700-830К, т.е. в диапазоне, заведомо превышающем термостойкость пассивируемых лазерных элементов с омическими контактами, т.е. не решает поставленной задачи.
Перед прототипом [3] новое решение имеет по крайней мере три преимущества:
1. Удалены глубокие ловушки из приповерхностного слоя полупроводника, обусловленные кислородом.
2. Вытесняющая кислород сера занимает нормальные узлы мышьяка, создавая при этом донорные уровни, обеспечивающие формирование прозрачного окна для выходного лазерного излучения.
3. Атомы серы являются внутренним антимиграционным барьером, так как ее связи и с атомами третьей группы полупроводника Лазера и с цинком пленки прочнее аналогичных связей в обеих решетках.
Существом настоящего изобретения является оригинальный выбор отличительных существенных признаков, которые не являются очевидными.
Неочевидность состоит в необычном, весьма простом, но при этом неочевидном решении – введении трехслойного переходного слоя, основанном на выявленном эффекте замещения атомов хемосорбированного кислорода атомами серы с кардинальной переменной знака влияния: приповерхностный слой полупроводника оптической грани Лазера из слоя, поглощающего излучение, становится оптически прозрачным при значительном увеличении оптической прочности. Неочевидность обусловлена также тем, что введенный переходной слой, включающий подслой хемосорбированной серы, не только стабилизирует поверхность сколотой грани – связь Ga-S прочнее, чем связь Ga-As, но и препятствует возможной (и нежелательной) диффузии атомов Zn (примеси р-типа) в решетку, так как связь Zn-S прочнее связи Zn-Se.
Определена связь существенных признаков изобретения с выходными параметрами Лазера.
Совокупность существенных отличительных признаков предложенных Лазеров в соответствии с формулой изобретения определила их основные достоинства. Повышена лазерная стойкость зеркал и увеличена оптическая прозрачность приповерхностного слоя оптической грани, что позволило значительно увеличить выходную мощность излучения как при одномодовом (до уровня плотности выходной мощности более 100 мВт/мкм), так и при многомодовом режиме и повысить эффективность, температурную стабильность, надежность и ресурс работы Лазера. Стабильная работа многомодовых лазеров реализована при больших выходных мощностях, чем известно в настоящее время на аналогичных структурах.
Техническая реализация изобретения основана на известных базовых технологических процессах, которые к настоящему времени хорошо разработаны и широко применяются при изготовлении инжекционных лазеров, и поэтому предложение удовлетворяет критерию “промышленная применимость”.
Краткое описание чертежей
Настоящее изобретение поясняется чертежами, изображенными на фиг.1-3.
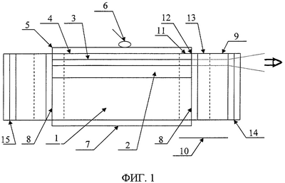
На фиг.1 схематично изображено продольное сечение предложенного Лазера с нанесенными покрытиями на грани резонатора.
На фиг.2 изображены сравнительные Ватт-Амперные характеристики Лазеров с мезаполоском шириной 4 мкм: 1 – Лазер предложенной модификации, 2 – инжекционный лазер согласно прототипу [3].
На фиг.3 изображены сравнительные Ватт-Амперные характеристики Лазеров с мезаполоском шириной 50 мкм: 1 – Лазер предложенной модификации, 2 – инжекционный лазер согласно прототипу [3].
Варианты осуществления изобретения
Предложенный инжекционный лазер (далее “Лазер”) может быть реализован на различных гетероструктурах. Рассмотренные далее примеры исполнения не являются единственно возможными.
Пример 1.
Одномодовые инжекционные лазеры выполняли путем ряда последовательных операций из полупроводниковой пластины, содержащей подложку 1 (см. фиг.1) из GaAs и эпитаксиальную структуру на основе GaAs-GaAIAs, включающую первый эмиттер 2 первого типа проводимости, активную область 3 с двумя квантовыми ямами состава InGaAs (длина волны излучения А равна 0,98 мкм), второй эмиттер 4 второго противоположного типа проводимости. При этом на упомянутой полупроводниковой пластине формировали структуру лазерных элементов с гребневидными волноводами с шириной W каждой мезаполоски 5, равной 4 мкм, с основанием, расположенным во втором эмиттере 4 на расстоянии 0,3-0,4 мкм от ближайшей границы активной области 3, с омическими контактами 6 и 7 к мезаполоске 5 и подложке 1 соответственно.
Полученную пластину со структурой лазерных элементов разделяли на полоски шириной L, равной 1000 мкм.
Для получения Лазеров полоски загружали в высоковакуумную технологическую камеру и наносили интерференционные покрытия: обе зеркальные грани (позиции 8-8) подвергали серной пассивации, а затем (без контакта с внешней атмосферой) на них наносили эпитаксиальные пленки ZnSe оптической толщины, равной /2. Проведены исследования сформированной структуры покрытия на косых шлифах в Оже-спектрометре. Получено, что между соединением либо подложки 1, либо соответствующего эпитаксиального слоя (позиции 2-4, в зависимости от места выполнения косого шлифа) и соединением цинк селен – слоем 9 расположен переходной слой 10, состоящий из последовательности трех подслоев: 11 – соединения из материала полупроводниковой пластины, примыкающего к оптической грани, легированного серой, 12 – монослоя серы, 13 – соединения переменного состава из ZnSexS1-x, где х изменяется в диапазоне от 0,9 до менее 1,0, и при х, равном 1,0, переходит в слой 9 пленки ZnSe. Подслои 11 и 13 превосходят ширину монослоя серы 12 не менее чем в 2 раза.
После того в установке напыления оптических покрытий формировали многослойные зеркала 14 и 15 с требуемыми коэффициентами отражения R (на одну из граней наносили покрытие 14 с AR около 3%, а на противоположную – покрытие 15 с HR около 97%). Далее полоски разделяли на Лазеры.
Для сравнения из пластины с той же эпитаксиальной структурой по аналогичной схеме, за исключением серной пассивации, изготовляли инжекционные лазеры идентичных размеров (в соответствии с прототипом [3]).
Лазерные элементы обоих видов собирали идентичным образом по типовой технологии в идентичных держателях для измерения ватт-амперных (ВТАХ) характеристик. Результаты сравнительных измерений ВТАХ приведены на фиг.2. Обратимый процесс «переката» через максимум мощности (“roll-over”) в настоящее время принят в качестве теста прочности зеркал. Лазеры, выдерживающие трехкратный «перекат» (т.е. реверсивное прохождение ВТАХ через максимум 3 раза), демонстрируют стабильную работу при токе накачки на 15-20% ниже тока «переката». В нашем случае для изготовленных одномодовых Лазеров стабильную работу наблюдали при выходной мощности Р, менее или равной 400 мВт, что в 1,5-2 раза выше выходной мощности Р при стабильной работе прототипа.
Достигнут уровень плотности выходной мощности не менее 130 мВт/мкм (т.е. более 106 Вт/см2).
Пример 2.
Для получения многомодовых инжекционных лазеров из той же эпитаксиальной пластины примера 1 была выполнена другая структура лазерных элементов, отличающаяся от примера 1 только выполнением «мелких» мезаполосок (на глубину контактного слоя) шириной W, равной 50 мкм. Далее так же, как в примере 1, проводили подготовку инжекционных лазеров как с предложенными покрытиями, так и с покрытиями, согласно [3].
Результаты сравнительных измерений ВТАХ для полученных многомодовых лазеров приведены на фиг.3.
Как следует из сравнения графиков, поведение рассматриваемых лазерных диодов аналогично поведению одномодовых Лазеров по примеру 1. Точка «переката» у Лазеров, пассивированных серой, лежит на уровне, превышающем область катастрофического разрушения зеркал инжекционных лазеров, непассивированных серой, при этом саморазогрев прибора наступает ранее деградации призеркальных областей лазеров, что обеспечивает условия стабильной работы Лазеров на уровне мощности приблизительно 1,5 Вт, т.е. достигнут уровень плотности выходной мощности более 100 мВт/мкм (или более 106 Вт/см2).
Нами также определено, что предложенный Лазер может быть реализован не только в описанной модификации, но также на других полупроводниковых материалах, для различных диапазонов длин волн излучения, а также для Лазеров с вытекающим излучением и т.д. Предложенный Лазер обладает повышенной лазерной стойкостью зеркал и увеличенной оптической прозрачностью приповерхностного слоя оптической грани, стабилизацией как одномодового, так и многомодового режимов работы, повышенной эффективностью, температурной стабильностью, повышенной надежностью и ресурсом работы.
Промышленная применимость
Инжекционные лазеры применяются в волоконно-оптических системах связи и передачи информации, в оптических сверхскоростных вычислительных и коммутационных системах, открытой оптической связи, системах оптической памяти, спектроскопии, при создании медицинской аппаратуры, лазерного технологического оборудования, измерительных устройств, а также для накачки твердотельных и волоконных усилителей и лазеров.
Литература
1. Заявка WO 03/015229 (COMLASE AB, SE), 20.02.2003, Н01S 5/028.
2. Заявка RU 2004106536 (КОМЛАСЕ АБ (COMLASE AB), SE) 20.02.2003, Н01S 5/028.
3. Патент RU 1831211 (НИИ “ПОЛЮС”, RU) 16.03.88, Н01S 3/19.
4. Заявка WO 97/48499 (THE BOARD OF TRUSTEES OF SOUTHERN ILLINOIS UNIVERSITY, US), 24.09.1997, В05D 3/06.
Формула изобретения
Инжекционный лазер на основе полупроводникового материала АIIIBV и его твердых растворов с интерференционным покрытием по крайней мере на одной оптической грани, состоящим из переходного слоя, эпитаксиальной пленки селенида цинка, отличающийся тем, что переходной слой состоит из трех подслоев, средним из которых является монослой серы, со стороны оптической грани к нему примыкает подслой из полупроводникого материала оптической грани, легированного серой, а со стороны эпитаксиальной пленки селенида цинка примыкает подслой переменного состава из ZnSexS1-x, где х изменяется в диапазоне от 0,9 до менее 1,0.
РИСУНКИ
|
|