|
|
(21), (22) Заявка: 2005131031/28, 06.10.2005
(24) Дата начала отсчета срока действия патента:
06.10.2005
(43) Дата публикации заявки: 20.04.2007
(46) Опубликовано: 20.10.2007
(56) Список документов, цитированных в отчете о поиске:
RU 2123747 C1, 20.12.1998. SU 1290458 A1, 12.08.1981. US 4891817 A, 02.01.1990. US 4013978 A, 22.03.1977.
Адрес для переписки:
634050, г.Томск, пр-кт Ленина, 36, ЗСФ РГУИТП, А.Н. Солдатову
|
(72) Автор(ы):
Ермолаев Александр Петрович (RU), Иванов Александр Иванович (RU), Реймер Игорь Викторович (RU), Солдатов Анатолий Николаевич (RU), Суханов Виктор Борисович (RU), Фомин Геннадий Гаврилович (RU)
(73) Патентообладатель(и):
Общество с ограниченной ответственностью “Лазерные инновационные технологии Томска” (ООО “ЛИТТ”) (RU)
|
(54) КЮВЕТА ДЛЯ ИМПУЛЬСНОГО ЛАЗЕРА НА РАСТВОРЕ КРАСИТЕЛЯ
(57) Реферат:
Изобретение относится к области лазерной техники и может быть использовано для создания лазеров на растворах красителей с высокой частотой следования генерируемых импульсов. Кювета для импульсного лазера на растворе красителя содержит герметично закрытую рабочую емкость. На стенках емкости выполнены одно входное и два выходных окна, причем выходные окна расположены друг против друга. Внутри рабочей емкости установлен цилиндр со сплошными гладкими стенками. В центре цилиндра выполнено сквозное отверстие. Через отверстие пропущена трубка с жесткими стенками, которая проходит сквозь всю рабочую емкость и герметично закреплена в стенках рабочей емкости. В тело цилиндра установлены два постоянных магнита, являющиеся основными ведомыми магнитами. Через трубку пропущен вал. На валу в средней его части жестко закреплены два постоянных магнита, являющиеся ведущими магнитами. Магниты входят в магнитное зацепление друг с другом. Технический результат – обеспечение полной герметичности рабочей емкости кюветы при установлении достаточно жесткой связи вала вращения с установленным в рабочей емкости ротором, повышение КПД генерации красителя. 5 з.п. ф-лы, 2 ил.
Изобретение относится к области лазерной техники и может быть использовано для создания лазеров на растворах красителей с высокой частотой следования генерируемых импульсов.
Известна кювета для лазера на растворе красителя [патент США №4013978, H01S 3/092, 1977], которая имеет удлиненную форму с плоскопараллельными прозрачными для оптического излучения боковыми стенками. Кювета закрыта с продольно противоположных концов соответственно полностью отражающим и частично отражающим зеркалами. В состав этой кюветы входит резервуар, скрепленный с указанной кюветой и сообщающийся с ней через каналы, расположенные вблизи ее концов. Внутри этого резервуара установлен ротор. При этом внутренние объемы и резервуара, и кюветы заполнены раствором красителя.
В данном изобретении вращение ротора в резервуаре обеспечивается электрическим мотором малой мощности, связанным с ротором с помощью магнитной муфты. За счет вращения указанного ротора создается циркуляция раствора красителя, приводящая к медленной (со скоростью 5 см/с) смене раствора красителя в кювете и выравниванию разности в температурах раствора в кювете и в хранящем раствор резервуаре. При этом частично отражающее зеркало выполняет также и функцию выходного окна лазера.
Известна так же кювета для лазера на растворе красителя, описанная в патенте США №4891817, Н01S 3/20, 1990. Эта кювета содержит две ячейки и систему циркуляции раствора красителя в них. Первая ячейка кюветы имеет две прозрачные для оптического излучения стенки, протяженные в направлении, перпендикулярном оси распространения лазерного луча, и узкий канал, размещенный между указанными стенками, вдоль указанной оси, и служащий для прокачки раствора красителя через ячейку. Размер упомянутого канала в направлении, перпендикулярном оси распространения лазерного луча, составляет 0,3-0,75 мм. Вторая резонаторная ячейка конструктивно выполнена аналогично первой ячейке. Она размещена после первой ячейки на оси распространения лазерного луча и ориентирована относительно этой оси так же, как и первая ячейка. Однако у второй ячейки размер канала в направлении, перпендикулярном оси распространения лазерного луча, равен 0,5-1,0 мм. Система циркуляции раствора красителя сообщает потокам раствора в каналах ячеек скорости примерно от 5 до 15 м/с. Лазерное средство накачки осуществляет импульсную накачку раствора красителя в первой и второй резонаторных ячейках с частотой повторения импульсов большей 5 кГц.
Оптимизация размеров каналов в ячейках и скоростей протекающего по каналам раствора красителя обеспечивает возможность генерации импульсного лазерного излучения с частотой следования импульсов от 5 до 20 кГц при скоростях потока раствора красителя в ячейках от 5 до 15 м/с. При этом предпочтительными являются равная 10 кГц частота следования импульсов и равная 10 м/с скорость потока раствора красителя в ячейках. Конструкции этой кюветы свойственны те же недостатки, что и у кюветы, описанной выше: сложность системы циркуляции раствора красителя, недостаточная ее надежность.
Ближайшей из известных является кювета для лазера на растворе красителя, описанная в патенте РФ №2123747, МПК6 H01S 3/213 с приоритетом от 25.08.1997 г. Эта кювета содержит герметично закрытую емкость с твердыми стенками, заполненную раствором красителя, способным генерировать лазерное излучение. В указанной емкости две внутренних противолежащих поверхности выполнены плоскими, имеют одинаковые размеры и форму, расположены вертикально и параллельно друг другу и являются ограничивающими поверхностями; а стенки емкости, на которых расположены плоские поверхности емкости, являются несущими. Другие внутренние поверхности этой емкости выполнены ортогонально расположенными ограничивающим поверхностям и являются окаймляющими, а стенки емкости, на которых расположены окаймляющие поверхности, являются соединяющими. У одного из краев ограничивающих поверхностей емкости в каждой из несущих стенок выполнено по одному сквозному окну, закрытому прозрачным для генерируемого раствором красителя излучения материалом, которые расположены друг против друга и являются выходными окнами. Между этими выходными окнами на соединяющей стенке выполнено сквозное входное окно, закрытое пластиной из материала, прозрачного для излучения, являющимся излучением накачки для заполняющего емкость красителя. Внутри указанной герметично закрытой емкости установлен цилиндр со сплошными стенками, высота которого превышает 1 см, а диаметр превышает указанную высоту, по меньшей мере, в 4 раза. Указанный цилиндр со сплошными стенками жестко закреплен на валу, проходящем через ось этого цилиндра, а сам вал закреплен своими обоими концами на несущих стенках емкости. Указанный вал расположен ортогонально плоскости ограничивающих поверхностей емкости и таким образом, чтобы установленный на нем цилиндр своей боковой поверхностью был максимально приближен только к той части окаймляющей внутренней поверхности, на которой установлено входное окно, в то время как от остальных частей несущей внутренней поверхности этот цилиндр отстоит на большее расстояние. Кроме того, указанный вал установлен с возможностью его вращения вокруг собственной оси и таким образом, чтобы хотя бы один из его концов выходил наружу и к нему можно было присоединить двигатель, а установленный на этом валу цилиндр связан с ним жестко.
Однако при выводе наружу конца вала, на котором закреплен цилиндр со сплошной стенкой, возникает задача по обеспечению полной герметичности этой емкости. И эта задача приобретает дополнительную сложность в связи с тем, что установленный на валу цилиндр должен вращаться.
Кроме того, в этом лазере на красителе задача подачи раствора красителя в зону накачки и его замены с необходимой скоростью решена частично. В этом решении не учитывается, что на подачу раствора красителя в зону накачки и его замены с необходимой скоростью будет существенно влиять величина зазора между торцами цилиндра и плоскостью выходных зеркал: при достаточно большой величине этого зазора КПД генерации красителя будет значительно уменьшаться.
Задачей данного изобретения является обеспечение полной герметичности рабочей емкости кюветы при установлении достаточно жесткой связи вала вращения с установленным в рабочей емкости ротором.
Другой задачей данного изобретения будет повышение КПД генерации красителя.
Поставленные задачи решаются тем, что так же как известная предлагаемая кювета для импульсного лазера на растворе красителя содержит герметично закрытую рабочую емкость с твердыми стенками, в которой две внутренних противолежащих поверхности выполнены плоскими, имеют одинаковые размеры и форму, расположены вертикально, параллельно друг другу и являются ограничивающими, а стенки, на которых расположены ограничивающие поверхности, являются несущими; другие внутренние поверхности этой емкости выполнены ортогонально расположенными ограничивающим поверхностям и являются окаймляющими, а стенки, на которых расположены окаймляющие поверхности, являются соединяющими; у одного из краев несущих поверхностей рабочей емкости в каждой из ее несущих стенок выполнено по одному окну, закрытому прозрачным для излучения, которое будет генерировать лазер на растворе красителя, причем оба указанных окна расположены друг против друга и являются выходными окнами, а между этими выходными окнами на соединяющей стенке выполнено входное окно, закрытое пластиной из материала, прозрачного для излучения, являющимся излучением накачки для лазера на красителе; внутри указанной рабочей емкости установлен цилиндр со сплошными гладкими стенками, высота которого превышает 1 см, а диаметр превышает указанную высоту, по меньшей мере, в 4 раза, причем высота этого цилиндра должна быть в то же самое время такой, чтобы его торцевые стенки отстояли от торцов выходных окон не более чем на 10 мм; в центре указанного цилиндра со сплошными стенками выполнено сквозное отверстие и через это отверстие пропущен вал, который, в свою очередь, закреплен своими обоими концами на несущих стенках рабочей емкости с возможностью его вращения вокруг собственной оси; указанный вал расположен ортогонально плоскости ограничивающих внутренних поверхностей емкости и таким образом, чтобы установленный на нем цилиндр своей боковой поверхностью был максимально приближен только к той части окаймляющей внутренней поверхности, на которой установлено входное окно, в то время как от нижней части окаймляющей внутренней поверхности этот цилиндр отстоит на расстояние, по меньшей мере, в два раза большее; кроме того, между указанными цилиндром и валом выполнено жесткое сцепление, а сам вал установлен таким образом, чтобы хотя бы один из его концов выходил наружу и к нему можно было присоединить привод для вращения этого вала.
В отличие от известного в предлагаемой кювете для импульсного лазера на растворе красителя в средней части вала жестко закреплены два постоянных магнита, являющиеся ведущими магнитами, при этом ведущие магниты расположены таким образом, чтобы их осевые линии лежали на одной прямой, пересекающей ось указанного вала и перпендикулярной этой оси, а их одноименные полюса располагались на противоположных сторонах этого вала; в том месте стенок рабочей емкости, где проходят концы вала, установлена трубка с жесткими стенками, которая проходит сквозь всю рабочую емкость и герметично закреплена в стенках этой емкости; в центре цилиндра со сплошными гладкими стенками вдоль его оси выполнено сквозное отверстие, диаметр которого превышает внешний диаметр указанной трубки не более чем на 2 мм, а сам этот цилиндр надет на указанную трубку с возможностью его свободного вращения вокруг этой трубки; в тело цилиндра со сплошными гладкими стенками установлены два постоянных магнита, являющиеся основными ведомыми магнитами; при этом основные ведомые магниты расположены с противоположных сторон указанного отверстия внутри цилиндра со сплошными стенками и таким образом, чтобы их осевые линии лежали на одной прямой, пересекающей ось цилиндра со сплошными стенками и перпендикулярной этой оси, а их одноименные полюса располагались на противоположных сторонах этого цилиндра и были направлены навстречу друг другу, причем плоскости этих полюсов не должны выходить за поверхность указанного отверстия, а сами указанные одноименные полюса основных ведомых магнитов должны быть противоположны по направленности магнитных линий полюсам ведущих магнитов, установленных на валу; при этом сам цилиндр со сплошными гладкими стенками установлен внутри рабочей емкости таким образом, чтобы расстояние между его боковой поверхностью и входным окном не превышало 10 мм, а вал вместе с закрепленными на нем ведущими магнитами пропущен через трубку с жесткими стенками и обоими своими концами закреплен в ней с возможностью вращения вокруг собственной оси; при этом вал относительно указанного цилиндра со сплошными гладкими стенками расположен таким образом, чтобы установленные на нем ведущие магниты при вращении вала входили в магнитное зацепление с ведомыми магнитами, установленными в теле цилиндра со сплошными гладкими стенками.
В настоящее время неизвестна конструкция кюветы, у которой вращение ротора, который в данном случае выполнен в виде цилиндра, осуществлялось бы через магнитную связь вращающегося вала с этим ротором. Такое решение технической задачи позволяет полностью отделить вращающийся вал от ротора и сделать рабочую емкость кюветы полностью герметичной. При этом расположение магнитов на валу и в роторе выполнено таким, что ротор при вращении не касается внутренних поверхностей рабочей емкости. Это, во-первых, снижает усилия, необходимые для связи вала с ротором, и, во-вторых, создает условия для вращения ротора внутри рабочей емкости с постоянной скоростью, особенно, когда эта рабочая емкость заполнена красителем. При этом следует отметить, что вращения ротора внутри рабочей емкости с постоянной скоростью является необходимым условием для получения генерации излучения с постоянными характеристиками.
Неизвестно также, что расстояние между боковой поверхностью ротора и входным окном не должно превышать 10 мм. Определяется это тем, что, если указанное расстояние превышает 10 мм, то при вращении ротора, в случае, когда рабочая емкость кюветы заполнена красителем, к поверхности входного окна остается слой красителя, который очень слабо протягивается и, таким образом, не сменяется. Это приводит к сильному снижению КПД работы лазера на жидком слое красителя, которое еще больше усиливается и достигает нулевого значения при увеличении указанного расстояния.
В цилиндре со сплошными стенками, установленном внутри рабочей емкости, могут быть установлены два дополнительных ведомых магнита, причем дополнительные ведомые магниты установлены в указанном цилиндре таким образом, чтобы их осевые линии располагались на прямой, пересекающей ось этого цилиндра и ортогональной этой оси, а сама эта прямая должна находиться в плоскости, в которой расположены осевые линии основных ведомых магнитов и которая ортогональна оси цилиндра со сплошными стенками.
На наружной стенке рабочей емкости кюветы может быть установлен электромотор, который жестко прикреплен к этой стенке кюветы и вал которого связан с валом, проходящим через отверстие в центре цилиндра, и таким образом, чтобы при работе электромотора вращение его вала передавалось валу, проходящему через отверстие в центре цилиндра.
Целесообразно, чтобы в импульсном лазере на растворе красителя на верхней соединяющей стенке рабочей емкости была установлена дополнительная емкость, при этом между рабочей и дополнительной емкостями установлена диафрагма со сквозными отверстиями, которая может быть выполнена в виде сетки или в виде сплошной пластины с отверстиями; причем дополнительная емкость должна быть расположена таким образом, чтобы входное и выходные окна находились в стороне от нее.
Если диафрагма выполнена в виде сплошной пластины, то в ней должны быть выполнены, по меньшей мере, два отверстия, которые должны быть расположены у ее наиболее удаленных друг от друга краев – каждое у своего края.
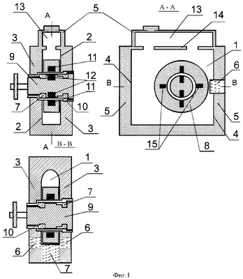
На фиг.1 даны три проекции кюветы для лазера на растворе красителя в разрезе. Причем указанная кювета выполнена с дополнительной емкостью.
На фиг.2. показана кювета для лазера на растворе красителя, установленная в резонатор лазера на красителе. Рабочая емкость кюветы заполнена красителем – вид со стороны окаймляющих стенок в разрезе.
Кювета для импульсного лазера на растворе красителя содержит герметично закрытую рабочую емкость 1 с твердыми стенками. В указанной емкости 1 две внутренних противолежащих поверхности 2, которые являются ограничивающими, выполнены плоскими, имеют одинаковые размеры и форму, расположены вертикально и параллельно друг другу, а стенки 3, на которых расположены ограничивающие поверхности 2, являются несущими; другие внутренние поверхности 4 этой емкости 1 выполнены ортогонально расположенными ограничивающим поверхностям 2 и являются окаймляющими, а стенки 5, на которых расположены окаймляющие поверхности 4, являются соединяющими. У одного из краев ограничивающих поверхностей 2 рабочей емкости 1 в каждой из ее несущих стенок 3 выполнено по одному окну 6, закрытому прозрачным для генерируемого раствором красителя излучения материалом, которые являются выходными окнами. Оба указанных выходных окна 6 расположены друг против друга, а между этими выходными окнами 6 на соединяющей стенке 5 выполнено входное окно 7, закрытое пластиной из материала, прозрачного для излучения, являющимся излучением накачки для заполняющего емкость красителя. Внутри указанной рабочей емкости 1 установлен цилиндр со сплошными стенками 8, высота которого превышает 1 см, а диаметр превышает указанную высоту, по меньшей мере, в 4 раза, причем высота этого цилиндра должна быть, в то же самое время, такой, чтобы его торцевые стенки отстояли от поверхности выходных окон 6 не более чем на 10 мм. В центре указанного цилиндра 8 со сплошными стенками выполнено сквозное отверстие и через это отверстие пропущен вал 9, который, в свою очередь, закреплен своими обоими концами с возможностью вращения вокруг собственной оси на несущих стенках 3 рабочей емкости 1. Указанный вал 9 расположен ортогонально плоскости ограничивающих внутренних поверхностей 2 емкости 1 и таким образом, чтобы установленный на нем цилиндр 8 своей боковой поверхностью был максимально приближен только к той части окаймляющей внутренней поверхности 4, на которой установлено входное окно 7, в то время как от нижней части окаймляющей внутренней поверхности 4 этот цилиндр отстоит на расстояние, по меньшей мере, в два раза большее. Кроме того, между указанными цилиндром 8 и валом 9 выполнено жесткое сцепление, а сам вал 9 установлен таким образом, чтобы хотя бы один из его концов выходил наружу и к нему можно было присоединить привод вращения этого вала.
В том месте стенок рабочей емкости, где проходят концы вала, установлена трубка 10 с жесткими стенками, герметично закрепленная в стенках емкости 1. В центре цилиндра 8 со сплошными стенками вдоль его оси выполнено сквозное отверстие, диаметр которого превышает внешний диаметр указанной трубки 10 не более чем на 2 мм, а сам этот цилиндр надет на указанную трубку 10 с возможностью его свободного вращения вокруг этой трубки 10. В тело цилиндра 8 со сплошными стенками установлены два постоянных магнита 11, которые являются основными ведомыми магнитами. Основные ведомые магниты 11 расположены с противоположных сторон указанного отверстия внутри цилиндра 8 и таким образом, чтобы одноименные полюса этих магнитов 11 были направлены навстречу друг другу и края этих полюсов не выходили за плоскость указанного отверстия.
На валу 9 с противоположных его сторон так же установлены два постоянных магнита 12, которые являются ведущими. Ведущие магниты 12 установлены на валу 9 таким образом, чтобы через оба полюса каждого из этих магнитов 12 проходил радиус вала 9 и чтобы их полюса не выходили за наружную поверхность вала 9. Расположены эти ведущие магниты 12 на валу 9 таким образом, чтобы у поверхности вала 9 находились те их полюса, которые по направленности магнитных линий противоположны полюсам ведомых магнитов 11, установленных на цилиндре 8, а по длине вала 9 эти ведущие магниты 12 расположены так, чтобы при вращении этого вала 9 они входили в магнитное зацепление с ведомыми магнитами 11.
Указанные одноименные полюса ведомых магнитов 11, установленных внутри цилиндра 8 со сплошными стенками, должны быть противоположны по направленности магнитных линий полюсам ведущих магнитов 12, установленных на валу 9. Вал 9 вместе с закрепленными на нем ведущими магнитами 12 пропущен через трубку 10 с жесткими стенками и обоими своими концами закреплен в трубке 10 на подшипниках.
На соединяющей стенке 3 рабочей емкости 1 сверху выполнена дополнительная емкость 13, при этом между рабочей емкостью и дополнительной емкостью установлена диафрагма 14 со сквозными отверстиями. Диафрагма 14 может быть выполнена в виде сетки или в виде сплошной пластины с отверстиями. Дополнительная емкость 13 должна быть расположена таким образом, чтобы она не перекрывала входное окно.
В цилиндре 8 могут быть установлены два дополнительных ведомых магнита 15. Дополнительные ведомые магниты 15 установлены на противоположных сторонах отверстия цилиндра 8 друг против друга и таким образом, чтобы их осевые линии располагались на том диаметре цилиндра 8, который ортогонален диаметру, на котором расположены основные ведомые магниты 11, и чтобы при этом оба они находились в той плоскости, ортогональной оси цилиндра, в которой расположены основные ведомые магниты 11. Причем полюса дополнительных ведомых магнита 15, направленные к оси цилиндра 8, имеют направленность магнитных линий, противоположную направленности магнитных линий у таких же полюсов основных ведомых магнитов 11.
Кювета для импульсного лазера на растворе красителя работает следующим образом. Рабочую емкость 1 кюветы наполняют раствором красителя, а саму кювету устанавливают в резонатор, образованный глухим зеркалом 16 и полупрозрачным зеркалом 17. Причем кювету располагают в резонаторе таким образом, чтобы выполненные в ней выходные окна 6 располагались между глухим 16 и полупрозрачным 17 зеркалами резонатора, так как это обычно делается в лазерах на жидком красителе. К установленному в кювете валу 9 присоединяют привод и приводят во вращение вал 9. При вращении установленные на валу 9 ведущие магниты 11 входят в магнитное зацепление с установленными в цилиндре 8 постоянными ведомыми магнитами 12, т.к. полюса, которыми обращены друг к другу ведущие магниты 11 и ведомыми магниты 12, являются противоположными по направленности магнитных силовых линий. В результате этого зацепления цилиндр 8 вращается вместе с валом 9. Установленные же в цилиндре 8 дополнительные ведомые магниты 15 наоборот отталкиваются от ведущих магнитов 11, т.к. эти магниты 15 обращены одноименными полюсами к полюсам ведущих магнитов 11. В результате этого магнитное зацепление вала 9 с цилиндром 8 приобретает дополнительную жесткость.
При вращении цилиндр 8 своей боковой поверхностью захватывает прилегающий к ней слой раствора красителя, заполняющего рабочую емкость 1 кюветы, и протягивает его мимо поверхности входного окна 7. В то же самое время через входное окно 7 в раствор красителя подается излучение от лазера накачки, в результате чего краситель, находящийся у поверхности входного окна 7, начинает генерировать излучение, перестроенное в область спектра, отличную от той, в которой генерирует лазер накачки. При этом поскольку расстояние между боковой поверхностью цилиндра 8 и входным окном 7 не превышает 10 мм, то мимо входного окна 7 раствор красителя протягивается всем своим слоем. Излучение накачки, идущее из входного окна 7, возбуждает генерацию излучения во всем слое красителя, который при этом постоянно сменяется с высокой скоростью, что приводит к высокому КПД преобразования излучения накачки раствором красителя. А генерируемое красителем излучение проходит через выходные окна 6 и попадает на зеркала резонатора, после чего оно через полупрозрачное зеркало 17 выходит наружу.
Таким образом, обеспечивая достаточно жесткую магнитную связь вала 9 с цилиндром 8, при вращении вала 9 осуществляется также и вращение цилиндра 8 с высокой скоростью. При этом герметичность рабочей емкости 1 не нарушается. В то же самое время КПД лазера на красителе, в котором будет установлена данная кювета, будет высоким.
Формула изобретения
1. Кювета для импульсного лазера на растворе красителя, содержащая герметично закрытую рабочую емкость с твердыми стенками, на которых выполнены одно входное и два выходных окна, прозрачных для оптического излучения, которое будет генерировать лазер на красителе, а внутри рабочей емкости размещен ротор для перемешивания раствора красителя; при этом в рабочей емкости две внутренних противолежащих поверхности выполнены плоскими, имеют одинаковые размеры и форму, расположены вертикально, параллельно друг другу и являются ограничивающими, а стенки, на которых расположены ограничивающие поверхности, являются несущими; другие внутренние поверхности рабочей емкости выполнены ортогонально расположенными ограничивающим поверхностям и являются окаймляющими, а стенки, на которых расположены окаймляющие поверхности, являются соединяющими; у одного из краев ограничивающих поверхностей рабочей емкости в каждой из ее несущих стенок выполнено по одному окну, закрытому прозрачным для генерируемого раствором красителя излучения материалом, причем оба указанных окна расположены друг против друга и являются выходными окнами, а между этими выходными окнами на соединяющей стенке выполнено одно входное окно, закрытое пластиной из материала, прозрачного для излучения, являющимся излучением накачки для заполняющего емкость красителя; размещенный внутри рабочей емкости ротор выполнен в виде цилиндра со сплошными гладкими стенками, высота которого превышает 1 см, а диаметр превышает указанную высоту, по меньшей мере, в 4 раза, причем высота этого цилиндра должна быть в то же самое время такой, чтобы его торцевые стенки отстояли от торцов выходных окон не более чем на 10 мм; в центре указанного цилиндра, в виде которого выполнен ротор, выполнено сквозное отверстие и через это отверстие пропущен вал, который, в свою очередь, закреплен своими обоими концами с возможностью вращения вокруг собственной оси на несущих стенках рабочей емкости; указанный вал расположен ортогонально плоскости ограничивающих внутренних поверхностей рабочей емкости и таким образом, чтобы установленный на нем ротор своей боковой поверхностью был максимально приближен только к той части окаймляющей внутренней поверхности, на которой установлено входное окно, в то время как от нижней части окаймляющей внутренней поверхности этот ротор отстоит на расстояние, по меньшей мере, в два раза большее; кроме того, между указанными ротором и валом выполнено сцепление, а сам вал установлен таким образом, чтобы хотя бы один из его концов выходил наружу и к нему можно было присоединить привод вращения этого вала, отличающаяся тем, что в средней части вала жестко закреплены два постоянных магнита, являющиеся ведущими магнитами; при этом ведущие магниты расположены таким образом, чтобы их осевые линии лежали на одной прямой, пересекающей ось указанного вала и перпендикулярной этой оси, а их одноименные полюса располагались на противоположных сторонах этого вала; в том месте стенок рабочей емкости, где проходят концы вала, установлена трубка с жесткими стенками, которая проходит сквозь всю рабочую емкость и герметично закреплена в стенках этой емкости; в центре цилиндра со сплошными стенками вдоль его оси выполнено сквозное отверстие, диаметр которого превышает внешний диаметр указанной трубки не более чем на 2 мм, а сам этот цилиндр надет на указанную трубку с возможностью его свободного вращения вокруг этой трубки; в тело цилиндра со сплошными стенками установлены два постоянных магнита, являющиеся основными ведомыми магнитами; при этом основные ведомые магниты расположены с противоположных сторон указанного отверстия внутри цилиндра со сплошными стенками и таким образом, чтобы их осевые линии лежали на одной прямой, пересекающей ось цилиндра со сплошными стенками и перпендикулярной этой оси, а их одноименные полюса располагались на противоположных сторонах этого цилиндра и были направлены навстречу друг другу, причем плоскости этих полюсов не должны выходить за поверхность указанного отверстия, а сами указанные одноименные полюса основных ведомых магнитов должны быть противоположны по направленности магнитных линий полюсам ведущих магнитов, установленных на валу; при этом сам цилиндр со сплошными гладкими стенками установлен внутри рабочей емкости таким образом, чтобы расстояние между его боковой поверхностью и входным окном не превышало 10 мм, а вал вместе с закрепленными на нем магнитами пропущен через трубку с жесткими стенками и обоими своими концами закреплен в ней с возможностью вращения вокруг собственной оси, при этом вал относительно указанного цилиндра со сплошными гадкими стенками расположен таким образом, чтобы установленные на нем ведущие магниты при вращении вала входили в магнитное зацепление с ведомыми магнитами, установленными в теле цилиндра со сплошными стенками.
2. Кювета для импульсного лазера на растворе красителя по п.1, отличающаяся тем, что в цилиндре со сплошными гладкими стенками, установленном внутри рабочей емкости, установлены два дополнительных ведомых магнита, причем дополнительные ведомые магниты установлены в указанном цилиндре таким образом, чтобы их осевые линии располагались на прямой, пересекающей ось этого цилиндра и ортогональной этой оси, а сама эта прямая должна находиться в плоскости, в которой расположены осевые линии основных ведомых магнитов и которая ортогональна оси цилиндра со сплошными стенками.
3. Кювета для импульсного лазера на растворе красителя по п.1, отличающаяся тем, что в ней на соединяющей стенке рабочей емкости установлена дополнительная емкость, а между рабочей и дополнительной емкостями установлена диафрагма со сквозными отверстиями.
4. Кювета для импульсного лазера на растворе красителя по п.2, отличающаяся тем, что в ней диафрагма со сквозными отверстиями выполнена в виде сетки.
5. Кювета для импульсного лазера на растворе красителя по п.2, отличающаяся тем, что в ней диафрагма со сквозными отверстиями выполнена в виде сплошной пластины с отверстиями, в которой выполнены, по меньшей мере, два отверстия, которые расположены у наиболее удаленных друг от друга краев этой пластины – каждое у своего края.
6. Кювета для импульсного лазера на растворе красителя по п.1, отличающаяся тем, что в ней на наружной стенке рабочей емкости установлен электромотор, который жестко прикреплен к этой стенке и вал которого связан с валом, проходящим через отверстие в центре цилиндра со сплошными гладкими стенками, и таким образом, чтобы при работе электромотора вращение его вала передавалось валу, проходящему через отверстие в центре указанного цилиндра.
РИСУНКИ
|
|