|
|
(21), (22) Заявка: 2005121163/09, 06.07.2005
(24) Дата начала отсчета срока действия патента:
06.07.2005
(30) Конвенционный приоритет:
07.07.2004 DE 102004033033.6
(43) Дата публикации заявки: 20.01.2007
(46) Опубликовано: 20.10.2007
(56) Список документов, цитированных в отчете о поиске:
RU 2052876 C1, 20.01.1996. RU 2224387 C2, 20.02.2004. RU 2166737 C2, 10.05.2001. DE 10242500 A, 18.03.2004. EP 0187671 A2, 16.07.1986. EP 0971213 B1, 12.01.2000. US 4210023 A, 01.07.1980. EP 0444834 A, 04.09.1991.
Адрес для переписки:
129010, Москва, ул. Б. Спасская, 25, стр.3, ООО “Юридическая фирма Городисский и Партнеры”, пат.пов. Ю.Д.Кузнецову, рег.№ 595
|
(72) Автор(ы):
ЛЕНК Фритц (DE)
(73) Патентообладатель(и):
ФЕГА ГРИСХАБЕР КГ (DE)
|
(54) АНТЕННОЕ УСТРОЙСТВО ИЗМЕРЕНИЯ УРОВНЯ ЗАПОЛНЕНИЯ ДЛЯ РАДИОЛОКАЦИОННОГО ПРИБОРА ИЗМЕРЕНИЯ УРОВНЯ ЗАПОЛНЕНИЯ
(57) Реферат:
Изобретение касается антенного устройства, предназначенного для измерения уровня заполнения средой какого-либо объема. Антенное устройство содержит проходящий в осевом направлении волновод, к обратной стороне которого подключено устройство для генерирования и обработки электромагнитных волн, антенну, особенно параболическую антенну с передней стороны волновода и волновой адаптер для передачи такой волны между двумя проводящими волны компонентами устройства для согласования волнового перехода между компонентами. Волновой адаптер имеет в осевом направлении проходное отверстие. В качестве альтернативы или особенно предпочтительно в комбинации изобретение касается антенного устройства измерения уровня заполнения с проходящим в осевом направлении волноводом, антенной, крепежным устройством для закрепления волновода на стенке контейнера и системой трубопроводов для пропускания среды, причем система трубопроводов выполнена для подачи охлаждающей среды к нагретым компонентам антенны. Техническим результатом является упрощение конструкции. 10 з.п. ф-лы, 3 ил.
Изобретение касается антенного устройства измерения уровня заполнения для радиолокационного прибора измерения уровня заполнения с признаками родового понятия пункта 1 формулы изобретения.
Из ЕР 1058341 А1 известно устройство для измерения уровня заполнения, содержащее волновод для передачи микроволнового излучения и антенну на переднем конечном участке волновода. Это устройство состоит из цельного конструктивного элемента с диаметром, увеличенным к переднему конечному участку, излучающему волны в направлении насыпного материала. В то время как волновод с меньшим диаметром является одномодовым, передний участок антенны с увеличенным диаметром является многомодовым. В переходной области от волновода к корпусу антенны в ее полость вставлен элемент согласования поперечных сечений как своего рода волновой адаптер. Размеры элемента согласования поперечных сечений выбраны так, что он от многомодовой антенны не позволяет или позволяет только в незначительной мере создавать более высокие моды, чем основная мода, которые возвращаются через волновод к корпусу с электронным оборудованием для обработки. Элемент согласования поперечных сечений выполнен как цельная деталь из диэлектрического сплошного тела. В направлении передней стороны он, выполненный заостренным, выступает внутрь в полость корпуса антенны. В направлении волновода элемент согласования поперечных сечений выступает внутрь в волновод в виде заостренного элемента или как цельная деталь с плоской переходной стенкой.
Это устройство обеспечивает передачу микроволнового или радиолокационного излучения от корпуса с соответствующим электронным оборудованием через обычный коаксиальный разъем и устройство ввода, а также волновод к собственно антенне. В качестве антенны могут использоваться рупорные, параболические или штыревые антенны. Передний участок волновода при этом одновременно выполнен как крепежный элемент для закрепления всего устройства на стенке контейнера. Закрепление на стенке контейнера осуществляется так, что антенна выступает внутрь контейнера, чтобы посылать микроволновое излучение или радиолокационные волны в направлении заполняющего материала и принимать волны, отраженные от поверхности заполняющего материала, чтобы направить их назад к электронному оборудованию в корпусе, чтобы можно было определить уровень заполнения контейнера.
Из DE 19703346 А1 известна параболическая антенна для измерения уровня заполнения в контейнерах. Для монтажа или демонтажа тело параболической антенны выполнено из отдельных элементов антенны, которые относительно продольной оси устройства могут поворачиваться, т.е. являются складными. Тем самым параболическая антенна в сложенном состоянии может быть проведена сквозь соответствующее отверстие в стенке контейнера. При таком устройстве цельная антенная трубка с постоянным поперечным сечением проходит от корпуса с подходящим электронным оборудованием с обратной стороны до переднего конечного участка, на котором размещен передатчик и приемник микроволнового излучения. Волны, подаваемые от передатчика микроволнового излучения через антенную трубку, передаются в направлении развернутого корпуса отражателя параболической антенны для передачи от корпуса антенны в направлении заполняющего материала. От заполняющего материала отраженные волны направляются назад от корпуса антенны к приемнику микроволнового излучения и от него через антенную трубку проводятся назад к корпусу.
При подобном выполнении параболической антенны с плоским корпусом, который на больших участках параллельно к поверхности насыпного материала, т.е. ориентирован горизонтальным или почти горизонтальным, проблема состоит в том, что поднимающийся остаток насыпного материала осаждается на корпусе антенны. Из DE 19703346 А1 в качестве дополнительного признака известно очищающее устройство для очистки корпуса параболической антенны сжатым воздухом или чистящей жидкостью. Через подводящий трубопровод, который проводится параллельно антенной трубке как самостоятельный конструктивный элемент через все устройство от внешней полости во внутреннюю полость контейнера, подается сжатый воздух или чистящая жидкость к форсункам, причем форсунки обращены на поверхность тела антенны или отражателя.
Это устройство во многих отношениях, ввиду большого количества отдельных конструктивных элементов, имеет сложную конструкцию и, кроме того, большой внешний объем.
Задача изобретения состоит в том, чтобы предложить альтернативную и простую конструкцию для антенного устройства измерения уровня заполнения, особенно параболическую антенну измерения уровня заполнения для устройства измерения уровня заполнения. В частности, тело антенны должно иметь возможность располагаться на расстоянии от стенки контейнера. Предпочтительно устройство также должно обеспечивать возможность охлаждения отдельных элементов.
Эта задача решается посредством антенного устройства измерения уровня заполнения с признаками пункта 1 или пункта 7 формулы изобретения.
В соответствии с этим, согласно первому предпочтительному варианту осуществления, предпочтительным является антенное устройство измерения уровня заполнения для прибора измерения уровня заполнения с проходящим в осевом направлении волноводом, к обратной стороне которого может подключаться или подключено устройство для генерирования и обработки электромагнитных волн, антенной, особенно параболической антенной с передней стороны волновода и волновым адаптером для передачи такой волны между двумя проводящими волны компонентами устройства для согласования волнового перехода между компонентами, причем волновой адаптер имеет в осевом направлении проходное отверстие. Под осевым направлением понимается направление распространения волны.
Согласно альтернативному, но в комбинации особенно предпочтительному варианту осуществления, в соответствии с этим выгодным является антенное устройство измерения уровня заполнения для прибора измерения уровня заполнения с проходящим в осевом направлении волноводом, к обратной стороне которого может подключаться или подключено устройство для генерирования и обработки электромагнитных волн, антенной, особенно параболической антенной с передней стороны волновода, крепежным устройством для закрепления устройства, в особенности волновода на стенке контейнера и системой трубопроводов для пропускания среды, причем система трубопроводов выполнена для подачи охлаждающей среды к нагревающимся компонентам антенны.
Предпочтительные дальнейшие варианты выполнения отражены в пунктах формулы изобретения.
Выгодным, в особенности, является устройство, в котором волновой адаптер в обратном направлении к проходному отверстию сужается, в частности, конически сходится.
Выгодным, в особенности, является устройство, в котором волновой адаптер не выходит через торцевую переднюю плоскость волновода, в особенности с закрытой заподлицо торцевой плоскостью.
Выгодным, в особенности, является устройство, в котором волновой адаптер выполнен для согласования волнового перехода между волноводом и соединительным элементом или в противоположном направлении.
Выгодным, в особенности, является устройство, в котором соединительный элемент выполнен как волновод, и его размеры выбраны с обеспечением размещения антенны, в особенности параболической антенны, на расстоянии от внутренней стенки контейнера.
Выгодным, в особенности, является устройство, в котором проходное отверстие выполнено полым.
Выгодным, в особенности, является устройство, в котором система трубопроводов выполнена для направления охлаждающей среды на передатчик и/или приемник и/или на антенную трубку параболической антенны, в качестве антенны.
Выгодным, в особенности, является устройство, в котором система трубопроводов проходит от, по меньшей мере, одного размещенного с внешней стороны стенки контейнера входного отверстия к, по меньшей мере, одному размещенному с внутренней стороны стенки контейнера выходному отверстию, в особенности форсунке.
Выгодным, в особенности, является устройство, в котором система трубопроводов проходит через стенку, по меньшей мере, одного проводящего волны компонента устройства.
Выгодным, в особенности, является устройство, в котором система трубопроводов проходит через несколько проводящих волны компонентов устройства.
Выгодным, в особенности, является устройство, в котором охлаждающая среда является газообразной, текучей или жидкой.
Выгодным, в особенности, является устройство, в котором крепежное устройство для закрепления антенного устройства измерения уровня, в особенности волновода выполнено таким образом, что антенна имеет возможность ориентации относительно стенки контейнера с возможностью поворота.
Далее вариант осуществления подробно объясняется на основе чертежа. На чертежах изображено:
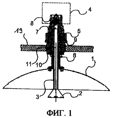
Фиг.1 – сечение антенного устройства антенны измерения уровня заполнения согласно первому варианту осуществления;
Фиг.2 – сечение антенны измерения уровня заполнения согласно второму варианту осуществления; и
Фиг.3 – сечение варианта осуществления антенны измерения уровня заполнения с системой трубопроводов для подачи охлаждающих и/или чистящих средств от внешней стороны контейнера к самому телу антенны.
На фиг.1 изображено в качестве примера антенное устройство измерения уровня заполнения с параболической антенной для излучения или приема электромагнитных волн, особенно радиолокационных или микроволн. Параболическая антенна состоит из собственно тела 1 антенны, антенной трубки 3 и устройства 2, выполненного как передатчик и приемник. Тело 1 антенны известным образом состоит из параболического отражателя и имеет центральное проходное отверстие. Сквозь центральное проходное отверстие тела 1 антенны выступает в осевом направлении антенная трубка 3. На переднем конце антенной трубки 3 расположены передатчик и приемник 2. Передаваемые через антенную трубку 3 к устройству 2 передатчика и приемника волны направляются от передатчика и приемника на тело 1 антенны и от него посылаются в направлении передней стороны к загружаемому материалу в контейнере. В противоположном направлении отраженные от загружаемого материала волны фокусируются от тела 1 антенны на устройстве 2 передатчика и приемника и передаются от него на антенную трубку 3 для дальнейшей передачи.
Для генерирования волн или для обработки принятых волн служит известным образом корпус 4 с соответствующим электронным оборудованием. Для передачи волн между корпусом 4 и антенной 1, 2, 3 служит волновод 5, на переднем конце которого установлен соединительный элемент 6, на переднем конце которой закрепляется антенная трубка 3. Для передачи волн между корпусом 4 и волноводом 5 известным образом служит элемент 7 связи и коаксиальный разъем 8.
Чтобы сделать возможной правильную и, в особенности, неискаженную передачу волн между волноводом 5 или его телом, с одной стороны, и соединительным элементом 6, с другой стороны, в переднем конечном участке волновода 5 расположен волновой адаптер 9. Предпочтительный волновой адаптер 9 имеет, как волновод 5, осевое проходное отверстие 10, которое проходит с предпочтительно одинаковым поперечным сечением отверстия через волновод 5, волновой адаптер 9, соединительный элемент 6 и антенную трубку 3. Волновой адаптер 9 имеет предпочтительно, по меньшей мере, частично коническую форму, причем волновой адаптер 9 в направлении обратной стороны, т.е. в направлении корпуса 4 выполнен конически сходящимся к проходному отверстию 10, остро сужаясь. Передний конец волнового адаптера 9 выполнен плоским и связанным с плоским конечным участком на передней стороне волновода 5 или его тела. Волновой адаптер 9 обычно выполнен из диэлектрического материала и имеет такие размеры, что волны, несмотря на различный материал передающей среды волновода 5 и соединительного элемента 6 и/или различный диаметр и различную форму тела волновода 5 и соединительного элемента 6, передаются без искажений.
Если осевое проходное отверстие 10 заполняется через соседние с волновым адаптером 9 компоненты средой, в особенности диэлектриком, то участок проходного отверстия 10 в области волнового адаптера по выбору также может быть заполнен этой средой, причем среда чаще всего имеет другие физические свойства, чем материал волнового адаптера 9. Возможно, однако, также применение другой среды внутри волнового адаптера 9 или полное отсутствие среды, т.е. воздух или вакуум.
На боковом периметре волновода 5, на его переднем участке, предусмотрена возможность закрепления волновода 5 в проходном отверстии контейнера. На изображенном варианте осуществления это реализовано посредством резьбы 11, которая ввинчивается в соответствующую сопряженную резьбу проходного отверстия стенки 19 контейнера. Соединительный элемент 6, таким образом, в собранном состоянии выступает во внутреннюю полость контейнера и отделяет тем самым тело 1 антенны от внутренней стенки контейнера.
Второй вариант осуществления описывается со ссылками на фиг.2. Существенное отличие от устройства согласно фиг.1 состоит в том, что все устройство целиком имеет возможность поворота относительно отверстия контейнера. Продольная ось всего устройства тем самым является перемещаемой или поворачиваемой относительно стенки 20 контейнера, чтобы антенну можно было оптимальным образом навести на уровень заполнения контейнера. Общая конфигурация радиолокационного прибора измерения уровня заполнения состоит вновь из корпуса 4, который содержит компоненты для генерирования и обработки сигналов. Корпус 4 устанавливается на собственно антенном устройстве. Антенное устройство вновь имеет волновод 5, тело которого спереди выполнено шарообразным снаружи, т.е. образует шаровой штуцер 14. Проходное отверстие 10 продолжается через все тело волновода 5, включая область шарового штуцера 14 и переднего волнового адаптера 9. Поперечное сечение осевого проходного отверстия 10, так же как и в других вариантах осуществления, может быть выполнено, в частности, круглым или квадратным. Радиолокационный сигнал поступает от корпуса 4 через коаксиальный разъем 8 и устройство 1 связи в тело волновода 5 и через него передается в направлении передней стороны. Впереди на теле волновода 5 расположен соединительный элемент 6, причем передача между соединительным элементом 6 и волноводом 5 вновь согласована посредством установленного впереди в теле волновода 5 волнового адаптера 9. Впереди в соединительный элемент 6 вновь вставлена антенная трубка 3, которая заканчивается в устройстве 2 передатчика и приемника радиолокационных волн. Устройство 2 передатчик и приемник 2 находится в фокусе параболической антенны 1 и излучает радиолокационный сигнал на внутреннюю сторону собственно тела параболической антенны 1. Она отражает радиолокационную волну или образованный радиолокационной волной сигнал параллельно к продольной оси, в частности центральной оси волновода 5, в направлении поверхности загружаемого материала, от которого часть сигнала возвращается назад как эхо-сигнал и в обратном пути через параболическую антенну 1, устройство 2 передатчика и приемника, антенную трубку 3, соединительный элемент 6, волновой адаптер 9 и волновод 5 направляется назад к электронному оборудованию обработки в корпусе 4.
Если поверхность загружаемого материала проходит наклонно к стенке 20 контейнера, в котором закреплено антенное устройство, или крепежные детали для антенного устройства или радиолокационного прибора измерения уровня заполнения расположены в наклонном положении, как например при выпуклой крышке контейнера, то эхо-сигнал частично или полностью отражается от параболической антенны 1 в сторону, так что измерения невозможны или возможны только с плохим качеством. Посредством поворота всего устройства или продольной оси всего устройства вокруг шарового штуцера 2 продольная ось может быть сориентирована так, что она направляется на проходящую перпендикулярно к ней поверхность загружаемого материала. Посредством применения шарового штуцера 14 предпочтительным образом возможен конусообразный поворот продольной оси антенного устройства вокруг центра шара в достаточной мере. Передняя поверхность шарового штуцера 14 может быть помещена прямо в коническое, в особенности подогнанное к шарообразной форме проходное, отверстие стенки контейнера. Особенно предпочтительным является вариант осуществления, при котором шаровой штуцер 14 расположен в проходном отверстии 13 фланца 12. Для затяжки шарового штуцера 14 в этом проходном отверстии 13 служит зажимной фланец 16 с также соответствующим проходным отверстием 15, стенки отверстия которого согласованы с характером изменения задней поверхности шарового штуцера 14. Зажимной фланец 16 привинчивается, например, посредством винтов 17 к фланцу 12. В случае установки передней стороны шарового штуцера 14 прямо в соответственно сформированное проходное отверстие стенки контейнера зажимной фланец 16 закрепляется прямо напротив стенки контейнера. В изображенном варианте осуществления с фланцем 12 такой фланец 12 имеет предпочтительным образом проходные отверстия 18, через которые вверху соответствующего проходного отверстия стенки контейнера закрепляются дополнительные винты для завинчивания фланца 12. Посредством зажимного фланца 16 и, при необходимости, промежуточной прокладки для уплотнения, шаровой штуцер и все антенное устройство могут фиксироваться в оптимальном положении. В зависимости от силы натяжения зажимного фланца 16, антенное устройство в собранном состоянии остается по-прежнему поворотным или может быть зафиксировано в желаемом положении.
В особенности в подобном устройстве с поворачиваемой антенной, в особенности параболической антенной, выгодно применение соединительного элемента 6, чтобы отделить тело параболической антенны 1 в достаточной мере от стенки контейнера, так что тело параболической антенны 1 при поворачивании всего антенного устройства не соударяется с внутренней стенкой контейнера. Чтобы обеспечить переход без помех волн из волновода 5 в соединительный элемент 6 или в противоположном направлении, осуществляется соответствующее согласование адаптера 9 волновода соответственно применяемому соединительному элементу 6, в частности, относительно его материала и формы, а также путем определения размеров.
Применение такого адаптера 9 волновода также дает возможность применения компонентов, например волновода 5, для другого типа антенны, например рупорной антенны, для использования параболической антенны 1, не требуя нового выполнения других компонентов, например волновода 5. Посредством адаптера 9 волновода, таким образом, становится возможным модульное выполнение антенного устройства, которое наряду с использованием рупорной антенны также позволяет использовать параболическую антенну 1, по существу на любые другие компоненты модульной системы.
Соединительный элемент 6 состоит предпочтительно из трубчатого тела с соответственно фланцем на каждом конце, причем фланцы имеют расточки или проходные отверстия для установки или ввинчивания винтов. Тем самым соединительный элемент 6 навинчивается на торец соответственно выполненного тела волновода 5 с одной стороны и на соответственную область буртика параболической антенны 1 с другой стороны. Это позволяет использовать соединительные элементы 6 с различными размерами, в частности с различными длинами. Оба торцевых конечных участка соединительного элемента 6 при модульной системе согласуются с соответственно сформированными сопряженными деталями волновода 5 и антенны 1. Предпочтительно также антенная трубка 3 поставляется с различными размерами, так что возможна подгонка, например, к различным параболическим антеннам разных размеров. Посредством обеспечения различных возможностей разделения соединительного элемента 6 и антенной трубки 3, в частности, возможны также монтаж и вставка в малые отверстия стенки контейнера и установка параболической антенны 1 снизу или с внутренней стороны контейнера.
На фиг.3 изображен альтернативный вариант осуществления по сравнению с устройством, изображенным на фиг.1. Дополнительно к изображенным компонентам в теле волновода 5 и соединительном элементе 6 выполнена система трубопроводов, которая позволяет направлять жидкую и/или газообразную среду для охлаждения и/или очистки от внешней стороны контейнера к собственно антенне.
К промывочному соединению 20 присоединяется соответствующий элемент подачи для среды. В промывочном соединении 20 начинаются один или несколько подводящих трубопроводов 21, которые проходят насквозь через тело волновода 5 параллельно к осевому проходному отверстию 10 и предпочтительно выходят со стороны торца на переднем конечном участке. Соединительный элемент 6 имеет также один или несколько соответствующих подводящих трубопроводов 22, которые ведут к его передней области. В этой предпочтительной области находятся одна или несколько форсунок, в особенности кольцевых форсунок 24, которые обеспечивают вывод среды на обратную сторону и/или переднюю сторону параболической антенны 1. В особенности вывод на переднюю сторону параболической антенны 1 через проходное отверстие, которое имеет больший внутренний диаметр, чем внешний диаметр трубы 3 антенны, направляет среду в направлении устройства 2 передатчика и приемника для охлаждения и/или очистки. Подобная конфигурация обеспечивает простое и компактное охлаждение или в данном случае очистку антенны и сильно нагретых при использовании микроволн или радиолокационных волн компонентов подобной антенны измерения уровня заполнения. В качестве альтернативы система трубопроводов может быть выполнена также из отдельного трубопровода рядом, например, с волноводом.
Очень сильно нагреваемый при передаче передатчик 2, таким образом, охлаждается уже в месте возникновения тепла, так что возникающее тепло не может распространиться через остальные компоненты в направлении корпуса 4 с электронным оборудованием. Через систему кольцевых форсунок 24 направленно охлаждается не только передатчик 2, но и соответствующая омываемая средой антенная трубка 3, что способствует снижению передаваемого тепла в направлении заднего корпуса 4. Наряду со снижением тепла такое охлаждение, а также соответствующий с правильно выбранными размерами волновой адаптер, обеспечивают более низкие потери мощности.
Хотя отдельные компоненты описаны в рамках определенного варианта осуществления, данное описание является не ограничительным, а приведено только для примера. Предпочтительно различные компоненты отдельного изображенного варианта выполнения являются взаимозаменяемыми друг с другом и комбинируемыми также с другими дополнительными компонентами известных антенных устройств.
Формула изобретения
1. Антенное устройство измерения уровня заполнения для прибора измерения уровня заполнения, содержащее проходящий в осевом направлении волновод (5), к обратной стороне которого может подключаться или подключено устройство (4) для генерирования и обработки электромагнитных волн, антенну, особенно параболическую антенну (1-3) с передней стороны волновода (5) и волновой адаптер (9) для передачи такой волны между двумя проводящими волны компонентами устройства для согласования волнового перехода между компонентами, причем волновой адаптер (9) в осевом направлении имеет проходное отверстие (10), отличающееся тем, что волновой адаптер (9) выполнен для согласования волнового перехода между волноводом (5) и соединительным элементом (6) или в противоположном направлении, причем соединительный элемент (6) выполнен как волновод с размерами, выбранными для обеспечения расположения антенны (1-3), в особенности параболической антенны, на расстоянии от внутренней стенки контейнера.
2. Устройство по п.1, в котором волновой адаптер (9) в обратном направлении к проходному отверстию (10) сужается, в особенности конически сходится.
3. Устройство по п.1, в котором волновой адаптер (9) не выходит через торцевую переднюю плоскость волновода (5), в частности замыкается заподлицо с торцевой плоскостью.
4. Устройство по п.1, в котором проходное отверстие (10) выполнено полым.
5. Устройство по п.1, отличающееся тем, что содержит систему трубопроводов для пропускания среды, при этом система трубопроводов (20-24) выполнена для подачи охлаждающей среды к нагревающимся компонентам (2, 3) антенны.
6. Устройство по п.5, в котором система трубопроводов (20-24) выполнена для направления охлаждающей среды на передатчик и/или приемник (2) и/или на антенную трубку (3) параболической антенны в качестве антенны.
7. Устройство по п.5, в котором система трубопроводов проходит от, по меньшей мере, одного размещенного с внешней стороны стенки контейнера входного отверстия (20) к, по меньшей мере, одному размещенному с внутренней стороны стенки контейнера выходному отверстию, в особенности форсунке (24).
8. Устройство по п.5, в котором система трубопроводов проходит через стенку, по меньшей мере, одного проводящего волны компонента (5, 14, 6) устройства.
9. Устройство по п.5, в котором система трубопроводов проходит от, по меньшей мере, одного размещенного с внешней стороны стенки контейнера входного отверстия (20) к, по меньшей мере, одному размещенному с внутренней стороны стенки контейнера выходному отверстию, в особенности форсунке (24), в котором система трубопроводов проходит через стенку, по меньшей мере, одного проводящего волны компонента (5, 14, 6) устройства, и в котором система трубопроводов проходит через несколько проводящих волны компонентов (5, 14, 60) устройства.
10. Устройство по п.5, в котором охлаждающая среда является газообразной, текучей или жидкой.
11. Устройство по п.5, в котором крепежное устройство для закрепления антенного устройства измерения уровня, в особенности волновода (5), выполнено таким образом, что антенна выполнена ориентируемой с возможностью поворота относительно стенок контейнера.
РИСУНКИ
|
|