|
|
(21), (22) Заявка: 2005138785/28, 13.12.2005
(24) Дата начала отсчета срока действия патента:
13.12.2005
(46) Опубликовано: 20.10.2007
(56) Список документов, цитированных в отчете о поиске:
SU 110266 А, 19.12.1957. SU 792535 А, 30.12.1980. WO 84/00082 A1, 05.01.1984. US 4080696 A, 28.03.1978. JP 57-1999310 A, 07.12.1982. GB 2236616 A, 10.04.1991.
Адрес для переписки:
117519, Москва, ул. Чертановская, 33, корп.1, кв.196, В.С. Наумову
|
(72) Автор(ы):
Пашков Сергей Сергеевич (RU), Наумов Валентин Сергеевич (RU), Калашникова Ирина Исаковна (RU), Васильев Александр Михайлович (RU)
(73) Патентообладатель(и):
Пашков Сергей Сергеевич (RU), Наумов Валентин Сергеевич (RU), Калашникова Ирина Исаковна (RU), Васильев Александр Михайлович (RU)
|
(54) СПОСОБ УЛУЧШЕНИЯ МОНОТОННОСТИ ТЕМПЕРАТУРНО-ЧАСТОТНЫХ ХАРАКТЕРИСТИК КВАРЦЕВЫХ РЕЗОНАТОРОВ В СТЕКЛЯННЫХ КОРПУСАХ
(57) Реферат:
Изобретение относится к области радиоэлектроники. Технический результат: улучшение монотонности ТЧХ кварцевых резонаторов в стеклянных корпусах с сохранением их основных параметров. Сущность: воздействуют на пьезоэлемент вне области размещения электродов сфокусированным импульсным излучением лазера с модуляцией добротности с плотностью энергии в перетяжке лазерного луча, превышающей порог лазерного разрушения кварцевого пьезоэлемента, для создания в нем микроразрушений размером 30…100 мкм. Точки воздействия выбирают на расстоянии L=(3t+0,5) мм от края электрода пьезоэлемента, где t – толщина пьезоэлемента в миллиметрах. Плотность энергии излучения лазера меньше порога лазерного разрушения стеклянного корпуса резонатора, находящегося вне области перетяжки лазерного луча. 1 ил.
Изобретение относится к радиоэлектронике, в частности к технологии изготовления изделий электронной техники, и предназначено для улучшения монотонности температурно-частотных характеристик (ТЧХ) кварцевых резонаторов в стеклянных корпусах при их изготовлении.
Одной из проблем, возникающих при изготовлении высокостабильных генераторов, является немонотонность температурно-частотных характеристик кварцевых резонаторов. Обычно это выражается в скачке частоты, который происходит в ограниченном диапазоне температур. Вероятность возникновения скачка частоты зависит от многих факторов: частоты резонатора (толщины пьезоэлектрической пластины), его конструктивных особенностей, технологии изготовления, качества применяемого кварца и др. [1]. Количество резонаторов с немонотонными ТЧХ колеблется в пределах (5-30)% от общего количества изготовляемых резонаторов. Установлено, что причиной возникновения немонотонности ТЧХ является наличие у кварцевых резонаторов паразитных колебаний, частоты которых находятся вблизи основной рабочей частоты [1-3]. Температура различным образом влияет на основную частоту и паразитные колебания пьезоэлектрической пластины. Поэтому частоты основного рабочего и паразитных колебаний при некоторых значениях температур могут совпадать. В результате при этих температурах может происходить захват частоты паразитного колебания и перескок частоты с основного резонанса на частоту паразитного колебания с изменением параметров резонатора.
Известен способ управления спектральными характеристиками кварцевых резонаторов, при котором используется воздействие излучения оптического квантового генератора [4]. Недостатком этого способа является незначительное улучшение, а в ряде случаев и ухудшение монотонности ТЧХ резонаторов.
Наиболее близким по технической сущности к предлагаемому способу является способ подавления паразитных колебаний и улучшения монотонности температурно-частотных характеристик кварцевых резонаторов в стеклянных корпусах путем воздействия лазерного излучения на пьезоэлемент с электродами [5]. В этом способе часть электродного покрытия испаряется лучом лазера в местах пучности паразитного колебания (метод дырочных электродов), при этом частично подавляются паразитные колебания. Недостатком известного способа является изменение параметров резонатора при воздействии лазерного излучения на электроды: меняется его рабочая частота, ухудшается точность настройки на заданную частоту за счет уменьшения массы электродов при испарении металла, при этом увеличивается эквивалентное динамическое сопротивление резонатора и уменьшается амплитуда возбуждаемых колебаний.
Задачей, которую решает настоящее изобретение, является улучшение монотонности температурно-частотной характеристики кварцевых резонаторов в стеклянных корпусах с сохранением основных параметров резонатора на рабочей частоте, в том числе и динамического сопротивления.
Поставленная задача решается за счет подавления паразитных колебаний, находящихся вблизи основной рабочей частоты резонатора, путем воздействия на пьезоэлемент вне области размещения электродов сфокусированным импульсным излучением лазера с модуляцией добротности с плотностью энергии в перетяжке лазерного луча, превышающей порог лазерного разрушения кварцевого пьезоэлемента, для создания в нем микроразрушений размером 30…100 мкм, но меньшей порога лазерного разрушения стеклянного корпуса резонатора, находящегося вне области перетяжки лазерного луча, при этом точки воздействия лазерного излучения на пьезоэлемент находятся на расстоянии L от края электрода пьезоэлемента, которое определяют по формуле:
3t L (3t+0,5) мм,
где t – толщина пьезоэлемента в миллиметрах.
В предлагаемом изобретении использован эффект подавления амплитуды паразитных колебаний и, вследствие этого, улучшения монотонности ТЧХ кварцевого резонатора за счет влияния образующихся микроразрушений размером 30…100 мкм пьезоэлемента при воздействии лазерного излучения в местах пучностей паразитных колебаний вне области электродов. При этом практически не изменяются рабочие параметры резонатора, так как не происходит изменения размеров и массы электродов, а следовательно, и изменения основной резонансной частоты пьезоэлемента, поскольку распределение амплитуды колебаний на рабочей частоте сосредоточено, в основном, в подэлектродной области, а пучности колебаний на паразитных частотах распределены по всей плоскости пьезоэлемента.
Существенным и принципиальным отличием предлагаемого способа от известного является создание лазерным излучением с выбранными параметрами микроразрушений в пьезоэлементе вне области электродов, а не испарение части металлического электрода с помощью лазерного излучения.
Предлагаемый способ основан на воздействии импульсов сфокусированного излучения лазера, работающего в режиме модуляции добротности, на пьезоэлемент резонатора вне области электродов, в результате чего образуются микроразрушения в объеме пьезоэлемента размером 30…100 мкм.
Для предотвращения разрушения стеклянного корпуса резонатора осуществлялась фокусировка импульсного лазерного излучения на пьезоэлемент таким образом, чтобы плотность энергии в фокальной плоскости превышала порог лазерного разрушения кварцевой пластины вне области электродов и была меньше порога лазерного разрушения стеклянного корпуса резонатора, находящегося вне фокальной плоскости.
Было обнаружено, что чем дальше сделано микроразрушение от края электрода, тем слабее подавление амплитуд паразитных колебаний. С другой стороны, нельзя создавать микроразрушения очень близко к краю электрода, так как может произойти электрический пробой пьезоэлемента через данное разрушение. Поэтому необходимо было найти конкретные значения расстояний микроразрушений от края электрода для подавления паразитных колебаний. Так как частоты, генерируемые в резонаторе, зависят от толщины пьезоэлемента, то это расстояние также зависит от толщины пьезоэлемента. Проведенные эксперименты позволили установить оптимальное значение расстояния микроразрушений от края электрода, при котором наиболее эффективно происходит подавление паразитных колебаний. Это расстояние L выражается следующей формулой:
3t L (3t+0,5) мм,
где t – толщина пьезоэлемента в миллиметрах.
Если плотность энергии излучения в фокальной плоскости меньше порога лазерного разрушения кварцевого пьезоэлемента, то микроразрушения не образуются и не происходит подавление паразитных колебаний и, следовательно, нет улучшения монотонности ТЧХ резонатора. Если плотность энергии излучения больше порога лазерного разрушения стеклянного корпуса резонатора, то происходит его разрушение, разгерметизация, и резонатор становится непригоден для эксплуатации.
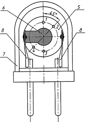
На чертеже представлены области 1, 2, 3, 4 воздействия лазерного излучения на пьезоэлемент, совпадающие с пучностями паразитных колебаний, 5 – кварцевый пьезоэлемент с электродами 6, 7 – стеклянный корпус резонатора, 8 – выводы электродов. Воздействие производится последовательно на области 1, 2, 3, 4 и после каждого воздействия проводится измерение ТЧХ резонатора. Воздействие лазерным излучением в области 2, 3, 4 пьезоэлемента производится в том случае, если улучшение монотонности ТЧХ резонатора после воздействия на предыдущую область недостаточно. При этом требуемые рабочие параметры резонатора практически не изменяются, а паразитные частоты колебаний подавляются за счет образовавшихся микроразрушений вблизи пучностей паразитных колебаний.
Ниже приведены конкретные примеры экспериментальных исследований ТЧХ кварцевых резонаторов до и после воздействия на них лазерным излучением.
Пример 1. Кварцевые резонаторы в количестве 5 штук с рабочей частотой 10 МГц, с пьезоэлементом диаметром 7 мм, толщиной 0,17 мм и диаметром электродов 3 мм имели немонотонность ТЧХ.
Излучение второй гармоники ( =532 нм) лазера на ИАГ:Nd3+, работающего в режиме модуляции добротности с одной поперечной модой типа ТЕМ00 и длительностью импульсов 10 нс, фокусировалось на пьезоэлемент. Фокусировка излучения осуществлялась с помощью оптической системы, совмещенной с микроскопом и позволявшей наблюдать область фокусировки лазерного излучения и выбирать место лазерного воздействия на пьезоэлемент. Диаметр лазерного луча в фокальной плоскости оптической системы составлял 30 мкм на уровне 1/е по интенсивности. Энергия излучения в импульсе составляла 1 мДж. Этой энергии было достаточно для разрушения кварцевого пьезоэлемента, находившегося в фокальной плоскости оптической системы, так как плотность энергии в фокусе составляла: W=Е/S=140 Дж/см2, где Е=1 мДж – энергия излучения в импульсе, S=7×10-6 см2 – площадь поперечного сечения лазерного луча в фокальной плоскости. Эта величина плотности энергии превышала порог лазерного разрушения кварцевого пьезоэлемента, составлявший 20 Дж/см2 на длине волны 532 нм. Диаметр лазерного луча на стеклянном корпусе резонатора составлял 400 мкм, а площадь облучаемой области – 1,26×10-3 см2. Достигаемая на стеклянном корпусе плотность энергии лазерного излучения составляла 0,8 Дж/см2, что ниже порога его разрушения, равного 7 Дж/см2.
Вначале были созданы микроразрушения размером 60…80 мкм в трех резонаторах в областях, находившихся на линии примерно параллельной стойкам кварцедержателя на расстоянии 2 мм от края электрода. Были измерены ТЧХ резонаторов. Улучшения монотонности ТЧХ не наблюдалось. Затем лазерное излучение было сфокусировано на область 1 пьезоэлементов, находящуюся на линии, примерно параллельной стойкам кварцедержателя, на оптимальном расстоянии, равном L=(3×0,17+0,5) мм=1,01 мм (см. чертеж). После воздействия импульсов лазерного излучения на всех пьезоэлементах образовались микроразрушения размером 40…60 мкм. Были измерены ТЧХ резонаторов. Одного микроразрушения оказалось достаточно для полного подавления паразитных колебаний в двух резонаторах. Рабочие характеристики резонаторов не изменились, а ТЧХ резонаторов улучшились. В трех резонаторах полное подавление паразитных колебаний было достигнуто после дополнительного воздействия излучения лазера в область 2 пьезоэлемента (см. чертеж). Видно, что после воздействия лазерного излучения на кварцевый пьезоэлемент произошло улучшение ТЧХ всех резонаторов.
Пример 2. Кварцевые резонаторы в количестве 5 штук в стеклянном корпусе с рабочей частотой 20 МГц, диаметром пьезоэлемента 6 мм, толщиной 0,08 мм, диаметром электродов 2,5 мм имели немонотонность ТЧХ. Для подавления паразитных колебаний применялось излучение второй гармоники лазера на ИАГ:Nd3+ с длиной волны 532 нм. Параметры излучения лазера и условия фокусировки были теми же, что и в примере 1. Излучение лазера фокусировалось в область 1 (см. чертеж) каждого пьезоэлемента, находящуюся на линии, параллельной стойкам кварцедержателя, на расстоянии, равном L=(3×0,08+0,5) мм=0,74 мм. Образовавшиеся микроразрушения во всех пьезоэлементах имели размер 40…70 мкм. Измерение ТЧХ резонатора показало, что не произошло полного подавления паразитных колебаний.
Было проведено повторное воздействие лазерным излучением в том же режиме в область 2 (см. чертеж), находящуюся на линии под углом 45° к стойкам кварцедержателя, на расстоянии 0,74 мм от края электрода. Получено второе микроразрушение размером 60 мкм. Были измерены ТЧХ резонаторов; второго воздействия оказалось достаточно для полного подавления паразитных колебаний в трех резонаторах.
Последующее воздействие лазерным излучением на два оставшихся резонатора было проведено в область 3 (см. чертеж), находящуюся на линии, параллельной стойкам кварцедержателя ниже электрода, на расстоянии 0,74 мм от его края. Полученные микроразрушения имели размер 45…50 мкм. Были измерены ТЧХ резонаторов, которые показали полное подавление паразитных колебаний и улучшение монотонности ТЧХ резонаторов. Рабочие характеристики резонаторов не изменились.
Таким образом, создание с помощью лазерного излучения микроразрушений в пьезоэлементе вне области электродов позволяет улучшить температурно-частотные характеристики резонаторов при сохранении основных параметров резонатора на рабочей частоте.
Литература
1. Дж.Бирч и др. Аномалии в ТЧХ и температурные характеристики высокочастотных кварцевых резонаторов. Материалы 30 симпозиума по стабилизации частоты. США, 1976 г.
2. М.Фреркинг и др. Экспериментальные исследования перескоков частоты. Материалы 52 симпозиума по стабилизации частоты. США, 1998 г.
3. Б.Капаллс. Исследование колебаний пластин АТ-среза методами рентгеновской топографии. Материалы 46 симпозиума по стабилизации частоты. США, 1992 г.
4. О.Г.Вербицкий, Е.А.Кошкарев, А.А.Ленчевский, В.Я.Баржин. О возможности управления спектральными характеристиками кварцевых резонаторов излучением оптического квантового генератора. Электронная техника, сер.5. Радиодетали и радиокомпоненты, 1974, вып.2.
5. О.Г.Вербицкий, А.А.Ленчевский, Ю.М.Угрюмов. Управление амплитудно-частотными характеристиками высокочастотных кварцевых фильтровых резонаторов излучением оптического квантового генератора. Электронная техника, сер.5. Радиодетали и радиокомпоненты, 1977, вып.3, стр.50-54.
Формула изобретения
Способ улучшения монотонности температурно-частотных характеристик кварцевых резонаторов в стеклянных корпусах путем воздействия лазерного излучения на пьезоэлемент с электродами, отличающийся тем, что на пьезоэлемент воздействуют вне области размещения электродов сфокусированным импульсным излучением лазера с модуляцией добротности с плотностью энергии в перетяжке лазерного луча, превышающей порог лазерного разрушения кварцевого пьезоэлемента, для создания в нем микроразрушений размером 30-100 мкм, но меньшей порога лазерного разрушения стеклянного корпуса резонатора, находящегося вне области перетяжки лазерного луча, при этом точки воздействия лазерного излучения на пьезоэлемент выбирают на расстоянии L от края электрода пьезоэлемента, которое определяют по формуле
3t L (3t+0,5) мм,
где t – толщина пьезоэлемента, мм.
РИСУНКИ
|
|