|
(21), (22) Заявка: 2005136816/28, 18.11.2005
(24) Дата начала отсчета срока действия патента:
18.11.2005
(43) Дата публикации заявки: 27.05.2007
(46) Опубликовано: 20.10.2007
(56) Список документов, цитированных в отчете о поиске:
RU 2174726 C1, 10.10.2001. RU 2173907 C2, 20.11.2001. RU 2145748 C1, 20.02.2000. RU 2248643 C1, 20.03.2005. RU 2153848 С2, 10.08.2000. JP 11283543, 15.10.1999. FR 2833751, 20.06.2003. ЕР 1296350, 26.03.2003. ЕР 1037248, 20.09.2000.
Адрес для переписки:
197183, Санкт-Петербург, ул. Школьная, 39, ООО “СПАРК”, директору П.Н. Беспалову
|
(72) Автор(ы):
Фурсей Георгий Николаевич (RU), Широчин Леонид Александрович (RU), Беспалов Петр Николаевич (RU)
(73) Патентообладатель(и):
Общество с ограниченной ответственностью “СПАРК” (RU)
|
(54) РЕНТГЕНОВСКАЯ ТРУБКА
(57) Реферат:
Изобретение относится к рентгеновской технике, в частности к импульсным рентгеновским трубкам, и может быть использовано в оборудовании для получения и использования рентгеновского излучения в медицине и технике. Рентгеновская трубка содержит вакуумированный корпус, анод и закрепленный на изоляторе высоковольтный ввод со взрывоэмиссионным катодом, при этом взрывоэмиссионный катод выполнен из материала с наноструктурой поверхности, самовоспроизводящейся при воздействии на нее высоковольтных импульсов с амплитудой до 60 кВ длительностью 10-80 нс, поданных группой с частотой следования до 1 МГц. Техническим результатом является увеличение ресурса стабильности работы трубки, а также расширение функциональных возможностей устройства за счет получения излучения мягкого диапазона, обеспечивающего высокий контраст изображений при работе с объектами разной оптической плотности. 1 з.п. ф-лы, 12 ил.
Изобретение относится к рентгеновской технике, в частности к импульсным рентгеновским трубкам, и может быть использовано в оборудовании для получения и использования рентгеновского излучения в медицине и технике.
Известно, что рентгеновская трубка – электровакуумный прибор для получения рентгеновского излучения. Основные элементы рентгеновской трубки – катод (источник электронов) и анод (источник рентгеновского излучения), размещенные в вакуумном баллоне.
Испускание электронов поверхностью твердого тела (катодом) называется электронной эмиссией. Электроны не могут самопроизвольно покинуть поверхность катода, так как для этого надо совершить работу против внутренних сил, удерживающих их на границе раздела катод-вакуум. Таким образом, для того чтобы высвободить электроны из катода, необходимо затратить энергию. По способу, которым эта энергия передается катоду, эмиссионные процессы называются термоэлектронной эмиссией, когда энергия передается электронам при нагревании катода за счет тепловых колебаний решетки; вторичной электронной эмиссией, когда эта энергия передается другими частицами (электронами или ионами, бомбардирующими катод); фотоэлектронной эмиссией, при которой электроны выбиваются квантами света, и т.п.
Традиционные рентгеновские трубки основаны на применении накаливаемых катодов. В этих приборах источником электронов (эмиттером) является металлическая нить, накаливаемая до очень высоких температур. Необходимость нагрева, а именно поэтому такие электронные эмиттеры называются также термокатодами, связана с тем, что при комнатной температуре электроны имеют слишком маленькую энергию, чтобы они могли эмитировать из металла.
Из уровня техники известна рентгеновская трубка, содержащая заключенные в вакуумную колбу анод, управляющий электрод, окно для вывода рентгеновского излучения и термокатод [1].
Недостатком данной рентгеновской трубки является то, что для ее работы необходим и высоковольтный источник питания и источник для накала катода. Затрата мощности на накал катода снижает коэффициент полезного действия трубки. Кроме того, обязательный нагрев катода приводит к выделению тепла и нежелательному разогреву рентгеновской трубки, поэтому ресурс стабильной работы трубки невелик.
Известно, что можно вырвать электроны из металлов и при комнатных температурах, если приложить достаточное для эмиссии электронов электрическое поле. По этой причине самое распространенное название для таких источников электронов – холодные катоды. Также такие источники электронов называются автоэмиссионными, так как принцип их работы основан на явлении автоэлектронной эмиссии. В зарубежной литературе это явление называется полевой электронной эмиссией. Среди эмиссионных явлений автоэлектронная эмиссия занимает особое место, так как это чисто квантовый эффект, при котором для высвобождения электронов из катода не требуется затрат энергии на сам эмиссионный акт в отличие от термо-, фото- и вторичной эмиссии.
Автоэлектронной эмиссией называется явление испускания электронов в вакуум с поверхности твердого тела или другой среды под действием очень сильного электрического поля напряженностью Е=107-108 В/см. Для того чтобы создать такие сильные электрические поля, к обычным макроскопическим электродам необходимо было бы прикладывать напряжения в десятки миллионов вольт. Практически автоэлектронную эмиссию можно возбудить при гораздо меньших напряжениях, если придать катоду форму тонкого острия с радиусом вершины в десятые или сотые доли микрона. Тогда, даже при приложении сравнительно умеренного электрического поля его реальная величина на микроостриях будет на порядки больше за счет геометрического усиления. Чем тоньше и длиннее будет это острие, тем большим будет эффект усиления.
Поэтому традиционным направлением в разработке автоэмиссионных эмиттеров является создание поля идентичных микроострий на поверхности катодов.
Известна отпаянная импульсная рентгеновская трубка, содержащая вакуумированный корпус из стекла, многоострийный автоэмиссионный катод и расположенный напротив него по оси трубки анод [2].
Недостатком данного устройства является небольшой ресурс стабильной работы трубки, так как использование традиционных металлов в качестве материала катода приводит к быстрому снижению их эмиссионных свойств в результате распыления и химической деградации даже в условиях высокого вакуума.
Многолетние исследования, проводимые в Научно-исследовательском центре электрофизических проблем поверхности РАЕН при Санкт-Петербургском государственном университете телекоммуникаций, привели к созданию нового класса портативных рентгеновских аппаратов.
В основе создания этой новой техники лежит открытие явления взрывной электронной эмиссии, обусловленное взрывным переходом конденсированного вещества катода в плотную плазму при разогреве локальных областей катода собственным эмиссионным током.
Суть явления заключается в том, что если в металлический катод быстро ввести энергию большой концентрации, то происходит мгновенный переход металла из твердого состояния в плазму и выделяется большой поток электронов – это и есть микровзрыв.
Возьмем два металлических электрода, находящихся в вакууме. Приложим к ним напряжение и будем его увеличивать. Включенный в цепь микроамперметр начнет показывать ток. При одном и том же напряжении он будет слегка колебаться. Это – автоэлектронная эмиссия. Металл, даже после шлифовки, не вполне гладок – на нем есть выступы и острия. На них напряженность поля выше, и именно с этих острий идет в вакуум ток автоэлектронной эмиссии. При этом острия могут разрушаться, поэтому ток автоэлектронной эмиссии нестабилен. Если сильно поднять напряжение, ток увеличится настолько, что нагреет острие до испарения. Образуется маленькое облачко ионизированного пара, состоящее из атомов, ионов и электронов. Электрическое поле выдергивает из этого облачка часть электронов, которые летят на второй электрод. Это и есть взрывная эмиссия, которую открыли одновременно Г.А.Месяц и Г.Н.Фурсей.
Сегодня она является важным способом получения мощных и коротких импульсов тока в вакууме. Мощных потому, что напряжение может при этом процессе достигать U=1 MB, ток I=10 кА, а коротких (1-100 наносекунд) потому, что вещества во взрывающемся острие немного и оно быстро расходуется. Обходиться случайно образовавшимися на металле остриями необязательно – взрывную эмиссию можно получать со специально изготовленных электродов, содержащих проволочки или нити.
При торможении в металле второго электрода электроны генерируют рентгеновское излучение.
Наиболее близкой по технической сущности и достигаемому результату к заявляемому техническому решению является импульсная трубка, содержащая вакуумированный корпус, анод и закрепленный на изоляторе взрывоэмиссионный катод [3].
Для достижения необходимого для инициирования взрывной электронной эмиссии поля на поверхности катода (Е>107 В/см) в данной рентгеновской трубке используют металлические эмиттеры фольгового типа, выполненные в виде симметричных наборов лезвий.
Недостатком данного устройства является низкий ресурс стабильной работы трубки, а также то, что такая трубка генерирует поток жесткого рентгеновского излучения, непригодного для получения контрастного снимка при работе с объектами разной оптической плотности.
Известно, что на металлах, даже в режиме коротких (наносекундных) импульсов тока взрывной электронной эмиссии, массоперенос составляет М=10-5 г/Кл. При этом происходит существенное, нерегулируемое разрушение поверхности эмиттеров, ведущее к нарушению воспроизводимости условий взрыва от импульса к импульсу и, как следствие, ограничению ресурса работы трубок с такими катодами.
Эта же причина приводит к уменьшению коэффициента усиления внешнего поля на поверхности катода – эффект “полировки”, что делает невозможным их использование при низких рабочих напряжениях, то есть для получения излучения мягкого диапазона, обеспечивающего высокий контраст изображений.
Кроме того, пары и капли материала катода, распыляясь по поверхности высоковольтного изолятора трубки, снижают его электрическую прочность, что приводит к его поверхностному пробою с наиболее уязвимой, вакуумной стороны.
Технический результат заявляемого решения состоит в увеличении ресурса стабильной работы трубки, а также в расширении функциональных возможностей устройства за счет получения излучения мягкого диапазона, обеспечивающего высокий контраст изображений при работе с объектами разной оптической плотности.
Для достижения указанного технического результата в рентгеновской трубке, содержащей вакуумированный корпус, анод и закрепленный на изоляторе высоковольтный ввод со взрывоэмиссионным катодом, согласно изобретению взрывоэмиссионный катод выполнен из материала с наноструктурой поверхности, самовоспроизводящейся при воздействии на нее высоковольтных импульсов с амплитудой до 60 кВ длительностью 10-80 нс, поданных группой с частотой следования до 1 МГц. Для достижения указанного результата взрывоэмиссионный катод может быть выполнен из материала на основе графита.
Наличие отличительных признаков, а именно выполнение взрывоэмиссионного катода из материала с наноструктурой поверхности, самовоспроизводящейся при воздействии на нее высоковольтных импульсов с амплитудой до 60 кВ длительностью 10-80 нс, поданных группой с частотой следования до 1 МГц, свидетельствует о соответствии заявляемого технического решения критерию патентоспособности «новизна».
Для прострельной рентгеновской трубки нами был разработан взрывоэмиссионный катод с самовоспроизводящейся наноструктурой поверхности, позволяющий получать токи в сотни ампер при напряжениях в десятки киловольт и длительности импульса десятки наносекунд.
Экспериментально установлено, что выполнение катода из такого материала, как графит, значительно увеличивает ресурс стабильной работы рентгеновской трубки, а именно число импульсов рентгеновского излучения без изменения его параметров на каждом импульсе, с полностью воспроизводимыми от импульса к импульсу эмиссионными характеристиками (получен результат порядка 106).
Доказано возникновение жидкой фазы на графитовом катоде при взрывной электронной эмиссии, при этом сам процесс поддержания взрывной электронной эмиссии можно представить в следующем виде.
После инициирования взрыва и образования плотной плазмы на отдельных наиболее напряженных участках катода, происходит переход поверхности из твердой фазы (изначально твердотельный катод) в жидкую фазу. Ток в диоде (рентгеновской трубке) растет за счет расширения эмитирующей поверхности внешней границы катодной плазмы (далее КП). Плотность КП высока, слой очень тонкий, малого падения потенциала достаточно, чтобы поддерживать эмиссию на неоднородностях, для которых критическое поле неустойчивости больше, чем для полевой эмиссии.
По мере расширения КП по поверхности катода, ее концентрация падает, катодный слой увеличивается, растет и падение потенциала в катодном слое. Однако со временем растет и площадь зоны расплава на поверхности катода, что приводит к уменьшению критического для возбуждения апериодической неустойчивости поля. Теперь уже силы электрического поля, действуя на жидкую поверхность, возбуждают на ней апериодическую неустойчивость, приводящую к возникновению и росту микроострий. Таким образом, поддержание взрывной электронной эмиссии происходит за счет непрерывной регенерации (самовоспроизводства) микроострий, образовавшихся на жидкой поверхности расплавившегося катода в сильном поле катодного слоя плазмы, а также за счет их достаточно большого количества.
Очевидно, что стабильность эмиссионных характеристик, а следовательно, и характеристик рентгеновского излучения зависит от возможности генерировать и сохранять от импульса к импульсу микроструктуру, а именно множество микроострий на поверхности катода.
Были исследованы мелкомасштабные неоднородности рельефа поверхности графитового катода с использованием растровой электронной микроскопии.
При сравнении фотографий, полученных на сканирующем электронном микроскопе с максимальным пространственным разрешением 20 и представленных на фиг.1, 2, отчетливо видны следы плавления и движения расплавленного графита по поверхности эмиттера.
Оказалось, что на «застывшем» при комнатной температуре графите (фиг.2) сохраняются существенно более тонкие микроострия, чем на металлах, на которых подобные неоднородности удавалось сохранить только при охлаждении катодов до температуры жидкого гелия.
Обнаружены микроострия с характерным диаметром около 0,1 мкм и кривизной вершины меньше 10 нм, равномерно распределенные по поверхности эмиттера с плотностью 108 см2. Такая микроструктура и обеспечивает высокую стабильность и воспроизводимость импульсов тока взрывной электронной эмиссии графитовых эмиттеров, даже при относительно малом напряжении на диоде, так как катодная плазма при ее взрыве эффективно и равномерно формируется сразу по всей поверхности катода.
Сохранение микроструктуры на поверхности графитового катода после прекращения процесса взрывной электронной эмиссии связано с особенностью механизма ее затвердевания, принципиально отличающегося от такового для металлов.
Для идеальной жидкости характерное время распада возмущения с шириной L составляет 
где – плотность жидкости, – коэффициент поверхностного натяжения жидкости.
Для микроострий с L=10-7-10-5 м установлено ид 10-10 с.
Для неидеальной жидкости, с учетом вязкости, характерное время распада возмущения с шириной L составляет 
где – кинематическая вязкость расплава, =2 /L – волновое число. Приблизительная оценка дает неид=10-9 с.
Время застывания острия за счет отвода тепла в тело катода где r – удельная теплота плавления, – коэффициент теплопроводности, что дает заст=10-9-10-8 с.
Время разлета плазмы над взорванным микроострием может быть оценено, если считать, что начальные ее размеры сравнимы с размерами образовавшихся микроострий. Оно составляет где l – размер микроострия, пл – скорость разлета плазмы. Для l =10-7-10-6 м, полагая пл=104 м/с, получаем разл=10-11-10-10 с.
Принципиально важен механизм перехода расплавленного графита в твердое состояние. Обычно переход жидкой фазы в кристаллическую фазу требует отвода энергии, приблизительно равной теплоте плавления. Однако в случае с графитом это не является проблемой, поскольку при резком, практически мгновенном падении давления вблизи поверхности катода, при окончании импульса тока взрывной электронной эмиссии, графит переходит в метастабильную аморфную стеклообразную форму (стеклование) с дальнейшей диссипацией энергии.
Таким образом, сформированная микроструктура не распадается под действием вязких сил, а сохраняется примерно в том виде, в каком она поддерживается в поле слоя КП в процессе взрывной электронной эмиссии, то есть сохраняет высокий коэффициент усиления внешнего поля ( -фактор) от импульса к импульсу.
На металле такая микроструктура сохраниться не может – после выключения внешнего поля мелкие микроострия распадаются, а сохраняются лишь редкие сглаженные крупные выступы, случайно распределенные по поверхности.
Нами проведены ресурсные испытания графитовых эмиттеров в режиме взрывной электронной эмиссии. Исследовались катоды, выполненные из графитовой ткани, сплетенной из двух взаимопересекающихся совокупностей нитей углеродного полиакрилонитрильного волокна.
Для испытаний катода был использован специальный генератор прямоугольных наносекундных импульсов регулируемой амплитуды и длительности. Он мог работать без «послеимпульсов» (отражений) на несогласованной нагрузке, при частоте повторения от одиночных импульсов до 25 Гц. Выходные импульсы с регулируемой длительностью от 10 до 75 нс, с фронтом 5 нс, формировались с наносекундной синхронизацией относительно запуска за счет разряда 50-омной кабельной линии через последовательные трехэлектродные искровые разрядники по схеме Ю.В.Введенского.
Испытания показали высокую стабильность взрывной электронной эмиссии на графитовых катодах в диапазоне напряжений U=20-80 кВ. Стабильность, воспроизводимость осциллограмм тока такова, что они совпадают с точностью до толщины линии на экране осциллографа в диапазоне плотностей тока на катоде j 104 А/см2 (фиг.3). Ресурс стабильной работы катода составил больше 105 включений.
Из патентной информации известно выполнение катода в виде пучка углеродных волокон в рентгеновской трубке с автокатодом [4].
Однако известное устройство работает только в режиме автоэлектронной эмиссии. В этом режиме ток катода около I=10-4 А, что на шесть порядков величины меньше, чем в предлагаемом устройстве.
Совместно с выполнением взрывоэмиссионного катода из графита нами разработан особый режим высоковольтного питания рентгеновской трубки, а именно подача высоковольтных импульсов напряжения с высокой частотой повторения, а именно группой, в определенной последовательности, для минимизации времени набора полной дозы, необходимой для надежной фиксации, например на рентгеновской пленке. Так, если N – число импульсов в группе, a F – частота их следования, то в нашем случае N=10 при F=10 кГц, то есть десять импульсов за 0,01 с.
Это дает возможность за короткое время получить нужную дозу рентгеновского излучения, прошедшего через исследуемый объект, достаточную для надежной фиксации этого объекта на приемнике излучения. Такой режим позволяет управлять временем экспонирования для объектов с разной оптической глубиной и обеспечивает надежную их фиксацию с использованием минимальной дозы излучения.
Из патентной информации известен рентгеновский аппарат жесткого излучения (U>100 кВ), где для получения достаточной экспозиционной дозы излучения используется пакетный режим подачи импульсов [5].
Очевидно, что в наносекундных источниках мягкого рентгеновского излучения (U<100 кВ) с длительностью t меньше 100 нс доза за импульс может оказаться недостаточной для надежной регистрации, например в задачах проекционной радиографии. Особенно остро эта проблема может встать при радиографии живых объектов, то есть в медицинских приборах.
Как показано выше, частота повторения импульсов тока взрывной электронной эмиссии с высоким ресурсом стабильности, воспроизводимости тока от импульса к импульсу на графитовых катодах ограничена только временем распада КП в диодном промежутке трубки. Из приведенных оценок следует, что при сохранении высокого ресурса числа включений катода она может составлять 109 Гц. Однако для предотвращения пробоя в диодном промежутке трубки при подаче повторного импульса напряжения необходимо еще время для полного разлета и рекомбинации как катодной, так и анодной плазмы, возникающей при взаимодействии электронного пучка с мишенью-анодом трубки.
Проведенные нами опыты в указанных выше режимах (U<100 кВ, t<100 нс, j<105 А/см2), при диодных зазорах D<1,5 см, показали, что необходимая пауза между импульсами, не приводящая к пробою в диоде, составляет величину 10-6 с. Это значит, что частота повторения импульсов в группе может составлять F=1 МГц. Следовательно, при необходимости получения достаточной экспозиционной дозы, например в N=100 импульсов, при длительности одиночного импульса напряжения t=10-7 с, полное время экспозиции может составить Т=10-4 с, что вполне допустимо, даже для медицинской радиографии.
Из вышесказанного следует, что введенные отличительные признаки являются причиной получения нового результата, а именно позволяют создать мощный импульсный источник мягкого рентгеновского излучения с высоким ресурсом стабильной работы.
Отсутствие систем накала, фокусировки пучка, нежесткие вакуумные условия, использование импульсного питания на базе твердотельных диодов с инверсным порядком восстановления позволили получить миниатюрную рентгеновскую трубку, а также существенно уменьшить стоимость рентгеновского оборудования по сравнению с иностранными аналогами (приборы фирм Hewlett Packard, General Electric, MiniXRay и др.).
Основными достоинствами предложения являются малый вес и энергопотребление, уникальность использования, простота в эксплуатации, многократно более длительный против существующих аналогов срок эксплуатации, низкая цена. При этом оборудование экологически безопасно.
Портативность рентгеновского оборудования и работа от автономных источников питания дают возможность использовать его в полевых и экстремальных условиях.
Так как такой источник рентгеновского излучения имеет широкий диапазон настройки по напряжению и частоте следования импульсов, он применим для решения самых разных задач, требующих как высокого разрешения по контрасту изображения (анализ тканей и других оптически неплотных объектов), так и достаточной просвечивающей способности (проекционная дефектоскопия).
Для целей медицинской радиографии мягкий рентген имеет то преимущество, что он обладает высокой контрастной чувствительностью, характеризующей минимальную разницу в толщине или плотности составных частей исследуемого объекта, различимую при просвечивании в конкретных условиях. Такие рентгеновские аппараты требуются в системе оказания скорой медицинской помощи и для диагностики в условиях чрезвычайной ситуации.
Из вышесказанного следует, что технический результат изобретения достигается новой совокупностью существенных признаков, как вновь введенных, так и известных, следовательно, заявляемое техническое решение соответствует критерию патентоспособности «изобретательский уровень».
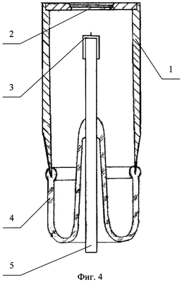
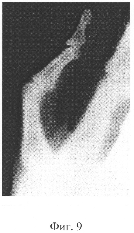
Предложение иллюстрируется чертежами, где на фиг.1 представлена фотография исходной поверхности отдельной нити графитового катода до взрыва; на фиг.2 представлена фотография поверхности отдельной нити графитового катода после 104 включений; на фиг.3 представлены осциллограммы импульсов высокого напряжения и рентгеновского излучения; на фиг.4 схематично показана рентгеновская трубка; на фиг.5 схематично показана конструкция графитового катода; на фиг.6 представлена фотография поверхности графитового катода, где видны отдельные нити; на фиг.7 представлена таблица с параметрами аппарата с заявляемой рентгеновской трубкой; на фиг.8 представлена рентгеновская интроскопия микрокалькулятора, напряжение U=37 кВ; на фиг.9 представлен рентгеновский снимок руки с дефектом сустава большого пальца, напряжение U=35 кВ; на фиг.10 представлен рентгеновский снимок биологического объекта – куриной ножки, напряжение U=40 кВ; на фиг.11 представлен рентгеновский снимок биологического объекта – внутренних органов рыбы, напряжение U=30 кВ; на фиг.12 представлен рентгеновский снимок биологического объекта – ножки цыпленка с переломами костей, напряжение U=32 кВ.
Рентгеновская трубка (фиг.4) содержит вакуумированный корпус 1, анод (мишень) 2 и взрывоэмиссионный графитовый катод 3. На корпусе 1 закреплен стеклянный высоковольтный изолятор 4, содержащий высоковольтный ввод 5. Катод 3 содержит катодный держатель с графитовым эмиттером (фиг.5).
Анод 2 является комбинированным, состоящим из мишени из вольфрама и окна, обеспечивающего герметичность и задерживающего прошедшие мишень электроны.
Катод 3 выполнен из графитовой ткани, сплетенной из двух взаимопересекающихся совокупностей нитей углеродного полиакрилонитрильного волокна. Нить содержит несколько сотен волокон диаметром 7-10 мкм каждое. Заготовка для катода 3 представляет собой монолитный трехмерный материал, образованный множеством слоев ткани, пропитанной пироуглеродом.
Катод 3 выточен из заготовки так, что нити образуют, как на поверхности, так и в объеме, угол 45° с его продольной осью. Эмитирующая поверхность катода 3 представляет собой двумерную матрицу острий из концов волокон, выступающих из монолитного образца на 70-100 мкм (фиг.6). Плотность упаковки волокон составляет 5·103 мм-2.
Изготовлена и испытана рентгеновская трубка с параметрами, представленными в таблице на фиг.7. Примеры рентгеновских снимков различных биологических объектов, представленных на фиг.8-12, позволяют видеть четкое изображение объектов разной оптической плотности.
В качестве источника высоковольтного питания был использован наносекундный генератор на полупроводниковых приборах реверсивного включения и наносекундного обострения импульса с инверсным порядком восстановления, разработанный в Физико-техническом институте им. А.Ф.Иоффе РАН.
Рентгеновская трубка работает следующим образом.
При подаче на электроды трубки, а именно на анод 2 и катод 3, импульса напряжения с крутым фронтом происходит взрывообразное тепловое разрушение автоэмиссионным током микроострий, которые всегда имеются на эмиттерах. После окончания импульса напряжения на поверхности катода 3, практически мгновенно, застывает микроструктура, повторное приложение к которой достаточного электрического поля приводит к повторному акту взрывной электронной эмиссии с параметрами, полностью воспроизводящими предшествующий эмиссионный импульс. Как пример на фиг.9 представлен рентгеновский снимок руки с дефектом сустава большого пальца, полученный при подаче 40 импульсов длительностью 20 нс, напряжением U=35 кВ.
Из вышесказанного следует, что предложение обеспечивает технический результат, не вызывает затруднений, предполагает использование освоенных материалов и стандартного оборудования, что свидетельствует о соответствии заявляемого технического решения критерию патентоспособности «промышленная применимость».
Источники информации
1. Патент ЕР №1037248, МПК H01J 35/02, 20.09.2000.
2. «Ненакаливаемые катоды» под ред. М.И.Елинсона, М., «Советское радио», 1974, с.260-269.
3. Патент RU №2145748, МПК H01J 3/02, H01J 35/06, 20.02.2000.
4. Патент RU №2248643, МПК H01J 35/02, 20.03.2005.
5. Патент RU №2153848, МПК А61В 6/00, H05G 1/20, 10.08.2000.
Формула изобретения
1. Рентгеновская трубка, содержащая вакуумированный корпус, анод и закрепленный на изоляторе высоковольтный ввод со взрывоэмиссионным катодом, отличающаяся тем, что взрывоэмиссионный катод выполнен из материала с наноструктурой поверхности, самовоспроизводящейся при воздействии на нее высоковольтных импульсов с амплитудой до 60 кВ длительностью 10-80 нс, поданных группой с частотой следования до 1 МГц.
2. Рентгеновская трубка по п.1, отличающаяся тем, что взрывоэмиссионный катод выполнен из материала на основе графита.
РИСУНКИ
RH4A – Выдача дубликата патента Российской Федерации на изобретение
Дата выдачи дубликата: 25.02.2009
Наименование лица, которому выдан дубликат:
Общество с ограниченной ответственностью «СПАРК» (RU)
Извещение опубликовано: 27.04.2009 БИ: 12/2009
MM4A – Досрочное прекращение действия патента СССР или патента Российской Федерации на изобретение из-за неуплаты в установленный срок пошлины за поддержание патента в силе
Дата прекращения действия патента: 19.11.2007
Извещение опубликовано: 27.07.2009 БИ: 21/2009
NF4A – Восстановление действия патента СССР или патента Российской Федерации на изобретение
Дата, с которой действие патента восстановлено: 10.12.2009
Извещение опубликовано: 10.12.2009 БИ: 34/2009
|