|
|
(21), (22) Заявка: 2006102638/06, 30.01.2006
(24) Дата начала отсчета срока действия патента:
30.01.2006
(46) Опубликовано: 20.10.2007
(56) Список документов, цитированных в отчете о поиске:
GB 2096046 А, 13.10.1982. RU 2009554 C1, 15.03.1994. FR 2830668 A, 11.04.2003. KR 20040010251 А, 31.01.2004. ES 2172068 T, 16.09.2002.
Адрес для переписки:
636000, Томская обл., ЗАТО Северск, ул. Курчатова, 1, ФГУП Сибирский химический комбинат, ПИО
|
(72) Автор(ы):
Артельный Александр Григорьевич (RU), Артельный Юрий Александрович (RU), Гаврилов Петр Михайлович (RU)
(73) Патентообладатель(и):
Федеральное государственное унитарное предприятие “Сибирский химический комбинат” (RU)
|
(54) КЮБЕЛЬ
(57) Реферат:
Изобретение относится к устройствам для приема, транспортировки и хранения отработавших твэлов в бассейнах, заполненных водой, и предназначено для использования на предприятиях, эксплуатирующих ядерные реакторы, при хранении контейнеров с отработавшими твэлами. Кюбель для хранения в бассейне отработавших твэлов выполнен с цилиндрической стенкой и днищем. Днище имеет, по крайней мере, одно сливное отверстие. Кюбель снабжен установленной коаксиально стенке полой цилиндрической вставкой с герметичным нижним торцом и отверстиями в верхней части. Отверстия в верхней части исключают попадание твэлов в полость вставки. Изобретение позволяет увеличить нормы хранения отработавших твэлов в кюбеле, более компактно разместить емкости в бассейне и увеличить глубину подкритичности кюбеля как отдельно взятой единицы. 1 ил.
Изобретение относится к устройствам для приема, транспортировки и хранения отработавших твэлов в бассейнах, заполненных водой.
На предприятиях, эксплуатирующих ядерные реакторы, при хранении контейнеров с отработавшими твэлами, в том числе при их хранении в бассейнах-хранилищах, заполненных водой, существует проблема обеспечения ядерной безопасности, связанная с необходимостью предотвращения возникновения критических условий в местах хранения. Функцию поглотителя нейтронов выполняет вода, занимающая пространство между равномерно распределенными по бассейну контейнерами.
Известно устройство для хранения твэлов в ячейках, ограниченных металлическими стенками, находящихся на дне бассейна и разделенных водяным слоем, при этом стенки ячеек снаружи покрыты слоем нейтронопоглащаюшего вещества. Слой, состоящий из тонкой одиночной кадмиевой пленки, покрывает без разрывов всю внешнюю поверхность стенок ячейки. Кадмиевая пленка удерживается на месте и защищается от повреждений тонкой металлической пластиной (патент US №4786029, МПК G21С 19/40, опубл. 26.04.1985).
Известное устройство сложно в изготовлении.
Известен контейнер для транспортировки и хранения твэлов, принятый за прототип, который содержит цилиндрический кюбель с крышкой и отверстием в днище и защитный экран (патент GB №2096046, МПК G21F 5/00, опубл. 13.10.1982).
Однако эти контейнеры могут удовлетворить требования безопасного хранения только при наличии воды в пространстве между размещенными в бассейне контейнерами, но не могут предотвратить возникновение критических условий, связанное с возможным превышением количества делящегося материала в контейнере или аварийного снижения уровня воды в бассейне-хранилище.
Задачей изобретения является конструктивное решение кюбеля, свободное от указанных недостатков.
Поставленная задача решается тем, что кюбель для хранения в бассейне отработавших твэлов с цилиндрической стенкой и днищем, имеющим, по крайней мере, одно сливное отверстие, снабжен установленной коаксиально стенке полой цилиндрической вставкой с герметичным нижним торцом и отверстиями в верхней части, исключающими попадание твэлов в полость вставки.
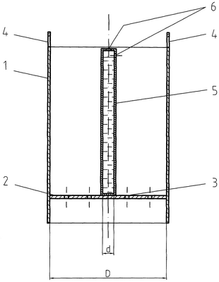
На чертеже изображен кюбель в продольном разрезе.
Кюбель имеет цилиндрическую стенку 1 и днище 2 с отверстиями 3 для слива воды. Внутренние поверхности стальных стенки и днища плакированы сплавом на основе алюминия. На внешней поверхности цилиндрической стенки 1 в верхней части приварены два симметрично расположенных грузоподъемных ушка 4. На днище 2 коаксиально стенке 1 кюбеля установлена закрытая от попадания твэлов цилиндрическая полая вставка 5 с герметичным нижним торцом и двумя сквозными отверстиями 6 в верхней части.
Внутренний диаметр d цилиндрической вставки 5 выбирают путем решения оптимизационных задач. Величина диаметра зависит от степени выгорания 235U в твэлах, наличия в кюбеле посторонних предметов, расстояния между кюбелями в бассейне, температуры воды и лежит в пределах от 0,12 D до 0,66 D, где D – внутренний диаметр кюбеля.
Все операции, связанные с приемкой, транспортировкой и хранением твэлов, проводят в толще воды бассейна. Кюбель опускают в бассейн (при этом полость вставки через верхние отверстия заполняется водой) и подводят к приемному устройству, которое предназначено для загрузки твэлов в кюбель. После окончания процесса загрузки кюбель под водой транспортируют на место, отведенное для его хранения в бассейне. При извлечении кюбеля из бассейна вода сливается через сливные отверстия 3, при этом вставка 5 остается заполненной водой.
Наличие вставки, заполненной водой, позволяет увеличить нормы хранения отработавших твэлов в кюбеле, более компактно разместить емкости в бассейне и увеличить глубину подкритичности кюбеля как отдельно взятой единицы, что актуально в случае заполнения кюбеля твэлами сверх разрешенного количества в процессе загрузки, что является существенным отличием по сравнению с прототипом.
В случае обезвоживания бассейна и, следовательно, кюбеля, вставка, оставаясь заполненной водой, играет роль поглощающего нейтроны водяного столба, тем самым уменьшая размножающую способность загруженного твэлами кюбеля и обеспечивая необходимую величину подкритичности.
Формула изобретения
Кюбель для хранения в бассейне отработавших твэлов с цилиндрической стенкой и днищем, имеющим, по крайней мере, одно сливное отверстие, отличающийся тем, что он снабжен установленной коаксиально стенке полой цилиндрической вставкой с герметичным нижним торцом и отверстиями в верхней части, исключающими попадание твэлов в полость вставки.
РИСУНКИ
MM4A – Досрочное прекращение действия патента СССР или патента Российской Федерации на изобретение из-за неуплаты в установленный срок пошлины за поддержание патента в силе
Дата прекращения действия патента: 31.01.2008
Извещение опубликовано: 20.09.2009 БИ: 26/2009
|
|