|
|
(21), (22) Заявка: 2006101854/28, 23.01.2006
(24) Дата начала отсчета срока действия патента:
23.01.2006
(46) Опубликовано: 20.10.2007
(56) Список документов, цитированных в отчете о поиске:
RU 2004119125 А, 10.12.2005. JP 2005-258072 A, 22.09.2005. US 2001/008469 A1, 19.07.2001.
Адрес для переписки:
125424, Москва, Волоколамское ш., 95, ФГУП “НПО Астрофизика”
|
(72) Автор(ы):
Барков Валерий Павлович (RU), Мурашев Владимир Михайлович (RU), Мызников Александр Николаевич (RU), Романенко Ольга Николаевна (RU), Свиридов Константин Николаевич (RU)
(73) Патентообладатель(и):
Федеральное государственное унитарное предприятие “НПО Астрофизика” (RU)
|
(54) УСТРОЙСТВО ДЛЯ СКАНИРОВАНИЯ СВЕТОВЫМ ПУЧКОМ
(57) Реферат:
Изобретение относится к устройствам изменения направления светового пучка в оптико-механических трактах лазерных систем. Устройство для сканирования световым пучком содержит размещенные в корпусе две прозрачные пластины, связанные по периметру упругоэластичным элементом с образованием полости, заполненной оптически прозрачной средой. Одна из пластин закреплена в оправе со сферической боковой поверхностью, размещенной в полости корпуса, смонтирована с возможностью наклона и снабжена механизмами ее угловых перемещений. Сферическая оправа подвижной пластины выполнена с кольцевым буртиком, в корпусе по боковым сторонам пластин предусмотрены две пары диаметрально противоположно расположенных стоек с концами, отогнутыми в сторону буртика сферической оправы, а отогнутые концы двух соседних стоек установлены с возможностью перемещения вдоль последних. Механизмы угловых перемещений размещены между кольцевым буртиком сферической оправы подвижной пластины и подвижными концами двух соседних стоек, а между неподвижными концами стоек и кольцевым буртиком сферической оправы подвижной пластины установлены упругие элементы. Полость корпуса выполнена с коническим участком для взаимодействия со сферической поверхностью оправы подвижной пластины. Технический результат – повышение точности отклонения светового пучка при сканировании им пространства. 2 з.п. ф-лы, 3 ил.
Предлагаемое изобретение относится к области технической физики и может быть использовано для изменения направления светового пучка в оптико-механических трактах лазерных систем.
Известны устройства для отклонения светового луча, выполненные в виде оптически прозрачной пластины клиновидной формы (Справочник конструктора оптико-механических приборов под ред. М.Я.Кругера, «Машиностроение», Л., 1968 г., стр.254, 321, рис.25, 24а).
Недостатком известных конструкций являются пониженные эксплуатационные возможности, обусловленные отсутствием регулировки угла клиновидности оптически прозрачных пластин.
Известно устройство для изменения направления светового пучка (окно для лазерного излучения), содержащее две оптически прозрачные пластины, размещенные в корпусе и герметично связанные по периметру упругоэластичным элементом, причем одна из пластин подвижно смонтирована с возможностью наклона, а герметичная полость между пластинами заполнена иммерсионной жидкостью (США, патент №4614405, МПК G02B 5/06, 3/12).
Недостатком данной конструкции является низкая точность изменения направления распространения светового пучка (луча).
Наиболее близким техническим решением (прототипом) к предлагаемому изобретению является устройство для сканирования (изменения направления) светового пучка, содержащее размещенные в корпусе две оптически прозрачные пластины, связанные по периметру упругоэластичным элементом с образованием полости, заполненной оптически прозрачной средой, при этом одна из пластин закреплена в оправе со сферической боковой поверхностью, размещенной в полости корпуса, смонтирована с возможностью наклона и снабжена механизмами ее угловых перемещений. (См. патент РФ по заявке №2004119125, МПК G02B 26/08).
Недостатком известной конструкции является невозможность обеспечения высокой точности отклонения светового луча из-за отсутствия арретирования, наличия конструктивного зазора между сферической поверхностью оправы и корпусом.
Технический результат от использования предлагаемого решения заключается в повышении точности изменения направления светового пучка.
В соответствии с предлагаемым изобретением вышеуказанный технический результат достигается тем, что в устройстве для сканирования световым пучком, содержащем размещенные в корпусе две прозрачные пластины, связанные по периметру упругоэластичным элементом с образованием полости, заполненной оптически прозрачной средой, при этом одна из пластин закреплена в оправе со сферической боковой поверхностью, размещенной в полости корпуса, смонтирована с возможностью наклона и снабжена механизмами ее угловых перемещений, дополнительно содержатся упругие элементы, сферическая оправа подвижной пластины выполнена с кольцевым буртиком, в корпусе по боковым сторонам пластин предусмотрены две пары диаметрально противоположно расположенных стоек с концами, отогнутыми в сторону буртика сферической оправы, а отогнутые концы двух соседних стоек установлены с возможностью перемещения вдоль последних, при этом механизмы угловых перемещений размещены между кольцевым буртиком сферической оправы подвижной пластины и подвижными концами двух соседних стоек, упругие элементы установлены между неподвижными концами стоек и кольцевым буртиком сферической оправы подвижной пластины, а полость корпуса выполнена с коническим участком для взаимодействия со сферической поверхностью оправы подвижной пластины.
Кроме того, механизмы перемещений отогнутых концов двух соседних стоек выполнены в виде продольных направляющих, предусмотренных в стойках, и ползунов, жестко связанных с упомянутыми концами стоек и размещенных в продольных направляющих стоек.
Кроме того, упругие элементы выполнены в виде винтовых пружин сжатия.
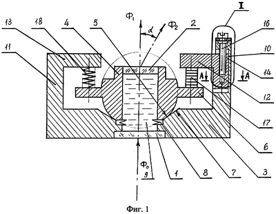
На фиг.1 представлено предлагаемое устройство для сканирования светового пучка; на фиг.2 – то же, сечение А-А на фиг.1; на фиг.3 – то же место I в увеличенном масштабе.
Устройство содержит установленные друг против друга оптически прозрачные плоские пластины 1 и 2, при этом пластина 1 установлена неподвижно в корпусе 3, а пластина 2 смонтирована с возможностью наклона и размещена в оправе 4 со сферической боковой поверхностью 5, имеющей кольцевой буртик 6. В корпусе 3 предусмотрены отверстие для прохода светового пучка и коническая поверхность 7, контактирующая со сферой 5 оправы 4. Оправа 4 пластины 2 своей сферической поверхностью 5 взаимодействует с конической поверхностью 7 корпуса 3 и герметично связана с пластиной 1 через упругий элемент 8 (например, выполненный в виде сильфона). Полость между пластинами 1 и 2 заполнена оптически прозрачной средой 9 (например, иммерсионной жидкостью, газообразной смесью или оптически прозрачным эластичным синтетическим материалом). На корпусе 3 предусмотрены две пары стоек 10 и 11 (вторая пара стоек 10 и 11 находится в плоскости, ортогональной плоскости чертежа, и условно не показана) с отогнутыми концами 12 и 13 в сторону кольцевого буртика 6. Отогнутые концы 12 двух соседних стоек 10 установлены с возможностью перемещения вдоль последних с помощью ползунов 14, жестко связанных с концами 12 и размещенных в продольных направляющих 15 (например, типа «ласточкин хвост»), предусмотренных в стойках 10 (см. фиг.2). Перемещение ползунов 14 осуществляется с помощью винтов 16. Между буртиком 6 и подвижными концами 12 стоек 10 установлены механизмы углового перемещения пластины 2, выполненные, например, в виде пакета пьезоэлементов 17, при этом между неподвижными концами 13 стоек 11 и буртиком 6 предусмотрены цилиндрические пружины сжатия 18.
Функционирование устройства осуществляется следующим образом. Перед началом работы осуществляют арретирование подвижных элементов конструкции путем разворота винта 16 в ту или иную сторону (что приводит к соответствующему перемещению ползунов 14 вместе с концами 12 стоек 10 и развороту пластины 2). При подаче светового пучка Фо нормально к поверхности неподвижной пластины 1 (при условии параллельности пластин 1 и 2) пучок без преломления выйдет из пластины 2 в направлении Ф1. При осуществлении сканирования пространства оптическим пучком на механизм угловых перемещений 17 (пакет пьезоэлементов) подают управляющий сигнал соответствующего знака и величины для разворота пластины 2. При наклоне пластины 2 сферическая поверхность 5 разворачивается в конической поверхности 7 корпуса 3, сжимая или разжимая при этом пружину 18. После разворота пластины 2 световой пучок, преломляясь, отклонится на заданный угол (направление Ф2).
При подаче управляющего сигнала на оба механизма угловых перемещений 17 сканирование пространства может осуществляться по двум взаимно ортогональным координатам.
Из вышеприведенного следует, что предложенная конструкция имеет преимущество по сравнению с известной, а именно повышает точность отклонения оптического пучка за счет отсутствия зазора между сферической поверхностью оправы подвижной оптической пластины и конической поверхностью корпуса неподвижной оптической пластины, технической возможности обеспечения арретирования, а также повышения технологичности, т.е. возможности изготовления элементов конструкции по более низкому классу точности.
Следовательно, предложенное устройство для сканирования оптического пучка при использовании дает технический результат, заключающийся в повышении точности отклонения светового пучка.
По материалам заявки на предприятии в настоящее время изготовлен макетный образец, испытания которого подтвердили достижение вышеуказанного технического результата.
Формула изобретения
1. Устройство для сканирования световым пучком, содержащее размещенные в корпусе две прозрачные пластины, связанные по периметру упругоэластичным элементом с образованием полости, заполненной оптически прозрачной средой, при этом одна из пластин закреплена в оправе со сферической боковой поверхностью, размещенной в полости корпуса, смонтирована с возможностью наклона и снабжена механизмами ее угловых перемещений, отличающееся тем, что оно дополнительно содержит упругие элементы, сферическая оправа подвижной пластины выполнена с кольцевым буртиком, в корпусе по боковым сторонам пластин предусмотрены две пары диаметрально противоположно расположенных стоек с концами, отогнутыми в сторону буртика сферической оправы, а отогнутые концы двух соседних стоек установлены с возможностью перемещения вдоль последних, при этом механизмы угловых перемещений размещены между кольцевым буртиком сферической оправы подвижной пластины и подвижными концами двух соседних стоек, упругие элементы установлены между неподвижными концами стоек и кольцевым буртиком сферической оправы подвижной пластины, а полость корпуса выполнена с коническим участком для взаимодействия со сферической поверхностью оправы подвижной пластины.
2. Устройство по п.1, отличающееся тем, что механизмы перемещений отогнутых концов двух соседних стоек выполнены в виде продольных направляющих, предусмотренных в стойках, и ползунов, жестко связанных с упомянутыми концами стоек и размещенных в продольных направляющих стоек.
3. Устройство по п.1, отличающееся тем, что упругие элементы выполнены в виде винтовых пружин сжатия.
РИСУНКИ
|
|