|
|
(21), (22) Заявка: 2005137904/28, 05.12.2005
(24) Дата начала отсчета срока действия патента:
05.12.2005
(43) Дата публикации заявки: 10.06.2007
(46) Опубликовано: 20.10.2007
(56) Список документов, цитированных в отчете о поиске:
SU 205941 А, 02.12.1967. SU 297008 А, 02.03.1971. SU 783721 А, 30.11.1980. US 4136312 А, 23.01.1979. DE 3405225 A1, 30.08.1984.
Адрес для переписки:
346428, Ростовская обл., г. Новочеркасск, ул. Залесская, 2, кв.8, Е.П. Бессуднову
|
(72) Автор(ы):
Бессуднов Евгений Петрович (RU), Бессуднова Евгения Евгеньевна (RU)
(73) Патентообладатель(и):
Бессуднов Евгений Петрович (RU)
|
(54) СПОСОБ ТОЧНОГО ОБНАРУЖЕНИЯ МЕСТА ВИТКОВОГО ЗАМЫКАНИЯ В ОБМОТКАХ ЯКОРЕЙ КОЛЛЕКТОРНЫХ ЭЛЕКТРИЧЕСКИХ МАШИН С УРАВНИТЕЛЬНЫМИ СОЕДИНЕНИЯМИ
(57) Реферат:
Изобретение относится к области испытаний обмоток якорей коллекторных электрических машин постоянного тока. Сущность: испытательное напряжение подают поочередно на каждые две коллекторные пластины двух смежных витков обмотки якоря. Измеряют над рабочей поверхностью этих коллекторных пластин максимальное значение разностного импульсного магнитного поля прямого и обратного тока от генератора при несимметричном расположении индукционного датчика относительно этих токов. По резкому уменьшению практически до нуля максимального значения импульсного магнитного поля, свойственного бездефектной части обмотки якоря, и по расположению токоподводящих контактов выявляют единственный короткозамкнутый контур с местом виткового замыкания. Увеличивают напряжение генератора до достижения прежних максимальных значений разностного импульсного магнитного поля двух токов короткого замыкания. Перемещают индукционный датчик по периметру выявленного короткозамкнутого контура с местом виткового замыкания начиная с места подачи испытательного импульсного напряжения на коллектор. По исчезновению показаний индикатора находят конкретное место – точку виткового замыкания. Технический результат: точное и однозначное обнаружение конкретного места виткового замыкания и расширение области применения для любых типов обмоток при любых практически возможных переходных сопротивлениях в месте дефекта (при металлическом витковом замыкании и при электрическом пробое витковой изоляции через дугу). 4 ил.
Изобретение относится к области испытаний обмоток якорей коллекторных электрических машин постоянного тока (например, тяговых двигателей электровозов, электропоездов, тепловозов и главных генераторов) в процессе их производства и ремонта: на окончательных технологических стадиях электромашинного производства (ремонта) – при испытаниях витковой изоляции собранных или окончательно готовых якорей.
Известен способ по авторскому свидетельству №205941, МПК H02D, G01R, обнаружения витковых замыканий и замыканий на корпус обмоток якорей коллекторных электрических машин постоянного тока с уравнительными соединениями путем подачи импульсного напряжения на коллектор и измерения магнитных потоков секций, связанных между собой уравнительными соединениями, с помощью датчика. Сравнивая между собой эти потоки, выявляют дефектную секцию по отклонению величины магнитного потока.
Однако известный способ не позволяет точно и однозначно обнаружить (без сравнения) место (точку) виткового замыкания по периметру дефектной секции ни в простых петлевых обмотках якорей с уравнительными соединениями, ни в простых волновых обмотках, ни тем более в сложнопетлевых двукратнозамкнутых с уравнителями первого, второго и третьего рода, ни в сложноволновых многоходовых обмотках и особенно в смешанных (лягушечьих) обмотках, состоящих, например, из сложнопетлевой двукратнозамкнутой двухходовой и восьмиходовой однократнозамкнутой сложноволновой обмоток якорей, являющихся, кроме того, четырехслойными обмотками в отличие от двухслойных простых петлевых или простых волновых обмоток якорей, и в которых секции волновой обмотки являются уравнителями первого рода по отношению к петлевой обмотке, а секции петлевой обмотки – уравнителями второго рода по отношению к волновой обмотке.
Основная причина, препятствующая получению технического результата изобретения, обусловлена тем, что известный способ основан на сравнении импульсных магнитных полей (потоков) секций обмотки якоря, непосредственно соединенных между собой уравнителями, по проявлению короткозамкнутого витка, образующегося при витковом замыкании в простой петлевой обмотке якоря (или по размагничивающему действию короткозамкнутого витка – по уменьшению импульсного магнитного поля (потока) – способ по авторскому свидетельству №205941, МПК H02D, G01R, или по увеличению импульсного магнитного поля (потока) в непосредственной близости к петушкам коллектора над выводами (концами) витков – способ по авторскому свидетельству №297008, МПК G01R 31/06, и при подаче импульсного напряжения на коллектор относительно корпуса якоря: при ударном импульсном возбуждении обмотки якоря как сложной колебательной системы, обусловленном разрядом генератора импульсных напряжений ГИН, – источника испытательного импульсного напряжения. А любой метод (способ) сравнения – несовершенен в отличие от абсолютного метода (способа), обеспечивающего локализацию места (точки) дефекта витковой изоляции. Применение любого метода (способа) сравнения в указанной области техники ограничено большим переходным сопротивлением в месте дефекта витковой изоляции (в практически реальном случае – при пробое витковой изоляции через электрическую дугу – искру при разряде ГИН): сравнение импульсных магнитных полей (потоков) не позволяет точно обнаружить даже дефектную секцию среди подозреваемых, непосредственно соединенных между собой уравнителями, и тем более не позволяет точно и однозначно обнаружить место (точку) виткового замыкания по периметру дефектной секции в простых петлевых обмотках якорей с уравнительными соединениями. А в смешанных (лягушечьих) обмотках якорей, состоящих из сложнопетлевых и сложноволновых многоходовых обмоток, в которых вообще не возникает короткозамкнутый виток при дефекте витковой изоляции и, естественно, нет размагничивающего действия короткозамкнутого витка, – невозможно обнаружить этот вид дефекта витковой изоляции способами по авторским свидетельствам №205941 и №297008 (см. кн.: Бессуднов Е.П. Обнаружение мест дефектов изоляции обмоток электрических машин постоянного тока. М.: Энергия, 1977, 120 с.).
Задачей изобретения является: сокращение потерь от неисправимого брака, повышение производительности труда, повышение качества и надежности работы электрических машин постоянного тока, сокращение общезаводских затрат на изготовление якоря, особенно обмоточной и коллекторной меди, дорогостоящих изоляционных и пропиточных материалов в автоклавах, экономия электроэнергии, затрачиваемой на весь технологический процесс электромашинного производства.
Технический результат, достигаемый изобретением, – точное и однозначное обнаружение конкретного места (Точки) виткового замыкания по периметру дефектной секции, без сравнения, и расширение области применения.
Испытательное напряжение подают поочередно на каждые две коллекторные пластины двух смежных витков обмотки якоря, измеряют над рабочей поверхностью этих коллекторных пластин максимальное значение разностного импульсного магнитного поля двух параллельных встречно направленных токов – прямого и обратного тока от генератора импульсных напряжений при несимметричном расположении индукционного датчика относительно этих токов, ориентированного воздушным зазором – щелью его магнитопровода вдоль коллекторных пластин, по резкому уменьшению практически до нуля максимального значения импульсного магнитного поля, свойственного бездефектной части обмотки якоря, и по расположению токоподводящих контактов на соответствующих коллекторных пластинах выявляют единственный короткозамкнутый контур с местом виткового замыкания и током короткого замыкания, затем увеличивают испытательное напряжение генератора импульсных напряжений и соответственно ток короткого замыкания в короткозамкнутом контуре с местом виткового замыкания, достигают прежних максимальных значений разностного импульсного магнитного поля двух параллельных встречно направленных токов короткого замыкания, далее перемещают индукционный датчик по периметру выявленного короткозамкнутого контура с местом виткового замыкания, начиная с места подачи испытательного импульсного напряжения на коллектор, ориентируя все время индукционный датчик воздушным зазором – щелью его магнитопровода вдоль коллекторных пластин и витков дефектной секции с короткозамкнутым контуром по максимальным показаниям индикатора измерителя импульсных магнитных полей, и находят конкретное место – точку виткового замыкания по исчезновению показаний индикатора.
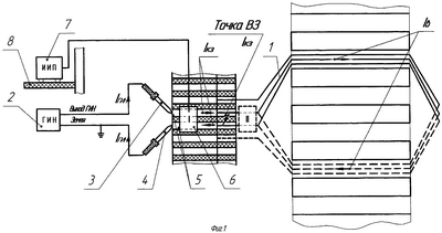
На фиг.1 изображена принципиальная схема, иллюстрирующая принцип точного обнаружения конкретного места (Точки) виткового замыкания по периметру дефектной секции 1 по предлагаемому способу применительно к различным типам обмоток якорей электрических машин постоянного тока на примере простой петлевой обмотки якоря с уравнительными соединениями (последние не показаны): токоподводящие контакты, соединенные с выходом генератора импульсных напряжений ГИН 2, – Высоковольтный 3 и Земля 4 на фиг.1 показаны условно (для упрощения чертежа), а практически они и индукционный датчик ИД 6 зафиксированы на одной общей измерительной изолирующей штанге; зоны, обозначенные прямоугольниками над рабочей поверхностью коллектора и над выводами витков у петушков коллектора, – это области перемещения индукционного датчика ИД 6 при настройке для соответствующего типа испытываемого якоря; на фиг.2 приведена принципиальная электрическая схема измерителя импульсных магнитных полей (индикатора с автономным питанием) ИИП 7 с индукционным датчиком ИД 6: Т – транзистор типа p-n-p, например, МП41А, работающий в режиме насыщенного ключа, к переходу эмиттер-база которого подключен индукционный датчик ИД 6, имеющий на своем магнитопроводе две взаимно противоположно сфазированные астатические обмотки и воздушный зазор – щель в направлении острого угла магнитопровода, а в коллекторной цепи – включен стрелочный измерительный прибор магнитоэлектрической системы, например, микроамперметр на 100 мкА, параллельно которому подключены электролитический конденсатор С для устранения колебаний стрелки микроамперметра при большой скважности импульсов измеряемого импульсного магнитного поля и при электрическом дуговом (искровом) пробое витковой изоляции испытываемого якоря; резисторы R1 и R2 – шунты к индукционному датчику ИД 6 и к микроамперметру, соответственно, – для регулирования чувствительности (Грубо и Точно) измерителя импульсных магнитных полей ИИП 7: переносной прибор, устанавливаемый на изолирующей подставке 8; фиг.3 иллюстрирует установку на переносном штативе с кронштейном и изолирующей измерительной штангой с индукционным датчиком ИД, ориентированным воздушным зазором – щелью своего магнитопровода над выводами витков секции обмотки испытываемого якоря тягового двигателя типа НБ-418к магистрального электровоза серии ВЛ 80к в непосредственной близости к петушкам коллектора, и токоподводящего электрода 3 – Высоковольтный – на изолирующей штанге: датчик ИД и электрод 3 разнесены друг относительно друга и снят второй токоподводящий электрод 4 – Земля, с целью устранения нагромождения всех указанных элементов в одном месте фотографии, и снят индукционный датчик ИД 6, зафиксированный на одной общей измерительной изолирующей штанге с токоподводящими электродами 3 и 4, по той же причине (см. фиг.1); фиг.4 иллюстрирует общий вид индукционного датчика ИД 6 с отдельной изолирующей измерительной штангой (см. фиг.3).
Чтобы найти точно и однозначно, без сравнения, конкретное место (Точку) виткового замыкания в секции 1 с дефектом витковой изоляции (металлическое витковое замыкание – электрический пробой витковой изоляции при стабильно горящей дуге), подают от генератора импульсных напряжений ГИН 2 с частотой следования импульсов, например, 50 имп/с с его выхода: Выход ГИН – Земля, испытательное напряжение с помощью двух токоподводящих контактов: Высоковольтного 3 и Земля 4, скользящих по поверхности коллектора проворачиваемого якоря на своем валу, поочередно на две коллекторные пластины, непосредственно соединенные с двумя смежными витками обмотки якоря, например, коллекторные пластины 5. Измеряют над рабочей поверхностью коллекторных пластин максимальное значение разностного импульсного магнитного поля двух параллельных встречно направленных токов, – прямого и обратного тока Iгин от ГИН 2, – при несимметричном расположении индукционного датчика ИД 6 относительно этих токов с помощью измерителя импульсных магнитных полей ИИП 7, установленного на изолирующей подставке 8 (Способ измерения импульсных магнитных полей по авторскому свидетельству №444139, М. кл. G01R 33/00 и фиг.2). Индукционный датчик ИД 6 зафиксирован на одной общей измерительной изолирующей штанге вместе с двумя токоподводящими контактами: Высоковольтным 3 и Земля 4, причем расстояние между воздушным зазором-щелью его магнитопровода и Высоковольтным токоподводящим контактом 3, примерно, равно толщине изоляционной межламельной, например, миканитовой прокладки коллектора, а воздушный изоляционный зазор между поверхностью коллектора и ближайшим торцом магнитопровода ИД 6 – должен составлять, примерно, от 3 мм до 5 мм, и ориентирован воздушным зазором – щелью его магнитопровода вдоль коллекторных пластин по максимальным показаниям измерителя импульсных магнитных полей ИИП 7. По резкому уменьшению максимального значения импульсного магнитного поля, свойственного бездефектной части обмотки якоря, и по расположению токоподводящих контактов на соответствующих коллекторных пластинах выявляют точно и однозначно единственный короткозамкнутый контур с местом виткового замыкания (Точка ВЗ) и током короткого замыкания IКЗ: по резкому уменьшению (практически до нуля) показаний измерителя импульсных магнитных полей ИИП 7 и по расположению токоподводящих контактов 3 и 4 на конкретных коллекторных пластинах 5.
Место виткового замыкания (например, Точка ВЗ в петушках коллектора является наиболее типичным случаем дефекта как при классической технологии пайки, так и при более современной – сварки петушков коллектора с вставленными в них выводными концами секций обмотки якоря), входящее в короткозамкнутый контур, шунтирует (закорачивает) дефектный виток, поэтому ток в этом витке IВ от ГИН 2 – очень мал, а по короткозамкнутому контуру до места виткового замыкания и обратно протекает ток короткого замыкания IКЗ – основной ток ГИН 2 – IГИН, максимальное разностное импульсное магнитное поле которого и позволяет выявить точно и однозначно местоположение короткозамкнутого контура с местом виткового замыкания (фиг.1, Точка ВЗ).
Затем увеличивают испытательное напряжение ГИН 2 и соответственно – ток короткого замыкания IКЗ в короткозамкнутом контуре с местом виткового замыкания (Точка ВЗ), достигают прежних максимальных значений разностного импульсного магнитного поля двух параллельных встречно направленных токов только уже токов короткого замыкания IКЗ в короткозамкнутом контуре, следя за максимальными показаниями ИИП 7 и, при необходимости, регулируя чувствительность ИИП 7 с помощью резисторов R1 и R2 соответственно Грубо и Точно (фиг.2).
Далее перемещают индукционный датчик (другой, но идентичный первому ИД 6, см. фиг.3 и фиг.4) с помощью отдельной измерительной изолирующей штанги по периметру выявленного короткозамкнутого контура с местом виткового замыкания (Точка ВЗ), начиная с места подачи испытательного импульсного напряжения на коллектор якоря, с учетом всех изгибов секции 1 (фиг.1), ориентируя все время индукционный датчик воздушным зазором – щелью его магнитопровода вдоль коллекторных пластин и витков дефектной секции 1 с короткозамкнутым контуром по максимальным показаниям измерителя импульсных магнитных полей (индикатора) – (другого, но идентичного первому ИИП 7, см. фиг.2), и – находят точно и однозначно, без сравнения, конкретное место (Точку ВЗ) виткового замыкания по исчезновению показаний индикатора.
При витковом замыкании в петушках коллектора якоря (Точка ВЗ) и перемещении индукционного датчика в зону над выводами витков у петушков коллектора (фиг.1, зона, обозначенная прямоугольником, выполненным пунктиром) для абсолютного устранения влияния поля тока IВ в короткозамкнутом витке необходимо изменить фазировку датчика ИД 6 на противоположную по сравнению с исходной зоной над рабочей поверхностью коллектора, развернув датчик своим воздушным зазором – щелью своего магнитопровода на 180 градусов, при этом транзистор Т в схеме ИИП 7 (фиг.2) будет заперт и показания стрелочного измерительного прибора индикатора ИИП (микроамперметр магнитоэлектрической системы на 100 мкА) будут равны нулю.
Одновременно конкретный пример точного обнаружения места виткового замыкания (Точка ВЗ в петушках коллектора, фиг.1) по периметру найденного короткозамкнутого контура дефектной секции 1 иллюстрирует возможность точно установить конкретное место дефекта: в коллекторе или в обмотке якоря, – а отсюда вытекает объем ремонтных работ и, самое главное, возможность осуществления их на окончательных технологических стадиях изготовления якорей.
Другой часто встречающийся случай дефекта витковой изоляции в обмотках якорей – это замыкание между выводами витков секций, возникающий при осадке обмотки якоря и наложении бандажей на ее лобовые части. Этот вид дефекта обнаруживают так же, как это описано выше. Индукционный датчик ИД 6 (фиг.4) перемещают по периметру выявленного короткозамкнутого контура дефектной секции 1, постоянно ориентируя его воздушным зазором вдоль коллекторных пластин и витков секции с учетом ее изгибов по максимальным показаниям измерителя импульсных магнитных полей ИИП, регулируя его чувствительность Грубо и Точно с помощью резисторов R1 и R2 (фиг.2), и по резкому уменьшению уровня импульсного магнитного поля (показаний измерителя импульсных магнитных полей ИИП) обнаруживают точно и однозначно место (Точку) виткового замыкания между верхним и нижним слоем дефектной секции при том же расположении токоподводящих контактов 3 и 4 на тех же коллекторных пластинах 5 короткозамкнутого контура с местом виткового замыкания между не смежными витками: например, между концом первого витка и началом третьего, то есть между верхним и нижним слоем двухслойной обмотки якоря.
При витковом замыкании в пазовой части обмотки якоря между смежными витками, например, верхней стороны дефектной секции 1 достаточно измерить импульсное магнитное поле над лобовой частью этой секции 1 сразу же после выхода из паза по направлению тока IВ в короткозамкнутом витке дефектной секции 1 и в случае исчезновения показаний индикатора ИИП в этом месте периметра дефектной секции 1 устанавливают, что витковое замыкание находится в пазовой части верхней стороны секции 1 (фиг.1). И, следовательно, можно сделать вывод о возможности ремонта обмотки якоря на окончательной технологической стадии изготовления якорей. Не менее важный вывод можно сделать и о необходимости и целесообразности применения предложенного изобретения и на более ранних технологических стадиях при неоднократных пооперационных испытаниях витковой изоляции до пропитки собранных якорей в автоклавах, когда допускается замена дефектной секции с витковым замыканием путем подъема из пазов части верхнего слоя обмотки якоря равной шагу по пазам.
Следует указать, что при использовании предложенного изобретения совершенно не обязательно проворачивать испытываемый якорь на один полный оборот, на 360 градусов, затрачивая зря много времени на обнаружение короткозамкнутого контура с местом виткового замыкания. Достаточно обнаружить точно и однозначно секции, непосредственно соединенные между собой уравнителями, при испытаниях витковой изоляции и обнаружении дефекта витковой изоляции типа виткового замыкания способами по авторским свидетельствам №205941 и №297008 по размагничивающему действию короткозамкнутого витка и, далее, используя предлагаемый способ, описанный выше на конкретном примере якоря шестиполюсного тягового двигателя типа НБ – 418к электровоза серии ВЛ80к, имеющего три таких секции, соединенные между собой уравнителями, – по резкому уменьшению (практически до нуля) максимального значения импульсного магнитного поля свойственного бездефектным секциям и виткам и по расположению токоподводящих контактов на соответствующих коллекторных пластинах находят конкретное место – точку виткового замыкания по исчезновению показаний индикатора.
Описанный выше принцип точного и однозначного, без сравнения, обнаружения конкретного места (Точки) виткового замыкания по периметру короткозамкнутого контура с местом виткового замыкания на конкретном примере двухслойной простой петлевой обмотки якоря с уравнительными соединениями коллекторной электрической машины постоянного тока шестиполюсного тягового двигателя типа НБ-418к магистрального электровоза серии ВЛ80к вполне применим для двухслойных простых волновых обмоток якорей четырехполюсных коллекторных электрических машин постоянного тока, а также для четырехслойных смешанных (лягушечьих) обмоток якорей, состоящих из простой петлевой и сложноволновой обмоток, например, якоря главного генератора типа МПТ- 49/25 – 3 тепловоза серии ТУ2, и состоящих из двухходовой сложнопетлевой и восьмиходовой однократнозамкнутой сложноволновой обмоток, например, якорей главных генераторов типа МПТ 99/47А тепловоза серии ТЭЗ, МПТ 120/49 тепловоза ТЭ10, МПТ 120/55А тепловоза ТЭ60.
В указанных выше смешанных (лягушечьих) обмотках якорей необходимо подавать импульсное испытательное напряжение на коллекторные пластины смежных витков секции, то есть через одну пластину, и тем самым обеспечить протекание тока IКЗ в образовавшемся искусственным образом короткозамкнутом контуре, и далее, измеряя его импульсное магнитное поле, – точно обнаруживают место виткового замыкания по периметру найденной дефектной секции.
Таким образом, точное и однозначное, без сравнения, обнаружение конкретного места (Точки) виткового замыкания в любых типах обмоток якорей по описанному изобретению устраняет главный недостаток известных способов, обеспечивающих, в лучшем случае, точное обнаружение дефектной секции, но не место виткового замыкания по ее периметру.
Формула изобретения
Способ точного обнаружения места виткового замыкания в обмотках якорей коллекторных электрических машин с уравнительными соединениями путем подачи испытательного импульсного напряжения от генератора импульсных напряжений на коллектор и измерения магнитных потоков с помощью измерителя импульсных магнитных полей с индукционным датчиком, отличающийся тем, что испытательное напряжение подают поочередно на каждые две коллекторные пластины двух смежных витков обмотки якоря, измеряют над рабочей поверхностью этих коллекторных пластин максимальное значение разностного импульсного магнитного поля двух параллельных встречно направленных токов – прямого и обратного тока от генератора импульсных напряжений при несимметричном расположении индукционного датчика относительно этих токов, ориентированного воздушным зазором-щелью его магнитопровода вдоль коллекторных пластин, по резкому уменьшению практически до нуля максимального значения импульсного магнитного поля, свойственного бездефектной части обмотки якоря, и по расположению токоподводящих контактов на соответствующих коллекторных пластинах выявляют единственный короткозамкнутый контур с местом виткового замыкания и током короткого замыкания, затем увеличивают испытательное напряжение генератора импульсных напряжений и, соответственно, ток короткого замыкания в короткозамкнутом контуре с местом виткового замыкания, достигают прежних максимальных значений разностного импульсного магнитного поля двух параллельных встречно направленных токов короткого замыкания, далее перемещают индукционный датчик по периметру выявленного короткозамкнутого контура с местом виткового замыкания, начиная с места подачи испытательного импульсного напряжения на коллектор, ориентируя все время индукционный датчик воздушным зазором-щелью его магнитопровода вдоль коллекторных пластин и витков дефектной секции с короткозамкнутым контуром по максимальным показаниям индикатора измерителя импульсных магнитных полей и находят конкретное место – точку виткового замыкания по исчезновению показаний индикатора.
РИСУНКИ
|
|