|
(21), (22) Заявка: 2005136274/28, 22.11.2005
(24) Дата начала отсчета срока действия патента:
22.11.2005
(43) Дата публикации заявки: 27.05.2007
(46) Опубликовано: 20.10.2007
(56) Список документов, цитированных в отчете о поиске:
US 4293225 А, 06.10.1981. RU 93026112 А, 20.07.1995. RU 2182329 С2, 10.05.2002. RU 2001113723 А, 20.03.2004.
Адрес для переписки:
191014, Санкт-Петербург, ул. Госпитальная 3, ООО “Интеринтеллект-сервис”, В.В. Туренко
|
(72) Автор(ы):
Москвин Алексей Леонидович (RU), Мозжухин Анатолий Васильевич (RU), Руденко Александр Григорьевич (RU)
(73) Патентообладатель(и):
Закрытое акционерное общество Научно-производственное объединение “Гранит-НЭМП” (RU)
|
(54) ФЛЮОРИМЕТР
(57) Реферат:
Изобретение относится к спектрофотометрии. Флюориметр содержит первый и второй источники света с различными длинами волн, первый и второй фотоприемники с выходами для подключения к системе передачи и регистрации результатов измерений, при этом наружная поверхность корпуса флюориметра со стороны набегающего потока имеет форму цилиндра обтекаемой формы, светочувствительные зоны первого и второго фотоприемников направлены навстречу набегающему потоку, а направления излучения световых пучков первым и вторым источниками света образуют острые углы с осями указанных светочувствительных зон. Система передачи и регистрации содержит первый и второй усилители, выходы которых соединены с входами аналого-цифрового преобразователя, к выходу которого подключено устройство предварительной обработки, которое посредством первого и второго адаптеров канала передачи данных и канала передачи данных связано с электронно-вычислительной машиной, к которой подключены запоминающее устройство и устройство отображения. Технический результат заключается в повышении точности измерения в потоке жидкости. 1 з.п. ф-лы, 5 ил.
Изобретение относится к спектрофлюорометрии и может быть использовано для измерения концентрации различных веществ в составе специализированных комплексов или систем, устанавливаемых на подвижных носителях.
Практика современных океанологических исследований показывает, что при решении ряда задач необходимы прецизионные измерения и оперативная обработка различной гидрофизической информации в реальном масштабе времени на борту носителя аппаратуры при длительной эксплуатации. Основной целью подобных исследований является построение информационных карт, изучение их временной и пространственной изменчивости, тонкой структуры, выявление аномальных гидрофизических зон и др.
Известен способ определения хлорофилла в водной среде [1], заключающийся в проведении возбуждения флюоресценции водной среды и измерении сигнала интенсивности флюоресценции, по которой проводят определение. Способ не позволяет учитывать загрязнение стенок кюветы флюориметра.
Известен также способ определения хлорофилла фитопланктона в водной среде [2], по которому учитывается загрязнение стенок кюветы. В ходе работ по определению содержания хлорофилла фитопланктона в водной среде было показано, что стенки проточной кюветы флюориметра покрывались налетом, который непрерывно ухудшал ее оптические свойства.
Этот способ имеет следующие недостатки: большая длительность и сложность процесса получения оценки влияния налета на результаты измерения, так как для выполнения необходимых измерений интенсивности флюоресценции требуется значительное время; низкая точность учета влияния загрязнения на конечный результат.
Известен способ на основе измерения светового сигнала интенсивности флюоресценции от содержимого кюветы с последующим введением поправочного коэффициента на результат измерения интенсивности флюоресценции исследуемой среды, согласно изобретению и в чистую и в загрязненную кюветы помещают эталон, оба раза определяют интенсивность светового сигнала от него для тех же условий облучения и регистрации, что и для исследуемой среды, и поправочный коэффициент определяют на основании полученных данных [3]. В качестве эталона используют или вещество, сходное по спектральным свойствам с исследуемой средой, или дистиллированную воду с одной и той же температурой для обоих измерений, или зеркало с возможностью отражения им света в направлении измерения интенсивности флюоресценции исследуемой среды. При этом, если используют два последних эталона, то кювету облучают первый раз в спектральной полосе, являющейся полосой возбуждения для исследуемой среды, и регистрируют свет в этой полосе, второй раз облучают в спектральной полосе, являющейся полосой регистрации для исследуемой среды, и регистрируют свет в этой же полосе.
Известен флюориметрический детектор [4], содержащий источник светового потока, фокусирующую оптику, капилляр с пробой, параболическое зеркало, светофильтр, фотоприемное устройство, при этом детектируемый объем пробы расположен в фокусе зеркала таким образом, что излучение флюоресценции, собранное зеркалом, образует квазипараллельный пучок, отличающийся тем, что он снабжен сферическим зеркалом, фокус которого сопряжен с фокусом параболического зеркала, причем зеркала расположены на одной оси, перпендикулярной плоскости, в которой находится ось возбуждающего излучения и капилляр, и содержит ПЗС-матрицу дополнительного фотоприемного устройства, установленную в направлении зеркально отраженного от капилляра с пробой луча, при этом источник излучения и/или капилляр выполнены подвижными с возможностью перемещения в направлении, перпендикулярном своим осям.
Все приведенные способы и устройства для измерения малопригодны для измерений в динамическом режиме.
Ивестен также флюориметр [5], являющийся по технической сущности наиболее близким к предлагаемому. Флюориметр-прототип содержит источник света, подключенный к источнику возбуждающего напряжения, и фотоприемник с выходом для подключения к системе передачи и регистрации результатов измерений. При этом источник света и фотоприемник расположены в двух отдельных корпусах, а ось источника света и ось фотоприемника расположены перпендикулярно одна относительно другой.
Недостатком флюориметра-прототипа является низкая точность измерений в потоках жидкостей.
Задачей, решаемой изобретением, является создание флюориметра, обеспечивающего количественную оценку измеряемых параметров в потоках жидкости.
Сущность изобретения заключатся в том, что флюориметр содержит первый и второй источники света с различными длинами волн излучаемого света, подключенные соответственно к первому и второму источникам возбуждающего напряжения, первый и второй фотоприемники с выходами для подключения к системе передачи и регистрации результатов измерений, при этом наружная поверхность корпуса флюориметра со стороны набегающего потока имеет форму цилиндра обтекаемой формы, оптическая связь с исследуемой средой первого и второго источников света, а также первого и второго фотоприемников, снабженных светофильтрами, осуществляется с помощью линз из кварцевого стекла, имеющих цилиндрическую поверхность, сопряженную с наружной поверхностью корпуса, а обратная поверхность линз является плоской, светочувствительные зоны первого и второго фотоприемников направлены навстречу набегающему потоку, а направления излучения световых пучков первым и вторым источниками света образуют острые углы с осями светочувствительных зон соответственно первого и второго фотоприемников, при этом система передачи и регистрации результатов измерений содержит первый и второй усилители, выходы которых соединены с входами аналого-цифрового преобразователя, к выходу которого подключено устройство предварительной обработки, которое посредством первого и второго адаптеров канала передачи данных и канала передачи данных связано с электронно-вычислительной машиной, к которой подключены запоминающее устройство и устройство отображения.
В предлагаемом флюориметре первый источник света имеет, в частности, длину волны излучаемого света 520-540 нм, а второй – 360-380 нм.
В предлагаемом флюориметре электронно-вычислительная машина имеет набор внешних интерфейсов.
Сущность изобретения поясняется чертежами, на которых изображены:
на фиг.1 – конструкция флюориметра, вид сбоку в продольном сечении;
на фиг.2 – конструкция флюориметра, вид спереди;
на фиг.3 – конструкция флюориметра, вид сверху;
на фиг.4 – функциональная схема флюориметра;
на фиг.5 – структурная схема системы передачи и регистрации результатов измерений.
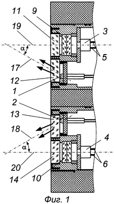
На фиг.1-5 обозначены:
1 – первый источник света;
2 – второй источник света;
3 – первый фотоприемник;
4 – второй фотоприемник;
5 – выход первого фотоприемника 3;
6 – выход второго фотоприемника 4;
7 – система передачи и регистрации результатов измерений;
8 – корпус;
9, 10 – светофильтры;
11-14 – линзы;
15 – цилиндрическая поверхность линз;
16 – наружная поверхность корпуса 8;
17 – направление излучения светового пучка первым источником 1 света;
18 – направление излучения светового пучка вторым источником 2 света;
19 – ось светочувствительной зоны первого фотоприемника 3;
20 – ось светочувствительной зоны второго фотоприемника 4;
21 – первый источник возбуждающего напряжения;
22 – второй источник возбуждающего напряжения;
23 – первый усилитель;
24 – второй усилитель;
25 – аналого-цифровой преобразователь;
26 – устройство предварительной обработки;
27 – первый адаптер канала передачи данных;
28 – второй адаптер канала передачи данных;
29 – электронно-вычислительная машина;
30 – запоминающее устройство;
31 – устройство отображения;
32 – внешние интерфейсы;
33 – канал передачи данных.
Предлагаемый флюориметр содержит первый и второй источники света 1 и 2, выполненные в виде светодиодов с различными длинами волн излучаемого света. В частности, источник 1 имеет длину волны излучаемого света 1=(520-540) нм, а источник 2 – 2=(360-380) нм (см. фиг.1). Использование двух источников света позволяет одновременно регистрировать флюоресценцию хлорофилла [регистрируемая длина волны 1p=(650-700) нм] и растворимого органического вещества (РОВ), которое обусловлено в основном отмершей биогенной известью [регистрируемая длина волны 2р=(460-480) нм].
Флюориметр содержит также первый и второй фотоприемники 3 и 4 с выходами 5 и 6 для подключения к системе 7 передачи и регистрации результатов измерений (см. фиг.4.)
Источники 1 и 2 света, фотоприемники 3 и 4, а также система 7 передачи и регистрации результатов измерений выполнены по обычным схемам, используемым при построении флюориметров, и не имеют каких-либо особенностей.
Система 7 передачи и регистрации результатов измерений содержит первый и второй усилители 23 и 24, выходы которых соединены с входами аналого-цифрового преобразователя 25, к выходу которого подключено устройство 26 предварительной обработки, которое посредством первого и второго адаптеров 27 и 28 канала передачи данных и канала 33 передачи данных связано с электронно-вычислительной машиной 29, к которой подключены запоминающее устройство 30 и устройство отображения 31.
Аналого-цифровой преобразователь 25 имеет по меньшей мере два входа. В качестве устройства 26 предварительной обработки может использоваться микропроцессорное устройство, например однокристальная электронно-вычислительная машина на основе цифрового сигнального процессора. Устройство 26 предварительной обработки осуществляет усреднение получаемых от аналого-цифрового преобразователя 25 данных, их цифровую фильтрацию и преобразование к виду, удобному для передачи по каналу 33 передачи данных (например, формирование пакетов данных).
В качестве канала 33 передачи данных могут использоваться различные известные интерфейсы, такие как RS-232, RS-485, а также мультиплексированные каналы передачи данных, такие как MIL-STD-1553 или различные модификации сети Ethernet. В случае использования мультиплексированных каналов передачи данных в качестве канала 33 передачи данных может использоваться канал, также используемый для передачи данных от других датчиков и измерительных приборов, находящихся в непосредственной близости с источниками 1 и 2 света и первым и вторым фотоприемниками 3 и 4 (то есть с оптической частью флюориметра).
В качестве электронно-вычислительной машины 29 может использоваться персональный или промышленный компьютер. К электронно-вычислительной машине 29 подключено устройство 31 отображения, в качестве которого может использоваться, например монитор, самописец, принтер, цифро-буквенный индикатор и т.п. К электронно-вычислительной машине 29 также подключено запоминающее устройство 30, в качестве которого может использоваться накопитель на жестком магнитном диске, накопитель на магнитной ленте, устройство на основе электроперепрограммируемых постоянных запоминающих устройств (Flash-памяти), а также любые известные запоминающие устройства, в том числе со сменными носителями данных.
Электронно-вычислительная машина 29 имеет внешние интерфейсы 32, в качестве которых могут использоваться такие интерфейсы, как последовательных интерфейс RS-232, USB, интерфейс сети Ethernet, мультиплексные каналы информационного обмена MIL-STD-1553 и т.д. Внешние интерфейсы 32 служат для обеспечения возможности подключения к электронно-вычислительной машине 29 дополнительных устройств отображения и документирования, а также устройств приемо-передачи данных для связи электронно-вычислительной машины 29 с другими вычислительными устройствами и системами, что позволяет осуществлять работу флюориметра в составе комплексных систем анализа, например в составе комплексных систем экологического мониторинга.
Конструктивной особенностью предлагаемого флюориметра является то, что наружная поверхность корпуса 8 со стороны набегающего потока имеет форму цилиндра обтекаемой формы (на фиг.3 направление набегающего потока условно показано стрелками).
Оптическая связь с исследуемой средой первого и второго источников 1 и 2 света, а также первого и второго фотоприемников 3 и 4, снабженных светофильтрами 9 и 10, осуществляется с помощью линз 11-14 из кварцевого стекла, имеющих цилиндрическую поверхность 15, сопряженную с наружной поверхностью 16 корпуса 8.
Светочувствительные зоны первого и второго фотоприемников 3 и 4 направлены навстречу набегающему потоку, а направления 17 и 18 излучения световых пучков первым и вторым источниками 1 и 2 света образуют острые углы с осями 19 и 20 светочувствительных зон соответственно первого и второго фотоприемников 3 и 4 (см. фиг.2) Обычно углы составляют от 10° до 45°.
Предлагаемый флюориметр работает следующим образом.
Для проведения измерения концентрации различных веществ в потоке жидкости флюриметр устанавливают в потоке жидкости таким образом, чтобы образующая наружной цилиндрической поверхности 16 корпуса 8 была перпендикулярна направлению набегающего потока жидкости, а светочувствительные зоны первого и второго фотоприемников 3 и 4 направлены навстречу набегающему потоку.
При этом первый и второй источники 1 и 2 света подключены соответственно к первому и второму источникам 21 и 22 возбуждающего напряжения, а выходы 5 и 6 первого и второго фотоприемников 3 и 4 подключены к входам системе 7 передачи и регистрации результатов измерений. Излучение световых потоков источниками 1 и 2, прием сигналов фотоприемниками 3 и 4, их обработка осуществляются обычными известными способами.
Благодаря предложенной конструкции флюориметра достигается плавное обтекание корпуса потоком жидкости, при этом измерение концентрации исследуемых веществ происходит в незначительно возмущенной области потока, чем обеспечивается устранение погрешностей, связанных с нарушением структуры исследуемого потока.
Технический результат заключается в повышении точности измерения в потоке жидкости.
На предприятии-заявителе был изготовлен и испытан опытный образец предлагаемого флюориметра. Испытания опытного образца подтвердили возможность получения указанного технического результата.
Таким образом, представленные чертежи и описание позволяют, используя существующую элементную базу и технологии, изготовить предлагаемый флюориметр промышленным способом и использовать его измерения концентрации различных веществ в составе специализированных комплексов или систем, устанавливаемых на подвижных носителях, что характеризует изобретение как промышленно применимое.
Источники информации
1. Авторское свидетельство СССР №1473518, МПК G01N 21/64, 1987.
2. T.Platt. The feasibility of mapping the chlorophyll distribution in the gulf of St. Lawrenge. Fisheries research board of Canada. Technical report. N 332. August, 1972, p.1-3.
3. Патент РФ №2031399, МПК G01N 21/64, 1995.
4. Патент РФ №2182329, МПК G01N 21/64, 2002.
5. Патент США №4293225, МПК G01N 21/64, 1981 (прототип).
Формула изобретения
1. Флюориметр, содержащий первый и второй источники света с различными длинами волн излучаемого света, первый и второй фотоприемники с выходами для подключения к системе передачи и регистрации результатов измерений, при этом наружная поверхность корпуса флюориметра со стороны набегающего потока имеет форму цилиндра обтекаемой формы, оптическая связь с исследуемой средой первого и второго источников света, а также первого и второго фотоприемников, снабженных светофильтрами, осуществляется с помощью линз из кварцевого стекла, имеющих цилиндрическую поверхность, сопряженную с наружной поверхностью корпуса, светочувствительные зоны первого и второго фотоприемников направлены навстречу набегающему потоку, а направления излучения световых пучков первым и вторым источниками света образуют острые углы с осями светочувствительных зон соответственно первого и второго фотоприемников, при этом система передачи и регистрации результатов измерений содержит первый и второй усилители, выходы которых соединены с входами аналого-цифрового преобразователя, к выходу которого подключено устройство предварительной обработки, которое посредством первого и второго адаптеров канала передачи данных и канала передачи данных связано с электронно-вычислительной машиной, к которой подключены запоминающее устройство и устройство отображения.
2. Флюориметр по п.1, отличающийся тем, что первый источник света имеет длину волны излучаемого света 520-540 нм, а второй – 360-380 нм.
РИСУНКИ
|